Ministerio de Industria, Turismo y Comercio LogoMinisterior
 

Alerta

Resultados 121 resultados
LastUpdate Última actualización 13/03/2026 [07:03:00]
pdfxls
Solicitudes publicadas en los últimos 30 días / Applications published in the last 30 days (excluidas publicaciones Chinas / Chinese publications excluded)
previousPage Resultados 75 a 100 de 121 nextPage  

METHOD OF MANUFACTURING OF PACKAGING AND TABLEWARE FROM GRAIN PRODUCTS

NºPublicación:  US20260048563A1 19/02/2026
Solicitante: 
SYRAKVASHA RUSLAN [BY]
Syrakvasha Ruslan
US_20260048563_PA

Resumen de: US20260048563A1

A method for manufacturing a composite material for packaging and tableware is disclosed. The method comprises forming a sheet from a grain-based composition, either by puffing the composition between matrices in a puffing chamber or by extruding a plasticized composition through a die. The resulting sheet, which has a porous matrix, is then laminated on at least one side with a protective film. Lamination may be performed using hot, cold, or wet techniques. The final laminated composite sheet, having a sandwich-type structure, can be cooled, cut into blanks, and subsequently formed into various articles such as trays, plates, and containers.

CONTAINER AND METHOD FOR HANDLING BEVERAGE SUBSTANCES

NºPublicación:  US20260048926A1 19/02/2026
Solicitante: 
CAMBIO ROASTERS LLC [US]
Cambio Roasters, LLC
US_20260048926_PA

Resumen de: US20260048926A1

A container for handling beverage substances. The container includes a first chamber, wherein the first chamber comprises a first exterior shell having a flange located at an upper area of the first chamber, a second chamber removably attached to the first chamber, wherein the second chamber comprises a second exterior shell having a rim located at an upper perimeter of the second chamber, and a lid coupled to the flange and the rim.

PLASTIC PRODUCTS THAT CAN BE RAPIDLY DEGRADED ON-COMMAND

NºPublicación:  US20260048916A1 19/02/2026
Solicitante: 
UNIV OF MARYLAND COLLEGE PARK [US]
GREEN LOGIC LLC [US]
University of Maryland, College Park,
Green Logic LLC
US_20260048916_PA

Resumen de: US20260048916A1

This present disclosure is directed generally to rapidly degradable polymers, for example, on-demand degradable polymers, products thereof, and methods thereof. In some embodiments, the rapidly degradable polymers degrade in 5 minutes or less in the presence of a peroxide.

BIODEGRADABLE EXTRUSION COATING PROCESS

NºPublicación:  AU2024333931A1 19/02/2026
Solicitante: 
DANIMER IPCO LLC
DANIMER IPCO, LLC
AU_2024333931_PA

Resumen de: AU2024333931A1

A method for extruding a poly(hydroxyalkanoate)-based material onto a packaging substrate and a packaging substrate containing the poly(hydroxyalkanoate)-based coating. The method includes extruding a molten film comprising poly(hydroxyalkanoate) through a slot die onto a moving web of the packaging substrate to provide a coated substrate. A coated side of the coated substrate is contacted with a chill roller to crystallize the molten film on the coated substrate, wherein the chill roller has a temperature ranging from about 30 °C to about 60 °C.

HYDROGEL SPACERS FOR ABLATION THERAPIES

NºPublicación:  WO2026039541A1 19/02/2026
Solicitante: 
BOSTON SCIENT SCIMED INC [US]
BOSTON SCIENTIFIC SCIMED, INC
WO_2026039541_PA

Resumen de: WO2026039541A1

In some embodiments, the present disclosure pertains to an insulative hydrophilic polymer hydrogel compositions for ablation therapies. An example insulative hydrophilic polymer hydrogel composition comprises: a hydrophilic polymer hydrogel, the hydrophilic polymer hydrogel comprising hydrophilic polymer chains that are crosslinked by crosslinks; and a plurality of gas bubbles disposed in the hydrophilic polymer hydrogel.

Method of manufacturing a capsule comprising the stacking, compressing and heating of thin moistened sheets

NºPublicación:  NL2038385B1 19/02/2026
Solicitante: 
EURO CAPS HOLDING B V [NL]
EURO-CAPS HOLDING B.V
NL_2038385_B1

Resumen de: NL2038385B1

The present invention relates to a method of manufacturing a capsule which comprises the steps of providing at least one cellulose-based fibrous sheet (2), moistening of said sheet (2) by applying a moistening agent, and shaping of the moistened sheet (2) into a capsule shape (16). The method further comprises as the step of providing at least one cellulose-based fibrous sheet (2) comprises providing a plurality of cellulose-based fibrous sheets (2), moistening at least some of the provided cellulose-based fibrous sheets (2); and arranging each of the provided sheets (2) in a stacked manner to obtain a stack of moistened sheets (8). The stack of moistened sheets is compressed and into the capsule (16) such that, during shaping the cellulose-based fibrous sheets (2) of the stack of moistened sheets (8) that are compressed together provide the capsule shape (16), and a capsule obtained through said method.

FILM FOR CELL POUCH AND METHOD OF STORING THEREOF

NºPublicación:  KR20260022346A 19/02/2026
Solicitante: 
율촌화학주식회사
KR_20260025109_PA

Resumen de: KR20240173840A

An object of the present invention is to provide a film for a cell pouch having excellent moldability and mechanical properties, and a storage method thereof. The film for a cell pouch comprises: a barrier layer made of metal; an adhesive layer formed on one side of the barrier layer; and an outer layer formed on one side of the adhesive layer. The film for a cell pouch and the storage method thereof according to the present invention provide an effect of excellent moldability and mechanical properties.

알킬 케텐 다이머 에멀젼의 현장 제조를 위한 방법 및 장치, 알킬 케텐 다이머 에멀젼 및 이의 용도

NºPublicación:  KR20260022280A 19/02/2026
Solicitante: 
케미라오와이제이
CN_120569434_PA

Resumen de: CN120569434A

A process for the in-situ production of an alkenyl ketene dimer (AKD) emulsion in which AKD wax and a heated emulsifier solution comprising starch and/or a synthetic polymer are premixed in a two-stage premixing unit comprising: a first low shear premixing unit wherein the first low shear premixing unit comprises a first low shear unit and a second low shear unit, the second low shear premixing unit comprises a second low shear unit and a third low shear unit, and the third low shear unit comprises a second low shear unit and a third low shear unit. Mixing the heated emulsifier solution with the AKD wax to obtain a mixture comprising molten AKD wax and an emulsifier; and a second high shear premixing unit in which a mixture comprising molten AKD wax and an emulsifier is mixed to obtain a pre-emulsion of AKD, and then the pre-emulsion of AKD is emulsified in the emulsification unit. The alkenyl ketene dimer emulsion produced by this process comprises AKD and an emulsifier comprising starch and/or synthetic polymeric starch, and AKD has a median of a particle size distribution greater than 0.5 mu m, typically in the range of 0.5-5 mu m.

RESIN COMPOSITION AND MOLDED BODY

NºPublicación:  WO2026038513A1 19/02/2026
Solicitante: 
KANEKA CORP [JP]
\u682A\u5F0F\u4F1A\u793E\u30AB\u30CD\u30AB
WO_2026038513_PA

Resumen de: WO2026038513A1

This resin composition comprises a poly(3-hydroxyalkanoate)-based resin (A) and an aliphatic aromatic polyester-based resin (B). The resin (A) contains: a copolymer (A3) which is formed of a 3-hydroxybutyrate unit and another hydroxyalkanoate unit, and in which the content proportion of the 3-hydroxybutyrate unit is not more than 76 mol%; and a copolymer (A4) which is formed of a 3-hydroxybutyrate unit and another hydroxyalkanoate unit and has a weight average molecular weight of not less than 700000, and in which the content proportion of the 3-hydroxybutyrate unit is more than 76 mol% to not more than 95 mol%. Of the total amount (X) of the resin (A) and the resin (B) excluding the copolymer (A4), the percentage content of the copolymer (A3) is 25-35 wt%, the percentage content of the resin (B) is 5-20 wt%, and the contained amount of the copolymer (A4) with respect to 100 parts by weight of the total amount (X) is 3-20 parts by weight.

DEGRADABLE FOOD CONTAINER AND PREPARATION METHOD THEREFOR

NºPublicación:  WO2026037154A1 19/02/2026
Solicitante: 
SHANGHAI SHANGYUAN PRINTING CO LTD [CN]
\u4E0A\u6D77\u4E0A\u6E90\u5370\u52A1\u6709\u9650\u516C\u53F8
WO_2026037154_A1

Resumen de: WO2026037154A1

The present application relates to the technical field of degradable packaging. Particularly disclosed are a degradable food container and a preparation method therefor. The degradable food container comprises a paper food container base body and a degradable coating applied on the paper food container base body, wherein the degradable coating is prepared from the following raw materials in parts by weight: 40-50 parts of polylactic acid; 10-15 parts of polybutylene succinate; 15-20 parts of polyglycolic acid; 10-20 parts of cassava starch; 5-8 parts of an external additive; 1.2-1.8 parts of montmorillonite; 0.2-0.8 parts of boron nitride nanotubes; and 1.5-2.5 parts of modified hemp fibers. The preparation method therefor comprises: heating polylactic acid, polybutylene succinate and polyglycolic acid to a molten state, then adding cassava starch and an external additive thereto, finally adding montmorillonite, boron nitride nanotubes and modified hemp fibers thereto, performing extrusion granulation, melting and then coating same on the surface of the paper food container base body, cooling same, and then cutting and forming same into a container to obtain the degradable food container. The degradable food container of the present application can exhibit excellent temperature change resistance when being subjected to temperature change caused by an external environment.

RESIN COMPOSITION AND MOLDED BODY

NºPublicación:  WO2026038511A1 19/02/2026
Solicitante: 
KANEKA CORP [JP]
\u682A\u5F0F\u4F1A\u793E\u30AB\u30CD\u30AB
WO_2026038511_PA

Resumen de: WO2026038511A1

This resin composition contains a poly(3-hydroxyalkanoate) resin (A) and an inorganic filler (B). The resin (A) includes a copolymer (A3) of a 3-hydroxybutyrate unit and another hydroxyalkanoate unit in which the content ratio of the 3-hydroxybutyrate unit is 76 mol% or less, and a copolymer (A4) of a 3-hydroxybutyrate unit and another hydroxyalkanoate unit in which the weight average molecular weight is 700,000 or more and the content ratio of the 3-hydroxybutyrate unit is more than 76 mol% and 95 mol% or less. Of the content (X) of the resin (A) excluding the copolymer (A4), the content of the copolymer (A3) is 5-25 wt%, and the content of the copolymer (A4) is 5-30 parts by weight and the content of the inorganic filler (B) is 5-40 parts by weight relative to 100 parts by weight of the content (X).

METHODS FOR MANUFACTURING BIODEGRADABLE AND ECO-FRIENDLY MULCHING AGENT FOR SOIL AND FLOWERPOTS, BIODEGRADABLE COFFIN, AND BIODEGRADABLE CINERARY URN USING MUSHROOM MYCELIUM, AND BIODEGRADABLE AND ECO-FRIENDLY MULCHING AGENT, BIODEGRADABLE COFFIN, AND BIODEGRADABLE CINERARY URN MANUFACTURED THEREBY

NºPublicación:  WO2026038835A1 19/02/2026
Solicitante: 
EARTHFORM INC [KR]
\uC8FC\uC2DD\uD68C\uC0AC \uC5B4\uC2A4\uD3FC
WO_2026038835_A1

Resumen de: WO2026038835A1

The present invention relates methods for manufacturing a biodegradable and eco-friendly mulching agent for soil and flowerpots, a biodegradable coffin, and a biodegradable cinerary urn, the methods using mushroom mycelium growth, and a biodegradable and eco-friendly mulching agent, a biodegradable coffin, and a biodegradable cinerary urn manufactured thereby. The biodegradable and eco-friendly mulching agent for soil and flowerpots is completely biodegradable and exhibits excellent viscosity, thus being highly suitable for being molded into and used as a mulching agent for soil and flowerpots, and can reduce post-treatment costs and steps and mitigate environmental pollution. The biodegradable and eco-friendly coffin and cinerary urn is biodegradable and exhibits excellent physical properties such as strength and air permeability, thus being suitable for use in forms of burial such as tree burials or pot burials for companion animals.

SYSTEMS AND METHODS OF PLASMA ASSISTED OXIDATIVE DEPOLYMERIZATION OF POLYMERS AND PRODUCTION OF BIODEGRADABLE POLYMERS

NºPublicación:  US20260049197A1 19/02/2026
Solicitante: 
UNIV OF LOUISVILLE RESEARCH FOUNDATION INC [US]
UNIVERSITY OF LOUISVILLE RESEARCH FOUNDATION, INC
US_20260049197_PA

Resumen de: US20260049197A1

A plasma-assisted method includes receiving pieces of waste polymer, then applying a modification process that weakens the waste polymer covalent bonds. A low temperature oxidative depolymerization process is applied to the modified polymer, which transforms the modified polymer to a short chain polymer. Optionally the short chain polymer includes C2-C2. Optionally the short chain polymer is input to a process of bacteria metabolization that produces medium-chain-length poly hydroxyalkanoates (mcl-PHAs). Optionally the bacteria is a Pseudomonas strain. Optionally the oxidative depolymerization process is performed at room temperature.

HYDROGEL SPACERS FOR ABLATION THERAPIES

NºPublicación:  US20260049188A1 19/02/2026
Solicitante: 
BOSTON SCIENT SCIMED INC [US]
Boston Scientific Scimed, Inc
US_20260049188_PA

Resumen de: US20260049188A1

In some embodiments, the present disclosure pertains to an insulative hydrophilic polymer hydrogel compositions for ablation therapies. An example insulative hydrophilic polymer hydrogel composition comprises: a hydrophilic polymer hydrogel, the hydrophilic polymer hydrogel comprising hydrophilic polymer chains that are crosslinked by crosslinks; and a plurality of gas bubbles disposed in the hydrophilic polymer hydrogel.

POLYLACTIC ACID MODIFIER, POLYLACTIC ACID RESIN COMPOSITION, AND METHOD FOR PRODUCING MOLDED ARTICLE

NºPublicación:  EP4696732A1 18/02/2026
Solicitante: 
DAICEL CORP [JP]
Daicel Corporation
EP_4696732_A1

Resumen de: EP4696732A1

An object of the present invention is to provide a polylactic acid modifier that improves flexibility and crystallinity as a single additive, and enables the production of a polylactic acid resin composition with excellent production efficiency. The polylactic acid modifier of the present disclosure contains at least a constituent unit derived from poly(L-lactic acid) or poly(D-lactic acid), and a constituent unit derived from a polyol, and is a triblock copolymer of polylactic acid/polyol/polylactic acid. The polylactic acid modifier preferably has an average particle size of 0.5 mmΦ or more, and the polyol is preferably polycaprolactone.

DEGRADABLE FISHING LINES AND NETS

NºPublicación:  EP4694679A2 18/02/2026
Solicitante: 
ENVIRO CAST LLC [US]
Enviro Cast, LLC
WO_2024215648_A2

Resumen de: WO2024215648A2

The disclosure provides embodiments of environmentally acceptable and save fishing lines, nets, leaders, tippets, lures, hooks, weights, floats as well as related fishing tackle and gear. Embodiments of the disclosed products may comprise a degradable polymer having components derived from i) biomass sources, ii) protein, fatty acid or lipid sources, iii) microbial-based monomers and polymers, iv) agro-based monomers and polymers, v) sugar or starch-based monomers and polymers, or combinations thereof. This disclosure also describes products that further comprise an additive having components derived from i) polyol sources, ii) citrate sources, iii) fatty acid sources, iv) biomass oil sources, or combinations thereof. The disclosed embodiments have low environmental impact when compared to, for example, well known synthetic polymer fishing lines, nets, leaders, tippets, lures, hooks, weights, floats as well as related fishing tackle and gear.

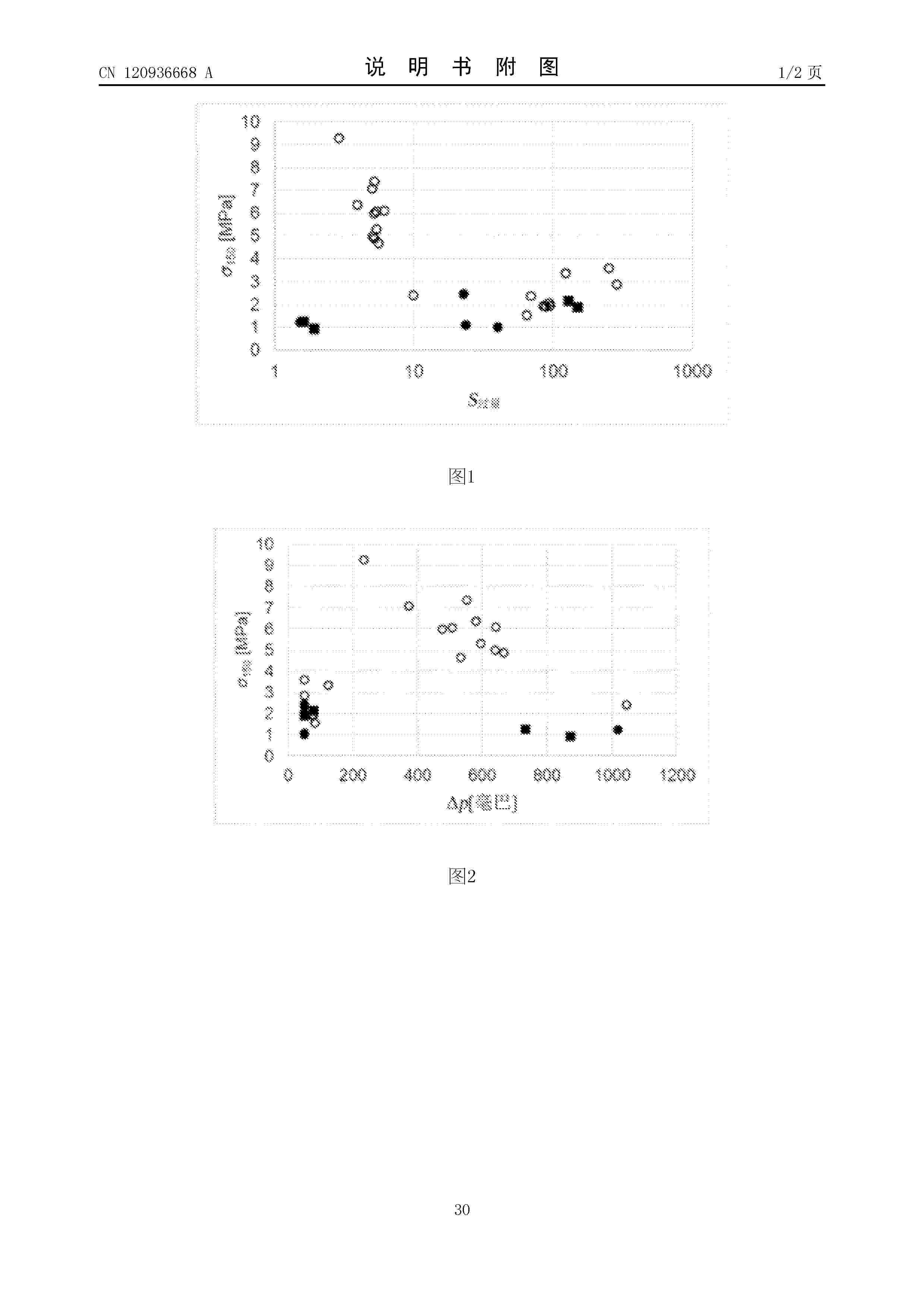
POROUS STARCH

NºPublicación:  EP4695330A1 18/02/2026
Solicitante: 
BASF SE [DE]
BASF SE
CN_120936668_A

Resumen de: CN120936668A

The present invention relates to improving the flowability and compressibility (tensile strength) of starch by using an enzyme, enhancing the porosity of starch particles, and using porous starch particles for direct compression of tablets.

PROCESS FOR DEGRADING PLASTIC PRODUCTS

NºPublicación:  ES3055911T3 16/02/2026
Solicitante: 
CARBIOS
Carbios
MX_2022007496_A

Resumen de: MX2022007496A

The present invention relates to a process for degrading a plastic product comprising at least one polymer, said process comprising the steps of foaming at least partially the plastic product; and depolymerizing at least one target polymer of the at least partially foamed plastic product, wherein the step of foaming is performed at a temperature at which the plastic product is in a partially or totally molten state.

MIXTURE FOR PRODUCTION OF EDIBLE CONTAINERS FOR HOT AND COLD BEVERAGES AND FOOD

NºPublicación:  ES3055659T3 13/02/2026
Solicitante: 
CUPFFEE LTD
Cupffee Ltd
AU_2019349987_A1

Resumen de: AU2019349987A1

The invention relates to a mixture for production of edible containers for cold and hot beverages and food that can be consumed during and after consumption of the beverage for example coffee or food. The invention will find application in the food industry and in people's everyday life. The mixture for production of edible containers for cold and hot beverages and food includes the following components by weight percentages: - flour: 22.4 - 28.9 %, - oat bran: 26.1 - 35.3 %, - sugar: 7.5 - 10.1 %, - vegetable fat: 3 - 4.04 %, - alginate: 0.71 - 0.93 %, - xanthan gum: 0.71 - 0.93 % H - the rest up to 100 % - water.

塗工紙および紙製緩衝体

NºPublicación:  JP2026025101A 13/02/2026
Solicitante: 
日本製紙株式会社
JP_2026025101_A

Resumen de: JP2026025101A

【課題】実用的な緩衝体とすることができる塗工紙と、この塗工紙からなる紙製緩衝体を提供すること。【解決手段】紙基材上に、アンダー層、トップ層をこの順で有し、前記アンダー層と前記トップ層の両方が、樹脂を含有し、前記アンダー層と前記トップ層の少なくとも一方が、ヤング率300MPa以下であり、全体としての王研式透気抵抗度が10万秒以上である塗工紙、および、この塗工紙からなり、気体が封入されている紙製緩衝体。【選択図】なし

수분 조절 재료 및 방법

NºPublicación:  KR20260021715A 13/02/2026
Solicitante: 
밤백스리미티드
CN_121311645_PA

Resumen de: WO2024253547A1

The present invention relates generally to moisture vapour transmission modulators and/or humidity control materials, and more particularly but not necessarily exclusively, to compositions for decreasing the moisture vapour transmission rate and/or humidity control and their method of use. In some forms, the composition of the invention may be applied to a material. Such materials may be used in packaging goods prone to spoilage such as food. Such materials may be used to reduce or prevent degradation of or damage to packaged electronics, pharmaceuticals, and dry products such as paper (so as to prevent curl in copy paper). Such materials may be used to form packaging that may otherwise be weakened by the action of liquids such as water.

COSMETIC DISPENSER

NºPublicación:  US20260041220A1 12/02/2026
Solicitante: 
AMPAC LTD [CN]
AMPAC Limited
US_20260041220_PA

Resumen de: US20260041220A1

A cosmetic dispenser includes a one-piece base configured to releasably connect to a lid and a sleeve at least partially disposed in the one-piece base around at least a portion of a cosmetic. An outer surface feature of the sleeve is configured to rotatably interface with an inner surface feature of the one-piece base to move the sleeve between a first position to surround the cosmetic and a second position to expose at least a portion of the cosmetic.

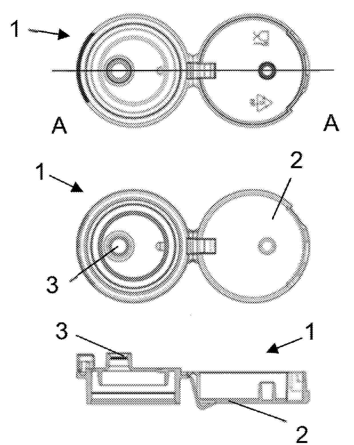
CAPSULE INTENDED FOR RECEIVING A SUBSTANCE FOR PREPARING A BEVERAGE

NºPublicación:  US20260042596A1 12/02/2026
Solicitante: 
BRAIN CORP SA [LU]
BRAIN CORP SA
US_20260042596_PA

Resumen de: US20260042596A1

The invention relates to a capsule (1) for receiving a substance for preparing a beverage, said capsule comprising a body having a side wall (2) bordered on either side by a base (3) and by a rim (4) surrounding an opening (5) in said body, the body being formed by moulding a cellulose pulp, and the side wall (2) of said body being covered with a sealing label (18).

SHEET PACKAGING

NºPublicación:  US20260042586A1 12/02/2026
Solicitante: 
SIMMONS GREGORY [AU]
SIMMONS Gregory
US_20260042586_PA

Resumen de: US20260042586A1

Sheet packaging has a corrugated ply bonded to a backing ply. The corrugated ply forms parallel flutes. The packaging comprises voids through both the corrugated ply and the backing ply at intervals along the flutes, thereby forming a plurality of insular portions interconnected by flexures. Each insular portion has a flute portion and a backing portion between adjacent voids and bonded together at respective edges and each flexure comprises bonded-together portions of the corrugated ply and the backing ply. The flexures confer hyper flexibility to the packaging wherein each flexure possesses an independent bend axis across which the flexure can both be twisted and bent.

Compostable or Recyclable Packaging Wrap

Nº publicación: US20260042590A1 12/02/2026

Solicitante:

VERICOOL WORLD LLC [US]
Vericool World LLC

US_20260042590_PA

Resumen de: US20260042590A1

A compostable packaging wrap comprising: a strip that is primarily formed of starch and that is flexible such that the strip can be rolled is disclosed.

traducir