Ministerio de Industria, Turismo y Comercio LogoMinisterior
 

Alerta

Resultados 104 resultados
LastUpdate Última actualización 22/11/2025 [07:31:00]
pdfxls
Solicitudes publicadas en los últimos 30 días / Applications published in the last 30 days (excluidas publicaciones Chinas / Chinese publications excluded)
previousPage Resultados 50 a 75 de 104 nextPage  

METHOD FOR TEXTILE AND POLYESTER DECONSTRUCTION AND UPCYCLING TO BIOPLASTIC IN A HALOPHILE

NºPublicación:  US2025333573A1 30/10/2025
Solicitante: 
BATTELLE MEMORIAL INST [US]
Battelle Memorial Institute
US_2025333573_PA

Resumen de: US2025333573A1

Methods for deconstructing polyester-cotton blended textile waste and biodegradable polyester packaging waste using microbial cells for the fermentative production of polyhydroxybutyrate (PHB), novel engineered Halomonas strains, and use of these strains in PHB production. An engineered microbial cell and compositions comprising PHB are also described.

PELLET BASED TOOLING AND PROCESS FOR BIODEGRADEABLE COMPONENT

NºPublicación:  US2025332762A1 30/10/2025
Solicitante: 
WYCECH JOSEPH [US]
Wycech Joseph
US_2025332762_PA

Resumen de: US2025332762A1

An example method of forming a biodegradable component includes extruding a mixture of biodegradable material and water through a die. The method further includes dividing the extruded mixture to form a plurality of biodegradable pellets. The method further includes forming the plurality of biodegradable pellets into a component. The water acts as a binding agent to bind the plurality of biodegradable pellets to one another.

ECO-FRIENDLY LAMINATE AND PACKAGING MATERIAL COMPRISING SAME

NºPublicación:  US2025332823A1 30/10/2025
Solicitante: 
CJ CHEILJEDANG CORP [KR]
CJ CHEILJEDANG CORPORATION
US_2025332823_PA

Resumen de: US2025332823A1

The present disclosure relates to an eco-friendly laminate and a packaging material comprising same.

Package containing water-soluble capsules

NºPublicación:  AU2025252516A1 30/10/2025
Solicitante: 
UNILEVER GLOBAL IP LTD
UNILEVER GLOBAL IP LIMITED
AU_2025252516_A1

Resumen de: AU2025252516A1

A package comprising at least one layer of biodegradable material and containing a plurality of unit dose products, at least one unit dose product comprising a detergent composition comprising sequestrant within a sealed compartment formed by a water soluble film, said package comprising a child-resistant closure mechanism. A package comprising at least one layer of biodegradable material and containing a plurality of unit dose products, at least one unit dose product comprising a detergent composition comprising sequestrant within a sealed compartment formed by a water soluble film, said package comprising a child-resistant closure mechanism. ct c t p a c k a g e c o m p r i s i n g a t l e a s t o n e l a y e r o f b i o d e g r a d a b l e m a t e r i a l a n d c o n t a i n i n g a p l u r a l i t y o f u n i t d o s e p r o d u c t s , a t l e a s t o n e u n i t d o s e p r o d u c t c o m p r i s i n g a d e t e r g e n t c o m p o s i t i o n c o m p r i s i n g s e q u e s t r a n t w i t h i n a s e a l e d c o m p a r t m e n t f o r m e d b y a w a t e r s o l u b l e f i l m , s a i d p a c k a g e c o m p r i s i n g a c h i l d - r e s i s t a n t c l o s u r e m e c h a n i s m

A machine and a method of producing biodegradable nonwoven textile comprising seeds

NºPublicación:  AU2025252505A1 30/10/2025
Solicitante: 
HAAKAN ISAK YILMAZ
H\u00E5kan Isak Yilmaz
AU_2025252505_A1

Resumen de: AU2025252505A1

A machine and a method for producing biodegradable nonwoven textile comprising seeds comprising a seed distributing machine unit, positioned in a cross-lapping portion of the nonwoven textile machine. The seed distributing machine unit comprises at least one re-5 ceptacle for seeds having a dispensing opening for regulated outlet of seeds onto a veil of biodegradable fibres. A needle punching portion is situated after the cross-lapping, seen in the direction of the biodegradable nonwoven textile production line of the machine, for needle-punching of the veil of biodegradable fibres. Fig. 2 A machine and a method for producing biodegradable nonwoven textile comprising seeds comprising a seed distributing machine unit, positioned in a cross-lapping portion of the 5 nonwoven textile machine. The seed distributing machine unit comprises at least one re- ceptacle for seeds having a dispensing opening for regulated outlet of seeds onto a veil of biodegradable fibres. A needle punching portion is situated after the cross-lapping, seen in the direction of the biodegradable nonwoven textile production line of the machine, for needle-punching of the veil of biodegradable fibres. Fig. 2 ct c t m a c h i n e a n d a m e t h o d f o r p r o d u c i n g b i o d e g r a d a b l e n o n w o v e n t e x t i l e c o m p r i s i n g s e e d s c o m p r i s i n g a s e e d d i s t r i b u t i n g m a c h i n e u n i t , p o s i t i o n e d i n a c r o s s - l a p p i n g p o r t i o n o f t h e

MULTILAYER POLYMER SHEET AND DENTAL APPLIANCE

NºPublicación:  ES3040347T3 30/10/2025
Solicitante: 
SHANGHAI COHERZ TECH CO LTD
Shanghai Coherz Technology Co., Ltd
US_2024182711_PA

Resumen de: US2024182711A1

A multilayer polymer sheet and a dental appliance are provided. The multilayer polymer sheet includes an A-layer polymer and a B-layer polymer. The A-layer polymer is polyamide (PA), including the following groups: (1) 36 mol % to 40 mol % of 4,4-methylenebis(2-methylcyclohexylamine); (2) 36 mol % to 40 mol % of an aromatic dicarboxylic acid, which is 1,3-benzenedicarboxylic acid (IPA) and/or 1,4-benzenedicarboxylic acid (TPA); and (3) 20 mol % to 28 mol % of an alicyclic or aliphatic amino acid or lactam. The B-layer polymer is located between two layers of the A-layer polymer. The B-layer polymer is at least one selected from the group consisting of a thermoplastic polyurethane (TPU), an ethylene-vinyl acetate (EVA) copolymer, and a copolyester.

BIODEGRADABLE AND EMULSIFIABLE IONIZABLE POLYESTERS

NºPublicación:  WO2025227027A1 30/10/2025
Solicitante: 
BOARD OF TRUSTEES OF MICHIGAN STATE UNIV [US]
BOARD OF TRUSTEES OF MICHIGAN STATE UNIVERSITY
WO_2025227027_PA

Resumen de: WO2025227027A1

The disclosure relates to ionizable polyesters containing repeat units having polymeric or oligomeric polyester segments or residues and linkers between the polyester segments having ionizable groups such as carboxylic acid groups and their related salts, for example ammonium salts. The ionizable polyesters can further include repeat units with functional groups other than polyesters to impart additional barrier properties, pH-responsive properties, and/or reactive properties. The ionizable polyesters can be used as water- and oil-resistant barrier coatings on cellulosic substrates such as paper, providing good barrier properties while also providing coatings and coated articles that are biodegradable, compostable, recyclable, and/or repulpable. The ionizable polyesters can be provided in an aqueous emulsion containing a salt form of the ionizable polyesters, which is a particularly suitable form for applying a coating of the ionizable polyesters onto a substrate such as paper.

樹脂粒子、及び樹脂粒子の製造方法

NºPublicación:  JP2025164729A 30/10/2025
Solicitante: 
株式会社リコー
JP_2025164729_A

Resumen de: US2025326898A1

A resin particle is provided that includes a biodegradable resin. The resin particle has a volume average particle size of 5 μm or more and 50 μm or less and a relative span factor of 1.2 or less.

RESEALABLE BAG WITH INELASTIC DEFORMABLE POLYMER

NºPublicación:  US2025333209A1 30/10/2025
Solicitante: 
VALERIO PASCAL DIEGO [US]
OLIVEIRA HUGO MIGUEL LISBOA [BR]
Valerio Pascal Diego,
Oliveira Hugo Miguel Lisboa
US_2025333209_PA

Resumen de: US2025333209A1

The resealable bag has a main body including a resealing layer. The resealable bag is selectively positionable between an open, unsealed position and a closed, sealed position. When the resealable bag is in the closed, sealed position, the resealing layer is in a deformed shape. Advantageously, the resealable bag can be repeatedly rolled and sealed, and unrolled and unsealed, as desired without the use of additional integrated or non-integrated sealing mechanisms.

PLA-BASED COMPOSITE PLASTIC AND USE THEREOF

NºPublicación:  WO2025225769A1 30/10/2025
Solicitante: 
BIOQIT CO LTD [KR]
\uC8FC\uC2DD\uD68C\uC0AC \uBC14\uC774\uC624\uD0B7
WO_2025225769_PA

Resumen de: WO2025225769A1

The present invention relates to a polylactic acid (PLA)-based composite plastic and a use thereof. In order to reduce the inherent brittleness of a PLA material, the present invention can provide a PLA-based composite plastic in which a reinforcing material is mixed, the reinforcing material is dispersed and composited in a biodegradable polymer matrix containing PLA so as to prepare a composite filler, the composite filler is mixed with a pure PLA material and molded so that mechanical integrity satisfying both tensile strength and toughness is ensured while the amount of the reinforcing material is lowered to be less than the total weight of PLA, and transparency equivalent to that of the inherent physical property of PLA is implemented. Provided is the PLA-based transparent film, which can be applied to industrial packaging containers, food containers and food packaging applications that require the physical property.

ALIPHATIC-AROMATIC COPOLYESTER, PREPARATION METHOD THEREFOR, AND APPLICATION THEREOF

NºPublicación:  WO2025222780A1 30/10/2025
Solicitante: 
KINGFA SCI & TECH CO LTD [CN]
ZHUHAI KINGFA BIOMATERIAL CO LTD [CN]
LIAONING KINGFA BIOMATERIAL CO LTD [CN]
\u91D1\u53D1\u79D1\u6280\u80A1\u4EFD\u6709\u9650\u516C\u53F8,
\u73E0\u6D77\u91D1\u53D1\u751F\u7269\u6750\u6599\u6709\u9650\u516C\u53F8,
\u8FBD\u5B81\u91D1\u53D1\u751F\u7269\u6750\u6599\u6709\u9650\u516C\u53F8
WO_2025222780_A1

Resumen de: WO2025222780A1

The present application provides an aliphatic-aromatic copolyester, a preparation method therefor, and an application thereof. The aliphatic-aromatic copolyester comprises the following components: a component A, comprising the following acid components: a1) 63-69 mol% of terephthalic acid, or a derivative thereof, or a mixture thereof, based on the total moles of a1) and a2); a2) 31-37 mol% of adipic acid, or a derivative thereof, or a mixture thereof, based on the total moles of a1) and a2); and component B: 1,4-butanediol, in an amount at least equimolar to component A. The aliphatic-aromatic copolyester has a crystallization enthalpy of -20 to -46 J/g. The aliphatic-aromatic copolyester of the present application is used for preparing packaging film, which has a high heat-sealing strength even after prolonged storage, and the impact on the degradation performance of the packaging film is minor.

POUCH MADE OF CELLULOSE-BASED MATERIALS

NºPublicación:  WO2025226474A1 30/10/2025
Solicitante: 
S C JOHNSON & SON INC [US]
S. C. JOHNSON & SON, INC
WO_2025226474_PA

Resumen de: WO2025226474A1

A pouch including cellulose-based materials includes a body defining a left side, a right side, a bottom side, and a mouth at an upper end thereof that provides access into a cavity of the pouch, and a sealing structure that is configured to allow access into the cavity of the pouch in an open configuration and to prevent access into the cavity of the pouch in a closed configuration. The sealing structure includes at least 85% of at least one repulpable material comprising plant-based cellulose. The repulpable material is at least 10% delignified, and a remaining percentage of the sealing structure may consist of a polymer.

PREPARATION METHOD FOR ENVIRONMENT-FRIENDLY NATURAL BAMBOO FIBER-MODIFIED PE COMPOSITE MATERIAL AND PRODUCT, AND USE

NºPublicación:  ZA202508080B 29/10/2025
Solicitante: 
HU NAN XIECHENG PIPES TECH CO LTD [CN]
HU' NAN XIECHENG PIPES TECHNOLOGY CO., LTD
WO_2024208284_A1

Resumen de: ZA202508080B

Disclosed in the present application are a preparation method for an environment-friendly natural bamboo fiber-modified PE composite material and a product thereof, and use. The composite material comprises the following raw materials in parts by weight: 20-70 parts by mass of modified bamboo fibers, 30-80 parts by mass of a PE mixed ingredient, 3-7 parts by mass of U/VLDPE-G-MA, and 0.55-1.2 parts by mass of a processing aid. According to the present invention, not only does material design strive for environmental protection, but also the traditional bamboo fiber acid and alkali treatment process is eliminated, achieving energy saving and environmental protection during production. According to the present invention, by means of optimizing the material formula, optimizing the surface treatment process of bamboo fibers, and optimizing preparation parameters and the processing process of the composite material, the flow processability of the composite material can be remarkably improved, and the processing temperature of the composite material and the product is reduced to 145 degrees celsius or below, thereby reducing carbonization and damage of the bamboo fibers.

Eco-friendly antimicrobial edible film for packing product and manufacturing method thereof

NºPublicación:  KR20250154714A 29/10/2025
Solicitante: 
주식회사씨피알에스앤티

Resumen de: KR20250154714A

본 발명에 따른 항균필름은 개질 키토산의 특징인 막 형성성과 항균성을 발현할 수 있어 식품이나 화장품의 포장 시 미생물 번식에 의한 변질을 막을 수 있어 이러한 변질에 민감한 제품의 보존성이 우수하고 필름의 물성변화 없이 항균력이 지속될 수 있다. 또한 상기 항균필름용 조성물은 상기와 같은 제품들의 포장용뿐만 아니라 항균성이 요구되는 부분의 코팅이나 블렌드도 가능한 특징을 가지며, 동시에 일정 온도 이상에서 생분해성이 발현되어 친환경적인 특성을 가진다.

Methods of producing packaging

NºPublicación:  GB2640610A 29/10/2025
Solicitante: 
MCCORMICK UK LTD [GB]
McCormick (UK) Limited
GB_2640610_PA

Resumen de: GB2640610A

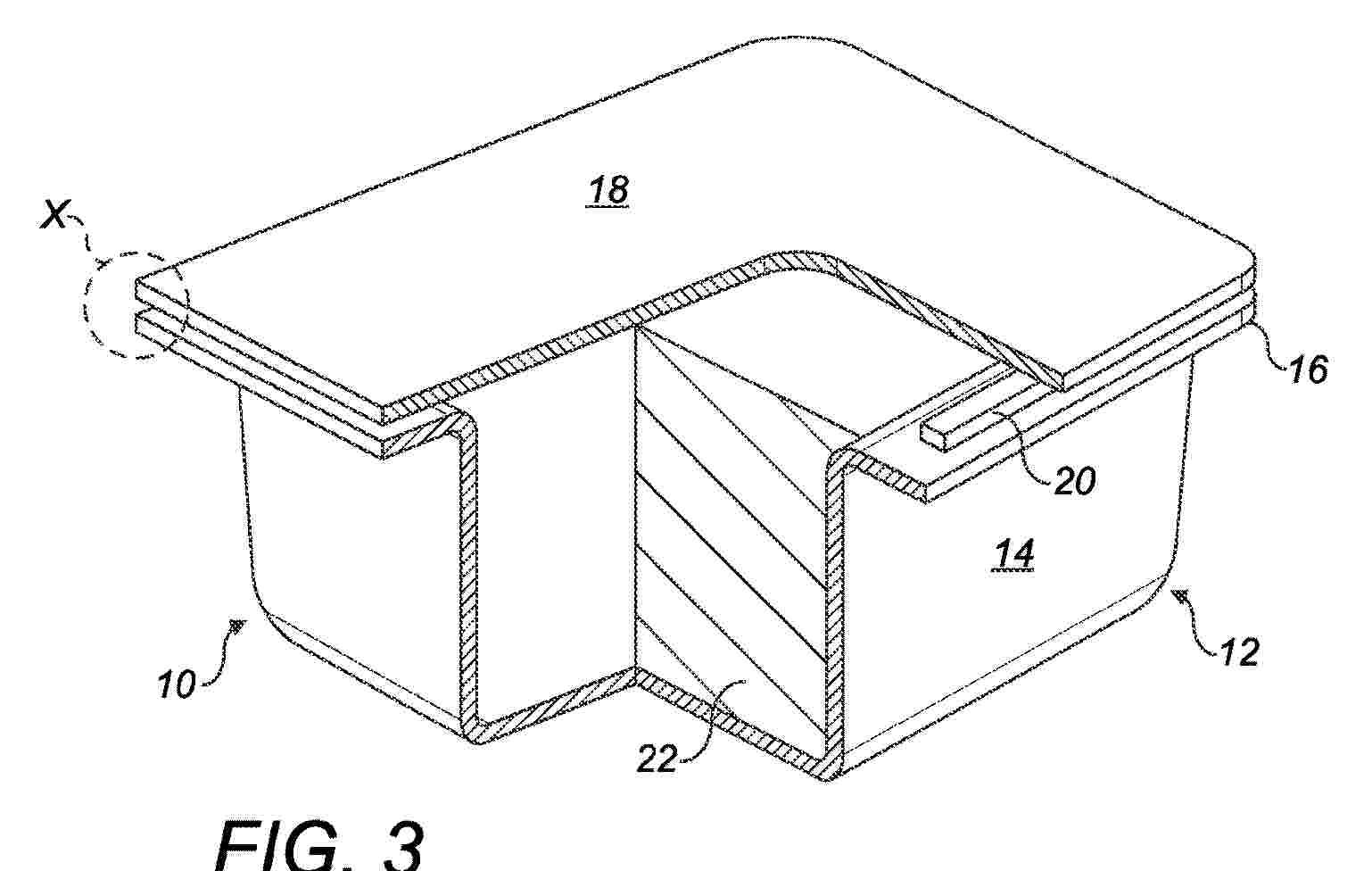
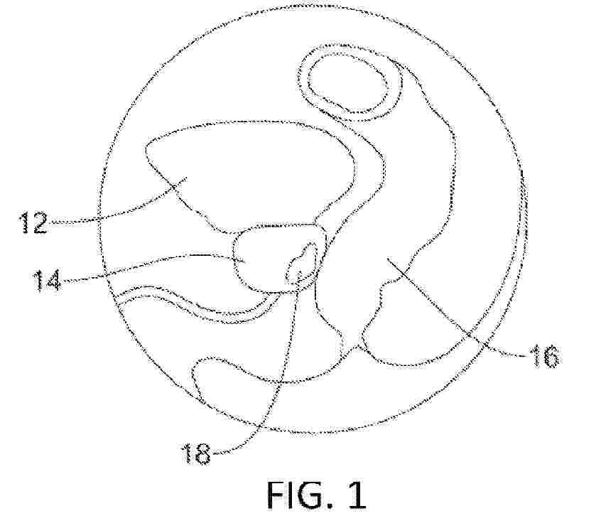
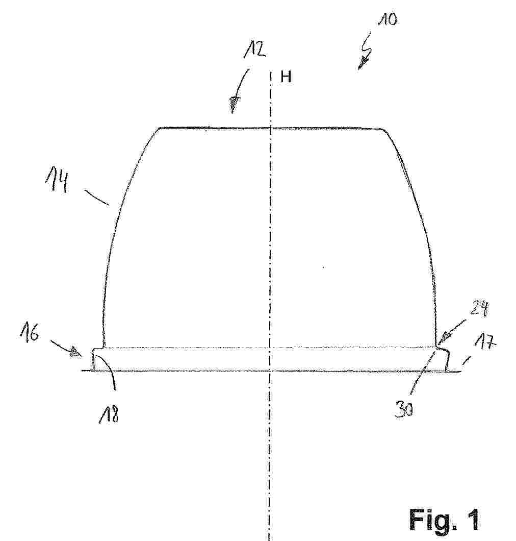
A method of producing a compostable moulded food packaging container 10, such as single serve sauce pots, having a cavity for receiving a foodstuff 22 and a lip 16 extending at least partially around the opening to which a compostable lid 18 can be adhered, comprises providing a thermoformable film 14 formed of a compostable material and thermoforming the cavity of the packaging container from the film at a temperature in the range of about 98°C to about 115°C. The method may further comprise peelably adhering the compostable lid, which preferably comprises cellulose and a polymer to the lip with a peelable adhesive 20, preferably a heat seal lacquer. The compostable material may be subjected to a shock annealing cooling process and may be formed of a nano-blend of two or more biodegradable polymers comprising a nanostructured first biopolymer in a matrix of a second biodegradable polymer. The compostable material may further comprise a filler and a compatibilizer.

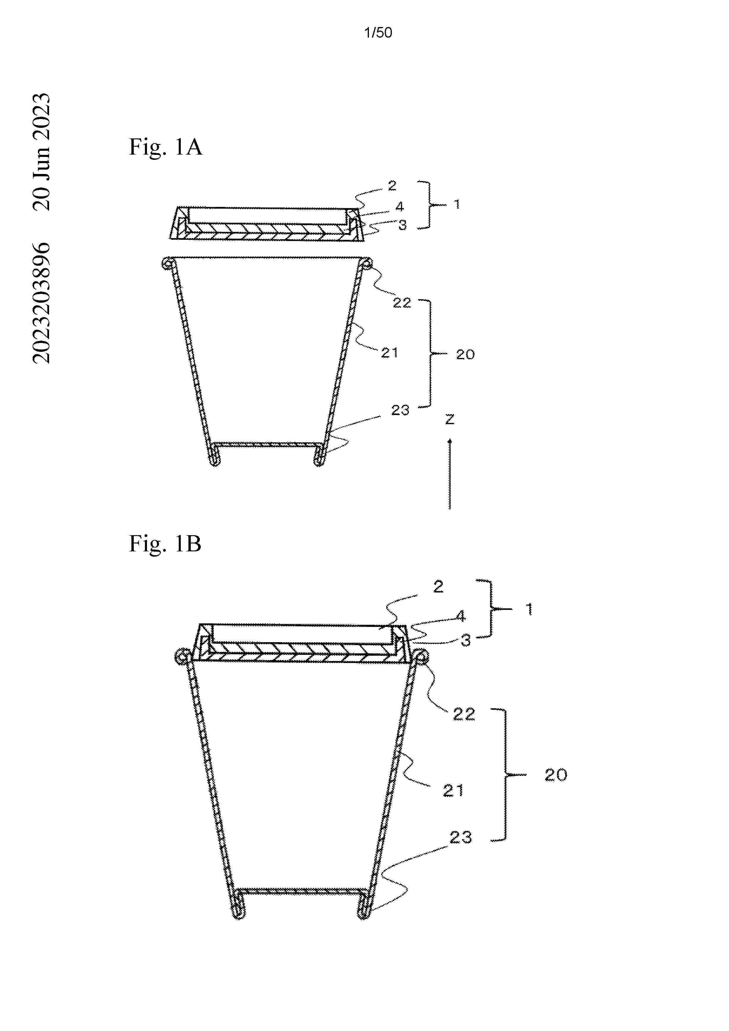
A REINFORCED MOULDED FIBRE CAPSULE FOR FOOD AND BEVERAGE PREPARATION

NºPublicación:  EP4638870A1 29/10/2025
Solicitante: 
NESTLE SA [CH]
Soci\u00E9t\u00E9 des Produits Nestl\u00E9 S.A
KR_20250123120_PA

Resumen de: MX2025006810A

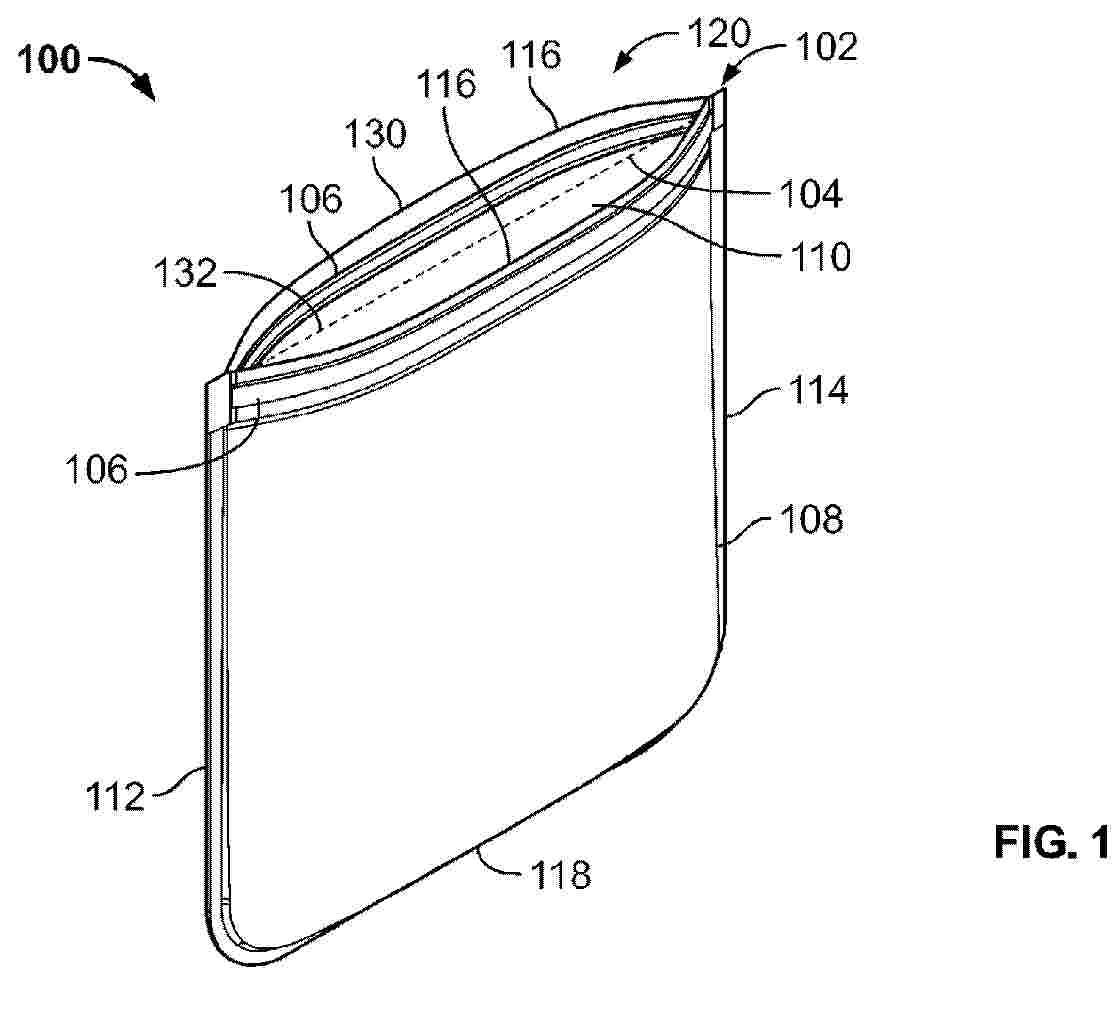
The present invention concerns packaging item (1) comprising a tridimensional body (2) made of rigid or semi-rigid moulded fiber pulp, said body forming a compartment for enclosing a product and adapted to be closed by closing means, characterized in that said body (2) further comprises a reinforcing mesh (7) embedded at least partially into the mass of fiber pulp, said mesh (7) comprising fibres selected within the list of: natural plant fibres, animal fibres, biopolymer synthetic fibres, or a combination thereof, said fibres being impregnated with a dried water-soluble biopolymer, a dried water-soluble compostable polymer, a dried starch-based solution, or a combination thereof, or said fibres being impregnated with a cured polypeptide.

CAVITATION-INDUCING BIODEGRADABLE POLYMERIC PARTICLES

NºPublicación:  EP4637705A1 29/10/2025
Solicitante: 
OXSONICS LTD [GB]
Oxsonics Limited
WO_2024134220_A1

Resumen de: WO2024134220A1

The present invention provides a cup-shaped particle comprising a first polymer and a second polymer; wherein the first polymer is a biodegradable polymer; the second polymer is a crosslinked copolymer of two or more different methacrylate monomers and at least one crosslinking agent, wherein the at least one cross-linking agent comprises one or more dimethacrylates; and wherein the cup has a cavity having an opening of at least 50 nm in size.

MOULDED PULP LID

NºPublicación:  EP4638289A1 29/10/2025
Solicitante: 
NESTLE SA [CH]
Soci\u00E9t\u00E9 des Produits Nestl\u00E9 S.A
KR_20250128976_PA

Resumen de: MX2025007307A

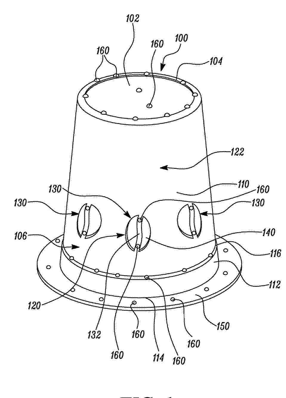
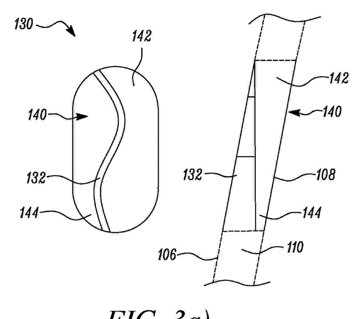
The present invention relates to a removable lid (100) for closing in an attachment direction (190) an opening (211) of a receptacle (210) for holding food products (220), whereby the receptacle (210) has a circumferential rim portion (212) surrounding the opening (211). The lid (100) is composed of two or more individual lid parts (101, 102) that are respectively integrally made by moulding pulp and that complement each other to form the lid (100). The lid (100) comprises a cover portion (110) for covering the receptacle opening (211), a skirt portion (120) that extends from the cover portion (110) to circumferentially delimit together with the cover portion (110) a receiving space (105) for receiving the rim portion (212) inside the lid (100) when closing the opening (211) with the lid (100), and a fastening structure (140) for providing a form- and/or force-closed connection. The fastening structure (140) protrudes laterally from a lateral inner side (121) of the skirt portion (120) towards and into the receiving space (105) in a direction transversely to the attachment direction (190). Therein, at least two of the lid parts (101, 102) comprise each at least a section of the fastening structure (140). The invention relates further to as system (200) for storing food products (220), comprising said removable lid (100) and a receptacle (210) for food products.

CELLULOSE BASED FIBER MATERIAL CLOSURE DEVICE FOR A PAPER OR PAPERBOARD-BASED PACKAGE

NºPublicación:  EP4638284A1 29/10/2025
Solicitante: 
ELOPAK ASA [NO]
ELOPAK ASA
WO_2024133628_PA

Resumen de: WO2024133628A1

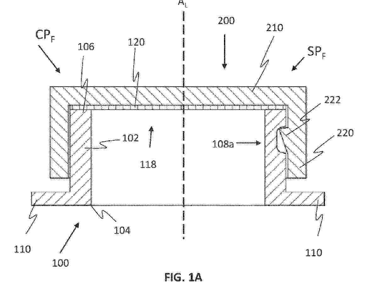
The invention relates to a closure device (1) for a paper or paperboard package (50) comprising a pour spout (100) and a cap (200). The pour spout (100) comprises a longitudinal center axis AL defining an axial direction z, a circumferential direction c, and a radial direction r. The pour spout (100) comprises an annular neck portion 102) with a first axial end (104) and a second axial end (106). The first axial end (104 comprises an annular flange portion (110) extending in the radial direction outwards from the pour spout (100). The annular flange portion (110) is for attaching the pour spout (100) to a paper or paper board container (50). The neck portion (102) comprises external threads (108a). The second axial (106) end is arranged opposite to the first axial end (104). The internal perimeter of the second axial end (106) defines a dispensing opening (118) through which contents may be poured or accessed. A seal (120) is permanently attached to a first sector Si of the second axial end (106). The seal (120) is configured to be liquid resistant at least at the area facing the dispensing opening (118). The cap (200) comprises a lid portion (210) and an annular longitudinal skirt (220) extending substantially perpendicularly from the lid portion (210). The annular longitudinal skirt (220) comprises internal threads (222) which are configured to interact releasably with the external threads (108a) of the neck portion (102). The seal (120) is arranged between the lid portion

PACKAGED LAUNDRY PRODUCT

NºPublicación:  EP4640573A1 29/10/2025
Solicitante: 
UNILEVER IP HOLDINGS B V [NL]
Unilever IP Holdings B.V
EP_4640573_A1

Resumen de: EP4640573A1

The present invention relates to a packaged product with a container enclosing a laundry article. More particularly, the present invention relates to a packaged product having a flexible solid laundry article enclosed in a recyclable or biodegradable material. There is a need to create, a recyclable or biodegradable package that encloses flexible solid laundry article that are easily dissolvable in water even after long period of storage in particular under high humidity conditions and where the package is capable of protecting the laundry article from the exposure to the external conditions and holds its structure through transport and storage. The present invention provides a packaged laundry product where a flexible solid laundry is packaged in a container comprising a recyclable and/or biodegradable material. The packaged product has an increased overall amount of recyclable and/or biodegradable material and is environmentally friendly without compromising on the product attributes. Further, the flexible solid laundry article remains storage stable, and has good dissolution properties even after long storage periods.

PACKAGING FILM WITH OXYGEN TRANSMISSION

NºPublicación:  EP4638300A1 29/10/2025
Solicitante: 
FRESHR SUSTAINABLE TECH INC [CA]
Freshr Sustainable Technologies Inc
CN_120476082_PA

Resumen de: CN120476082A

The present disclosure relates to compostable films, and more particularly to compostable films having desirable oxygen permeation characteristics for packaging perishable items, such as seafood products. According to one aspect, the present disclosure is directed to compostable packaging films comprising a flexible packaging material defining a plurality of pores and having a barrier coating for adjusting oxygen permeability. According to one aspect, the present disclosure relates to a method of making a packaging film, the method comprising: (a) providing a polymeric film having a food-contacting inner surface and an environment-facing outer surface opposite the inner surface; (b) modifying the polymer film through micro-perforation so as to increase the oxygen permeability of the packaging film; and (c) applying a barrier coating to the outer surface to further adjust the oxygen permeability of the packaging film. In embodiments, the packaging film may be an antimicrobial film.

MARINE BIODEGRADABLE POLYMER PARTICLE GROUPS AND PRODUCTION METHOD FOR SAME

NºPublicación:  EP4640751A1 29/10/2025
Solicitante: 
NISSHINBO HOLDINGS INC [JP]
Nisshinbo Holdings Inc
EP_4640751_A1

Resumen de: EP4640751A1

Marine biodegradable polymer particle groups according to the present invention comprise a polymer compound obtained by using two or more at least divalent metal cations to crosslink a water-soluble polymeric polyvalent anion that has a monovalent anionic substituent and includes at least a compound derived from alginic acid. The marine biodegradable polymer particle groups satisfy conditions (1)-(4). (1) The at least divalent metal cations are 3-30 mass% of the particle groups. (2) The difference between the maximum value and the minimum value of the atomic radii of the metal elements of the at least divalent metal cations is at least 15 Å. (3) The at least divalent metal cations of metal elements that have atomic radii of at least 150 Å are at least 25 mass% of all the at least divalent metal cations. (4) The water absorption of the particle groups is less than 300 mL/100 g.

CELLULOSE FIBER-CONTAINING MOLDED ARTICLE, AND METHOD FOR MANUFACTURING SAME

NºPublicación:  EP4640768A1 29/10/2025
Solicitante: 
OJI HOLDINGS CORP [JP]
Oji Holdings Corporation
EP_4640768_PA

Resumen de: EP4640768A1

The present invention relates to the provision of: a cellulose fiber-containing molded article having excellent flexural modulus and Charpy impact strength; and a method for manufacturing the cellulose fiber-containing molded article. The cellulose fiber-containing molded article according to the present invention comprises cellulose fibers, a resin A, and a fatty acid metal salt, in which the fatty acid metal salt is a metal salt of a saturated or unsaturated fatty acid having 12 to 24 carbon atoms inclusive, the content of the cellulose fibers in the molded article is 15% by mass to 70% by mass inclusive, the content of the fatty acid metal salt is 0.1% by mass to 10% by mass inclusive, and formula (i) or (ii) is satisfied wherein X (GPa) represents a flexural modulus of the molded article and Y (kJ/m2) represents a Charpy impact strength at a thickness of 4 mm. 1.8≤X≤3.5and100≥Y≥38−8X3.5≤X≤10and100≥Y≥10

POLYMER FILMS AND THEIR PRODUCTION AND USE

NºPublicación:  ES3040195T3 29/10/2025
Solicitante: 
THE SUPREME INDUSTRIES LTD
The Supreme Industries Limited
MX_2023006587_A

Resumen de: SA523441031B1

The invention provides a process to orient a high molecular weight polymer film, formed from molten, dispersed or dissolved state, characterized in that as a starts of this orientation process the film becomes embossed in a pattern of closely spaced dots or thin short lines, 5 thereby becoming oriented within these embossments, whereafter the orientation process is continued in one or more steps by m.d. stretching, t.d. stretching, or combined m.d. and t.d. stretching, whereby the embossed and oriented dots or lines gradually grow and develop until 10 essentially the entire film has become oriented. Fig. 1

RESIN COMPOSITION AND RESIN MODIFYING AGENT

Nº publicación: EP4640761A1 29/10/2025

Solicitante:

KURARAY CO [JP]
Kuraray Co., Ltd

EP_4640761_A1

Resumen de: EP4640761A1

A resin composition including a block copolymer (I) and an aliphatic polyester-based resin (II), in which the block copolymer (I) contains a block structural unit (A) having a polylactic acid unit (a) as a main component and a block structural unit (B) having a polyester unit (b) as a main component; the polyester unit (b) contains a unit derived from an aliphatic diol (b1) and an aliphatic dicarboxylic acid (b2); the aliphatic diol (b1) has an alkyl group as a branched chain and does not have a quaternary carbon atom; two hydroxy groups in the aliphatic diol (b1) are primary hydroxy groups; and the block copolymer (I) has a melting point of lower than 180°C.

traducir