Ministerio de Industria, Turismo y Comercio LogoMinisterior
 

Alerta

Resultados 149 resultados
LastUpdate Última actualización 28/10/2025 [07:01:00]
pdfxls
Solicitudes publicadas en los últimos 15 días / Applications published in the last 15 days
previousPage Resultados 100 a 125 de 149 nextPage  

SYSTEMS AND METHODS FOR OBTAINING ENERGY IN SHADOWED REGIONS

NºPublicación:  US2025321025A1 16/10/2025
Solicitante: 
TRANS ASTRONAUTICA CORP [US]
Trans Astronautica Corporation
US_2021333019_A1

Resumen de: US2025321025A1

Systems and methods are disclosed for directing radiant energy to permanently shadowed or occasionally shadowed regions such as on the floors of craters or in valleys in lunar polar regions to provide illumination, thermal power, electricity, communications, and other services. Embodiments of the systems include reflector elements to provide diffuse illumination, focused illumination, and thermal power, structures to support the reflectors and other elements, communications devices for varied signal types, and methods for installing the system. The structure can be compactly folded and delivered to be automatically installed.

ROOFING SHINGLES WITH FIRE RETARDANT STRUCTURE

NºPublicación:  US2025320722A1 16/10/2025
Solicitante: 
GAF ENERGY LLC [US]
GAF Energy LLC

Resumen de: US2025320722A1

A system includes a photovoltaic module installed on a roof deck, where the photovoltaic module comprises at least one solar cell; and a roofing shingle installed on the roof deck adjacent to the photovoltaic module, where the roofing shingles does not include a solar cell, where the roofing shingle includes a top surface and a bottom surface opposite the top surface, where the bottom surface of the roofing shingle is proximate to the roof deck, where the top surface of the roofing shingle is exposed to an external environment, where the top surface of the roofing shingle includes a first section and a second section, and where the first section is configured to change appearance in response to exposure to a predetermined temperature.

SOLAR ENERGY SYSTEM

NºPublicación:  US2025323598A1 16/10/2025
Solicitante: 
IDEALAB STUDIO LLC [US]
Idealab Studio, LLC

Resumen de: US2025323598A1

A standalone solar energy unit that can be installed on a ground surface includes a base and a housing vertically above and rotatably coupled to the base. The housing has a storage chamber extending to an opening. A cover is coupled to housing over the opening and movable between an open position allowing access to the storage chamber and a closed position to close the opening. The unit has a pair of arms that can move between an extended position out of the storage chamber and a retracted position within the storage chamber. Photovoltaic solar panel(s) are pivotally coupled to the pair of arms. The unit has a controller operable to move the housing and the photovoltaic solar panels to track the sun. The photovoltaic solar panels are electrically connected to a battery, which can store electricity generated by the photovoltaic solar panels.

GROUND PILE STRUCTURES FOR SOLAR TRACKING SYSTEMS

NºPublicación:  US2025320682A1 16/10/2025
Solicitante: 
NEXTRACKER LLC [US]
Nextracker LLC

Resumen de: US2025320682A1

A ground pile for a solar tracking system includes an elongate hollow tube extending longitudinally from a first end to a second end, a mount proximate the first end for attaching solar tracking components, one or more threaded longitudinal segments of the hollow tube each having exterior helical segments extending around the longitudinal segment and forming a screw thread, and one or more drivable longitudinal segments of the hollow tube having cross-sections with an internal surface shaped in a non-circular shape.

OPTICAL FILM AND PREPARATION METHOD THEREFOR AND APPLICATION THEREOF

NºPublicación:  US2025321453A1 16/10/2025
Solicitante: 
SHAANXI JINGCAI MINGWEI TECH CO LTD [CN]
SHAANXI JINGCAI MINGWEI TECHNOLOGY CO., LTD
WO_2024146598_PA

Resumen de: US2025321453A1

An optical film, a preparation method therefor and an application thereof are provided. The preparation method includes: performing an alignment treatment on a first release film to obtain a carrier film; unrolling the carrier film, and coating a surface of the carrier film with a first liquid crystal mixture to form a brightness enhancement film; coating a surface of the brightness enhancement film with a photosensitive monomer material and photo-crosslinking under linear polarization ultraviolet irradiation to form an alignment layer; coating the alignment layer with a second liquid crystal mixture to form a liquid-crystal phase retardation film; combining a second release film on a side of the liquid-crystal phase retardation film and rolling, peeling off the first release film, applying an OCA onto the brightness enhancement film, and combining a third release film on a side of the OCA facing away from the brightness enhancement film and rolling.

CLAMP FOR SECURING SOLAR PANEL FRAMES TO STRUCTURAL ELEMENTS

NºPublicación:  US2025323594A1 16/10/2025
Solicitante: 
BLUESCOPE BUILDINGS NORTH AMERICA [US]
BlueScope Buildings North America

Resumen de: US2025323594A1

A clamp for adjustably securing a frame of a solar panel to a structural member of a building, the clamp including a first body member comprising a distal end and a proximal end as well as an opening in the first body member disposed proximate the distal end. The clamp also includes a second body member disposed substantially orthogonal to the first body member at the proximal end of the first body member, the second body member further comprising at least one outwardly extending restraining member for either insertion into a slot within the frame or for placement atop the frame. The clamp also includes a multi-sided head with a shaft and an off-center hole disposed within the shaft, the shaft received within the opening in the first body member and the off-center hole operable to receive a threaded fastener for insertion into the structural member.

PHOTOVOLTAIC POWER GENERATION SYSTEM AND CONTROL METHOD FOR CONTROLLING POWER GENERATION SYSTEM

NºPublicación:  US2025323597A1 16/10/2025
Solicitante: 
PANASONIC INTELLECTUAL PROPERTY MAN CO LTD [JP]
Panasonic Intellectual Property Management Co., Ltd
WO_2024143269_PA

Resumen de: US2025323597A1

A photovoltaic power generation system includes first and second structures. The first structure includes first photoelectric conversion bodies aligned in a first direction at a first spacing and each extending in a second direction as a length direction of the first photoelectric conversion body. The second structure includes second photoelectric conversion bodies aligned in the first direction at a second spacing and each extending in the second direction as the length direction of the second photoelectric conversion body. The system satisfies at least one of a first requirement and a second requirement. The first requirement is that dimensions of the first photoelectric conversion bodies in the first direction is different from dimensions of the second photoelectric conversion bodies in the first direction. The second requirement is that the first spacing between the first photoelectric conversion bodies is different from the second spacing between the second photoelectric conversion bodies.

PREPARATION METHOD OF PEROVSKITE FILM LAYER, PEROVSKITE FILM LAYER, AND SOLAR CELL

NºPublicación:  US2025324844A1 16/10/2025
Solicitante: 
CONTEMPORARY AMPEREX FUTURE ENERGY RES INSTITUTE SHANGHAI LIMITED [CN]
CONTEMPORARY AMPEREX TECH CO LIMITED [CN]
CONTEMPORARY AMPEREX FUTURE ENERGY RESEARCH INSTITUTE (SHANGHAI) LIMITED,
CONTEMPORARY AMPEREX TECHNOLOGY CO., LIMITED
KR_20250114388_PA

Resumen de: US2025324844A1

A preparation method includes: providing a base and a transport layer disposed on the base; depositing a perovskite reaction material layer on a side of the transport layer facing away from the base to obtain an intermediate product; and placing the intermediate product in a solvent atmosphere for reaction. Before depositing the perovskite reaction material layer, deposition of a first passivation precursor layer is further included, and/or after depositing the perovskite reaction material layer, deposition of a second passivation precursor layer is further included.

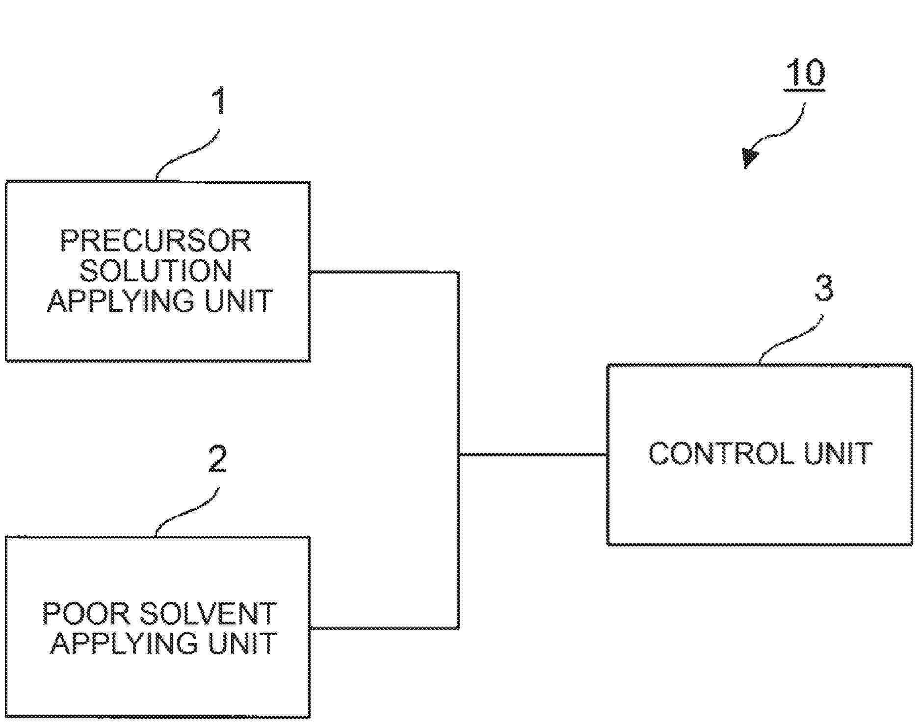
MANUFACTURING METHOD AND MANUFACTURING APPARATUS FOR MANUFACTURING PEROVSKITE-TYPE SOLAR CELL

NºPublicación:  US2025324898A1 16/10/2025
Solicitante: 
TOYOTA MOTOR CO LTD [JP]
TOYOTA JIDOSHA KABUSHIKI KAISHA
US_2025324898_PA

Resumen de: US2025324898A1

The present disclosure relates to a manufacturing method of a perovskite-type solar cell, and an apparatus for manufacturing a perovskite-type solar cell, including a step of applying a precursor solution of a perovskite compound as a droplet, and a step of applying a poor solvent as a droplet until a droplet of the precursor solution adhered to a coating surface is combined with a droplet of another precursor solution, and a manufacturing device including a precursor solution applying unit, a poor solvent applying unit, and a control unit.

SOLAR CELL MODULE INSULATION FILM, INSULATION FILM WITH STEEL SHEET, INSULATION FILM WITH WIRING SHEET, AND SOLAR CELL MODULE

NºPublicación:  US2025324774A1 16/10/2025
Solicitante: 
DAI NIPPON PRINTING CO LTD [JP]
DAI NIPPON PRINTING CO., LTD
WO_2023054730_PA

Resumen de: US2025324774A1

A solar cell module insulation film disposed between a solar cell and a steel sheet in a solar cell module, the solar cell module insulation film including: a sealing material layer, an insulating substrate, and a polyethylene-based resin layer, in this order, wherein the polyethylene-based resin layer is a polyethylene film; and a wetting tension of a surface of the polyethylene-based resin layer that is opposite side to the insulating substrate is 36 dyne/cm or more.

MULTIJUNCTION SOLAR CELL STRUCTURE

NºPublicación:  US2025324771A1 16/10/2025
Solicitante: 
YANGZHOU CHANGELIGHT CO LTD [CN]
YANGZHOU CHANGELIGHT CO., LTD
US_2025324771_PA

Resumen de: US2025324771A1

The present disclosure provides a MULTIJUNCTION solar cell structure including a substrate and a plurality of subcells stacked on the substrate. The plurality of subcells include an InGaAs subcell, the InGaAs subcell includes an InjGaAs base region and an InjGaAs emitter region disposed in a direction away from the substrate, and a multiple quantum well (MQW) structure disposed between the InjGaAs base region and the InjGaAs emitter region. The InjGaAs base region and the InjGaAs emitter region are respectively doped with a first and second conductivity types. The MQW structure includes alternately stacked InxGaAs quantum well layers and InkGaAsPy barrier layers, and a InwGaAsPz step barrier layer disposed between a InxGaAs quantum well layer and a InkGaAsPy barrier layer. A bandgap of the InwGaAsPz step barrier layer lies between a bandgap of the InxGaAs quantum well layer and a bandgap of the InkGaAsPy barrier layer.

SYSTEM AND METHOD FOR PACKAGING AND DEPLOYING SOLAR CELLS

NºPublicación:  US2025324772A1 16/10/2025
Solicitante: 
TAKA SOLAR CORP [US]
Taka Solar Corporation
US_2023402234_PA

Resumen de: US2025324772A1

A solar cell system and a flexible solar panel are disclosed herein. The solar cell system includes a glass housing, a set of rows of solar cells each defining a front side and a rear side and arranged within the glass housing. The solar cell system can also include a reflective element disposed in the glass housing and facing the rear side of the set of rows of solar cells and a first terminal coupled to a first end of the set of rows of solar cells, traversing through and sealed against the first end of the glass housing. The solar cell system can be configured with other solar cell systems into the flexible solar panel that is deployable in a wide range of potential applications.

SOLAR CELL AND PHOTOVOLTAIC MODULE

NºPublicación:  US2025324809A1 16/10/2025
Solicitante: 
LONGI GREEN ENERGY TECHNOLOGY CO LTD [CN]
LONGI GREEN ENERGY TECHNOLOGY CO., LTD
US_2025324809_PA

Resumen de: US2025324809A1

The present application provides a solar cell, including: a silicon substrate, and a plurality of fingers formed on a surface of the silicon substrate. The silicon substrate is doped with antimony, and a concentration of antimony in the silicon substrate is a atom/cm3. The plurality of fingers extend in a first direction, and a density of fingers with the same polarity in a second direction perpendicular to the first direction is n/cm. n and a meet the following relationship: 35−k·lg a≤n≤35−Ig a, where k is a constant less than or equal to 2, a ranges from 1E13 to 2E17.

SPIRO COMPOUND AND USE THEREOF

NºPublicación:  US2025324907A1 16/10/2025
Solicitante: 
SICHUAN AG RAY NEW MAT CO LTD [CN]
SICHUAN AG-RAY NEW MATERIALS CO., LTD
KR_20240065301_PA

Resumen de: US2025324907A1

The present invention relates to a spiro compound and application thereof. The spiro compound has a structure as shown in a formula (1). The material provided in the present invention has the advantages of high optical and electrical stability, low sublimation temperature, low driving voltage, high luminous efficiency, long device service life and the like, and can be used in an organic electroluminescent device. In particular, the compound has the possibility of being applied in the AMOLED industry as an electron injection or electron transport material.

METHOD FOR MANUFACTURING LIGHT-EMITTING DEVICE

NºPublicación:  US2025324903A1 16/10/2025
Solicitante: 
SEMICONDUCTOR ENERGY LABORATORY CO LTD [JP]
Semiconductor Energy Laboratory Co., Ltd
JP_2024180662_PA

Resumen de: US2025324903A1

An object of one embodiment of the present invention is to provide a more convenient highly reliable light-emitting device which can be used for a variety of applications. Another object of one embodiment of the present invention is to manufacture, without complicating the process, a highly reliable light-emitting device having a shape suitable for its intended purpose. In a manufacturing process of a light-emitting device, a light-emitting panel is manufactured which is at least partly curved by processing the shape to be molded after the manufacture of an electrode layer and/or an element layer, and a protective film covering a surface of the light-emitting panel which is at least partly curved is formed, so that a light-emitting device using the light-emitting panel has a more useful function and higher reliability.

PHOTOVOLTAIC POWER GENERATION SYSTEM

NºPublicación:  US2025323596A1 16/10/2025
Solicitante: 
PANASONIC INTELLECTUAL PROPERTY MAN CO LTD [JP]
Panasonic Intellectual Property Management Co., Ltd
CN_120435928_PA

Resumen de: US2025323596A1

A photovoltaic power generation system includes a first structure and a second structure. The first structure includes a plurality of first photoelectric conversion bodies. The second structure includes at least one second photoelectric conversion body. The first photoelectric conversion bodies each extend in a first direction as a length direction. A direction in which the first photoelectric conversion bodies are aligned is a second direction that is orthogonal to the first direction. When viewed from a third direction that is orthogonal to both the first direction and the second direction, at least part of the at least one second photoelectric conversion body is configured to overlap with at least part of the first photoelectric conversion bodies.

CLEANING SYSTEM FOR OUTDOOR EQUIPMENT

NºPublicación:  US2025323599A1 16/10/2025
Solicitante: 
EARTHGEN TECH CO LTD [TW]
Earthgen Technology Co., Ltd

Resumen de: US2025323599A1

A cleaning system for an outdoor equipment includes a control console operable to output an operation instruction, an inertial measurement unit, and an unmanned aerial vehicle movable according to the operation instruction upon receipt of the same. The unmanned aerial vehicle includes an operational processor, a machine body, a cleaning module adapted for spraying a cleaning liquid, a route detection module configured to detect a position of the machine body relative to first and second support frames of the outdoor equipment and generate flight path information for assisting in movement of the machine body along a movement route, and an inertial measurement unit configured to detect a posture parameter set of the machine body related to a posture of the machine body and to output the posture parameter set to the operational processor.

METAL-SEMICONDUCTOR CONTACT STRUCTURE AND PREPARATION METHOD THEREFOR, SOLAR CELL AND PHOTOVOLTAIC MODULE

NºPublicación:  AU2025202063A1 16/10/2025
Solicitante: 
TONGWEI SOLAR CHENGDU CO LTD
TONGWEI SOLAR (CHENGDU) CO., LTD
AU_2025202063_A1

Resumen de: AU2025202063A1

A metal-semiconductor contact structure and a preparation method thereof, a solar cell and a photovoltaic module are provided. The metal-semiconductor contact structure includes a metal electrode and a semiconductor layer in contact with each other. The metal electrode has a metal element, and the semiconductor layer has a semiconductor element and a doping element for 5 doping the semiconductor layer. A contact interface between the metal electrode and the semiconductor layer has a hole and a conductive structure. The conductive structure includes a conductive eutectic adjacent to the semiconductor layer, and a conductive crystal extending from the conductive eutectic into the hole. The conductive eutectic includes a eutectic formed by the metal element and the semiconductor element, and the conductive crystal includes a crystal formed 10 by crystallization of the metal element. FIG. 1 A metal-semiconductor contact structure and a preparation method thereof, a solar cell and a photovoltaic module are provided. The metal-semiconductor contact structure includes a metal electrode and a semiconductor layer in contact with each other. The metal electrode has a metal 5 element, and the semiconductor layer has a semiconductor element and a doping element for doping the semiconductor layer. A contact interface between the metal electrode and the semiconductor layer has a hole and a conductive structure. The conductive structure includes a conductive eutectic adjacent to the semicon

SKIP MOUNT INSTALLATION SYSTEM

NºPublicación:  AU2024322165A1 16/10/2025
Solicitante: 
PEGASUS SOLAR INC
PEGASUS SOLAR INC
AU_2024322165_A1

Resumen de: AU2024322165A1

Systems and methods for mounting solar modules are disclosed herein. A mounting system for solar modules includes a first-row solar module and a second-row solar module having a bottom edge and a top edge opposite the bottom edge, a structural clamp configured to connect the top edge of the first-row solar module to a bottom edge of a second-row solar module, roof attachments configured to secure the first-row solar module and the second-row solar module, and structural clamps that connect the first-row solar module to the second-row solar module. The mounting system for solar modules may be installed by installing a first row of roof attachments to a roof surface using fasteners, installing a second row of roof attachments to a roof surface using fasteners, and installing a third row of roof attachments to a roof surface using fasteners.

ALIGNMENT BRACKET

NºPublicación:  AU2024255269A1 16/10/2025
Solicitante: 
ARRAY TECH INC
ARRAY TECH, INC
AU_2024255269_PA

Resumen de: AU2024255269A1

An alignment bracket suitable for facilitating the connection of solar components in a PV system may include a first surface, a second surface, and an attachment member. The first surface may be configured to physically interface with a corresponding surface of a solar component of the PV system. The second surface may be configured to physically interface with a corresponding surface of a support column. The attachment member may include an engagement surface configured to engage with a part of the support column to facilitate a position of the second surface relative to the corresponding surface of the support column.

CONNECTOR ASSEMBLY AND CONNECTING STRUCTURE

NºPublicación:  AU2023441334A1 16/10/2025
Solicitante: 
SUNGROW POWER SUPPLY CO LTD
SUNGROW POWER SUPPLY CO., LTD
AU_2023441334_PA

Resumen de: AU2023441334A1

Disclosed in the present invention are a connector assembly and a connecting structure. The connector assembly comprises a photovoltaic connector, and a connecting device configured to be fixed to a circuit board and electrically connected to the circuit board, wherein a conductive terminal of the photovoltaic connector is configured to be in plug-in connection with the connecting device. By means of the connector assembly, assembly steps and assembly time required for assembling the photovoltaic connector and the circuit board are reduced, and the installation efficiency of the photovoltaic connector and the circuit board is improved; the probability of problems such as connection failure and poor contact is also reduced, such that the reliability of connection between the photovoltaic connector and the circuit board is improved; connecting points of the whole connecting loop are also reduced, such that the contact resistance and heat generation of the whole connecting structure are reduced, and large current transmission can be realized, which is beneficial to improving the power generation capacity of a photovoltaic power generation system; and wires can also be omitted, such that the cost of the wires can be saved on, and an internal space of an inverter can be saved on, which facilitates the miniaturization design of the inverter.

GRID-CONNECTED INVERTER AND OVERVOLTAGE SUPPRESSION METHOD THEREFOR

NºPublicación:  AU2023447541A1 16/10/2025
Solicitante: 
SUNGROW POWER SUPPLY CO LTD
SUNGROW POWER SUPPLY CO., LTD
AU_2023447541_PA

Resumen de: AU2023447541A1

Provided in the present application are a grid-connected inverter and an overvoltage suppression method therefor. In the overvoltage suppression method, when an alternating-current port voltage of a grid-connected inverter does not exceed a preset threshold value, the grid-connected inverter is controlled to perform grid-connected operation in a current source mode; when the alternating-current port voltage exceeds the preset threshold value, the grid-connected inverter is controlled to perform grid-connected operation in a voltage source mode, such that a response to a reactive current or reactive power, which is outputted by an alternating-current port of the grid-connected inverter, is realized within a preset duration; and the grid-connected inverter is controlled to resume the current source mode until the reactive current or the reactive power is greater than or equal to a corresponding preset reactive instruction value. Therefore, when a temporary overvoltage occurs in an electric power system, transient voltage source characteristics are constructed, and a power supply characteristic of a grid-connected inverter is used to enable the grid-connected inverter to perform spontaneous reactive injection, so as to greatly reduce a reactive response time so that same is synchronous with a rising speed of an alternating-current port voltage, that is, an instantaneous reactive power support can be achieved, and rapid suppression of an instantaneous overvoltage can thus be achi

SOLAR TABLE MOBILE TRANSPORT

NºPublicación:  AU2025237996A1 16/10/2025
Solicitante: 
TERABASE ENERGY INC
TERABASE ENERGY, INC
AU_2025237996_A1

Resumen de: AU2025237996A1

A mobile transport for moving a solar table, the mobile transport comprising: a transport component having a vehicular segment and a driving system, the transport component being operable to move the solar table from a first location to a point of installation under control of the driving system; and an attachment component coupled to the transport component, the attachment component comprising at least one attaching element that securely attaches to the solar table and at least one motor that supports at least one alignment process implemented during an installation of the solar table to at least one mounting structure; wherein the at least one attaching element comprises a plurality of end effectors that couple to at least one of a torque tube, a purlin and/or a beam within the solar table with independent motion control; and wherein the attachment component extends vertically above the transport component and at a forward angle such that the at least one attaching element is located in front of the transport component. A mobile transport for moving a solar table, the mobile transport comprising: a transport component having a vehicular segment and a driving system, the transport component being operable to move the solar table from a first location to a point of installation under control of the driving system; and an attachment component coupled to the transport component, the attachment component comprising at least one attaching element that securely attaches to the sol

Lagereinheit, insbesondere Stehlager, für eine Solarnachführwelle und damit ausgerüstete Solarnachführeinrichtung

NºPublicación:  DE102024110191A1 16/10/2025
Solicitante: 
IGUS GMBH [DE]
igus GmbH

Resumen de: DE102024110191A1

Die Erfindung betrifft eine Lagereinheit, insbesondere ein mehrteiliges Stehlager (1), zur schwenkbaren Lagerung insbesondere einer Solarnachführwelle für Solarmodule. Die Lagerkalotte (3) ist im Lagergehäuse (2) wartungsfrei gleitgelagert und bildete eine sphärische Lagerung um Fluchtungsfehler der Wellenachse auszugleichen.Erfindungsgemäß hat die Lagereinheit (1) zumindest eine durch Lagergehäuse (2) und Lagerkalotte (3) gebildete Schwenkwinkelbegrenzung (8, 9) aufweist zur Begrenzung des Schwenkwinkels der Lagerkalotte um die Lagerachse (A) im Lagergehäuse (2) auf ein vorbestimmtes Winkelmaß (α).

Verfahren zur landwirtschaftlich-photovoltaischen komplementären Regenwassernutzung und automatischen Bewässerung auf einem Tafelland

Nº publicación: DE102025101098A1 16/10/2025

Solicitante:

HUANENG LANCANG RIVER HYDROPOWER INC [CN]
HUANENG LANCANG RIVER HYDROPOWER INC

CN_118252087_PA

Resumen de: DE102025101098A1

Die vorliegende Erfindung offenbart ein Verfahren zur landwirtschaftlich-photovoltaischen komplementären Regenwassernutzung und automatischen Bewässerung auf einem Tafelland und bezieht sich auf den technischen Bereich der photovoltaischen Stromerzeugung. Das Verfahren zur landwirtschaftlich-photovoltaischen komplementären Regenwassernutzung und automatischen Bewässerung auf einem Tafelland der vorliegenden Erfindung umfasst Folgende Schritte: S1. Überwachen des Bodenwassergehalts des Tafellands und Erstellen eines Modells für den täglichen Wasserbedarf Q1 der Tafellandkultur; S2. Einstellen eines minimalen Alarmwertes P1und eines maximalen Alarmwertes P2des Bodenwassergehaltes des Tafellands, und wenn der Bodenwassergehalt des Tafellands niedriger als der minimale Alarmwert P1ist, beginnt das Sprührohr mit dem Sprühvorgang, und wenn der Bodenwassergehalt des Tafellands den maximalen Alarmwert P2erreicht, hört das Sprührohr mit dem Sprühvorgang auf; S3. Überwachen des Wasserpegels in dem Wassersammeltank und Einstellen eines ersten Alarmpegels H1und eines zweiten Alarmpegels H2, und wenn der Wasserpegel niedriger als H1ist, wird der Wasserkörper an den Wassersammeltank geliefert, und wenn sich der Wasserpegel auf H2befindet, hört die Wasserversorgungsbaugruppe auf, den Wasserkörper an den Wassersammeltank zu liefern. Das Verfahren zur landwirtschaftlich-photovoltaischen komplementären Regenwassernutzung und automatischen Bewässerung auf einem Tafelland der v

traducir