Ministerio de Industria, Turismo y Comercio LogoMinisterior
 

Alerta

Resultados 149 resultados
LastUpdate Última actualización 28/10/2025 [07:01:00]
pdfxls
Solicitudes publicadas en los últimos 15 días / Applications published in the last 15 days
previousPage Resultados 75 a 100 de 149 nextPage  

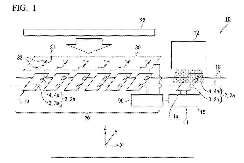
MOBILE, SOLAR POWERED POWER STATION SYSTEM

NºPublicación:  US2025323595A1 16/10/2025
Solicitante: 
MAXWELL SHARON [US]
MAXWELL Sharon

Resumen de: US2025323595A1

Some embodiments are directed to a power station system that is mobile, able to charge using solar power, able to produce AC and DC current, and/or transportable by being towed such as behind a consumer vehicle. In various embodiments, the system contains a battery that is capable of meeting certain power needs, such as the needs of a jobsite, a medium sized home, etc. The solar power can be derived from a solar panel array that is configurable to generate power in any given environment. The system can also include wheels so that it can be towed, such as a two-axle trailer and a series of outriggers for support and ease of transportation. This unit also can include an inceptor to receive the garnered electricity into a storage device for future uses.

SPACE-BASED SOLAR POWER SYSTEM

NºPublicación:  US2025323530A1 16/10/2025
Solicitante: 
OVERVIEW ENERGY INC [US]
Overview Energy Inc
US_2025273999_PA

Resumen de: US2025323530A1

Implementations of the disclosed subject matter provides a system having an artificial light source disposed at a distance from earth or other celestial body, where the artificial light source is configured to project one or more beams of light onto the earth or other celestial body. The system may include a photovoltaic array disposed in an area on the earth or other celestial body that is 200 m-20 km or more in any one dimension that is configured to receive the projected one or more beams of light and is configured to convert the received one or more beams of light into electricity.

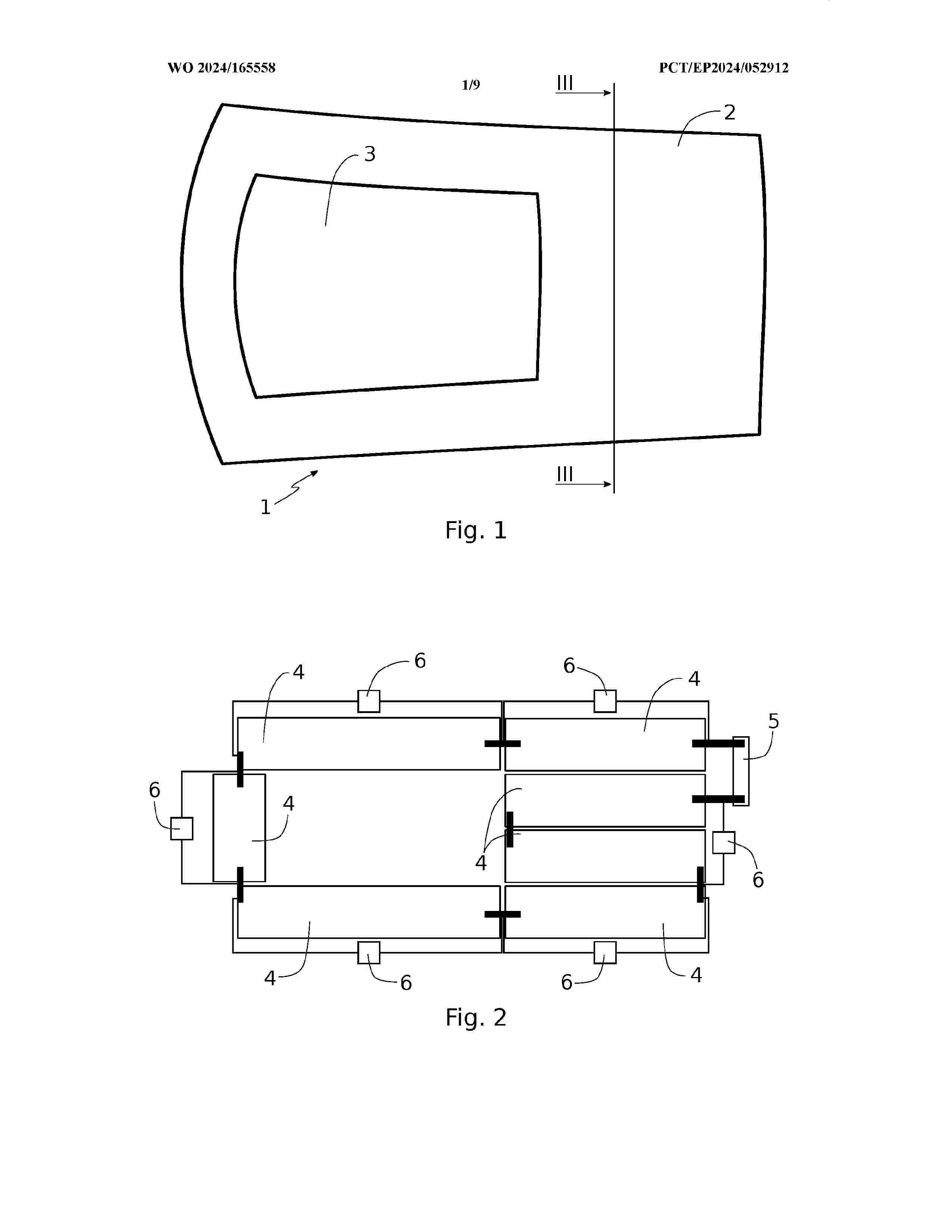
CLAMP FOR SECURING SOLAR PANEL FRAMES TO STRUCTURAL ELEMENTS

NºPublicación:  WO2025217438A1 16/10/2025
Solicitante: 
BLUESCOPE BUILDINGS NORTH AMERICA INC [US]
BLUESCOPE BUILDINGS NORTH AMERICA, INC
WO_2025217438_PA

Resumen de: WO2025217438A1

A clamp for adjustably securing a frame of a solar panel to a structural member of a building, the clamp including a first body member comprising a distal end and a proximal end as well as an opening in the first body member disposed proximate the distal end. The clamp also includes a second body member disposed substantially orthogonal to the first body member at the proximal end of the first body member, the second body member further comprising at least one outwardly extending restraining member for either insertion into a slot within the frame or for placement atop the frame. The clamp also includes a multi-sided head with a shaft and an off-center hole disposed within the shaft, the shaft received within the opening in the first body member and the off-center hole operable to receive a threaded fastener for insertion into the structural member.

HOLE TRANSPORT LAYER, SOLAR CELL ELEMENT, AND SOLAR CELL MODULE

NºPublicación:  WO2025216134A1 16/10/2025
Solicitante: 
KYOCERA CORP [JP]
KYOCERA DOCUMENT SOLUTIONS INC [JP]
\u4EAC\u30BB\u30E9\u682A\u5F0F\u4F1A\u793E,
\u4EAC\u30BB\u30E9\u30C9\u30AD\u30E5\u30E1\u30F3\u30C8\u30BD\u30EA\u30E5\u30FC\u30B7\u30E7\u30F3\u30BA\u682A\u5F0F\u4F1A\u793E
WO_2025216134_PA

Resumen de: WO2025216134A1

This hole transport layer comprises: a base material having a triphenylamine skeleton and an electron-attracting group in the molecule thereof; and a dopant, wherein the electron-attracting group is bonded to a para-position of a benzene ring belonging to the triphenylamine skeleton.

HOLE TRANSPORT LAYER, SOLAR CELL ELEMENT, AND SOLAR CELL MODULE

NºPublicación:  WO2025216132A1 16/10/2025
Solicitante: 
KYOCERA CORP [JP]
\u4EAC\u30BB\u30E9\u682A\u5F0F\u4F1A\u793E
WO_2025216132_PA

Resumen de: WO2025216132A1

This hole transport layer has a hydrophobic group per molecule.

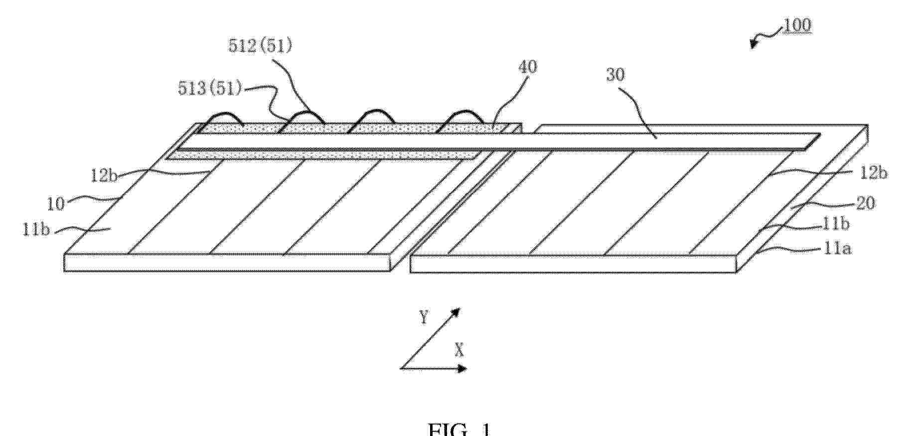
ROOFING SHINGLES WITH FIRE RETARDANT STRUCTURE

NºPublicación:  WO2025217150A1 16/10/2025
Solicitante: 
GAF ENERGY LLC [US]
GAF ENERGY LLC
WO_2025217150_PA

Resumen de: WO2025217150A1

A system includes a photovoltaic module installed on a roof deck, where the photovoltaic module comprises at least one solar cell; and a roofing shingle installed on the roof deck adjacent to the photovoltaic module, where the roofing shingles does not include a solar cell, where the roofing shingle includes a top surface and a bottom surface opposite the top surface, where the bottom surface of the roofing shingle is proximate to the roof deck, where the top surface of the roofing shingle is exposed to an external environment, where the top surface of the roofing shingle includes a first section and a second section, and where the first section is configured to change appearance in response to exposure to a predetermined temperature.

SYSTEM FOR INTEGRATING STORAGE AND/OR EXPANDING PHOTOVOLTAIC GENERATION IN EXISTING INSTALLATIONS AND ASSOCIATED METHOD

NºPublicación:  WO2025215284A1 16/10/2025
Solicitante: 
TURBO ENERGY S A [ES]
TURBO ENERGY, S.A
WO_2025215284_PA

Resumen de: WO2025215284A1

The invention relates to a system for integrating storage and/or expanding photovoltaic generation in existing installations, wherein the existing installations comprise at least existing photovoltaic generation means connected, via electrical connection means, to at least one load requiring electrical energy and also connected, via an energy meter, to the general electrical grid. The system is characterised in that it comprises connecting a device with at least an inverter, a second electrical energy meter and a control unit, wherein the device: connects the existing installation to energy storage means; is connected, via the second electrical energy meter, to the general electrical grid in parallel with the existing photovoltaic generation means; and is configured to maintain a minimum use that is always equal to or greater than a predetermined compensation value.

DISPLAY DEVICE AND ELECTRONIC APPARATUS

NºPublicación:  WO2025215496A1 16/10/2025
Solicitante: 
SEMICONDUCTOR ENERGY LABORATORY CO LTD [JP]
\u682A\u5F0F\u4F1A\u793E\u534A\u5C0E\u4F53\u30A8\u30CD\u30EB\u30AE\u30FC\u7814\u7A76\u6240
WO_2025215496_PA

Resumen de: WO2025215496A1

Provided is a display device that is suited to combination with a solar cell. According to the present invention, a display device that is suited to combination with a solar cell has subpixels and a light-transmitting region and also has a light-transmitting insulator that eliminates a level difference from the subpixels to the light-transmitting region. The insulator has a curved surface in a region near an end part, and said region can be made to act as a lens. As a result, light that enters the display device from the outside can be refracted to enter the light-transmitting region, making it possible for comparatively more light to be transmitted. An electronic apparatus that includes the display device and a solar cell that is provided on a back surface side of the display device allows more light to enter the solar cell and makes it possible to generate more power.

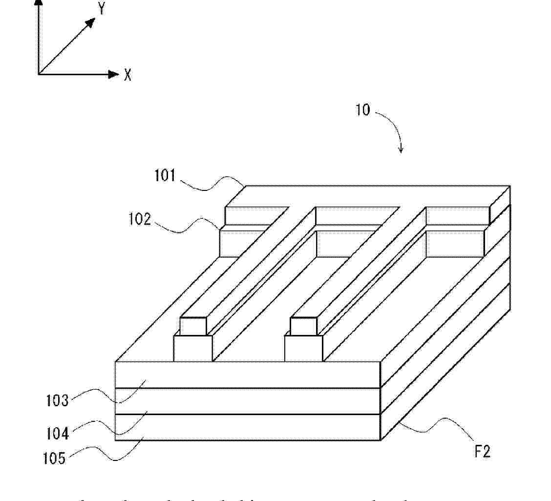
COLORED SOLAR MODULE AND METHOD FOR MANUFACTURING SAME

NºPublicación:  WO2025216458A1 16/10/2025
Solicitante: 
LX GLAS CORP [KR]
\uC8FC\uC2DD\uD68C\uC0AC \uC5D8\uC5D1\uC2A4\uAE00\uB77C\uC2A4
WO_2025216458_PA

Resumen de: WO2025216458A1

A colored solar module according to one embodiment of the present invention comprises a substrate and a color coating layer, wherein: the substrate includes a lower protective layer, a power generation layer, which is formed on the lower protective layer and includes an encapsulant and a plurality of solar cells embedded in the encapsulant, and an upper protective layer formed on the power generation layer, the upper protective layer including a first surface that faces the outside and includes a first uneven part, and a second surface located on the opposite side of the first surface; and the color coating layer is formed on the first surface of the upper protective layer and is exposed to the outside.

PHOTOVOLTAIC SUPPORT AND PHOTOVOLTAIC PILE FOUNDATION CONNECTING STRUCTURE CAPABLE OF FACILITATING ASSEMBLY

NºPublicación:  WO2025214520A2 16/10/2025
Solicitante: 
SHANGHAI INVESTIGATION DESIGN & RES INSTITUTE CO LTD [CN]
\u4E0A\u6D77\u52D8\u6D4B\u8BBE\u8BA1\u7814\u7A76\u9662\u6709\u9650\u516C\u53F8
WO_2025214520_PA

Resumen de: WO2025214520A2

The present application relates to the technical field of photovoltaic support connection. Provided is a photovoltaic support and photovoltaic pile foundation connecting structure capable of facilitating assembly. The connecting structure comprises a photovoltaic support, a photovoltaic pile foundation and a connection joint, wherein the connection joint comprises a support cylinder seat, a plurality of connecting holes are provided in the side wall of the support cylinder seat, and a vertical upward pin is provided in the center of a bottom plate of the support cylinder seat; a plurality of radially distributed fixing rods which can slide in the horizontal direction are provided in an inner cavity of the lower end of the photovoltaic support, a plurality of through holes are provided in the side wall of a connection tube, and the inner end of each fixing rod is connected to a pin guide piece extending downwards; and when the connection tube is inserted into the support cylinder seat, the pin guide pieces are in contact with the pin in the support cylinder seat so as to push the fixing rods to slide outwards, and the outer ends of the fixing rods run through the through holes in the side wall of the connection tube and are inserted into the connecting holes in the side wall of the support cylinder seat, such that the photovoltaic support and the photovoltaic pile foundation are connected together, thereby facilitating an improvement in the overall construction efficiency, saf

FRAME APPLIED TO PHOTOVOLTAIC MODULE, PHOTOVOLTAIC MODULE, AND PHOTOVOLTAIC SYSTEM

NºPublicación:  WO2025214436A1 16/10/2025
Solicitante: 
SHANGHAI XINGYE MATERIALS TECH CO LTD [CN]
\u4E0A\u6D77\u5174\u90BA\u6750\u6599\u79D1\u6280\u6709\u9650\u516C\u53F8
WO_2025214436_PA

Resumen de: WO2025214436A1

The present invention relates to the technical field of photovoltaic power generation, and in particular to a frame applied to a photovoltaic module, a photovoltaic module, and a photovoltaic system. The frame applied to a photovoltaic module extends in the length direction and comprises: a main body, one side surface of the main body being a bearing surface, and the bearing surface being used for supporting the photovoltaic module via the back surface of the photovoltaic module; a first extension section extending, from the side surface of the main body adjacent to the bearing surface, in the direction distant from the main body along the bearing surface; a second extension section extending, from the extension tail end of the first extension section, in the direction perpendicular to the bearing surface and distant from the main body; and a third extension section extending, from the extension tail end of the second extension section, in the direction moving towards the main body, the third extension section being used for abutting against the front surface of the photovoltaic module. The present invention has the following advantages: the stability of a photovoltaic module is improved, the protection effect of a frame on a photovoltaic panel is enhanced, and the mounting costs are reduced.

DEVICE CONTROL METHOD FOR FLEXIBLE PHOTOVOLTAICS, AND RELATED APPARATUS

NºPublicación:  WO2025214290A1 16/10/2025
Solicitante: 
HUIYAO PINSHANG ENERGY TECH JIAXING CO LTD [CN]
\u6C47\u8000\u54C1\u5C1A\u80FD\u6E90\u79D1\u6280\uFF08\u5609\u5174\uFF09\u6709\u9650\u516C\u53F8
WO_2025214290_PA

Resumen de: WO2025214290A1

The present application relates to the technical field of flexible photovoltaics. Provided are a device control method for flexible photovoltaics, and a related apparatus. In the present application, when a flexible photovoltaic support is arranged on a hillside, in addition to taking into consideration a hillside azimuth angle and a hillside inclination angle of the hillside, a reference layout angle of a photovoltaic module is further taken into consideration; since the reference layout angle can meet a power generation requirement, when the reference layout angle is used to calculate a target parameter of the flexible photovoltaic support, the calculated target parameter can also meet the photovoltaic power generation requirement, such that the accuracy of determining a reference cable layout direction and/or a reference row spacing is relatively high; a driving component is controlled to move, such that the driving component drives the flexible photovoltaic support to move, thus enabling the mounting manner of the flexible photovoltaic support to conform to a reference mounting manner corresponding to the target parameter; therefore, an effective illumination time and illumination area can be greatly increased, thereby improving the efficiency of photovoltaic power generation, and meeting the photovoltaic power generation requirement.

BATTERY STRING AND PHOTOVOLTAIC MODULE

NºPublicación:  WO2025214201A1 16/10/2025
Solicitante: 
LONGI GREEN ENERGY TECH CO LTD [CN]
\u9686\u57FA\u7EFF\u80FD\u79D1\u6280\u80A1\u4EFD\u6709\u9650\u516C\u53F8
WO_2025214201_PA

Resumen de: WO2025214201A1

A battery string and a photovoltaic module. The battery string comprises: a battery piece, at least one surface of the battery piece being provided with at least two joining portions arranged at an interval in a first direction; and an electrical connection line extending in the first direction. A joining layer is arranged on a surface of the electrical connection line facing the battery piece, and the joining portions are electrically connected to the electrical connection line by means of the joining layer. A first spreading width of the joining layer at each joining portion in a second direction perpendicular to the first direction is greater than a second spreading width along a second direction at an interval between two adjacent joining portions. The photovoltaic module comprises at least one battery string. The described battery string can maintain conductivity and stability between the electrical connection line and the joining portions, prevent the occurrence of a short circuit condition or reduce damage to electrodes on both sides.

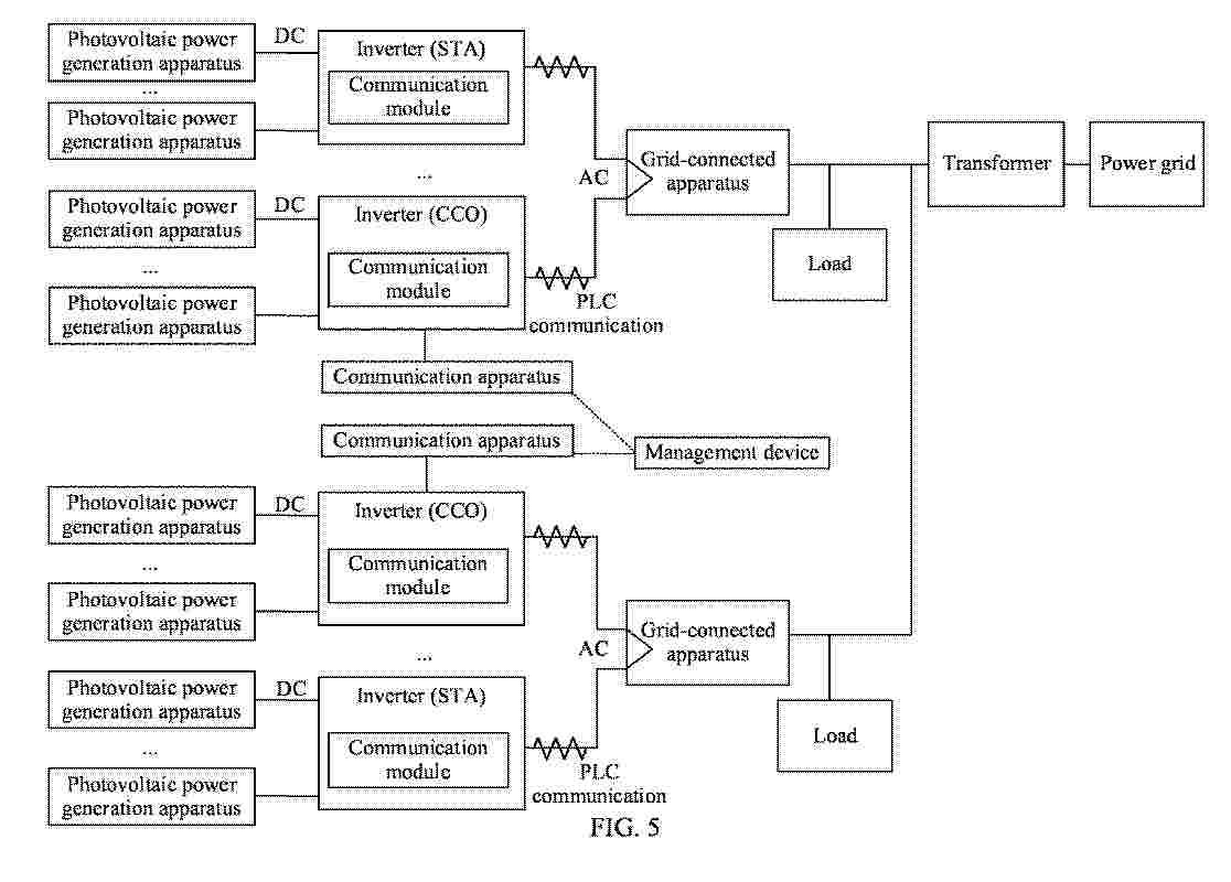
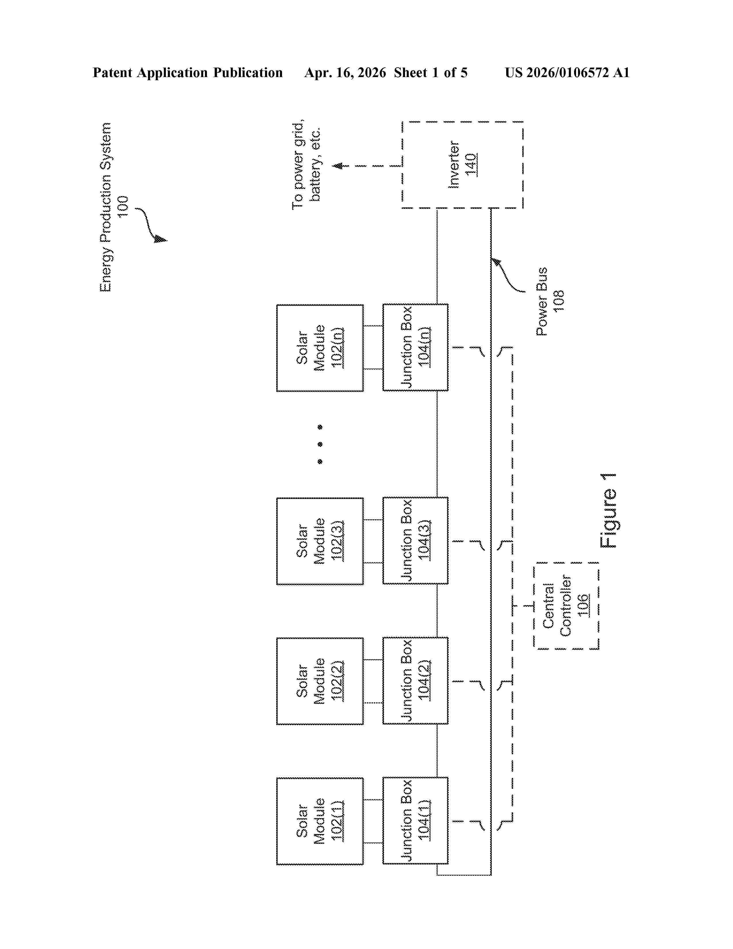
SMART JUNCTION BOX BASED ON DOUBLE RS485 COMMUNICATION, PHOTOVOLTAIC ASSEMBLY, AND PHOTOVOLTAIC SYSTEM

NºPublicación:  WO2025213772A1 16/10/2025
Solicitante: 
NINGBO BRILLIANT POWER CO LTD [CN]
\u5B81\u6CE2\u535A\u670B\u7535\u5B50\u6709\u9650\u8D23\u4EFB\u516C\u53F8
WO_2025213772_PA

Resumen de: WO2025213772A1

Disclosed in the present invention are a smart junction box based on double RS485 communication, a photovoltaic assembly, and a photovoltaic system. The smart junction box comprises a power unit and a control unit, wherein the power unit is connected to the control unit, and the power unit is used for implementing a state switching operation of a photovoltaic assembly between a string working mode and a bypass mode; and the control unit is internally provided with two RS485 communication electronic elements, and is used for monitoring in real time a working state of a current component and an operation condition of the entire main circuit, and sending a corresponding state switching instruction to the power unit on the basis of monitoring data. Using a double RS485 communication technique in combination with the design of a built-in power unit and control unit, the smart junction box of the present invention realizes the precise monitoring and control of a working state of a photovoltaic component and supports flexible wiring manners; moreover, the stability of communication under different ground potential conditions is ensured by means of a digital isolation electronic element, and thus an efficient and smart photovoltaic string management system having strong adaptability is constructed.

METHOD FOR EVALUATING ELECTRICAL LOSSES OF PHOTOVOLTAIC ARRAY

NºPublicación:  WO2025213932A1 16/10/2025
Solicitante: 
HUANENG CLEAN ENERGY RES INSTITUTE [CN]
HUANENG RENEWABLES CORPORATION LTD [CN]
\u4E2D\u56FD\u534E\u80FD\u96C6\u56E2\u6E05\u6D01\u80FD\u6E90\u6280\u672F\u7814\u7A76\u9662\u6709\u9650\u516C\u53F8,
\u534E\u80FD\u65B0\u80FD\u6E90\u80A1\u4EFD\u6709\u9650\u516C\u53F8
WO_2025213932_PA

Resumen de: WO2025213932A1

Provided in the embodiments of the present disclosure is a method for evaluating electrical losses in a photovoltaic array. The method comprises: on the basis of an uncovered cell surface total radiation amount, a cell surface total radiation amount in a covered region, a cell surface covered area and a total cell area, calculating a cell surface equivalent total radiation amount; on the basis of the cell surface equivalent total radiation amount and a cell covered equivalent electric current condition, calculating a cell covered electric current, and on the basis of the uncovered cell surface total radiation amount and a cell uncovered equivalent electric current condition, calculating a cell uncovered electric current; on the basis of a covered power generation amount, an uncovered power generation amount and a total covering loss condition, calculating a total covering loss; on the basis of a total covered area, a covered radiation amount, an array area and an uncovered radiation amount of a photovoltaic array, calculating a theoretical radiation loss per unit of time of the photovoltaic array; using the uncovered radiation amount within a preset time period as a weight to perform weighted calculation on a weighted radiation loss of the photovoltaic array within the preset time period; and on the basis of the total covering loss and the weighted radiation loss of the photovoltaic array, calculating the difference to calculate the electrical loss ratio of the photovoltaic a

MONITORING METHOD FOR OPERATING STATE OF SERVO ELECTRIC MOTOR, AND CONTROL SYSTEM FOR PHOTOVOLTAIC TRACKING SUPPORT

NºPublicación:  WO2025213570A1 16/10/2025
Solicitante: 
CHINA THREE GORGES INT CORPORATION [CN]
\u4E09\u5CE1\u56FD\u9645\u80FD\u6E90\u6295\u8D44\u96C6\u56E2\u6709\u9650\u516C\u53F8
WO_2025213570_A1

Resumen de: WO2025213570A1

The present application relates to the technical field of photovoltaic power generation. Disclosed are a monitoring method for an operating state of a servo electric motor, and a control system for a photovoltaic tracking support. In the present application, by means of an infrared temperature sensor, an ambient temperature sensor, a voiceprint sensor, a voltage sensor and a current sensor which are connected to the control system, an actually measured operating temperature value, an actually measured ambient temperature value, an actually measured voiceprint value, an actually measured voltage value and an actually measured current value of a corresponding servo electric motor can be measured in real time, and then comprehensive monitoring of the operating state of the servo electric motor can be realized by means of the actually measured values. In this way, by implementing the present application, faults existing in a servo electric motor can be discovered in a timely manner.

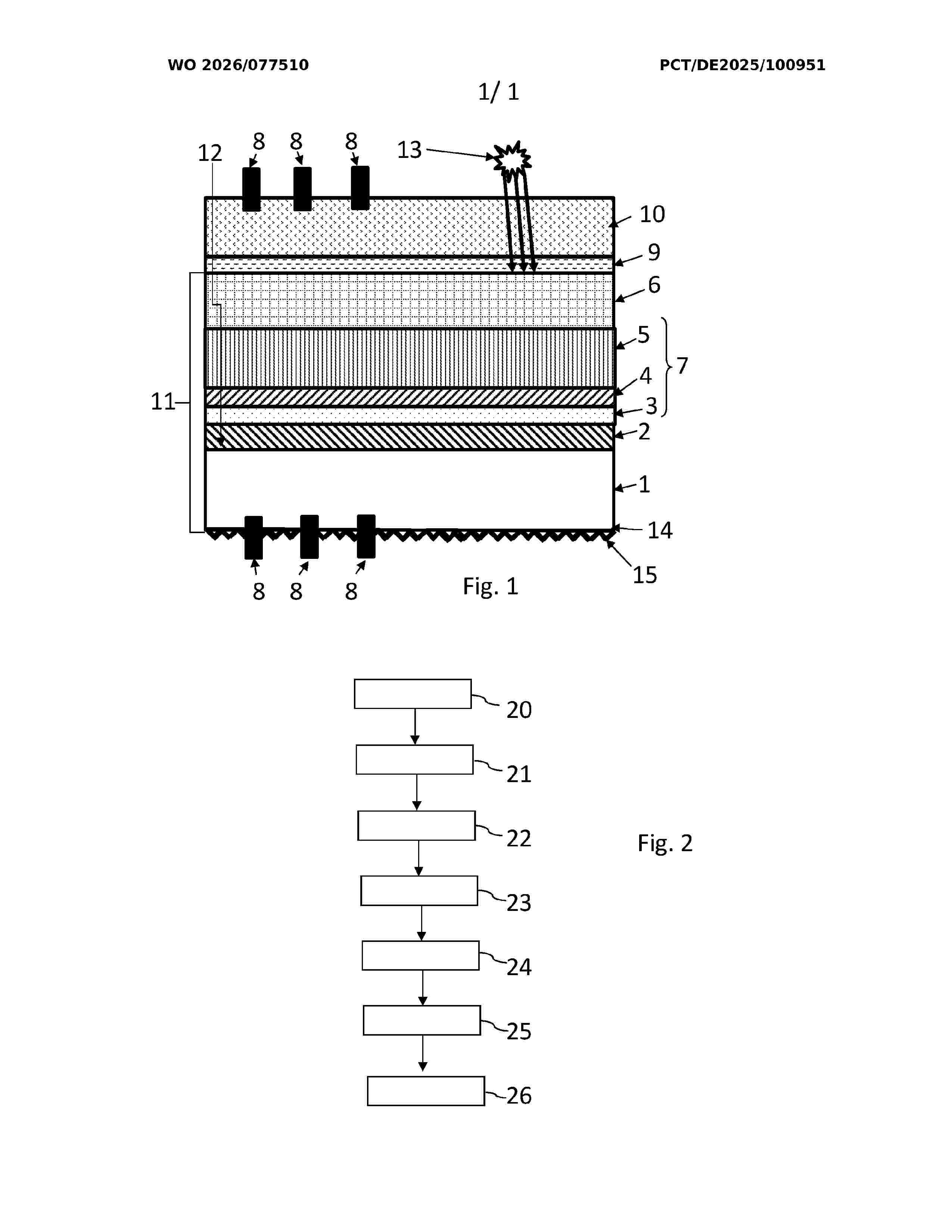
METHOD FOR PASSIVATING GRAIN BOUNDARIES OF A CDTE-BASED THIN FILM LAYER, METHOD FOR FORMING A PHOTOVOLTAIC DEVICE AND PHOTOVOLTAIC DEVICE

NºPublicación:  WO2025213453A1 16/10/2025
Solicitante: 
CHINA TRIUMPH INT ENG CO LTD [CN]
CHINA TRIUMPH INTERNATIONAL ENGINEERING CO., LTD
WO_2025213453_PA

Resumen de: WO2025213453A1

A method for passivating grain boundaries of a CdTe-based thin film layer, comprises forming a CdTe-based thin film layer and treating the CdTe-based thin film layer with a gas comprising hydrogen selenide, wherein a temperature of the CdTe-based thin film layer is in the range of 100°C to 200°C or with the CdTe-based thin film layer having some humidity present. After that, an oxygen-containing atmosphere is provided to the CdTe-based thin film layer resulting in oxidizing the adsorbed hydrogen selenide and providing elemental selenium or selenium ions. Furthermore, a method for forming a photovoltaic device including the method for passivating grain boundaries of a CdTe-based thin film layer and a photovoltaic device resulting from this method are provided.

METHOD FOR CLEANING A SURFACE OF A CDTE-BASED THIN FILM LAYER AFTER AN ACTIVATION TREATMENT, METHOD FOR FORMING A PHOTOVOLTAIC DEVICE AND PHOTOVOLTAIC DEVICE

NºPublicación:  WO2025213448A1 16/10/2025
Solicitante: 
CHINA TRIUMPH INT ENG CO LTD [CN]
CTF SOLAR GMBH [DE]
CHINA TRIUMPH INTERNATIONAL ENGINEERING CO., LTD,
CTF SOLAR GMBH
WO_2025213448_PA

Resumen de: WO2025213448A1

A method for cleaning a surface of a CdTe-based thin film layer after an activation treatment is provided. The method comprises forming a CdTe-based thin film layer, performing an activation treatment under the presence of an activation agent, and cleaning the CdTe-based thin film layer with a solution comprising selenous acid. Furthermore, a method for forming a photovoltaic device including the method for cleaning a surface of a CdTe-based thin film layer after an activation treatment and a photovoltaic device resulting from this method are provided.

TRACKING-TYPE SOLAR TROUGH ASSEMBLY

NºPublicación:  WO2025213253A1 16/10/2025
Solicitante: 
TULI RAJA [CA]
TULI, Raja
WO_2025213253_PA

Resumen de: WO2025213253A1

The present invention provides a solar energy harvesting system comprising a plurality of parabolic-shaped trough solar concentrators and solar cells mounted on an assembly. A new solar panel design comprising trough-shaped solar concentrators with mirrors inside a box is disclosed. Unlike typical designs, these mirrors have flat surfaces along the trough, which helps spread out sunlight better and avoid heat concentration on the solar cells. The troughs are connected using folded flaps, keeping the panel light with thin stainless steel. A transparent cover sheet on top protects and supports the troughs. Multiple vertical plates support the structure, connecting the troughs using round protrusions on the troughs. The multiple components within the solar energy system cooperate to continually concentrate the incoming solar radiation on the solar cells as the Sun runs its course across the sky.

HYBRID WIND AND SOLAR ENERGY GENERATING SYSTEM

NºPublicación:  US2025320851A1 16/10/2025
Solicitante: 
RG RESOURCE TECH INC [US]
RG Resource Technologies, Inc
US_2025320851_PA

Resumen de: US2025320851A1

A hybrid wind and solar energy generating system includes one or more solar arrays of solar panels arranged at an angle relative to a horizontal plane of reference, defining leading and trailing boundaries on such panels. A wind turbine is mounted proximate to the trailing boundary on a horizontal axis with blades extending longitudinally and in operative proximity to the trailing boundaries. A source of wind is amplified passing over the windward side of the solar panels to form a resultant wind vector extending outwardly off the trailing boundary.

PHOTOVOLTAIC DEVICE AND METHOD THEREFOR

NºPublicación:  WO2025213414A1 16/10/2025
Solicitante: 
CHINA TRIUMPH INT ENG CO LTD [CN]
CHINA TRIUMPH INTERNATIONAL ENGINEERING CO., LTD
WO_2025213414_PA

Resumen de: WO2025213414A1

Provided is a photovoltaic device comprising a front contact, a back contact, and an absorber layer located between the front contact and the back contact. The back contact comprises an electron reflecting layer that is co-doped with at least a first dopant and a second dopant, and the second dopant is different from the first dopant. The first dopant comprises a p-type dopant and/or an n-type dopant, and the second dopant serves as a defect passivator. A method for producing said photovoltaic device is also provided.

SOLAR POWER DYNAMIC GLASS FOR HEATING AND COOLING BUILDINGS

NºPublicación:  US2025321457A1 16/10/2025
Solicitante: 
VIEW OPERATING CORP [US]
View Operating Corporation
US_2024201554_PA

Resumen de: US2025321457A1

Various embodiments herein relate to systems for powering electrochromic windows in a building. Systems may include photovoltaic panels configured to generate electrical power, energy storage device(s) configured for storing generated power, and one or more controllers on a network of electrochromic windows that are configured to receive power from the energy storage device(s) and power tint transitions in one or more electrochromic windows. Systems may include various additional circuit components described herein for regulating and/or controlling the generation, storage, and application of electric power. The systems and techniques described herein can be used to design networks of electrochromic windows that are hybrid-solar or off-the-grid (“OTG”).

WEARABLE COMPUTING DEVICE

NºPublicación:  US2025321618A1 16/10/2025
Solicitante: 
OURARING INC [US]
Ouraring Inc
US_2025271897_PA

Resumen de: US2025321618A1

A finger-worn wearable ring device may include a ring-shaped housing, a printed circuit board, and a sensor module that includes one or more light-emitting components and one or more light-receiving components. The wearable ring device may further include a communication module configured to wirelessly communicate with an application executable on a user device.

WEARABLE COMPUTING DEVICE

NºPublicación:  US2025321617A1 16/10/2025
Solicitante: 
OURARING INC [US]
Ouraring Inc
US_2025271897_PA

Resumen de: US2025321617A1

A finger-worn wearable ring device may include a ring-shaped housing, a printed circuit board, and a sensor module that includes one or more light-emitting components and one or more light-receiving components. The wearable ring device may further include a communication module configured to wirelessly communicate with an application executable on a user device.

WEARABLE COMPUTING DEVICE

Nº publicación: US2025321616A1 16/10/2025

Solicitante:

OURARING INC [US]
Ouraring Inc

US_2025271897_PA

Resumen de: US2025321616A1

A finger-worn wearable ring device may include a ring-shaped housing, a printed circuit board, and a sensor module that includes one or more light-emitting components and one or more light-receiving components. The wearable ring device may further include a communication module configured to wirelessly communicate with an application executable on a user device.

traducir