Ministerio de Industria, Turismo y Comercio LogoMinisterior
 

Alerta

Resultados 153 resultados
LastUpdate Última actualización 29/10/2025 [07:09:00]
pdfxls
Solicitudes publicadas en los últimos 15 días / Applications published in the last 15 days
previousPage Resultados 125 a 150 de 153 nextPage  

PHOTOVOLTAIC POWER GENERATION SYSTEM AND CONTROL METHOD FOR CONTROLLING POWER GENERATION SYSTEM

NºPublicación:  US2025323597A1 16/10/2025
Solicitante: 
PANASONIC INTELLECTUAL PROPERTY MAN CO LTD [JP]
Panasonic Intellectual Property Management Co., Ltd
WO_2024143269_PA

Resumen de: US2025323597A1

A photovoltaic power generation system includes first and second structures. The first structure includes first photoelectric conversion bodies aligned in a first direction at a first spacing and each extending in a second direction as a length direction of the first photoelectric conversion body. The second structure includes second photoelectric conversion bodies aligned in the first direction at a second spacing and each extending in the second direction as the length direction of the second photoelectric conversion body. The system satisfies at least one of a first requirement and a second requirement. The first requirement is that dimensions of the first photoelectric conversion bodies in the first direction is different from dimensions of the second photoelectric conversion bodies in the first direction. The second requirement is that the first spacing between the first photoelectric conversion bodies is different from the second spacing between the second photoelectric conversion bodies.

PREPARATION METHOD OF PEROVSKITE FILM LAYER, PEROVSKITE FILM LAYER, AND SOLAR CELL

NºPublicación:  US2025324844A1 16/10/2025
Solicitante: 
CONTEMPORARY AMPEREX FUTURE ENERGY RES INSTITUTE SHANGHAI LIMITED [CN]
CONTEMPORARY AMPEREX TECH CO LIMITED [CN]
CONTEMPORARY AMPEREX FUTURE ENERGY RESEARCH INSTITUTE (SHANGHAI) LIMITED,
CONTEMPORARY AMPEREX TECHNOLOGY CO., LIMITED
KR_20250114388_PA

Resumen de: US2025324844A1

A preparation method includes: providing a base and a transport layer disposed on the base; depositing a perovskite reaction material layer on a side of the transport layer facing away from the base to obtain an intermediate product; and placing the intermediate product in a solvent atmosphere for reaction. Before depositing the perovskite reaction material layer, deposition of a first passivation precursor layer is further included, and/or after depositing the perovskite reaction material layer, deposition of a second passivation precursor layer is further included.

MANUFACTURING METHOD AND MANUFACTURING APPARATUS FOR MANUFACTURING PEROVSKITE-TYPE SOLAR CELL

NºPublicación:  US2025324898A1 16/10/2025
Solicitante: 
TOYOTA MOTOR CO LTD [JP]
TOYOTA JIDOSHA KABUSHIKI KAISHA
US_2025324898_PA

Resumen de: US2025324898A1

The present disclosure relates to a manufacturing method of a perovskite-type solar cell, and an apparatus for manufacturing a perovskite-type solar cell, including a step of applying a precursor solution of a perovskite compound as a droplet, and a step of applying a poor solvent as a droplet until a droplet of the precursor solution adhered to a coating surface is combined with a droplet of another precursor solution, and a manufacturing device including a precursor solution applying unit, a poor solvent applying unit, and a control unit.

SOLAR CELL MODULE INSULATION FILM, INSULATION FILM WITH STEEL SHEET, INSULATION FILM WITH WIRING SHEET, AND SOLAR CELL MODULE

NºPublicación:  US2025324774A1 16/10/2025
Solicitante: 
DAI NIPPON PRINTING CO LTD [JP]
DAI NIPPON PRINTING CO., LTD
WO_2023054730_PA

Resumen de: US2025324774A1

A solar cell module insulation film disposed between a solar cell and a steel sheet in a solar cell module, the solar cell module insulation film including: a sealing material layer, an insulating substrate, and a polyethylene-based resin layer, in this order, wherein the polyethylene-based resin layer is a polyethylene film; and a wetting tension of a surface of the polyethylene-based resin layer that is opposite side to the insulating substrate is 36 dyne/cm or more.

MULTIJUNCTION SOLAR CELL STRUCTURE

NºPublicación:  US2025324771A1 16/10/2025
Solicitante: 
YANGZHOU CHANGELIGHT CO LTD [CN]
YANGZHOU CHANGELIGHT CO., LTD
US_2025324771_PA

Resumen de: US2025324771A1

The present disclosure provides a MULTIJUNCTION solar cell structure including a substrate and a plurality of subcells stacked on the substrate. The plurality of subcells include an InGaAs subcell, the InGaAs subcell includes an InjGaAs base region and an InjGaAs emitter region disposed in a direction away from the substrate, and a multiple quantum well (MQW) structure disposed between the InjGaAs base region and the InjGaAs emitter region. The InjGaAs base region and the InjGaAs emitter region are respectively doped with a first and second conductivity types. The MQW structure includes alternately stacked InxGaAs quantum well layers and InkGaAsPy barrier layers, and a InwGaAsPz step barrier layer disposed between a InxGaAs quantum well layer and a InkGaAsPy barrier layer. A bandgap of the InwGaAsPz step barrier layer lies between a bandgap of the InxGaAs quantum well layer and a bandgap of the InkGaAsPy barrier layer.

SYSTEM AND METHOD FOR PACKAGING AND DEPLOYING SOLAR CELLS

NºPublicación:  US2025324772A1 16/10/2025
Solicitante: 
TAKA SOLAR CORP [US]
Taka Solar Corporation
US_2023402234_PA

Resumen de: US2025324772A1

A solar cell system and a flexible solar panel are disclosed herein. The solar cell system includes a glass housing, a set of rows of solar cells each defining a front side and a rear side and arranged within the glass housing. The solar cell system can also include a reflective element disposed in the glass housing and facing the rear side of the set of rows of solar cells and a first terminal coupled to a first end of the set of rows of solar cells, traversing through and sealed against the first end of the glass housing. The solar cell system can be configured with other solar cell systems into the flexible solar panel that is deployable in a wide range of potential applications.

MANUFACTURING METHOD OF PEROVSKITE-TYPE SOLAR CELL

NºPublicación:  US2025324899A1 16/10/2025
Solicitante: 
TOYOTA MOTOR CO LTD [JP]
TOYOTA JIDOSHA KABUSHIKI KAISHA
US_2025324899_PA

Resumen de: US2025324899A1

The present disclosure relates to a manufacturing method of a perovskite-type solar cell having a photoelectric conversion layer containing a perovskite compound. The manufacturing method includes a step of applying a silver nanowire solution on an electron transport layer or a hole transport layer formed on the photoelectric conversion layer. a solvent of the silver nanowire solution is an alcohol with three or more carbon atoms.

USER-INSTALLABLE PART INSTALLATION DETECTION TECHNIQUES

NºPublicación:  EP4631462A2 15/10/2025
Solicitante: 
INTUITIVE SURGICAL OPERATIONS [US]
Intuitive Surgical Operations, Inc
EP_4631462_PA

Resumen de: EP4631462A2

Techniques are described for testing whether an end effector, or component thereof, is correctly or incorrectly installed to a manipulation system. In an example, a manipulation system can include a manipulator arm configured to receive an end effector having a first moveable jaw, a transducer configured to provide first effort information of the end effector as the end effector moves, and a processor configured to provide a command signal to effect a first test move of the first moveable jaw, and to provide an installation status of the end effector using the first effort information of the first test move.

SUPPORT SYSTEM FOR ARRANGING A PHOTOVOLTAIC UNIT

NºPublicación:  EP4631168A1 15/10/2025
Solicitante: 
JURCHEN TECH GMBH [DE]
Jurchen Technology GmbH
DE_102022132677_PA

Resumen de: WO2024120560A1

The invention relates to a support system (1) for arranging a photovoltaic unit, wherein the support system (1) comprises at least two photovoltaic modules (2, 2a, 2b, 2c, 2d) and at least two support elements (3, 3a, 3b, 3c, 3d, 3e, 3f, 3g), wherein: the support elements (3, 3a, 3b, 3c, 3d, 3e, 3f, 3g) are spaced apart from one another; the support elements (3, 3a, 3b, 3c, 3d, 3e, 3f, 3g) are each connected to a mounting element (9, 9a, 9b, 9c, 9d, 9e, 9f, 9g, 9h, 9i) for mounting at least one of the photovoltaic modules (2, 2a, 2b, 2c, 2d); and the support system comprises a container (7, 7a, 7b, 7c, 7d, 7e, 7f, 7g) which has at least one lateral wall (18a, 18b, 18c, 18d) and at least one bottom wall (19).

MODULE HOLDING ELEMENT FOR HOLDING A SOLAR MODULE ON A MODULE SUPPORT

NºPublicación:  EP4632288A1 15/10/2025
Solicitante: 
STANGL FRANZ [DE]
Stangl, Franz
EP_4632288_PA

Resumen de: EP4632288A1

Es wird ein Modulhalteelement (10,11) zum Halten eines Solarmoduls (90) auf einem Modulträger (95) aufgezeigt, wobei das Modulhalteelement (10,11) folgendes umfasst: ein Befestigungselement (20) mit mindestens einem Vorsprungselement (25, 26) zum Kontaktieren einer Oberseite (92) des Solarmoduls (90), eine Schraube (30), die durch eine Öffnung in dem Befestigungselement (20) geführt ist, zum Halten des Solarmoduls (90) an dem Modulträger (95), ein Gegenelement (40), ein Abstandselement zum Halten des Befestigungselements (20) auf einem vorgegebenen Abstand zu dem Gegenelement (40), wobei der Abstand zwischen dem Befestigungselement (20) und dem Gegenelement (40) durch Anziehen der Schraube (30) verringerbar ist, wobei die Schraube (30) derart ausgebildet ist, dass die Schraube (30) von einer ersten dem Befestigungselement (20) abgewandten Seite des Gegenelements (40) aus anziehbar ist.

DEVICE AND METHOD FOR SMOOTHING AND CONTROLLING POWER FLUCTUATION OF PHOTOVOLTAIC ASSEMBLY AND PHOTOVOLTAIC ENERGY STORAGE SYSTEM

NºPublicación:  EP4632987A1 15/10/2025
Solicitante: 
WANBANG DIGITAL ENERGY CO LTD [CN]
JIANGSU WANBANG ENERGY STORAGE TECH CO LTD [CN]
Wanbang Digital Energy Co., Ltd,
Jiangsu Wanbang Energy Storage Technology Co., Ltd
EP_4632987_PA

Resumen de: EP4632987A1

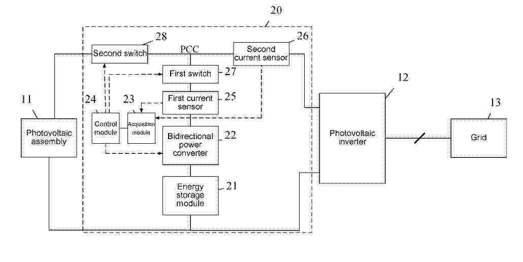
The disclosure provides a device (20) and method for smoothing and controlling power fluctuation of a photovoltaic assembly (11) and a photovoltaic energy storage system. The device (20) includes an energy storage module (21), a bidirectional power converter (22), an acquisition module (23), and a control module (24). The energy storage module (21) is connected to a photovoltaic side of a photovoltaic inverter (12) and an output end of the photovoltaic assembly (11) through a point of common coupling. The bidirectional power converter (22) is disposed between the energy storage module (21) and the point of common coupling. The acquisition module (23) acquires first and second current feedback values. The control module (24) calculates a second current change rate and generates a control signal controlling a first current based on a dual regulator control algorithm when the second current change rate exceeds a second current change rate limit value.

A BUILDING ELEMENT FOR FORMING THE STRUCTURAL FOUNDATION OF A BALCONY

NºPublicación:  EP4632162A1 15/10/2025
Solicitante: 
COMPOSITBALKONGER FAELLFORS AB [SE]
Compositbalkonger F\u00E4llfors AB
EP_4632162_PA

Resumen de: EP4632162A1

The present disclosure relates to a building element (100) for forming the structural foundation of a balcony. The building element (100) comprises a frame (110) defining an upper surface (112) and a lower surface (114); one or more upper sheet shaped elements (120) arranged to cover the upper surface (112); one or more lower sheet shaped elements (130) arranged to cover the lower surface (114), such that a first compartment (140) is formed within the frame (110) and between the upper and lower sheet shaped elements (120, 130). The frame (110), the upper sheet shaped element (120), and the lower sheet shaped element (130) constitute the structural foundation of the building element (100). The building element (100) further comprises a first energy accumulator (150) arranged within the first compartment (140).

PROCESSING METHOD FOR INCREASING EFFICIENCY OF PHOTOVOLTAIC CELL

NºPublicación:  EP4633035A1 15/10/2025
Solicitante: 
COMMISSARIAT ENERGIE ATOMIQUE [FR]
Commissariat \u00E0 l'Energie Atomique et aux Energies Alternatives
EP_4633035_PA

Resumen de: EP4633035A1

L'invention concerne un procédé de traitement pour augmenter le rendement d'une cellule photovoltaïque (1), comportant des étapes de :- Positionnement de la cellule photovoltaïque (1) sur un convoyeur (3) le long duquel est positionnée une matrice de sources lumineuses,- Acquisition d'une image (IMG) de la cellule photovoltaïque (1) sur le convoyeur (3) à l'aide d'une caméra (4),- Division de l'image acquise en plusieurs zones, dites premières zones à éclairer et deuxièmes zones à ne pas éclairer,- Création d'une séquence de contrôle des sources lumineuses de la matrice à l'aide de l'image divisée en plusieurs zones,- Ladite séquence de contrôle étant définie par plusieurs instants successifs,- A chaque instant de la séquence de contrôle et à partir de l'image divisée en plusieurs zones, mettre dans l'état actif chaque source lumineuse située en vis-à-vis d'une première zone à éclairer définie sur l'image acquise et mettre dans l'état inactif chaque source lumineuse située en vis-à-vis d'une deuxième zone à ne pas éclairer définie sur l'image acquise.

SEGMENTED SOLAR CELL, METHOD FOR FORMING THE SAME AND PHOTOVOLTAIC MODULE

NºPublicación:  EP4633329A1 15/10/2025
Solicitante: 
ZHEJIANG JINKO SOLAR CO LTD [CN]
Zhejiang Jinko Solar Co., Ltd
EP_4633329_PA

Resumen de: EP4633329A1

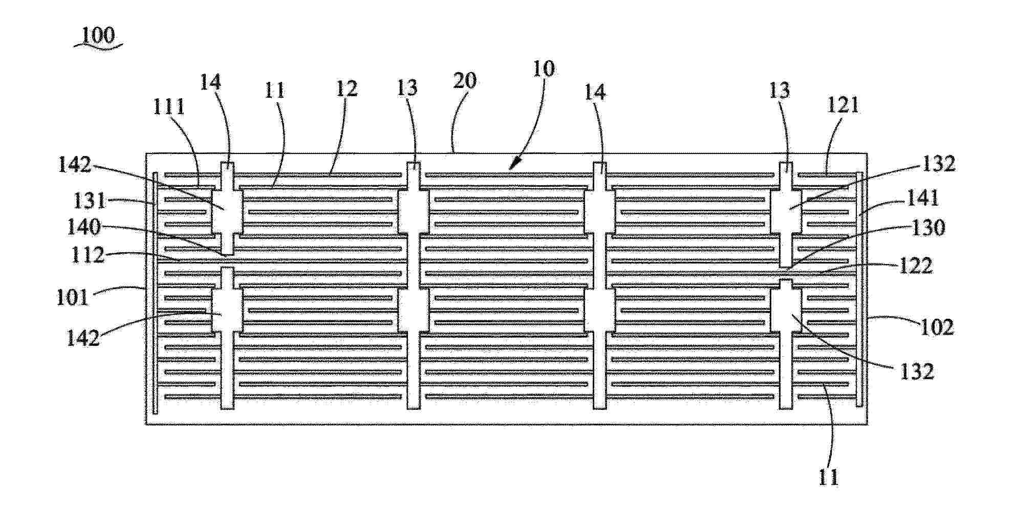
The present disclosure relates to the technical field of photovoltaics, and in particular, to a segmented solar cell (100), a method for forming the same, and a photovoltaic module. The segmented solar cell (100) is formed by cutting a solar cell, and the segmented solar cell (100) includes a substrate (11) and a cutting surface (110) formed by cutting a solar cell to form the segmented solar cell (100). The cutting surface (110) exposes a cross section of the substrate (11). At least part of the cutting surface (110) includes a first texture structure, the first texture structure includes polygonal portions (111), and at least one polygonal portion of the polygonal portions (111) partially overlaps with at least one neighboring polygonal portion of the polygonal portions (111). According to the present disclosure, it is conducive to at least improving performance of the segmented solar cell (100) and the photovoltaic module.

PACKAGING LAYER STRUCTURE OF PEROVSKITE SOLAR CELL MODULE AND PACKAGING METHOD THEREOF

NºPublicación:  EP4633335A1 15/10/2025
Solicitante: 
XIAN TJ SOLAR NEW ENERGY CO LTD [CN]
Xi'an TJ-Solar New Energy Co., Ltd
EP_4633335_PA

Resumen de: EP4633335A1

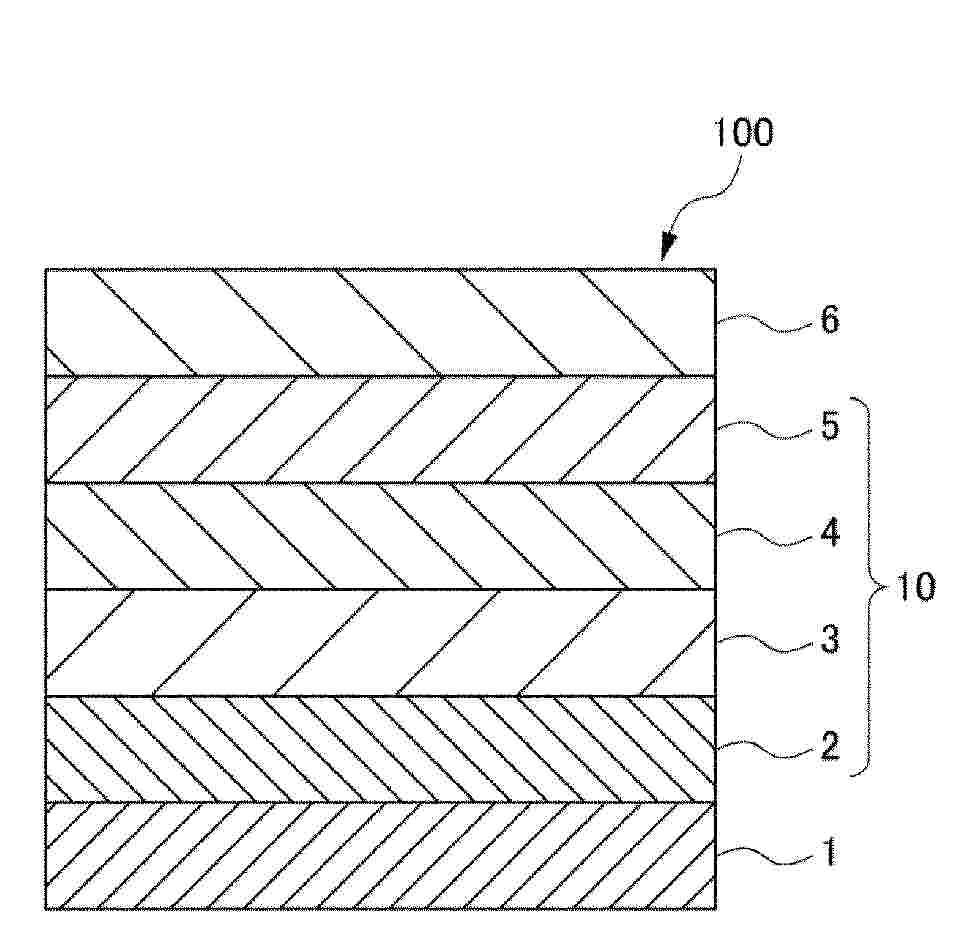
The invention belongs to the technical field of solar cell packaging, and relates to an encapsulation layer structure of a perovskite solar cell module and an encapsulation method of an encapsulation layer structure of a perovskite solar cell module. The packaging layer structure is obtained by an evaporation method with a simple process flow, is easy to manufacture and reduces production cost. A second inorganic layer at an uppermost portion of the perovskite solar cell module blocks oxygen, and a protective layer between the second inorganic layer and a metal electrode layer protects a structure and efficiency of a device. A first inorganic layer is arranged between an electron transport layer and the metal electrode layer, and can inhibit increase in defect state densities and non-radiative recombination caused by internal ion migration, increase an open-circuit voltage, play a positive role in improving energy conversion efficiency of the perovskite solar cell module, and can also play a role in blocking moisture. In addition, the perovskite cell module packaged by the packaging method according to the invention greatly improves stability against moisture and oxygen, and also improves work stability.

MULTI-JUNCTION SOLAR CELL AND PREPARATION METHOD THEREFOR, AND ELECTRONIC DEVICE

NºPublicación:  EP4633328A1 15/10/2025
Solicitante: 
YANGZHOU CHANGELIGHT CO LTD [CN]
YANGZHOU CHANGELIGHT CO., LTD
EP_4633328_PA

Resumen de: EP4633328A1

The present disclosure relates to a multi-junction solar cell, a preparation method thereof, and an electronic device. The multi-junction solar cell, includes at least one heterojunction subcell, wherein the bandgap Ega of the base region of the heterojunction subcell is greater than the bandgap Egb of the emitter region, and the bandgap Egc of the undoped layer lies between the bandgaps of the base region and the emitter region. This configuration effectively prevents redistribution of dopant impurities within the subcell, ensuring the performance and efficiency of the solar cell, and thereby achieves a multijunction solar cell with high efficiency and superior performance.

AN ELECTRODE STRUCTURE, A BACK-CONTACT SOLAR CELL, A CELL ASSEMBLY, AND A PHOTOVOLTAIC SYSTEM

NºPublicación:  EP4631107A1 15/10/2025
Solicitante: 
ZHEJIANG AIKO SOLAR ENERGY TECH CO LTD [CN]
Zhejiang Aiko Solar Energy Technology Co., Ltd
KR_20250135773_PA

Resumen de: AU2023397228A1

The present application applies to the field of solar cell technology and provides an electrode structure, a back-contact solar cell, a cell assembly, and a photovoltaic system; a plurality of first secondary gates of the electrode structure include a first collection gate line and a first confluence gate line; the first primary gate includes a first edge primary gate disposed on one side near the first edge of the back-contact solar cell, and one end of the first confluence gate line is connected to the first edge primary gate, the other end running through the first discontinuous zone on the second primary gate adjacent to the first edge primary gate is connected to the first primary gate adjacent to the first edge primary gate. In this way, through the first confluence gate line, the current collected by the first edge primary gates in the edge area can be directly converged with the first primary gates adjacent to the first edge primary gates, without welding on the first edge primary gates, which can avoid stress concentration in the welding process, improve the yield and reliability of assembly, while providing a relatively high photoelectric conversion efficiency.

AN ELECTRODE STRUCTURE OF A BACK-CONTACT SOLAR CELL, A CELL AND ITS ASSEMBLY AND PHOTOVOLTAIC SYSTEM

NºPublicación:  EP4631106A1 15/10/2025
Solicitante: 
GUANGDONG AIKO SOLAR ENERGY TECHNOLOGY CO LTD [CN]
Guangdong Aiko Solar Energy Technology Co., Ltd
KR_20250132523_PA

Resumen de: WO2024146705A1

The present application applies to the field of solar cell technology and provides an electrode structure of a back-contact solar cell, a cell and its assembly and photovoltaic system; a plurality of the first secondary gate electrodes of the electrode structure include a first collection gate electrode and a first connection gate electrode; the first collection gate electrode is connected to the first primary gate electrode and disconnected at the second primary gate electrode, the first connection gate electrode running through the second primary gate electrode between two adjacent first primary gate electrodes connects the two adjacent first primary gate electrodes, that is, the first connection gate electrode running through the second primary gate electrode connects the adjacent first primary gate electrodes, so that all first primary gate electrodes are connected in parallel as an integral whole with a more uniform electrical performance. The welded back-contact solar cell can become an integral whole with uniform electrical performance and, when the assembly is EL tested, improve the blackened EL strip and block in the back-contact solar cell, effectively avoid the mismatch and increase the power of the assembly.

TRACKING DEVICE FOR TRACKING A BEAM PATH OF A PHOTOVOLTAIC LENS UNIT DEPENDING ON THE SUN POSITION

NºPublicación:  EP4631110A1 15/10/2025
Solicitante: 
SOLPURE GMBH [AT]
SolPure GmbH
WO_2024119205_PA

Resumen de: WO2024119205A1

The invention relates to a tracking device (10) for tracking a beam path (S) of a photovoltaic lens unit (110) depending on the sun position, comprising a first tracking frame (20) with a plurality of first mirror elements (22) moveably mounted therein and a second tracking frame (40) with a plurality of second mirror elements (42) moveably mounted therein and arranged after the first mirror elements (22) in the beam path (S), and comprising a first control device (24) with a first control actuator (25) for moving the first mirror elements (22) about first control axes (23) between at least two different angular positions and a second control device (44) with a second control actuator (45) for moving the second mirror elements (42) about second control axes (43) between at least two different angular positions, wherein the orientation of the first control axes (23) differs from the orientation of the second control axes (43).

SELF-SIMILAR HIGH-EFFICIENCY SOLAR CELLS AND CONCENTRATORS

NºPublicación:  EP4631111A1 15/10/2025
Solicitante: 
NANT HOLDINGS IP LLC [US]
NANTG POWER LLC [US]
Nant Holdings IP, LLC,
NantG Power, LLC
CN_120304037_PA

Resumen de: CN120304037A

Optical devices, such as photovoltaic modules, are described that include features such as solar tracking, solar concentration, stacked cell arrangements, and thermal management to achieve high photovoltaic efficiency. The photovoltaic module may be constructed using a variety of different materials and configurations, or as an integral functionally graded structure, to limit the complexity of manufacture, operation and maintenance while achieving high performance. The use of thermal management structures integrated directly into photovoltaic cells can maintain such cells at desired temperatures, which will be beneficial in optical concentrating configurations.

PHOTOELECTRIC CONVERSION ELEMENT, IMAGING ELEMENT, PHOTOELECTRIC CONVERSION ELEMENT MATERIAL, AND COMPOUND

NºPublicación:  EP4633334A1 15/10/2025
Solicitante: 
TOSOH CORP [JP]
Tosoh Corporation
EP_4633334_PA

Resumen de: EP4633334A1

Provided are a photoelectric conversion element and an imaging element which are excellent in response speed and exhibit a high external quantum yield, and a photoelectric conversion element material that contributes to production of these elements. An imaging photoelectric conversion element (100) includes a layer containing a photoelectric conversion element material represented by formula (1) below, where EWG represents an electron-withdrawing group, L represents an aromatic hydrocarbon group having 6 to 30 carbon atoms, n represents 1 to 8, k represents 0 to 2, and p represents 1 to 8, where p is 1 if k is 0.

SHUTDOWN APPARATUS FOR PHOTOVOLTAIC MODULE, AND PHOTOVOLTAIC SYSTEM

NºPublicación:  EP4633034A1 15/10/2025
Solicitante: 
SUNGROW POWER SUPPLY CO LTD [CN]
Sungrow Power Supply Co., Ltd
EP_4633034_PA

Resumen de: EP4633034A1

The present application discloses a shutdown apparatus for a photovoltaic module, and a photovoltaic system. The shutdown apparatus comprises: a first part and a second part; the first part or the second part comprises a shutdown circuit; and the first part and the second part are connected via a cable; the first part comprises a negative input terminal and a negative output terminal, and the second part comprises a positive input terminal and a positive output terminal; the negative input terminal and the positive input terminal are respectively used for connecting to a negative electrode and a positive electrode of a corresponding photovoltaic module; and the positive output terminal and the negative output terminal are respectively used for being connected in series to different shutdown apparatuses. Because the two parts are independent, the distance between the two parts can be set according to requirements, the two parts can be set at positions convenient for connecting to a photovoltaic module, and the two parts are connected to an interface via a cable. The shutdown apparatus does not require additional extension wires. The invention reduces total cable length, decreases installation time, reduces the total losses of the cable, and improves the reliability of the photovoltaic system.

GRAPHENE HEAT TRANSFER

NºPublicación:  EP4630499A1 15/10/2025
Solicitante: 
GRAPHENE MFG GROUP LTD [AU]
Graphene Manufacturing Group Ltd
KR_20250133864_PA

Resumen de: AU2023388162A1

Disclosed herein is coating composition comprising graphene nanoparticles derived from a carbon gas and one or more dispersing agents dispersed in an emulsion or a resin. Also disclosed herein are methods for preparing such a coating compositions, and the use of such a coating composition in heat exchange systems.

MODULAR PHOTOVOLTAIC ROOFING SYSTEM, METHOD FOR INSTALLING THEREOF AND SOLAR ROOF

NºPublicación:  EP4631108A1 15/10/2025
Solicitante: 
BP2 SPOLKA Z OGRANICZONA ODPOWIEDZIALNOSCIA [PL]
BP2 Spolka Z Ograniczona Odpowiedzialnoscia
MX_2024007716_A

Resumen de: MX2024007716A

The subject-matter of the present invention is a modular photovoltaic roofing system comprising: plurality of modular roof panels (40) integrated with photovoltaic modules (50); an at least one longitudinal channel profile (20) for routing electrical cables (K); an at least one longitudinal side profile (30) for mounting electric or electronic devices. The subject-matter of the invention is also a solar roof equipped with the modular photovoltaic roofing system and a method of its installation.

PEROVSKITE PHOTOVOLTAIC DEVICE AND SOLUTION-PROCESSED METHOD FOR MANUFACTURE

Nº publicación: EP4630505A2 15/10/2025

Solicitante:

UNIV SWANSEA [GB]
Swansea University

AU_2023391271_PA

Resumen de: AU2023391271A1

The invention relates to a carbon ink composition for use in printing a conductive carbon layer onto a perovskite solar device stack. Also provided is a perovskite solar device stack comprising a conductive carbon layer, and a method of manufacturing such a device by a solution processing method.

traducir