Ministerio de Industria, Turismo y Comercio LogoMinisterior
 

Alerta

Resultados 149 resultados
LastUpdate Última actualización 28/10/2025 [07:01:00]
pdfxls
Solicitudes publicadas en los últimos 15 días / Applications published in the last 15 days
previousPage Resultados 50 a 75 de 149 nextPage  

A METHOD FOR CONTROLLING AN ELECTRIC SCOOTER ACCORDING TO THE SURFACE ON WHICH IT IS DRIVEN

NºPublicación:  EP4631768A1 15/10/2025
Solicitante: 
UNIV OZYEGIN [TR]
Ozyegin Universitesi
EP_4631768_PA

Resumen de: EP4631768A1

The invention relates to a method performed by the processor unit (17) in a system comprising a processor unit (17) that enables the control of the operating state according to the pattern of the surface on which an electric vehicle that being usable by the user for transportation by standing and comprising at most three wheels and at least one electric motor is driven.

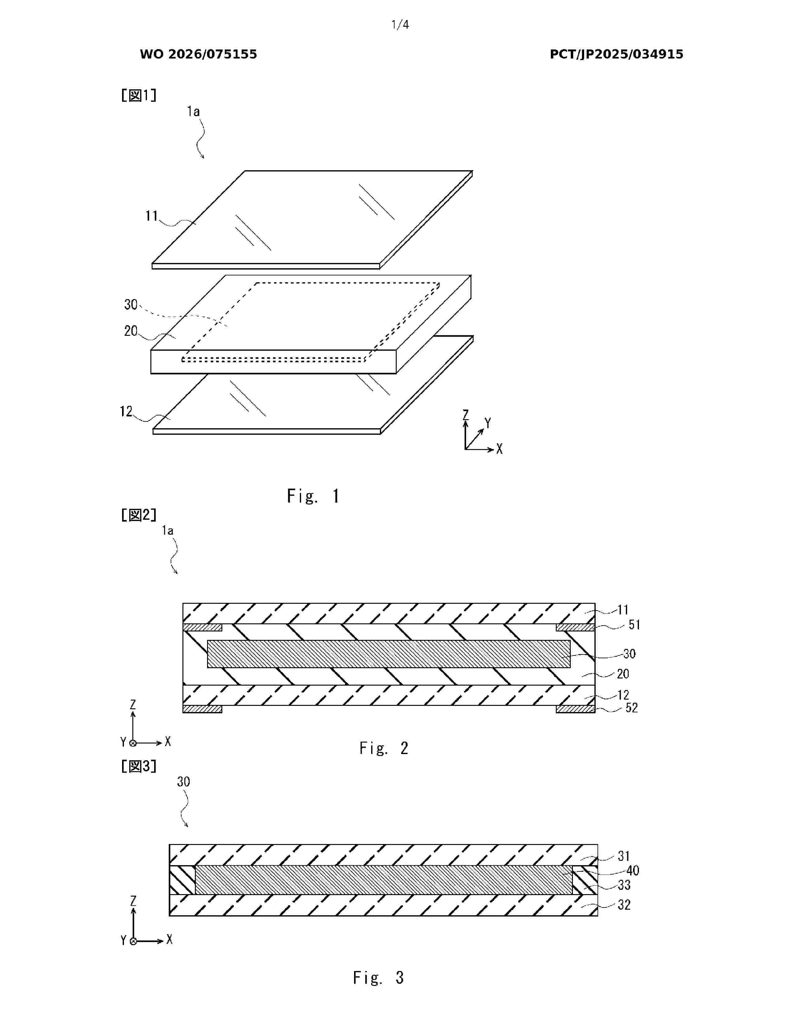
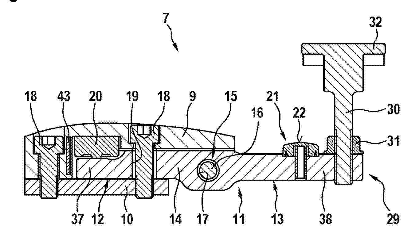
CONCEALED HINGE WITH LOCKING MEANS FOR FOLDABLE VEHICLE

NºPublicación:  WO2025195749A1 25/09/2025
Solicitante: 
TRIERI DESIGN D O O [HR]
TRIERI DESIGN D.O.O
EP_4620793_PA

Resumen de: WO2025195749A1

A concealed hinge (100) for a foldable vehicle, where the said hinge (100) comprising two insets (10, 20) with their wedges (11, 12) to be inserted in the vehicle's frame interior. The insets (10, 20) are connected via the set of levers (31, 32) which forms a five-pin hinge mechanism, where two pins are fixed in the said insets (10, 20 ), two pins are sliding pins within the wedges (11, 12), and one pin is a pivot pin which connects the levers in their central portion. The locking mechanism is designed to lock the insets (10, 20 ), via their respectable locking rings (13, 23), in the closed and opened position. In the preferred embodiment, the concealed hinge is used to enable the side folding of electric scooters and minimize their transportation volume.

CONCEALED HINGE WITH LOCKING MEANS FOR FOLDABLE VEHICLE

NºPublicación:  EP4620793A1 24/09/2025
Solicitante: 
TRIERI DESIGN D O O [HR]
Trieri Design d.o.o
EP_4620793_PA

Resumen de: EP4620793A1

A concealed hinge (100) for a foldable vehicle, where the said hinge (100) comprising two insets (10, 20) with their wedges (11, 12) to be inserted in the vehicle's frame interior. The insets (10, 20) are connected via the set of levers (31, 32) which forms a five-pin hinge mechanism, where two pins are fixed in the said insets (10, 20), two pins are sliding pins within the wedges (11, 12), and one pin is a pivot pin which connects the levers in their central portion. The locking mechanism is designed to lock the insets (10, 20), via their respectable locking rings (13, 23), in the closed and opened position. In the preferred embodiment, the concealed hinge is used to enable the side folding of electric scooters and minimize their transportation volume.

Electric scooter

NºPublicación:  CN120553007A 29/08/2025
Solicitante: 
SHENZHEN BAITUO PREC MACHINERY CO LTD
\u6DF1\u5733\u5E02\u767E\u62D3\u7CBE\u5BC6\u673A\u68B0\u6709\u9650\u516C\u53F8
CN_120553007_PA

Resumen de: CN120553007A

The electric scooter comprises a pedal assembly, a front fork, a folding mechanism and a handlebar assembly, and the front fork is rotationally installed at the front end of the pedal assembly; the folding mechanism comprises a fixed seat, a rotating seat, a lock catch mechanism and a limiting piece, the fixed seat is fixed to the upper end of the front fork, the rotating seat is rotationally installed on the rear side of the fixed seat, and the rotating seat is provided with a first clamping part; the lock catch mechanism is rotationally mounted on the front side of the fixed seat, and an abutting part and a second clamping part are arranged on the inner side of the lock catch mechanism; the limiting piece is rotationally mounted on the front side of the rotating seat; the handlebar assembly is provided with a vertical pipe, and the lower end of the vertical pipe is connected with the rotating seat. The electric scooter has a folded state and a using state, in the using state, the rotating base is stacked on the fixed base, the locking mechanism is connected with the rotating base in a clamped mode, the limiting piece abuts against the side, facing the fixed base, of the abutting portion, in the folded state, the locking mechanism is separated from the rotating base, and the vertical pipe is transversely arranged above the pedal assembly. According to the technical scheme, the reliability of the folding mechanism can be improved.

METHOD APPARATUS AND PROGRAM FOR CONTROLLING ELECTRIC SCOOTERS TO PREVENT DRUNK DRIVING

NºPublicación:  KR20250127876A 27/08/2025
Solicitante: 
선문대학교산학협력단

Resumen de: KR20250127876A

본 발명의 다양한 실시예에 따른 음주 운전을 방지하기 위한 전동 킥보드 제어 방법이 개시된다. 상기 방법은: 사용자 단말로부터 전동 킥보드에 대한 사용 요청 신호를 수신하는 단계; 상기 사용 요청 신호에 의해 전동 킥보드가 일부 활성화되는 경우, 상기 전동 킥보드에 구비된 사용자 인터페이스부를 통해 게임을 제공하는 단계; 및 상기 게임의 스코어를 기초로, 상기 전동 킥보드의 모터 활성화 여부를 결정하는 단계;를 포함하고, 상기 게임은, 기억력 게임, 순발력 게임 및 균형 게임 중 적어도 하나를 포함할 수 있다.

ELECTRIC SCOOTER EQUIPPED WITH TURN SIGNALS

NºPublicación:  KR20250126391A 25/08/2025
Solicitante: 
경운대학교산학협력단

Resumen de: KR20250126391A

상술한 목적을 달성하기 위해 본 발명의 일 실시예에 따른 전동킥보드의 바퀴 브라켓에 체결되는 방향지시등 브라켓; 및 상기 방향지시등 브라켓에 체결되는 방향지시등을 포함하는 것을 특징으로 한다.

Electric scooter

NºPublicación:  CN120503912A 19/08/2025
Solicitante: 
SHENZHEN BAITUO PREC MACHINERY CO LTD
\u6DF1\u5733\u5E02\u767E\u62D3\u7CBE\u5BC6\u673A\u68B0\u6709\u9650\u516C\u53F8
CN_120503912_PA

Resumen de: CN120503912A

The electric scooter comprises a pedal assembly, a front fork, a front wheel, a handlebar assembly, a rear wheel and a rear mud cover, and a mounting notch is formed in the rear end of the pedal assembly; the front fork is rotationally mounted at the front end of the pedal assembly; the front wheel is mounted on the front fork; the handlebar assembly comprises a vertical pipe, and the vertical pipe is connected with the front fork through a folding mechanism, so that the handlebar assembly has a folding state that the vertical pipe is transversely arranged above the pedal assembly and a using state that the vertical pipe is beneficial to the upper portion of the front fork. The rear wheel is mounted in the mounting notch; the rear mud cover is provided with an opening and a mounting part extending along the periphery of the opening, the rear mud cover is arranged above the mounting notch in a covering mode through the opening so as to cover the rear wheel cover inside, the mounting part is connected with the edge part of the mounting notch, a hooking part is arranged at the top of the rear mud cover, and in the folding state, the handlebar assembly is buckled to the hooking part. The rear end of the mounting portion extends rearward of the pedal assembly and crosses a rotating shaft of the rear wheel. According to the technical scheme, the use reliability of the electric scooter in the folded state can be improved.

Folding electric vehicle capable of automatically returning direction

NºPublicación:  CN223237828U 19/08/2025
Solicitante: 
EXCELLENTCARE MEDICAL HUIZHOU LTD
\u65AF\u83B1\u8FBE\u533B\u7597\u7528\u54C1\uFF08\u60E0\u5DDE\uFF09\u6709\u9650\u516C\u53F8
CN_223237828_U

Resumen de: CN223237828U

The utility model relates to a folding electric vehicle capable of automatically aligning. The folding electric vehicle comprises a front frame, a rear frame and a linkage rod, the front frame comprises a front underframe, a direction control assembly and a locking assembly, wherein the direction control assembly and the locking assembly are rotationally installed on the front underframe, and the locking assembly is provided with a holding part and a clamping hook part. The rear frame comprises a rear underframe, a hinge support rotationally installed on the rear underframe, a seat arranged on the hinge support and a power assembly arranged on the rear underframe. The front bottom frame is hinged to the rear bottom frame, the linkage rod is rotationally installed on the rear bottom frame through a lock column, one end of the linkage rod is hinged to the direction operation assembly, a lock block is arranged at the other end of the linkage rod, one end of the hinge support is hinged to the rear bottom frame, and the other end of the hinge support is hinged to the front bottom frame. A linkage effect can be formed among the front bottom frame, the rear bottom frame, the direction control assembly, the linkage rod and the hinged support, and the electric scooter can be stored only through one-time folding.

Electric scooter capable of being quickly folded

NºPublicación:  CN223237829U 19/08/2025
Solicitante: 
EXCELLENTCARE MEDICAL HUIZHOU LTD
\u65AF\u83B1\u8FBE\u533B\u7597\u7528\u54C1\uFF08\u60E0\u5DDE\uFF09\u6709\u9650\u516C\u53F8
CN_223237829_U

Resumen de: CN223237829U

The utility model relates to an electric scooter capable of being folded quickly. The electric scooter comprises a front frame, a rear frame and a linkage rod. The front frame comprises a front underframe, a direction control assembly and a locking assembly, wherein the direction control assembly and the locking assembly are rotationally installed on the front underframe, and the locking assembly is provided with a holding part and a clamping hook part. The rear frame comprises a rear underframe, a hinge support rotationally installed on the rear underframe, a seat arranged on the hinge support and a power assembly arranged on the rear underframe. The front bottom frame is hinged to the rear bottom frame, the linkage rod is rotationally installed on the rear bottom frame through a lock column, one end of the linkage rod is hinged to the direction operation assembly, a lock block is arranged at the other end of the linkage rod, one end of the hinge support is hinged to the rear bottom frame, and the other end of the hinge support is hinged to the front bottom frame. A linkage effect can be formed among the front bottom frame, the rear bottom frame, the direction control assembly, the linkage rod and the hinged support, and the electric scooter can be stored only through one-time folding.

Portable electric scooter

NºPublicación:  CN223237824U 19/08/2025
Solicitante: 
QINGDAO DIGITAL HUMAN NETWORK TECH CO LTD
\u9752\u5C9B\u6570\u7801\u4EBA\u7F51\u7EDC\u79D1\u6280\u6709\u9650\u516C\u53F8
CN_223237824_U

Resumen de: CN223237824U

The utility model relates to the technical field of electric scooters, and discloses a portable electric scooter which comprises a scooter frame, a scooter rod is fixedly connected to the left end of the scooter frame, a handle frame is fixedly connected to the upper end of the scooter rod, an anti-skid plate is connected to the upper surface of the scooter frame in an embedded mode, and fixing blocks are fixedly connected to the lower ends of the surfaces of the left side and the right side of the anti-skid plate. A fixing bolt is movably connected into the fixing block in a penetrating mode. The upper surface of the fixing block and the outer portion of the fixing bolt are jointly provided with a positioning mechanism. The fixing cover is arranged and fixed in the fixing groove through the first magnetic ring and the second magnetic ring, the fixing bolt is protected and prevented from being exposed outside for a long time and rusting, the service life of the fixing bolt is prolonged, a pawl in the positioning mechanism is attached to a ratchet wheel, and therefore the fixing bolt is prevented from being damaged. And the fixing bolt cannot rotate anticlockwise when not needing to rotate anticlockwise, so that the fixing bolt is prevented from loosening due to external factors such as vibration, and the fixing stability of the antiskid plate is ensured.

Folding mechanism and electric scooter

NºPublicación:  CN120462558A 12/08/2025
Solicitante: 
SHENZHEN BAITUO PREC MACHINERY CO LTD
\u6DF1\u5733\u5E02\u767E\u62D3\u7CBE\u5BC6\u673A\u68B0\u6709\u9650\u516C\u53F8
CN_120462558_PA

Resumen de: CN120462558A

The invention discloses a folding mechanism and an electric scooter, the folding mechanism comprises a folding seat and a clamping mechanism, the folding seat comprises a first part and a second part, one side of the first part is hinged to one side of the second part, the first part is provided with a first rotating axis, and one side, away from the first rotating axis, of the second part is provided with a first clamping part; the clamping mechanism comprises a mounting part, an unlocking part and an elastic part, the mounting part is hinged to the other side of the first part and provided with a second rotating axis, the unlocking part is slidably mounted on the mounting part and exposed on the side, away from the second part, of the mounting part, and the elastic part is connected between the mounting part and the unlocking part; the end, away from the second rotating axis, of the unlocking piece is not higher than the free end of the mounting piece. The folding mechanism has a using state and a folding state, in the using state, the mounting piece is close to the side, away from the first rotating axis, of the second part, and the unlocking piece is clamped to the first clamping part. According to the technical scheme, a user can conveniently use the unlocking piece, and the risk that the unlocking piece is damaged by collision is reduced.

Electric scooter folder

NºPublicación:  CN223187604U 05/08/2025
Solicitante: 
JINHUA YUJU SPORTS EQUIPMENT CO LTD
\u91D1\u534E\u5B87\u9A79\u8FD0\u52A8\u5668\u6750\u6709\u9650\u516C\u53F8
CN_223187604_U

Resumen de: CN223187604U

An electric scooter folder belongs to the technical field of machinery. Inserts are arranged on the lower portion of the upper folding piece and provided with openings, the openings form inserts on the two sides, the upper portion of the lower folding piece is in a saddle shape, the shapes of the openings are matched with the saddle shape, the inserts on the two sides are provided with slopes, the slopes of the inserts are attached to the slopes of the positioning table, grooves are formed in the front portions of the inserts, and connecting holes are formed in the rear portions of the inserts. The connecting hole of the insert and the saddle-shaped connecting hole are matched, communicated and connected through the positioning shaft, the other end of the positioning shaft is fixedly connected with the plug, the side face of the insert is provided with side holes, the saddle-shaped connecting hole is provided with side holes, and the two side holes can be connected with the safety pin. The utility model has the advantages that the structure is compact, the shaking clearance is small, the integrated locking structure is adopted, the structure is firmer and more reliable, the structure is simpler, the assembly efficiency in the production process is higher, and the production cost is reduced.

Pedal assembly of electric scooter

NºPublicación:  CN223187589U 05/08/2025
Solicitante: 
YADEA SCIENCE & TECH GROUP CO LTD
\u96C5\u8FEA\u79D1\u6280\u96C6\u56E2\u6709\u9650\u516C\u53F8
CN_223187589_U

Resumen de: CN223187589U

The utility model relates to the technical field of electric scooters, in particular to a pedal assembly of an electric scooter, an upper decorative cover is connected with a lower decorative cover in a matched mode, the upper decorative cover and the lower decorative cover are both connected to the front end of a scooter frame body, a rear warped tail shell comprises a connecting portion and a treading portion, the treading portion tilts upwards in an inclined mode, and the connecting portion is connected with the connecting portion. The treading part is provided with a supporting inclined face, and the connecting part is connected to the bottom end of the treading part and connected to the rear end of the frame body. The lower decorative cover, the frame body and the rear warped tail shell are connected to form a pedal, the treading part of the rear warped tail shell tilts upwards in an inclined mode and is provided with a supporting inclined face for the rear feet of a driver to tread, the center of gravity of the driver during riding can be obviously reduced, and the risk that the vehicle tilts forwards and turns over is avoided; the upper decorative cover and the lower decorative cover are connected in a matched mode to form the treading piece arranged at the front end of the frame body, the treading piece can serve as a front pedal, the riding comfort of a driver is effectively improved, and potential safety hazards are reduced.

Control method of electric scooter and electric scooter

NºPublicación:  CN120422983A 05/08/2025
Solicitante: 
JINHUA YUJU SPORTS EQUIPMENT CO LTD
\u91D1\u534E\u5B87\u9A79\u8FD0\u52A8\u5668\u6750\u6709\u9650\u516C\u53F8
CN_120422983_PA

Resumen de: CN120422983A

The invention relates to the technical field of scooters, in particular to a control method of an electric scooter and the electric scooter, the electric scooter comprises a front pedal and a rear pedal which can be separated from each other and are connected through a pull-out guide rail, and the pull-out guide rail enables the front pedal and the rear pedal to be separated or combined in a relative sliding mode; the first battery pack and the second battery pack are respectively arranged in the front pedal and the rear pedal; the circuit connecting mechanism comprises a first magnetic attraction contact piece and a second magnetic attraction contact piece which are arranged in the front pedal and the rear pedal respectively and connected with the first battery pack and the second battery pack respectively, and when the front pedal and the rear pedal are completely combined, parallel connection of the first battery pack and the second battery pack is automatically established; and the folding protection mechanism comprises a baffle plate, and the sliding baffle plate is linked with the drawing action through a linkage assembly and covers the circuit connecting mechanism when the front pedal is separated from the rear pedal. The pedal folding and unfolding device has the advantages that the drawing type guide rail is linked with the positioning frame through the rotating block, precise folding and unfolding of the pedal are achieved, and space is saved.

Scooter with automatic steering lamp

NºPublicación:  CN120422974A 05/08/2025
Solicitante: 
JIANDE WUXING BICYCLE CO LTD
\u5EFA\u5FB7\u5E02\u4E94\u661F\u8F66\u4E1A\u6709\u9650\u516C\u53F8
CN_120422974_PA

Resumen de: CN120422974A

The invention belongs to the technical field of scooters, particularly relates to a scooter with an automatic steering lamp, and is particularly suitable for an electric scooter. In order to overcome the defect that an existing scooter lacks an automatic steering lamp system with practical production guiding significance, the scooter with the automatic steering lamp comprises a frame, a steering lamp system and an automatic steering lamp system, the vehicle head swings relative to the vehicle frame and comprises a handle and steering lamps located at the two ends of the handle; a controller; the automatic auxiliary device detects the swing angle of the vehicle head relative to the vehicle frame and sends a corresponding signal to the controller, the automatic auxiliary device comprises a first assembly and a second assembly, the first assembly comprises a clamping assembly and a magnetic part, and the second assembly comprises a clamping assembly and a magnetic induction part; when the magnetic part is in the straight-going angle range relative to the magnetic induction part, the steering lamp is not turned on, and when the magnetic part is in the steering angle range relative to the magnetic induction part, the corresponding steering lamp is turned on. The steering lamp has the beneficial effects that the steering lamp is automatically started and stopped along with the swing angle of a vehicle head; the structure of the automatic auxiliary device is improved.

Folder on electric scooter

NºPublicación:  CN223132252U 22/07/2025
Solicitante: 
ZHEJIANG DECE IND & TRADE CO LTD
\u6D59\u6C5F\u5FB7\u7B56\u5DE5\u8D38\u6709\u9650\u516C\u53F8
CN_223132252_U

Resumen de: CN223132252U

The utility model discloses a folder on an electric scooter, which comprises a vertical pipe and an upper end cover arranged on the vertical pipe, a lower end cover is hinged on the upper end cover, a handle is hinged on the lower end cover, and lock catch structures are arranged on the handle and the upper end cover. The lock catch structure comprises a lock catch assembly arranged on the handle and a hook arranged on the upper end cover, the hook is fixed to the end face of the upper end cover through at least three fixing pieces on the end face of the upper end cover, and the three fixing pieces are arranged on the end face of the upper end cover in a triangular mode. The lock catch assembly is hinged to the lower end cover. According to the utility model, the hook is simpler in installation and more stable in installation at the same time, so that the occurrence of loosening and falling in the frequent use process in the prior art is greatly improved, the later use safety is better improved, and the use requirements of users are greatly met.

Handle folding structure of lithium electric scooter

NºPublicación:  CN223132260U 22/07/2025
Solicitante: 
SUZHOU LONGYUE LITHIUM BATTERY VEHICLE CO LTD
\u82CF\u5DDE\u9F99\u8DC3\u9502\u52A8\u8F66\u8F86\u6709\u9650\u516C\u53F8
CN_223132260_U

Resumen de: CN223132260U

The utility model relates to a lithium electric scooter handlebar folding structure which comprises a fixing base, an operating rod is fixedly arranged at the bottom end of the fixing base, cavities are formed in the upper portions of the two sides of the fixing base, rotating rods are rotationally arranged in the cavities, rotating blocks are fixedly arranged on the rotating rods in a sleeved mode, and the rotating blocks are connected with the operating rod. Handle bodies are fixedly connected to the opposite sides of the rotating blocks, a plurality of positioning holes are formed in the rotating blocks in a penetrating mode, positioning rods matched with the positioning holes are slidably embedded in the inner walls of the lower portions of the adjacent sides of the cavities, and the top ends of the positioning rods extend into the adjacent positioning holes; the lower portion of the fixing base is internally provided with a sliding groove, a sliding block is arranged in the sliding groove, the sliding block is connected with the sliding groove in a sliding mode, the handles can be folded conveniently, the distance between the folded handles is small, storage is convenient, meanwhile, the rotating block is located in the fixing base all the time, and therefore the rotating block can be effectively prevented from being damaged by collision.

Active and passive brake control system

NºPublicación:  CN223132272U 22/07/2025
Solicitante: 
ZHEJIANG DUERTELUN VEHICLE IND CO LTD
\u6D59\u6C5F\u90FD\u5C14\u7279\u8F6E\u8F66\u4E1A\u6709\u9650\u516C\u53F8
CN_223132272_U

Resumen de: CN223132272U

The utility model discloses an active and passive brake control system which comprises an electric scooter, the electric scooter is provided with a front wheel assembly and a rear wheel assembly, the front wheel assembly and the rear wheel assembly respectively comprise a front brake assembly and a rear brake assembly, the electric scooter is further provided with a steering assembly with a handle, and a brake triggering assembly is arranged on the handle. The brake triggering assembly controls the two brake cables to act on the front brake assembly and the rear brake assembly through pressing of the single brake. The brake is arranged and provided with the hinged arm hinged to the brake base, the two ends of the hinged point of the hinged arm are connected with the two brake cables correspondingly, and the distances between the connecting points of the two brake cables and the hinged arm and the hinged point are different, so that the braking amplitude of the rear brake is larger than that of the front brake; therefore, when the two brakes act together, the braking amplitude of the rear brake is larger than that of the front brake, one-hand braking operation is achieved, the braking effect is improved, braking safety is guaranteed, in addition, other operation devices and the brakes can be arranged separately, and other manual operation can be conducted while braking is guaranteed.

Electric scooter convenient to install

NºPublicación:  CN223086186U 11/07/2025
Solicitante: 
YONGKANG YONGCHENG IND AND TRADE CO LTD
\u6C38\u5EB7\u5E02\u6C38\u627F\u5DE5\u8D38\u6709\u9650\u516C\u53F8
CN_223086186_U

Resumen de: CN223086186U

The utility model discloses a convenient-to-install electric scooter which comprises a pedal assembly provided with a rear wheel and a rear fender at the rear end, a front gear assembly fixed to the front side of the upper end of the pedal assembly from top to bottom through screws, a front frame assembly fixedly connected with the front gear assembly and a handle assembly detachably connected with the front frame assembly. The front frame assembly comprises a main frame, a main rod, a rotating cylinder, a front fork piece, a shock absorber and a front wheel. The handle assembly comprises a fixed piece, a rotating piece, a rotation limiting piece, an outer rod, an inner rod, a limiting piece, an instrument panel and a handle. Compared with the prior art, the electric scooter has the advantages that the connecting structures among the components of the electric scooter are exposed and detachable, so that the mounting structures of the components are clear at a glance, the components of the electric scooter can be directly disassembled and assembled, the disassembling and assembling difficulty of the electric scooter is reduced, and all parts in the components are arranged in a refined manner; therefore, convenience is provided for disassembly and replacement of later parts or modified parts of a rider, and meanwhile replacement or maintenance cost can be effectively reduced when the parts are replaced after being damaged.

Connecting structure of pedal front gear of electric scooter

NºPublicación:  CN223086190U 11/07/2025
Solicitante: 
YONGKANG YONGCHENG IND AND TRADE CO LTD
\u6C38\u5EB7\u5E02\u6C38\u627F\u5DE5\u8D38\u6709\u9650\u516C\u53F8
CN_223086190_U

Resumen de: CN223086190U

The utility model discloses a connecting structure of a pedal front gear of an electric scooter, which comprises a pedal main body, a front frame rotationally provided with a rotary drum, and a front gear component for connecting the pedal main body with the front frame, and the front gear component comprises two side mounting frames for fixedly connecting the pedal main body with the rotary drum through screws; the partition plate is inserted between the mounting frames on the two sides, an outer edge is arranged on the partition plate, the outer edge is attached to the upper end faces of the two mounting frames, and the lower end of the outer edge is attached to the upper end face of the pedal body. Compared with the prior art, the front bumper assembly has the advantages that the front bumper assembly is independently provided with the mounting frames on the two sides and the partition plate arranged between the mounting frames on the two sides, so that a riding vehicle mainly acts on the partition plate when stepping on the front bumper assembly, the main damaged part is the partition plate, and the replacement cost can be effectively reduced; and the partition plates can be replaced only by detaching one side mounting frame, so that the operation steps of replacing the partition plates are effectively reduced, and the detaching and mounting efficiency is improved.

DRIVING MOTOR DRIVING STRUCTURE OF ELECTRIC MOBILITY DEVICE

NºPublicación:  WO2025146849A1 10/07/2025
Solicitante: 
JUNG JAE MIN [KR]
\uC815\uC7AC\uBBFC
WO_2025146849_PA

Resumen de: WO2025146849A1

The present invention relates to a driving motor driving structure of an electric mobility device, which is invented to improve driving efficiency of a driving motor for driving a driving wheel of an electric mobility device, suitable for various electric mobility devices such as an electric kickboard or an electric scooter, particularly a small personal mobility device. The present invention includes: a main driving motor (20) installed inside a driving wheel (23) and having first and second supporting shafts (21, 22) respectively protruding to opposite sides; an auxiliary driving motor (30) combined with the main driving motor (20), wherein the main driving motor (20) and the auxiliary driving motor (30) are configured to be electrically and individually driven by a separate operation system and rotate and drive the driving wheel (23). The present invention relates to a driving motor driving structure of an electric mobility device, which is invented to improve driving efficiency of a driving motor for driving a driving wheel of various electric mobility devices such as an electric kickboard or an electric scooter.

Electric scooter convenient for height adjustment

NºPublicación:  CN223031186U 27/06/2025
Solicitante: 
ZHEJIANG SHANYANG SPORTS EQUIPMENT CO LTD
\u6D59\u6C5F\u5584\u9633\u8FD0\u52A8\u5668\u6750\u6709\u9650\u516C\u53F8
CN_223031186_U

Resumen de: CN223031186U

The utility model discloses an electric scooter convenient for height adjustment, which belongs to the technical field of electric scooters, and is characterized by comprising an electric scooter body, a connecting rod is arranged on the front side of the electric scooter body, a connecting shaft is arranged on the front side of the connecting rod, a front moving wheel is arranged at the bottom of the connecting shaft, and a rear moving wheel is arranged at the bottom of the connecting shaft. The top of the front moving wheel is provided with a buffer assembly, the top of the buffer assembly is provided with an adjusting assembly, the top of the adjusting assembly is in bolted connection with a handle, the rear side of the electric scooter body is provided with a rear moving wheel, and a user adjusts the handle to a proper height through the adjusting assembly. By means of the technical scheme, when a user adjusts the height of the electric scooter, bolts do not need to be adopted for fixing, when the user adjusts the height of the electric scooter, the bolts do not need to be screwed, adjustment is easy, meanwhile, the situation that threads are abraded is avoided, and the situation that stability is poor in the riding process is avoided.

Novel electric scooter with battery capable of being quickly disassembled

NºPublicación:  CN222973560U 13/06/2025
Solicitante: 
ZHEJIANG MIHANG TECH CO LTD
\u6D59\u6C5F\u7C73\u822A\u79D1\u6280\u6709\u9650\u516C\u53F8
CN_222973560_U

Resumen de: CN222973560U

The utility model relates to the technical field of electric scooters, and discloses a novel electric scooter capable of quickly disassembling a battery, which comprises a frame, the rear end of the inner bottom surface of the frame is fixedly connected with a rubber non-slip mat, the upper surface of the rubber non-slip mat is provided with a storage battery shell, the upper surface of the storage battery shell is clamped and matched with a limiting frame, and the limiting frame is fixedly connected with the frame. A plurality of fixing bolts are arranged on the two sides of the upper surface of the vehicle frame in a threaded fit mode. According to the electric scooter, the fixing clamping block and the fixing clamping ring are arranged on the electric scooter, a user can fold the supporting rod by opening the cooperation between the clamping base and the buckle, and then the fixing clamping ring on the supporting rod can be matched with the fixing clamping block in the first containing groove in the pedal in a clamped mode; and the possibility of accidental unfolding during folding is reduced, so that the folding convenience and firmness of the electric scooter are improved, and the folding and moving convenience of the electric scooter is improved.

Portable adjustable electric scooter frame

NºPublicación:  CN222973564U 13/06/2025
Solicitante: 
JINHUA QIDIAN VEHICLE IND CO LTD
\u91D1\u534E\u9A91\u70B9\u8F66\u4E1A\u6709\u9650\u516C\u53F8
CN_222973564_U

Resumen de: CN222973564U

The utility model provides a portable and adjustable electric scooter frame, belongs to the field of electric vehicles, and solves the problems that in the prior art, articles of a user are inconvenient to store, and the frame is not humanized enough. The portable and adjustable electric scooter frame is characterized by comprising a scooter body, a scooter body folding rod is installed on the upper side of the front end of the scooter body, a rotating shaft piece is installed at the front end of the scooter body folding rod, an upper arc-shaped ring is arranged at the outer end of the rotating shaft piece, and a mesh pocket is fixedly connected to the lower end of the upper arc-shaped ring. The net pocket has the advantages that the net pocket is used for storing objects, when the whole mechanism is stored, the upper arc-shaped ring and the lower arc-shaped ring are connected in a circle through the magnetic surface, the rotating shaft piece rotates to enable the net pocket to be attached to the contact surface of the folding rod of the vehicle body for storage, and the material clamping original piece below the spring can abut against objects on the bottom wall of the net pocket in the net pocket. And therefore, the safety of objects in the box is ensured.

Taillight assembly and electric scooter

Nº publicación: CN222973546U 13/06/2025

Solicitante:

NINEBOT CHANGZHOU INC
\u7EB3\u6069\u535A\uFF08\u5E38\u5DDE\uFF09\u79D1\u6280\u6709\u9650\u516C\u53F8

CN_222973546_U

Resumen de: CN222973546U

The utility model relates to a taillight subassembly and electric scooter, the taillight subassembly includes: taillight shell, taillight module and radar module, the taillight shell includes: base, first lampshade and second lampshade, first lampshade and second lampshade both are provided the rear side of base, the first lampshade and base define first cavity, and the second lampshade is provided with second cavity. A first cavity is defined by the first lampshade and the base, a second cavity is defined by the second lampshade and the base, the tail lamp module is installed in the first cavity, the radar module is installed in the second cavity, and the radar module is used for detecting the distance between the tail lamp assembly and an object behind the tail lamp assembly. According to the tail lamp assembly, the radar module is integrated, so that the distance of a rear vehicle can be detected, and the safety of a rider during driving can be improved.

traducir