Ministerio de Industria, Turismo y Comercio LogoMinisterior
 

Alerta

Resultados 542 resultados
LastUpdate Última actualización 23/01/2026 [06:53:00]
pdfxls
Solicitudes publicadas en los últimos 15 días / Applications published in the last 15 days
previousPage Resultados 200 a 225 de 542 nextPage  

一种集成低空飞行器多功能使用场景的公交站台智慧舱体装置

NºPublicación:  CN121341466A 16/01/2026
Solicitante: 
南京大学同济大学
CN_121341466_PA

Resumen de: CN121341466A

本发明属于智慧城市基础设施技术领域,公开了一种集成低空飞行器多功能使用场景的公交站台智慧舱体装置,包括智慧舱体、低空飞行器支持系统、智慧物流系统、智能交通管理系统和供电系统,智慧舱体包括乘客服务区和功能区,功能区内设有停放平台;低空飞行器支持系统包括导航模块、避障模块、通信模块和能源管理模块;智慧物流系统包括智能分拣模块、配送模块和数据管理平台;智能交通管理系统包括交通监控模块和数据分析模块;本发明的有益效果是,创新性的将多种功能集成于一体,适应不同城市的基础设施智慧化建设需求;可以产生良好的经济效益、社会效益和环境效益,并具有广阔的应用前景。

使用外围设备的辅助

NºPublicación:  CN121359468A 16/01/2026
Solicitante: 
高通股份有限公司
CN_121359468_PA

Resumen de: TW202502083A

Disclosed are systems, apparatuses, processes, and computer-readable media for wireless communications. For example, a wireless communication device can receive, from a network entity, instructions to display a navigation image associated with a path for a user to follow to arrive at a destination associated with one or more items in an environment. The wireless communication device can display the navigation image based on the instructions and movement of the user.

入出庫管理システム、入出庫管理装置、入出庫管理方法及びプログラム

NºPublicación:  JP2026005102A 15/01/2026
Solicitante: 
TOPPANホールディングス株式会社
JP_2026005102_PA

Resumen de: JP2026005102A

【課題】拠点間を流通する管理対象の所在を精度よく管理する。【解決手段】拠点の入庫エリアに設置される第一読取部及び出庫エリアに設置される第二読取部は、管理対象が有する情報記録媒体から管理対象識別情報を無線により読取時間間隔毎に読み取る。判定部は、判定時間間隔毎に、第一読取部が所定時間内に管理対象識別情報を読み取った入庫エリア読取回数と、第二読取部が所定時間内に管理対象識別情報を読み取った出庫エリア読取回数との少なくとも一方が閾値以上である場合に読み取りありと判定し、両方とも閾値未満の場合は読み取りなしのためステータス変更なしと判定する。判定部は、読み取りあり、かつ、入庫エリア読取回数が出庫エリア読取回数よりも多い場合に管理対象のステータスを拠点への入庫と判定し、読み取りあり、かつ、出庫エリア読取回数が入庫エリア読取回数よりも多い場合に管理対象のステータスを拠点から出庫と判定する。【選択図】図1

A MEDICATION MANAGEMENT SYSTEM

NºPublicación:  WO2026012865A1 15/01/2026
Solicitante: 
SKR\u00C6\u00D0A EHF [IS]
SKR\u00C6\u00D0A EHF
WO_2026012865_A1

Resumen de: WO2026012865A1

The disclosure regards a medication management system comprising a device comprising an interactive display configured to show information of a plurality of patients and/or information of a plurality of medications, a tray comprising a plurality of compartments for holding a medication, and a plurality of partially transparent and/or perforated parts, wherein each partially transparent and/or perforated part is associated with a patient from the plurality of patients, and wherein the tray is configured to be placed on or over the interactive display such that the plurality of partially transparent and/or perforated parts match the information of the plurality of patients, and processing circuitry configured to provide on the display the information of the plurality of patients that are associated with the tray, such that the information of the plurality of patients is visible through the partially transparent and/or perforated parts of the tray.

オンライン販売・配送システム及びその方法

NºPublicación:  JP2026004960A 15/01/2026
Solicitante: 
ロジウィルグローバルサプライ株式会社
JP_2026004960_PA

Resumen de: JP2026004960A

【課題】 商品の販売、購入、配送などの一連のプロセスを自動化してリアルタイムなプロセスが可能なオンライン販売・配送システムを提供する。【解決手段】 画面上で購買者が仮想上で対話をしながら商品を購入する。購買者が購入した商品のオーダをする。物流センターシステムが、WMSにより商品の入出荷及び保管を管理する。購入された商品の受注指示を物流センターシステムが受信し、それに応じた出荷指示を生成するOMS工程を行う。出荷指示応じて物流センター内の商品を自動的にロボットがピッキング及び配送するロボット作業を行う。【選択図】図1

SYSTEMS AND METHODS FOR WAREHOUSE ENVIRONMENT SPEED ZONE MANAGEMENT

NºPublicación:  AU2025275285A1 15/01/2026
Solicitante: 
CROWN EQUIPMENT CORP
Crown Equipment Corporation
AU_2025275285_A1

Resumen de: AU2025275285A1

22171994_1 (GHMatters) P115292.AU.2 Systems and methods for a materials handling vehicle configured to navigate along a warehouse environment inventory transit surface, the vehicle including control architecture in communication with a drive mechanism, a materials handling mechanism, a speed zone sensing subsystem configured to provide an indication of whether the vehicle is in a speed zone, and a speed control processor configured to prompt the operator to reduce a vehicle speed of the vehicle to under a speed zone limit when the vehicle speed is approaching or in the speed zone, determine whether the vehicle speed is under the speed zone limit in the speed zone, and apply a speed cap to limit a maximum vehicle speed of the vehicle to a magnitude that is at or below the speed zone limit when the speed control processor has determined that the vehicle speed is under the speed zone limit in the speed zone. ec e c

SYSTEM AND METHOD FOR ROLE-BASED COLLABORATIVE DESIGN OF CUSTOM PRODUCTS BASED ON MANUFACTURING CONSTRAINTS

NºPublicación:  AU2025279668A1 15/01/2026
Solicitante: 
ZAZZLE INC
Zazzle Inc
AU_2025279668_A1

Resumen de: AU2025279668A1

Abstract The invention relates to a computer-implemented method comprising: receiving, at a computer collaboration system, an electronic digital editing invitation from a first user interface that executes on a first user device associated with a first user, the editing invitation comprising inviting a second user to collaborate on a digital electronic interactive design as an editor, the interactive design being associated with product description data, the interactive design comprising a graphical visual representation of a physical product that is capable of custom manufacture with a plurality of variable product attributes; granting, the second user, access to the product description data as the editor; transmitting, from the computer collaboration system to a second user device associated with the second user, the product description data for rendering the interactive design in a second user interface executing on the second user device; receiving a first modification to the interactive design from the second user interface, the first modification to the interactive design being permissible only for a user account that is the editor; wherein the first modification is transmitted as a serialized key-value pair, of one or more key-value pairs, and associated data that capture details of the first modification; tagging each of the one or more key-value pairs and the associated data stored in the product description according to a 3D model generated for the interactive desig

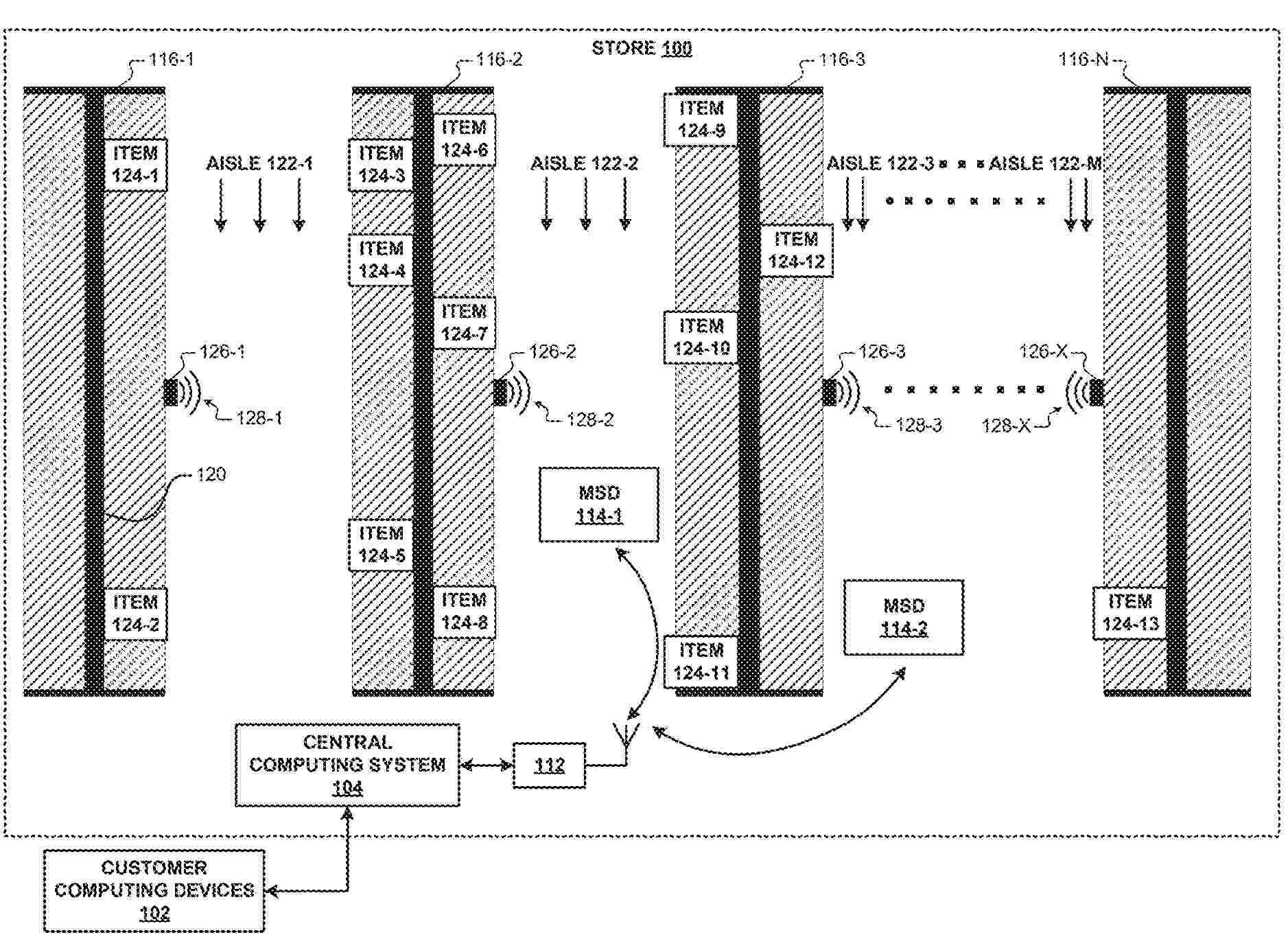
COMPUTER-IMPLEMENTED SYSTEMS AND METHODS FOR IN-STORE ROUTE RECOMMENDATIONS

NºPublicación:  AU2025275205A1 15/01/2026
Solicitante: 
SHOPIFY INC
Shopify Inc
AU_2025275205_A1

Resumen de: AU2025275205A1

A computer-implemented method including detecting, by wireless transmitters associated with a routing engine of a retail store, that a user device has entered the retail store and in response obtaining an identification of a target product for sale, the identification originating from input at the user device, obtaining a recommended product based on at least one of the target product, information from a profile associated with the user device, or a criterion provided by the merchant, and providing navigation instructions for output at a user interface, wherein providing the navigation instructions includes tracking the user device at multiple locations, wherein the routing engine is in communication with the user device via the one or more wireless transmitters, detecting, based on the tracking, current location data of the user device, determining, by the routing engine, a particular route based on the current location data, a location of the target product, and a location of the recommended product, the particular route determined based on a comparison of non-financial cost values between segments of alternative routes to the target product, each segment assigned a respective non-financial cost value, wherein the non-financial cost value of at least one of the segments is based on both the location of the target product and the recommended product, generating instructions guiding the user device along the particular route, and transmitting the instructions wherein the tran

REFUSE CONTAINER IDENTIFICATION USING PARCEL DATA

NºPublicación:  US20260017992A1 15/01/2026
Solicitante: 
THE HEIL CO [US]
The Heil Co
US_20260017992_PA

Resumen de: US20260017992A1

Techniques are described for correlating entity identification information with refuse containers being serviced by a refuse collection vehicle (RCV). Location data can be collected by location sensor(s) on the RCV at a time when a triggering condition is present, such as a time when a lift arm is operating to empty a refuse container into the hopper of the RCV. The location data can be provided as input to an algorithm that estimates a container location through a vector offset to account for the distance and direction of the RCV lift arm relative to the location sensor in the RCV. The container location can be correlated with parcel data to determine the parcel that the container was on or near to when it was serviced, and the customer or other entity associated with the parcel can be correlated to the particular container based on the analysis.

METHOD FOR MODELLING A DEMAND INDICATOR AND APPLICATIONS THEREOF

NºPublicación:  US20260017685A1 15/01/2026
Solicitante: 
GRABTAXI HOLDINGS PTE LTD [SG]
GRABTAXI HOLDINGS PTE. LTD
US_20260017685_PA

Resumen de: US20260017685A1

Aspects concern a method for providing an indicator of demand density comprising the steps of: determining a first efficiency measure between a first source and a second source, each source associated with at least one good; determining a second efficiency measure between a first destination and a second destination; associating the first destination with the first source to form a first order pair and the second destination with the second source to form a second order pair; determining a first vector associated with the first order pair, and a second vector associated with the second order pair; measuring an angle between the first vector and the second vector; and calculating the indicator of demand density based on a function of the first efficiency measure, the second efficiency measure, and the angle.

SYSTEM AND METHOD FOR PROVIDING ACCESS TO ARTICLES AND COLLECTING RELATED DATA

NºPublicación:  US20260017995A1 15/01/2026
Solicitante: 
SKELETON KEY SYSTEMS LLC [US]
Skeleton Key Systems, LLC
US_20260017995_PA

Resumen de: US20260017995A1

In one embodiment, a system for digitally providing access to one or more articles is disclosed. The system includes one or more locking units. A server generates or stores a digital key associated with a locking unit or corresponding article. Upon a first event, the digital key is provided to the portable electronic device of the user. The first event comprises the user initiating a request for access to the articles, the locking unit, or the digital key, and verification that the user satisfies a predetermined condition. The first event does not comprise a payment for, or an authorization of payment for, purchase or rental of the one or more articles. For each locking unit, the memory receives data related to the article or the user corresponding to a time when the locking unit is altered between the locked state and the unlocked state.

MATERIALS HANDLING VEHICLE TECHNOLOGY MONITOR

NºPublicación:  US20260017993A1 15/01/2026
Solicitante: 
CROWN EQUIPMENT CORP [US]
Crown Equipment Corporation
US_20260017993_PA

Resumen de: US20260017993A1

A materials handling vehicle includes a power unit with a traction motor controller coupled to a traction motor that drives at least one steered wheel of the materials handling vehicle, and a feature assistance system comprising a remote-control receiver pairs with a wireless remote-control device. An information linking device of the vehicle wirelessly communicates to a remote server computer. A controller on the vehicle runs program code to receive a command from the remote-control receiver to implement a remote-controlled travel function responsive to the remote-control receiver communicating with the paired remote-control device, communicate a command to the traction motor controller to cause the vehicle to automatically advance responsive to the command, generate a vehicle record including vehicle travel-related data associated with the remote-controlled travel function, and transmit the generated vehicle record, by the information linking device, to the remote server to log use of the remote-controlled travel function.

VEHICLE SELF-INSPECTION APPARATUS AND METHOD

NºPublicación:  US20260017773A1 15/01/2026
Solicitante: 
OPENLANE INC [US]
OPENLANE, Inc
US_20260017773_PA

Resumen de: US20260017773A1

A system and method for self-inspection of a vehicle is disclosed. The self-inspection may be performed by an application executed on a mobile device, with the application being configured to determine excessive wear and use. The mobile device may obtain images from a plurality of predetermined views of the vehicle, with damage input being determined for the plurality of predetermined views. In turn, a cost estimate may be output for repair or replacement due to the damage for each of the plurality of predetermined views as well as a total cost for repair or replacement, which may be dynamically updated as additional damage is input for the plurality of predetermined views.

METHOD AND SYSTEM FOR AUTOMATED SECURED PROCESSING OF SHIPMENTS

NºPublicación:  US20260017605A1 15/01/2026
Solicitante: 
AQUATIO SOFTWARE CO [US]
Aquatio Software Co
US_20260017605_PA

Resumen de: US20260017605A1

A system for an automated secured processing of shipments, including a processor of a shipment processing server node connected to at least one originating user node and to at least one target user node over a wireless network connection and a memory on which are stored machine-readable instructions that when executed by the processor, cause the processor to: receive a shipment transaction request from the at least one originating user node, the shipment transaction request comprising transaction parameters; create a shipment transaction based on the transaction parameters derived from the shipment transaction request; generate a QR code for the shipment transaction; send a link containing a verification request to the at least one target user node; responsive to the verification request, receive biometric capture data from the at least one target user node; regenerate the QR code for the shipment transaction to include the biometric capture data; and record the regenerated QR code on a blockchain ledger.

SYSTEM AND METHOD FOR MANAGING ISSUANCE OF SECURE WAYBILL USING BLOCKCHAIN TECHNOLOGY AND VIRTUAL PERSONAL INFORMATION

NºPublicación:  US20260017604A1 15/01/2026
Solicitante: 
HOMENUMBER CO LTD [KR]
HOMENUMBER CO., LTD
US_20260017604_PA

Resumen de: US20260017604A1

Provided enables more safe and convenient output of a waybill without personal information leakage by using virtual personal information instead of actual personal information when a customer purchases a product from each online shopping mall, checking an online shopping mall customer order number to prevent fraudulent issuance of the waybill when outputting the waybill, and not storing identity information of the customer in a primary product supplier system and a subordinate product supplier system of the online shopping mall, and is characterized by including a customer terminal, a secure waybill management means, a shopping mall system, a primary product supplier system, secondary to Nth product supplier systems.

ASSORTMENT PACK CONFIGURATION AND ALLOCATION SYSTEM

NºPublicación:  US20260017585A1 15/01/2026
Solicitante: 
TARGET BRANDS INC [US]
Target Brands, Inc
US_20260017585_PA

Resumen de: US20260017585A1

Methods and systems for optimization and deployment of assortment pack configuration and allocation are disclosed. Different items, e.g., variants on a single core item type, may be packed together to reduce shipping costs and limit the impact of stochastic elements in the supply chain. In accordance with example aspects of the disclosure, a scalable ensemble optimization approach is used which initializes, iterates, and finalizes a packing solution in an accurate, computationally-efficient manner. In some examples, the approach described herein utilizes an iteration phase which explores a bilinear structure of the underlying problem and exploits randomness to explore the possible solution space.

Automatic webstore generation and stocking

NºPublicación:  US20260017700A1 15/01/2026
Solicitante: 
SOCIATE AI LTD [GB]
Sociate AI Limited
US_20260017700_PA

Resumen de: US20260017700A1

Described herein there is a method performed on a system of one or more computers, the method comprising: for each entity of a plurality of entities: receiving, at a processor of the one or more computers, entity data, first item data and consumer data and determining corresponding volumes based on corresponding subspaces defined by one or more corresponding multi-dimensional digital signatures. The method further comprises receiving, at the processor, second item data comprising a plurality of second item data points, each one of the plurality of second item data points relating to a respective second item and comprising text and image data; processing, at the processor, each one of the second item data points using the digital signature generator to generate a respective second item multi-dimensional digital signatures; identifying, by the processor, one or more second item multi-dimensional digital signatures that fall within an intersection of the entity volume, the first item volume and the consumer volume; selecting, by the processor and based on the identified one or more second item multi-dimensional digital signatures, one or more second items that correspond to the identified one or more second item multi-dimensional digital signatures; responsive to selecting the one or more second items, populating a webstore associated with the entity by: establishing a connection with a webserver; identifying, using the entity data, the webstore hosted by the webserver and assoc

POSITION IDENTIFICATION METHOD AND SYSTEM

NºPublicación:  US20260017473A1 15/01/2026
Solicitante: 
HEMA CHINA CO LTD [CN]
HEMA (CHINA) CO., LTD
US_20260017473_A1

Resumen de: US20260017473A1

A position identification method and system are provided. The position identification method is applied to a position identification system. The system includes: a power supply guide rail provided with positioning mark information, and an electronic shelf label installed on the power supply guide rail and provided with a photoelectric geminate transistor. The electronic shelf label reads corresponding positioning mark information on the power supply guide rail on the basis of the photoelectric geminate transistor, and determines a target position on the power supply guide rail according to the positioning mark information. By means of determining a target position of an electronic shelf label on a power supply guide rail according to positioning mark information of the electronic shelf label on the power supply guide rail, a self-positioning capability of the electronic shelf label is realized at a low cost, and the accuracy of positioning can be ensured.

INCREMENTALLY UPDATING EMBEDDINGS FOR USE IN A MACHINE LEARNING MODEL BY ACCOUNTING FOR EFFECTS OF THE UPDATED EMBEDDINGS ON THE MACHINE LEARNING MODEL

NºPublicación:  US20260017681A1 15/01/2026
Solicitante: 
MAPLEBEAR INC [US]
Maplebear Inc
US_20260017681_PA

Resumen de: US20260017681A1

An online concierge system uses a model to predict a user's interaction with an item, based on a user embedding for the user and an item embedding for the item. For the model to account for more recent interactions by users with items without retraining the model, the online concierge system generates updated item embeddings and updated user embeddings that account for the recent interactions by users with items. The online concierge system compares performance of the model using the updated item embeddings and the updated user embeddings relative to performance of the model using the existing item embeddings and user embeddings. If the performance of the model decreases, the online concierge system adjusts the updated user embeddings and the updated item embeddings based on the change in performance of the model. The adjusted updated user embeddings and adjusted updated item embeddings are stored for use by the model.

SYSTEMS AND METHODS FOR FORECASTING SALES DATA OF NEW STORE ITEMS

NºPublicación:  US20260017677A1 15/01/2026
Solicitante: 
WALMART APOLLO LLC [US]
Walmart Apollo, LLC
US_20260017677_PA

Resumen de: US20260017677A1

Systems and methods for forecasting sales data of items that are new or missing historical sales data at a physical retailer store are disclosed. In some embodiments, a disclosed method includes: receiving, from a computing device, a forecast request seeking sales data of an item if the item is offered for sale at a physical store in a future time period, wherein historical sales data of the item at the physical store is not available; determining, based on the forecast request, at least one relevant feature related to the item or the physical store; computing, based on a machine learning model and the at least one relevant feature, forecasted sales data of the item at the physical store in the future time period; and transmitting the forecasted sales data to the computing device.

ORDER FULFILLMENT USING ROUTES

NºPublicación:  US20260017608A1 15/01/2026
Solicitante: 
FRANCIS THOMAS [US]
Francis Thomas
US_20260017608_PA

Resumen de: US20260017608A1

A system includes a plurality of stocked items arranged throughout a store for picking, a central computing system, and a mobile scanning device. The central computing system is configured to receive a customer order that includes a plurality of ordered items indicating which of the stocked items are to be picked. Each of the ordered items is associated with a location in the store. The central computing system is configured to generate a route for the customer order. The route indicates a sequence in which one or more of the ordered items should be picked. The mobile scanning device includes a display and is configured to wirelessly receive the route from the central computing system and arrange items included in the route on the display based on the sequence indicated in the route.

ORDER BATCHING USING MACHINE LEARNING FOR TIMELINESS PREDICTION BASED ON FULFILLMENT LOCATION PARKING

NºPublicación:  US20260017603A1 15/01/2026
Solicitante: 
MAPLEBEAR INC [US]
Maplebear Inc
US_20260017603_PA

Resumen de: US20260017603A1

An online system predicts time to park at a fulfillment location in fulfillment of an order by a fulfillment user. The online system receives an order from a requesting user, and applies a timeliness prediction model to the order, the parking configuration of the corresponding fulfillment location, to other contextual factors, or some combination thereof to predict the time to park at the fulfillment location. The timeliness prediction model is trained on historical orders with their associated completion times and known parking configurations of the respective fulfillment locations. The online system may batch orders together to optimize fulfillment efficiency in consideration of the predicted lag time for the order. The online system assigns and transmits the batches to fulfillment users to fulfill at the fulfillment locations.

METHOD OF GENERATING A CONTROL SEQUENCE FOR A COMPUTER-AIDED MANUFACTURING FACILITY

NºPublicación:  WO2026015246A1 15/01/2026
Solicitante: 
SIEMENS IND SOFTWARE INC [US]
SIEMENS AG [DE]
SIEMENS INDUSTRY SOFTWARE INC,
SIEMENS AKTIENGESELLSCHAFT
WO_2026015246_PA

Resumen de: WO2026015246A1

A method of generating a control sequence for a computer-aided manufacturing facility includes: providing geometry specifications of previous parts for which previously computer-aided manufacturing-code has been produced; providing a new part geometry specification; generating graph-structured data suitable as input graph-structured data from the geometry specification of the previous parts; generating graph-structured data from the geometry specification of the new part; identifying geometrical features of the new part and the previous parts by performing a sub-graph search in the graph-structured data generated; for every geometrical feature of the new part, analyzing similarity to geometrical features of the previous part and assigning a similarity score for pairs of previous part features and new part features; selecting for each new part feature a previous part feature based on the similarity score; and extracting computer-aided manufacturing-code from the computer-aided manufacturing-codes of the previous parts corresponding to the previous part features selected.

METHOD AND ELECTRONIC DEVICE FOR PROVIDING PAGE

NºPublicación:  WO2026014597A1 15/01/2026
Solicitante: 
COUPANG CORP [KR]
\uCFE0\uD321 \uC8FC\uC2DD\uD68C\uC0AC
WO_2026014597_PA

Resumen de: WO2026014597A1

Disclosed is a method by which an electronic device provides a page. Specifically, the method by which an electronic device provides a page may comprise the steps of: receiving, from a terminal of a user, a request for a page related to an item set including items identified on the basis of a purchase history of the user; dividing the items included in the item set into a first sub-item set and a second sub-item set on the basis of whether the items are out of stock; and providing, to the terminal, the page including a first area for the first sub-item set including the out-of-stock items and a second area for the second sub-item set including items available for purchase, wherein the first area may be located lower than the second area on the page.

SYSTEM AND METHOD FOR INVENTORY MANAGEMENT AND OBJECT AUTHENTICATION

Nº publicación: WO2026013700A1 15/01/2026

Solicitante:

DEMOCRART TECH PRIVATE LIMITED [IN]
DEMOCRART TECHNOLOGIES PRIVATE LIMITED

WO_2026013700_PA

Resumen de: WO2026013700A1

The present disclosure provides a system and a method for inventory management and object authentication The system 100 includes one or more user devices 120a-n configured to receive one or more input data provided by the user. The input data includes user data, object data and label requests. The system 100 includes one or more data repositories 160 and a server 140 configured to receive the input data from the user device 120a-n, register new user by storing in the data repository 160 and authenticate existing users, receive label requests from the user device 120a-n, route label requests to one designated region, schedule appointment with field agents, authenticators and conservators, generate one or more labels with code, dispatch the generated label to the at least one designated region and monitor and track usage of the label.

traducir