Ministerio de Industria, Turismo y Comercio LogoMinisterior
 

Alerta

Resultados 542 resultados
LastUpdate Última actualización 23/01/2026 [06:53:00]
pdfxls
Solicitudes publicadas en los últimos 15 días / Applications published in the last 15 days
previousPage Resultados 225 a 250 de 542 nextPage  

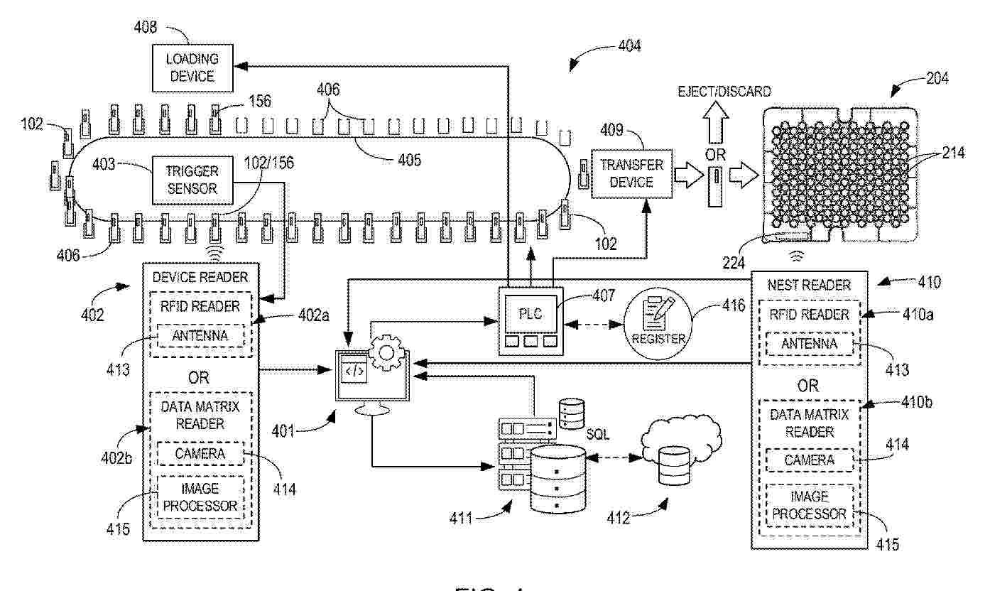
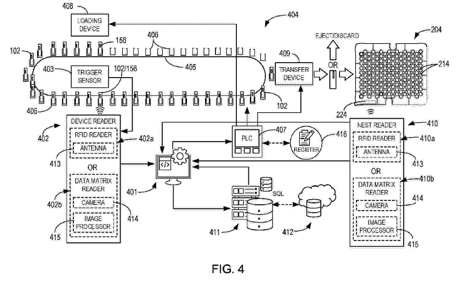
SYSTEM AND METHOD FOR LOCALIZATION OF TAGGED MEDICAL INJECTION DEVICES IN A NEST

NºPublicación:  WO2026015482A1 15/01/2026
Solicitante: 
BECTON DICKINSON AND COMPANY [US]
BECTON, DICKINSON AND COMPANY
WO_2026015482_PA

Resumen de: WO2026015482A1

Provided herein is a system for localizing tagged medical injection devices in a nest. The system includes a conveyor and associated holders that convey and retain injection devices along a conveying path. A device reads each tagged medical injection device to retrieve a unique device identifier (UDI) from the tag. A transfer device transfers each injection device from the conveyor system to a nest having a nest UDI associated therewith. A processor in the system receives a UDI for each injection device and, upon the injection device being transferred to the nest, associates the UDI with a location in the nest at which the injection device is stored and with the nest UDI, so as to register the location of each tagged medical injection device within the nest.

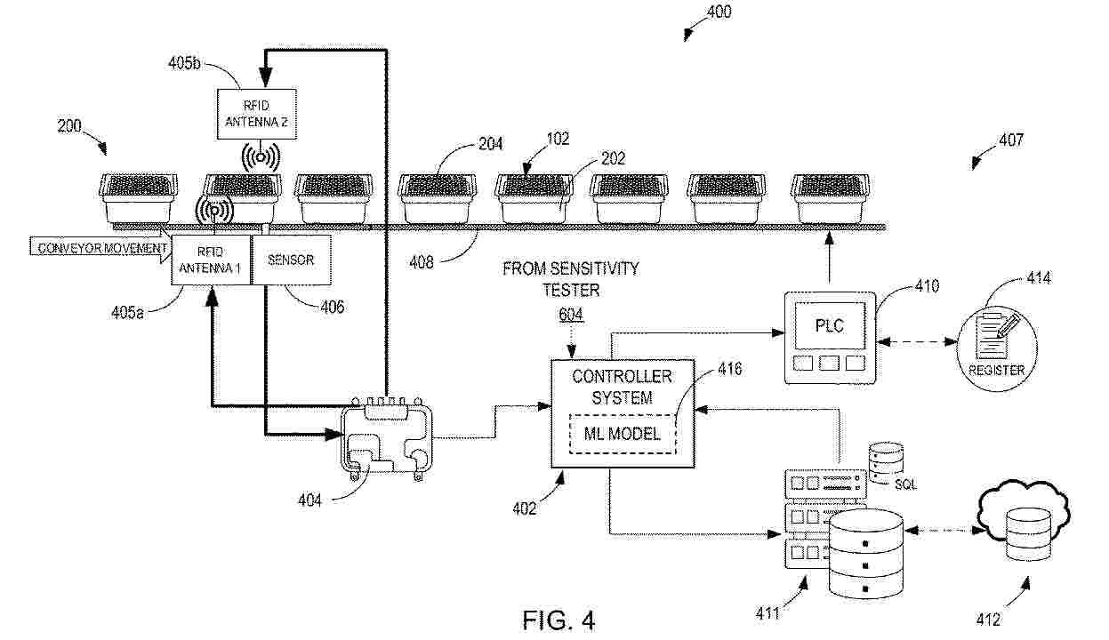
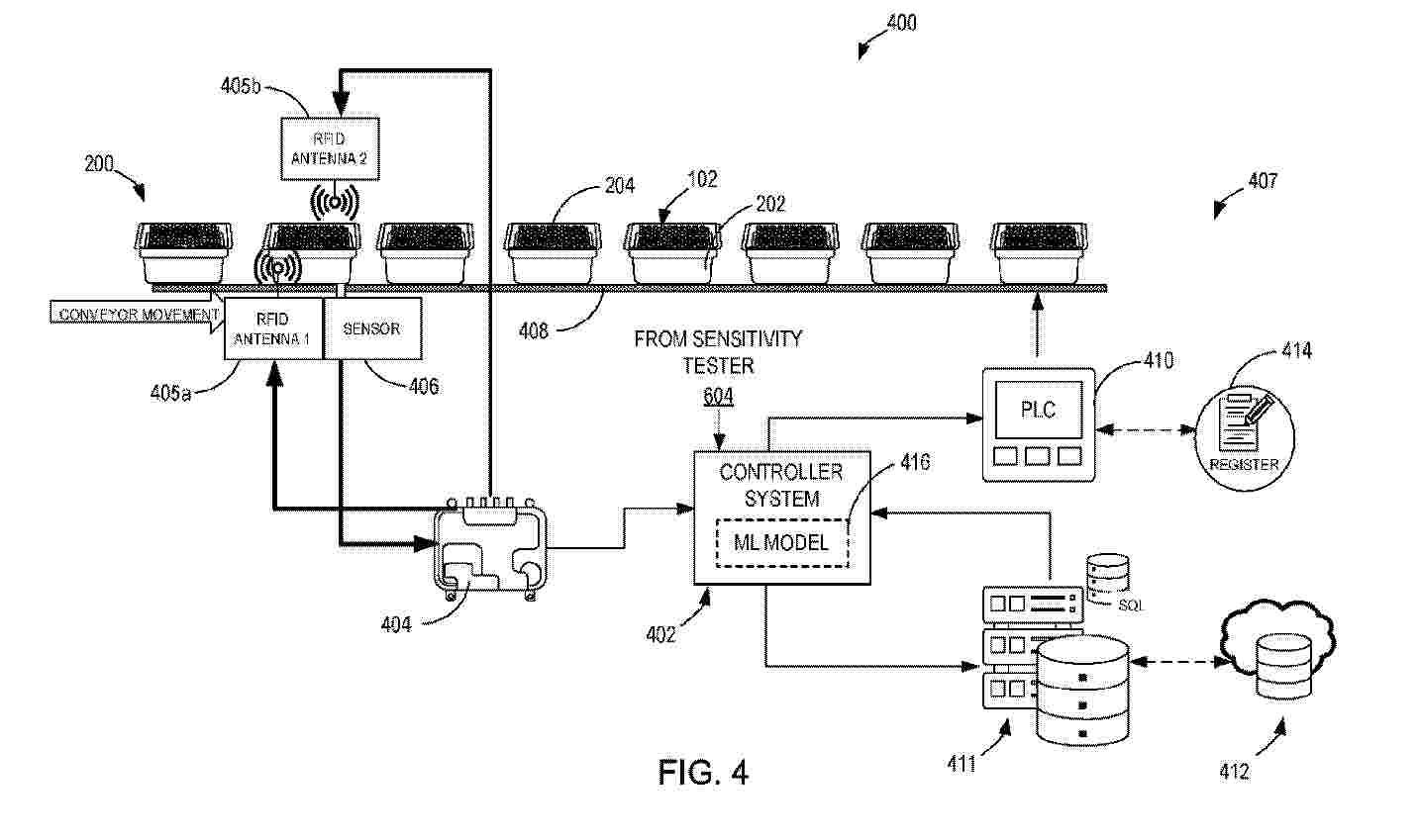
SYSTEM AND METHOD FOR RFID-BASED LOCALIZATION OF MEDICAL INJECTION DEVICES IN A NEST USING MACHINE LEARNING MODELING

NºPublicación:  WO2026015483A1 15/01/2026
Solicitante: 
BECTON DICKINSON AND COMPANY [US]
BECTON, DICKINSON AND COMPANY
WO_2026015483_PA

Resumen de: WO2026015483A1

Provided herein is a system for localizing RFID-tagged medical injection devices in a nest. The system includes a conveyor that conveys nests along a conveying path, each of the nests retaining RFID-tagged medical injection devices. RFID coupling elements and a RFID reader are positioned at a reading location along the conveying path, to read the RFID-tagged medical injection devices via a mass reading and to read the RFID-tagged nest when passing the reading location, including reading identifiers associated with the devices and the nest, as well as read-related parameters of the devices. A ML model receives a model input from the mass reading comprising the UDIs and read-related parameters of the device RFID tags and determines a location of each of the RFID-tagged medical injection devices within the nest based on analysis of the read-related parameters by the ML model.

PATH PLANNING SYSTEM

NºPublicación:  WO2026015554A1 15/01/2026
Solicitante: 
MSIP HOLDINGS LLC [US]
MSIP HOLDINGS, LLC
WO_2026015554_PA

Resumen de: WO2026015554A1

A path planning method includes optionally retrieving data from automated pallets and continuously retrieving data from a database, including information about automated pallets. The path planning method further includes converting data into a detailed ledger of actions to accomplish activities or missions within a facility and providing paths for automated pallets based on the goalframes provided by a mission planner.

A REUSABLE PACKAGING SYSTEM

NºPublicación:  WO2026013221A1 15/01/2026
Solicitante: 
GARG ANTRIKSH [GB]
GARG DIVA NIKHIL [GB]
GARG, Antriksh,
GARG, Diva Nikhil
WO_2026013221_PA

Resumen de: WO2026013221A1

A reusable packaging system 10, comprising: a product container 20 for retaining one or more products; a unique readable code 30 provided on the product container 20; and a server 40 storing variable data 42, the variable data 42 being associated with the unique readable code 30 and being configured to be modified in response to use of the unique readable code 30 at a point of use of the product container 20.

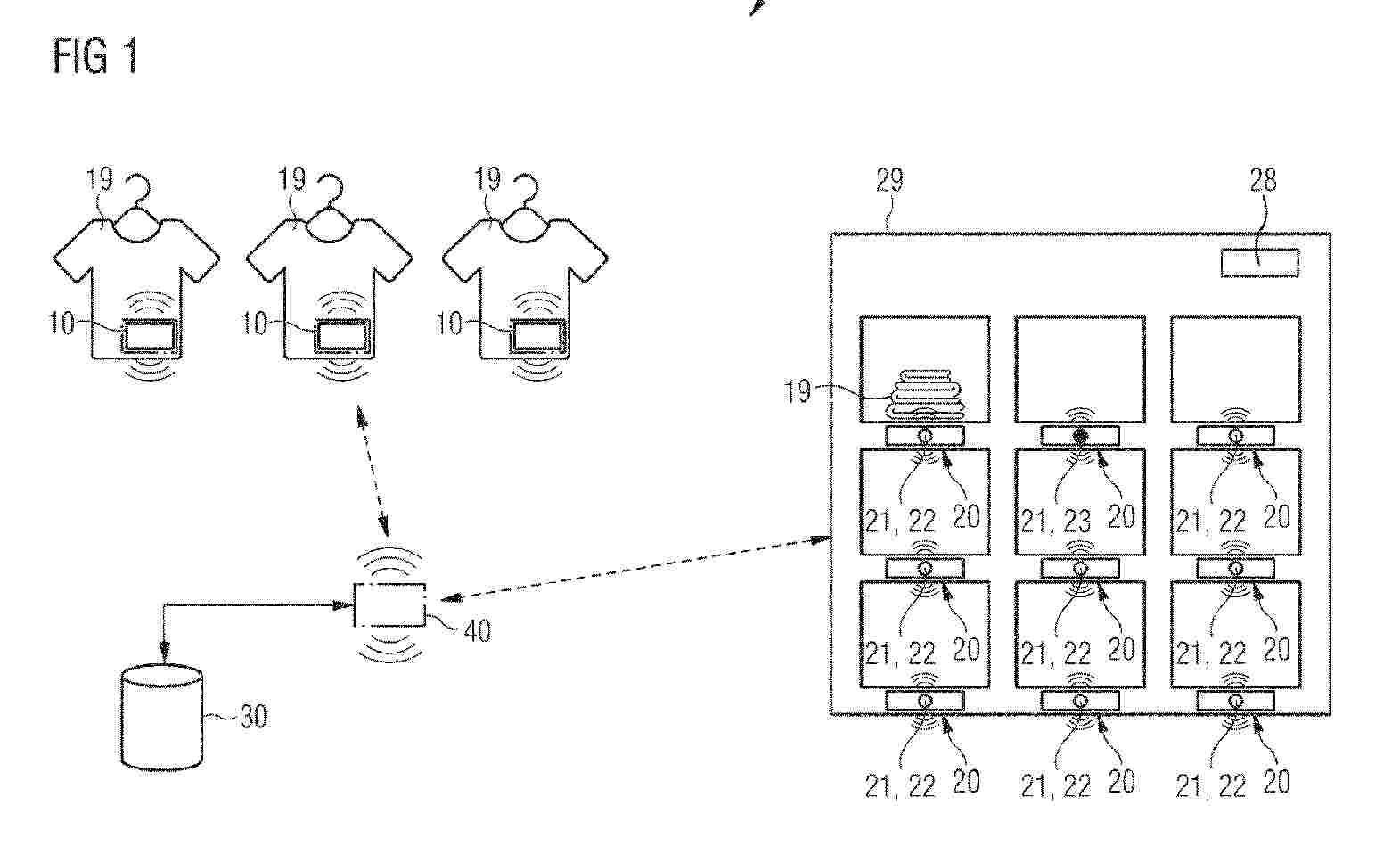
RFID SORTING SYSTEM

NºPublicación:  WO2026013186A1 15/01/2026
Solicitante: 
HID TEXTILE SERVICES SARL [FR]
HID TEXTILE SERVICES SARL
WO_2026013186_PA

Resumen de: WO2026013186A1

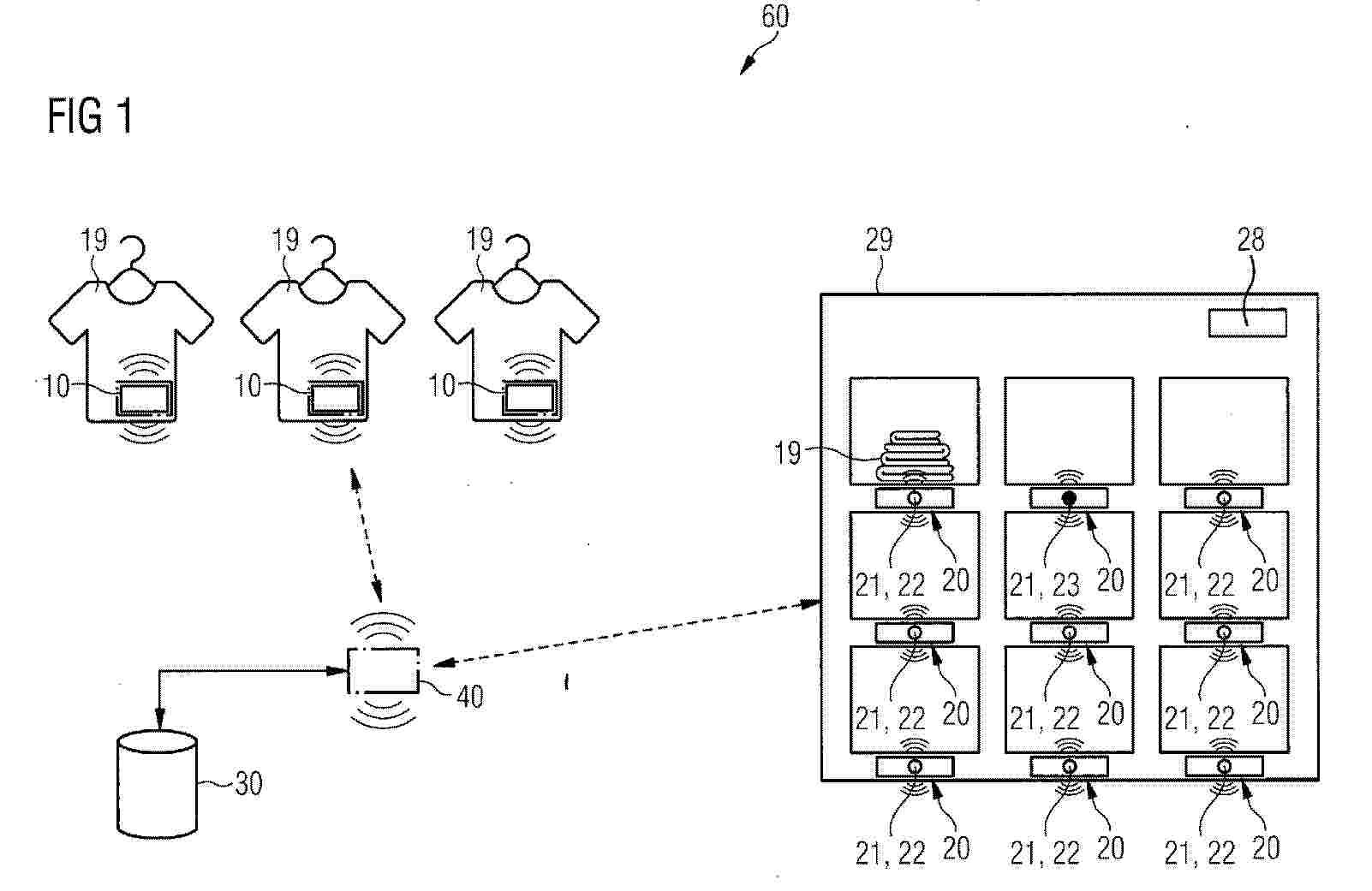
-22- HID Textile Services SARL HID091-39949W Abstract of the Disclosure RFID SORTING SYSTEM An RFID sorting system (60) for sorting items into assigned storing units, comprising a plurality of RFID tags (10), a plurality of RFID labels (20) and an RFID reader (40). Each RFID tag (10) is attachable to an item such as garment (19). Each RFID label (20) is attachable to or close to a storing unit such as a compartment of a shelf (29) and comprising an indicator (21), the indicator (21) being selectively switchable in an off-state (22) or on-state (23). The RFID reader (40) is configured to communicate with the plurality of RFID tags (10) and the plurality of RFID labels (20). The RFID reader (40) comprises a control unit (41) configured to control the RFID reader (40) to wirelessly identify an RFID tag (10) of the plurality of RFID tags (10), assign one of the plurality of RFID labels (20) to the identified RFID tag (10), and wirelessly command the indicator of the assigned label to switch in off-state or on-state. FIG. 1

物流計画システムおよび方法

NºPublicación:  JP2026005098A 15/01/2026
Solicitante: 
株式会社日立製作所
JP_2026005098_PA

Resumen de: JP2026005098A

【課題】再活用により得られる価値を考慮して再生事業の物流計画を評価することを可能にする。【解決手段】使用拠点から発生する使用済製品を回収して再活用に至るまでの一連業務を前記再活用業務拠点により行う業務および配送を定めた物流シナリオについての、一連業務を経済的に評価した経済評価値と、一連業務が環境に与える負荷を評価した第1の環境評価値と、一連業務で得られる将来の製品の製造における資源の削減を評価した第2の環境評価値とを算出し、経済評価値と第1の環境評価値と第2の環境評価値とに基づいて、物流シナリオを総合的に評価した総合評価値を算出する。【選択図】図4

配送管理支援システム、配送管理支援方法および配送管理支援プログラム

NºPublicación:  JP2026004605A 14/01/2026
Solicitante: 
GBtechnology株式会社
JP_2026004605_PA

Resumen de: TW202349298A

An object of the present invention is to provide a delivery management support system, a delivery management support method, and a delivery management support program, which can select an appropriate deliveryman suitable for each segment from among a plurality of deliverymen, in addition, it is also possible to support delivery management of items delivered by a plurality of deliverymen. Wherein it includes: a receiving unit that receives product information and deliveryman information, the product information includes delivery recipient, content, weight, delivery desired amount, and the product information of the desired delivery time, and the deliveryman information includes a plurality of deliverymen who may deliver the goods, a possible segment route from each of the multiple deliverymen that are responsible for delivery, the deliveryman in charge of the segment route, delivery cost of the distributor in charge of the segment route and delivery time; a segmented route generation unit segments the route between the current position of the shipping requester and the delivery recipient according to the plurality of deliverymen, so as to generate a plurality of segmented routes; a segmented path combining part combines two or more segmented paths among the multiple segmented paths; a distributor selection unit, based on the product information and the deliveryman information, the combined deliverymen who are responsible for the distribution of each segment route are selected

SYSTEM FOR CONTROLLING A DEVICE FOR DISPLAYING INFORMATION ON OBJECTS FOR SALE

NºPublicación:  EP4677505A1 14/01/2026
Solicitante: 
COSIUM [FR]
COSIUM
FR_3160501_PA

Resumen de: WO2024184380A1

The invention relates to a control system (204A) comprising a display connector (206A) which is configured to be connected to the display device (202A) and a data processing module (214A) which is configured to control, via the display connector (206A), the display device (202A) in order to display at least one item of information relating to an object (106A) on display. The system further comprises a contactless reader (210A) designed to read a contactless tag (108A) carried by an object (106A) present in a read zone (212A) associated with the contactless reader (210A), wherein the data processing module (214A) is designed to: - automatically detect, via the contactless reader (210A), the placement, in the read zone (212A), of an object (106A) bearing a contactless tag (108A); - obtain, via the contactless reader (210A), an identifier of the object (106A) contained in the contactless tag (108A); and - retrieve at least one item of information associated with the identifier, the at least one item of displayed information comprising each item of retrieved information.

積込みドック及び施設の動作を監視し、管理する方法及び装置

NºPublicación:  JP2026501128A 14/01/2026
Solicitante: 
ライト-ハイト・ホールディング・コーポレーション
JP_2026501128_PA

Resumen de: MX2025006641A

Methods, apparatus, systems, and articles of manufacture to monitor and manage loading docks and facility operations are disclosed. An example apparatus includes processor circuitry to: identify a first occurrence of a safety event based on outputs of sensors associated with at least one of doors or docks, the event associated with a first event type of a plurality of event types; determine a time of day different instances of the event occurred within a given period of time; determine a number of at least one of different doors or different docks associated with the different instances of the event; select a particular corrective action based on the time of day of the different instances of the event and based on the number of the at least one of the different doors or the different docks; and cause an output device to output an indication of the particular corrective action.

配送情報を提供する方法および装置

NºPublicación:  JP2026501041A 14/01/2026
Solicitante: 
クーパンコーポレイション
JP_2026501041_PA

Resumen de: TW202445443A

A method for providing delivery information by an electronic device according to an embodiment of the present disclosure comprises the steps of: identifying whether a first condition for merged delivery is satisfied; when the first condition is satisfied, identifying a first delivery request and a second delivery request which are to be allocated to a first courier among a plurality of delivery requests; and providing a page including information on the first delivery request and the second delivery request to a terminal of the first courier.

END-TO-END PLANNING AND INTERVENTION SYSTEM

NºPublicación:  EP4677424A1 14/01/2026
Solicitante: 
REALKOM TEKSTIL URUNLERI SANAYI PAZARLAMA VE DIS TICARET ANONIM SIRKETI [TR]
REAL SOLUTIONS BILISIM TEKNOLOJILERI SANAYI TICARET ANONIM SIRKETI [TR]
Realkom Tekstil Urunleri Sanayi Pazarlama Ve Dis Ticaret Anonim Sirketi,
Real Solutions Bilisim Teknolojileri Sanayi Ticaret Anonim Sirketi
TR_2023002608_PA

Resumen de: WO2024186303A1

The present invention is an integrated electronic system designed for real time planning and management of any or complete production processes, from storage to shipping, in the textile industry. The system utilizes data from production machinery and equipment, enabling real time planning and intervention. Key components comprise various production departments (storage, modeling, cutting, sewing, washing, ironing-packaging, shipping departments), machinery for process management, a decision engine for real time data interpretation and work order distribution, and a server facilitating data exchange via wireless or wired communication. This end-to-end management system streamlines production by allowing instant updates and modifications, thereby improving efficiency and adaptability in textile manufacturing operations.

DECOUPLED AND MODULAR MULTI CHANNEL ORDER FULFILLMENT SYSTEM WITH CONTROL SYSTEM ADAPTABLE FOR DEMAND-DRIVEN FLEXIBILITY AND PRODUCTIVITY

NºPublicación:  EP4676853A1 14/01/2026
Solicitante: 
DEMATIC CORP [US]
Dematic Corp
CN_120957929_PA

Resumen de: AU2024232431A1

An order-fulfillment system for a warehouse in accordance with the present invention includes a control system (301), a memory (306), a modular inventory storage system (312), and reconfigurable workstations (352). The control system (301) controls fulfillment activities of the warehouse (300), manages the configuration of workstations (352) for order fulfillment, inventory induction, or order packing, and records operational data (294) corresponding to the fulfillment activities in the warehouse (300). The control system (301) comprises a plurality of workflows selected from a library of workflows (304) stored in the memory (306). The memory (306) holds operational data (294). The selected workflows and a configuration of the modular inventory storage system (312) correspond to the current state of the warehouse (301) defined by selected portions of the operational data (294) and expected demands.

EMBEDDED SYSTEMS

NºPublicación:  EP4677529A2 14/01/2026
Solicitante: 
STRONG FORCE TX PORTFOLIO 2018 LLC [US]
Strong Force TX Portfolio 2018, LLC
WO_2024186954_A2

Resumen de: WO2024186954A2

A system may include a data classification module configured to classify data into classified data based on predefined sensitivity levels and regulatory compliance requirements. A system may include an access control module configured to manage permissions for different user roles within an enterprise, granting access to the classified data in accordance with the sensitivity levels and regulatory compliance requirements. A system may include a data formatting module configured to format classified data into formatted data with customized presentations for various enterprise departments. A system may include an integration module configured to interface with at least one of an Enterprise Resource Planning (ERP) system or a Customer Relationship Management (CRM) system to retrieve and classify the data. A system may include a user interface module configured to present the formatted data within the host application, providing a seamless user experience for accessing the embedded marketplace.

A METHOD FOR PREDICTING THE TURN TIME OF A CONTAINER

NºPublicación:  EP4677499A1 14/01/2026
Solicitante: 
MAERSK AS [DK]
Maersk A/S
CN_121153047_PA

Resumen de: WO2024183866A1

Disclosed is a method, performed by an electronic device, for predicting the turn time of a container. The method comprises obtaining shipment data associated with a shipment of one or more containers. The method comprises generating, based on the shipment data, a turn time parameter indicative of a turn time of the container by applying a prediction model to the shipment data. The method comprises providing an output based on the turn time parameter.

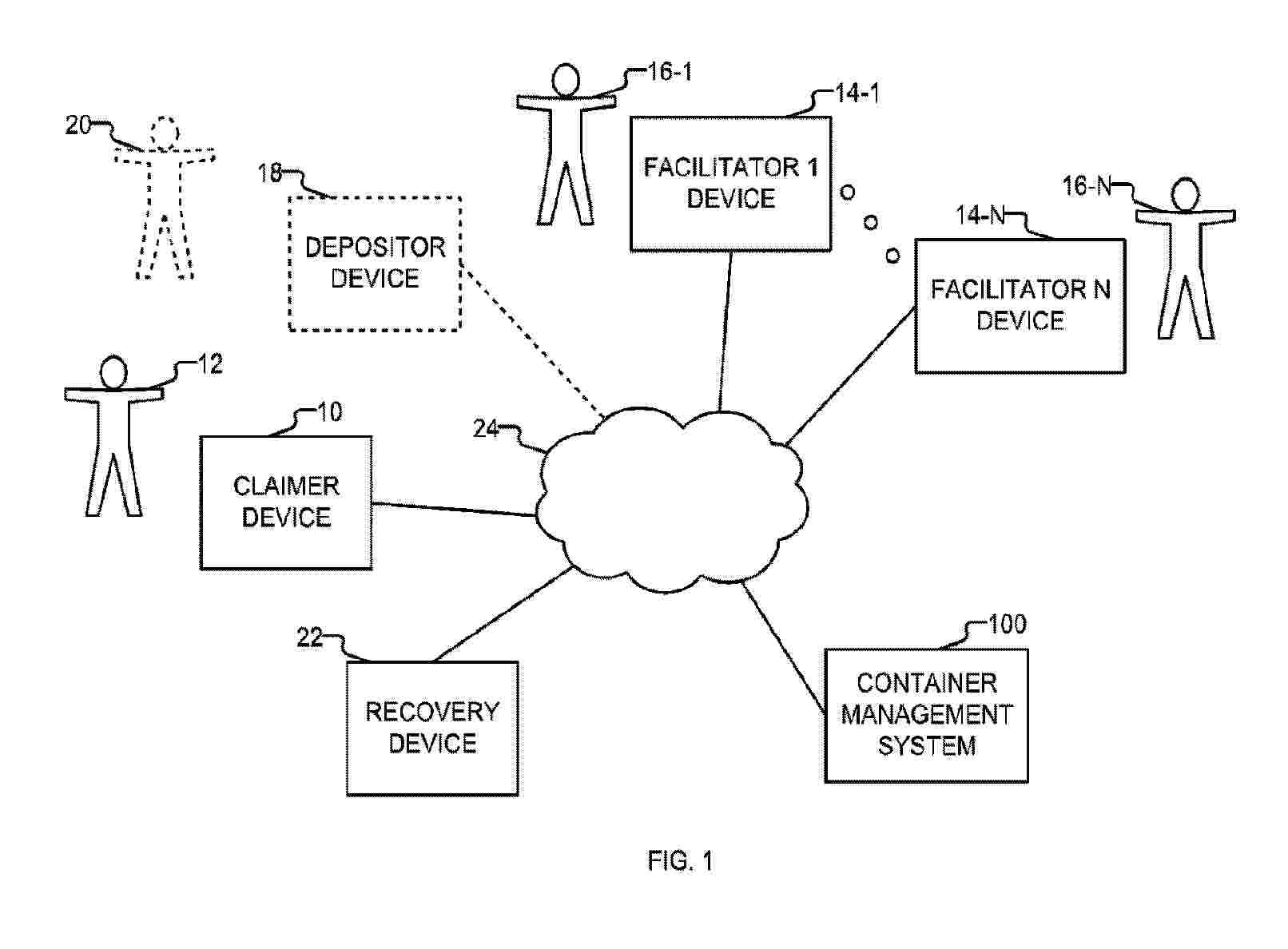
CONTAINER LENDING MANAGEMENT SYSTEM AND METHOD

NºPublicación:  EP4677517A1 14/01/2026
Solicitante: 
WEST COAST HEALTHY VENDING INC [CA]
West Coast Healthy Vending Inc
CA_3236746_PA

Resumen de: CA3236746A1

The present disclosure is directed to systems and methods for administrating deposits. Some embodiments of the methods comprise identifying a container having a paid deposit of a deposit amount; receiving the container ID and a claimer account ID from a claimer device; receiving the container ID and one or more facilitator account IDs from a corresponding number of facilitator devices; receiving the container ID and a recovery notification from a recovery device; determining a claimer payment, and one or more facilitator payments associated with a corresponding one or more of the facilitator account IDs; and settling the claimer payment and the facilitator payments.

SYSTEMS AND METHODS FOR ALLOCATING CATEGORIES OF PRODUCTS TO A DESIGNATED SPACE

NºPublicación:  EP4677532A1 14/01/2026
Solicitante: 
SCALENE GROUP PTY LTD [AU]
Scalene Group Pty Ltd
AU_2024233987_PA

Resumen de: AU2024233987A1

Disclosed herein are systems, methods and a computer readable storage medium for allocating products to a designated space. Preferably the designated space is a space in a display and/or storage environment, such as a physical retail environment, virtual retail environment or a space of a distribution centre.

SYSTEM AND METHOD FOR DETERMINING THE AVAILABILITY AND QUANTITY OF GOODS BY MEANS OF INTERACTION BETWEEN VOICE COMMANDS AND MEASUREMENT OF THE CHANGES IN THE WEIGHT OF THE GOODS

NºPublicación:  EP4679042A1 14/01/2026
Solicitante: 
STEPHANOV LOLOV CHRISTO [BG]
Stephanov Lolov, Christo
EP_4679042_PA

Resumen de: EP4679042A1

The invention is titledSystem and method for determining the availability and quantity of goods by means of interaction between voice commands and measurement of the changes in the weight of the goods.The purpose of the invention is to be an accurate and easy-to-use system for tracking the number and quantity remaining of items (in grams or other standard units) thus enabling their inventarisation. The system has a wide range of uses within households as well as in industry.A few sample usages of the invention are for it to be fitted in refrigerators, freezers, cupboards, shelves, racks, and pantries allowing access to their contents from afar. The invention could further be incorporated in medical cabinets, shelves in shelving units of supermarkets, racks in warehouses, assembly lines and others.The invention solves the problem of the presence and quantity remaining of an item by a combination of voice commands and changes in the weight as reported by the plate(s) on which the item is placed.

RFID SORTING SYSTEM

NºPublicación:  EP4679320A1 14/01/2026
Solicitante: 
HID TEXTILE SERVICES SARL [FR]
HID Textile Services SARL
EP_4679320_PA

Resumen de: EP4679320A1

An RFID sorting system (60) for sorting items into assigned storing units, comprising a plurality of RFID tags (10), a plurality of RFID labels (20) and an RFID reader (40). Each RFID tag (10) is attachable to an item such as garment (19). Each RFID label (20) is attachable to or close to a storing unit such as a compartment of a shelf (29) and comprising an indicator (21), the indicator (21) being selectively switchable in an off-state (22) or on-state (23). The RFID reader (40) is configured to communicate with the plurality of RFID tags (10) and the plurality of RFID labels (20). The RFID reader (40) comprises a control unit (41) configured to control the RFID reader (40) to wirelessly identify an RFID tag (10) of the plurality of RFID tags (10), assign one of the plurality of RFID labels (20) to the identified RFID tag (10), and wirelessly command the indicator of the assigned label to switch in off-state or on-state.

SYSTEM AND METHOD FOR LOCALIZATION OF TAGGED MEDICAL INJECTION DEVICES IN A NEST

NºPublicación:  EP4679319A1 14/01/2026
Solicitante: 
BECTON DICKINSON CO [US]
Becton, Dickinson and Company
EP_4679319_PA

Resumen de: EP4679319A1

Provided herein is a system for localizing tagged medical injection devices in a nest. The system includes a conveyor and associated holders that convey and retain injection devices along a conveying path. A device reads each tagged medical injection device to retrieve a unique device identifier (UDI) from the tag. A transfer device transfers each injection device from the conveyor system to a nest having a nest UDI associated therewith. A processor in the system receives a UDI for each injection device and, upon the injection device being transferred to the nest, associates the UDI with a location in the nest at which the injection device is stored and with the nest UDI, so as to register the location of each tagged medical injection device within the nest.

SYSTEM AND METHOD FOR RFID-BASED LOCALIZATION OF MEDICAL INJECTION DEVICES IN A NEST USING MACHINE LEARNING MODELING

NºPublicación:  EP4679316A1 14/01/2026
Solicitante: 
BECTON DICKINSON CO [US]
Becton, Dickinson and Company
EP_4679316_PA

Resumen de: EP4679316A1

Provided herein is a system for localizing RFID-tagged medical injection devices in a nest. The system includes a conveyor that conveys nests along a conveying path, each of the nests retaining RFID-tagged medical injection devices. RFID coupling elements and a RFID reader are positioned at a reading location along the conveying path, to read the RFID-tagged medical injection devices via a mass reading and to read the RFID-tagged nest when passing the reading location, including reading identifiers associated with the devices and the nest, as well as read-related parameters of the devices. A ML model receives a model input from the mass reading comprising the UDIs and read-related parameters of the device RFID tags and determines a location of each of the RFID-tagged medical injection devices within the nest based on analysis of the read-related parameters by the ML model.

SYSTEM AND METHOD FOR AUTOMATIC GENERATION OF GEOFENCED EQUIPMENT GROUPINGS

NºPublicación:  EP4677508A1 14/01/2026
Solicitante: 
OSHKOSH CORP [US]
Oshkosh Corporation
US_2025116994_PA

Resumen de: US2025116994A1

A system may include a connectivity module communicatively and physically coupled to a work machine and a processing circuit configured to generate a profile corresponding to the connectivity module and the work machine. The processing circuit may include memory devices configured to store instructions that cause the one or more processors to: generate the profile corresponding to the work machine and the connectivity module, the profile initially comprising a base state; receive data indicative of one or more functionalities of the work machine; populate, after receiving the data indicative of the one or more functionalities of the work machine, the profile with entries that define a machine-specific state of the profile that facilitates data interpretation and collection related to the one or more functionalities of the work machine; and send the profile comprising the machine-specific state to the connectivity module.

ALPHANUMERIC RECOGNIZER FOR UNIQUE IDENTIFIERS OF ARTICLES OF MANUFACTURE

NºPublicación:  EP4677507A1 14/01/2026
Solicitante: 
CATERPILLAR INC [US]
Caterpillar, Inc
AU_2024231533_PA

Resumen de: AU2024231533A1

Techniques for determining a unique identifier (108). In examples, an image (104) of a string of alphanumeric characters representing a unique identifier (108) disposed on an article of manufacture (106) may be input into an image processing pipeline (112) that is configured to determine a first possible identifier (122) and a second possible identifier (122). The techniques may also include generating a third possible identifier (122) by replacing a first character included in the first possible identifier (122) or the second possible identifier (122) with a second character that the first character is mapped to in a confusing alphanumeric characters map (200). The techniques may also include determining whether the first possible identifier (122), the second possible identifier (122), or the third possible identifier (122) matches the unique identifier (108) disposed on the article of manufacture (106). Based at least in part on a determination that the first possible identifier (122) matches the unique identifier (108), a software file (126) related to the article of manufacture (106) may be obtained.

METHOD FOR RETURNING A GOODS SHIPMENT

NºPublicación:  EP4677506A1 14/01/2026
Solicitante: 
SMART MILE SOLUTIONS B V [NL]
Smart Mile Solutions B.V
DE_102023105775_A1

Resumen de: WO2024184481A1

The present invention relates to a method for returning a goods shipment, which is to be returned, via a local return network using a shipment terminal, comprising the following steps: a. initiating a return task, according to which the goods shipment to be returned is to be returned via the local return network, b. storing the goods shipment to be returned in the shipment terminal; c. creating an offer to purchase the goods shipment to be returned via the local return network; d. accepting, by a return purchaser, the offer to purchase the goods shipment to be returned; e. collecting, by the return purchaser, the goods shipment to be returned from the shipment terminal. Such a method enables the return costs to be reduced and sustainability to be improved.

A METHOD AND SYSTEM FOR CONSTRUCTING AND/OR OPERATING AN APPARATUS COMPRISING MULTIPLE DIFFERENT PHYSICAL COMPONENTS

NºPublicación:  EP4677502A1 14/01/2026
Solicitante: 
KOIOS MASTER DATA LTD [GB]
Koios Master Data Limited
GB_2632218_PA

Resumen de: GB2632218A

A system and a method are provided for constructing and/or operating an apparatus comprising multiple different physical components. The method includes maintaining a computer- implemented data store comprising at least master data records and a data dictionary. The data dictionary defines a set of concepts. Each of the master data records corresponds to a type of physical component and is associated with a concept in the data dictionary that describes that type of physical component. The method further includes curating the data dictionary by identifying first and second concepts in the data dictionary, which describe first and second types of physical component, as equivalent and combining the first and second concepts into a single concept in the data dictionary to describe both the first and second types of physical component. The method further includes determining that a physical component having the first type is to be utilised for constructing and/or operating the apparatus, and identifying in the data store a physical component of the second type, whereby the first and second types of physical components are both described by said single concept. The method further comprises utilising a physical component of the second type for constructing and/or operating the apparatus.

RISK MANAGEMENT AND ROUTE PLANNING FOR INTERNET OF THINGS (IOT) DEVICES

Nº publicación: EP4677501A1 14/01/2026

Solicitante:

QUALCOMM INC [US]
QUALCOMM INCORPORATED

CN_120693624_PA

Resumen de: CN120693624A

Systems and techniques for routing for asset delivery are described herein. For example, a network entity can receive, from one or more devices associated with one or more users, one or more sets of delivery criteria for delivering one or more assets for the one or more users. The network entity can determine delivery plan information for delivery of the one or more assets based on the one or more sets of delivery criteria. The network entity can send one or more delivery notifications associated with delivery of the one or more assets to one or more devices associated with the one or more users. Delivery information of the one or more delivery notifications is based on a respective service level (e.g., a priority service level, a basic service level, etc.) associated with each of the one or more users.

traducir