Ministerio de Industria, Turismo y Comercio LogoMinisterior
 

Alerta

Resultados 560 resultados
LastUpdate Última actualización 23/11/2025 [06:52:00]
pdfxls
Solicitudes publicadas en los últimos 15 días / Applications published in the last 15 days
previousPage Resultados 150 a 175 de 560 nextPage  

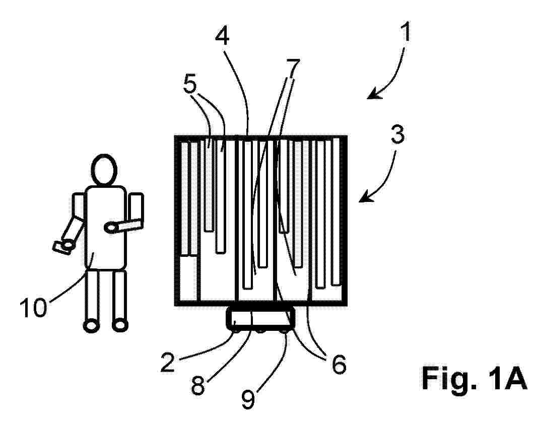
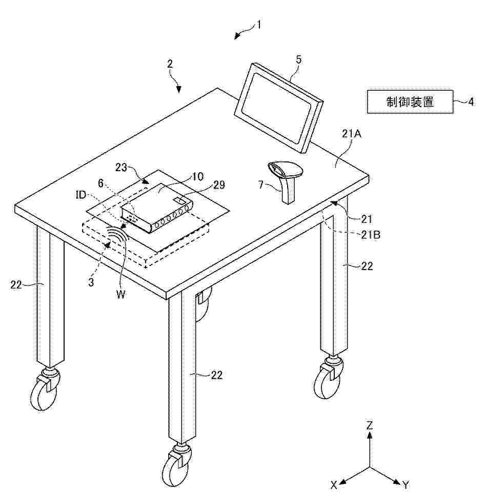
Inventory system

NºPublicación:  GB2641006A 19/11/2025
Solicitante: 
OCTOPUS ENERGY SERVICES LTD [GB]
Octopus Energy Services Limited
GB_2641006_PA

Resumen de: GB2641006A

An automatic inventory system for a vehicle, such as a van 100, containing a store with a plurality of items stored in containers 104. The system measures stock level data for each of the containers and wirelessly transmits the stock level data for each item to an inventory engine, and the system comprises a portable item store with at least one container for items, the store being removable from the vehicle and further being associated with at least one sensor device to determine the contents of the store. The system wirelessly transmits the output of the at least one sensor device to the engine. This results in automatic tracking of the inventory levels of a portable store that may be removed from the vehicle, thus improving the visibility of items and resulting in easier item tracking when multiple agents use the same vehicle. The at least one sensor device may be mounted to the portable store or the vehicle, and may comprise at least one weight sensing device.

METHOD FOR CREATING A DIGITAL IMAGE OF A SALES AREA

NºPublicación:  EP4649432A1 19/11/2025
Solicitante: 
VUSIONGROUP DEUTSCHLAND GMBH [DE]
VusionGroup Deutschland GmbH
AU_2023423829_PA

Resumen de: AU2023423829A1

The invention relates to a method for creating a digital image of a sales area, comprising the method steps listed below, namely: - computerised generation of a digital image of the sales area using a recording from at least one location-variable camera device which provides a digital image of the surrounding region of its movement path in the sales area, and - computerised updating of a part of the digital image of the sales area using a recording from at least one fixed camera device which provides a digital image of a part of the sales area.

SYSTEMS AND METHODS FOR CRYPTOGRAPHIC AUTHENTICATION OF CONTACTLESS CARDS

NºPublicación:  EP4651534A2 19/11/2025
Solicitante: 
CAPITAL ONE SERVICES LLC [US]
Capital One Services, LLC
EP_4651534_A2

Resumen de: EP4651534A2

Example embodiments of systems and methods for data transmission between a contactless card, a client device, and one or more servers are provided. The memory of the contactless card may include one or more applets and a counter. The client device may be in data communication with the contactless card and one or more servers, and the one or more servers may include an expected counter value. The client device maybe configured to read the counter from the contactless card and transmit it to the one or more servers. The one or more servers may compare the counter to the expected counter value for synchronization. The contactless card and the one or more servers may resynchronize the counter, via one or more processes, based on one or more reads of the one or more applets. The one or more servers may authenticate the contactless card based on the resynchronization.

WAREHOUSE EXECUTION SYSTEM, DEVICES, AND METHOD

NºPublicación:  EP4649037A1 19/11/2025
Solicitante: 
SYSTEMEX AUTOMATION INC [CA]
Systemex Automation Inc
WO_2024148436_PA

Resumen de: WO2024148436A1

Distribution centers can be heavily dependent on human labor to prepare shipping cases that contain the customer products. The disclosure provides an automated system, comprising a control entity including a data processor for receiving via data communication over a data network a customer order, the customer order identifying a plurality of different products being ordered, a packing cell having a robotic arm, and a plurality of autonomous mobile robots, wherein the control entity releases instructions to the plurality of autonomous mobile robots such that selected autonomous mobile robots retrieve and bring a plurality of master cases to the packing cell, each master case of the plurality of master cases holding a plurality of identical products, and wherein the control entity releases instructions to the packing cell to direct the robotic arm to pick and place one or more products from the plurality of master cases into a shipping case.

SUPPLY CHAIN PLANNING WITH GENERATIVE AI CAPABILITIES

NºPublicación:  EP4651046A1 19/11/2025
Solicitante: 
ROCKWELL AUTOMATION TECH INC [US]
Rockwell Automation Technologies, Inc
EP_4651046_PA

Resumen de: EP4651046A1

A multi-tenant, cloud-based Software-as-a-Service (SaaS) manufacturing cloud system offers a variety of industrial applications to end customers, including but not limited to MES, ERP, quality management, supply chain management, and customer relationship management (CRM). The system includes extensibility tools that allows industrial customers to customize databases, data collection templates, reporting fields, and other features of their consumed services, eliminating the need for these features to be customized by an administrator of the cloud system. Some embodiments of the manufacturing cloud system can also leverage generative artificial intelligence (AI) in connection with executing its supported services.

METHOD FOR COMMISSIONING BY MEANS OF AN INDUSTRIAL TRUCK WITH A ROTATABLE GOODS RECEIVING DEVICE

NºPublicación:  EP4650304A1 19/11/2025
Solicitante: 
SAFELOG GMBH [DE]
Safelog GmbH
EP_4650304_PA

Resumen de: EP4650304A1

Die vorliegende Erfindung betrifft ein Verfahren zum Kommissionieren von unterschiedlichen Aufträgen zugeordneten Waren (5) unter Verwendung eines Kommissioniersystems (1) mit einem Flurförderfahrzeug (2) und einer drehbar darauf gelagerten Warenaufnahmevorrichtung (3) zur Aufnahme von Waren (5) in auftragsspezifischen Warensektoren (7). Das Verfahren umfasst die folgenden Schritte:- Bereitstellen der zu kommissionierenden, einem ersten Auftrag zugeordneten ersten Ware an einer ersten Übergabeposition,- Aufnehmen der ersten Ware an der ersten Übergabeposition durch einen Kommissionierer (10),- Positionieren des Kommissioniersystems (1) in der Nähe des Kommissionierers (10),- Verdrehen der Warenaufnahmevorrichtung (3) gegenüber dem Flurförderfahrzeug (2.1) dergestalt, dass ein dem ersten Auftrag zugewiesener erster Warensektor (7.1) der Warenaufnahmevorrichtung (3) dem Kommissionierer (10) zugewandt ist.

AUTOMATED CARBON ASSET NETWORK SYSTEM AND CARBON ASSET MANAGEMENT METHOD

NºPublicación:  EP4651050A1 19/11/2025
Solicitante: 
CEDARS DIGITAL PTE LTD [SG]
Cedars Digital Pte. Ltd
EP_4651050_PA

Resumen de: EP4651050A1

An automated carbon asset network system (30) and a carbon asset management method are provided. The automated carbon asset network system (30) includes a carbon asset management digital platform (300) realizing a carbon inventory executed for an enterprise through a computer system, and the carbon asset management digital platform (300) includes a carbon asset network establishing module (301), a carbon asset network connection module (303), and a carbon asset network update module (305). The carbon asset management method includes: receiving data for stakeholders (311), internal or external carbon asset management digital platform (312, 313), carbon asset management report formats (314, 315), and carbon inventory obtained through automated customized questionnaires (316), by using the application program interface (310); automatically integrating carbon inventory data for supply chains and performing version control; digitally managing a full scope of an organizational greenhouse gas inventory and product carbon footprint information throughout product life cycles for brands in the enterprise; and generating documents according to requirements.

STOCK MANAGEMENT DEVICE, STOCK MANAGEMENT METHOD, AND STOCK MANAGEMENT PROGRAM

NºPublicación:  EP4651051A1 19/11/2025
Solicitante: 
AMADA CO LTD [JP]
Amada Co., Ltd
EP_4651051_PA

Resumen de: EP4651051A1

A stock management device is configured to be able to execute an identifier issuance process of issuing a unique identifier for each piece of nesting data, a part information acquisition process of acquiring part information of one or more pieces of part data included in the nesting data, and an association process of associating the identifier of the nesting data with the part information of the part data included in the nesting data, in which the nesting data is able to include the part data for an ordered part having a manufacturing number and the part data for a work-in-process stock part having no manufacturing number, so that the work-in-process stock part is managed by the identifier.

INVENTORY PROCESSING METHOD AND APPARATUS, AND DEVICE

NºPublicación:  EP4651019A1 19/11/2025
Solicitante: 
VIVO MOBILE COMMUNICATION CO LTD [CN]
Vivo Mobile Communication Co., Ltd
EP_4651019_PA

Resumen de: EP4651019A1

An inventory processing method and apparatus and a device are provided, and belong to the field of communication technologies. The method includes: A first device receives a first command, where the first command is used for inventory and obtaining code information of a target device (301); and the first device determines, according to the first command, whether to feed back code information of the first device (302).

SYSTEM FOR AUTOMATICALLY ASSEMBLING PALLETS CARRYING A SET OF PARCELS BY FIRST DETERMINING AN OPTIMISED PALLET PLAN

NºPublicación:  EP4651049A1 19/11/2025
Solicitante: 
EQUANS DIGITAL ROBOTIC INTEGRATION [FR]
INEO TINEA [FR]
EQUANS [FR]
Equans Digital Robotic Integration,
Ineo Tinea,
Equans
EP_4651049_PA

Resumen de: EP4651049A1

Procédé de constitution automatique d'une palette (103) supportant un ensemble de colis (101) appartenant à une commande, comprenant des étapes de- réception d'informations (3) relatives à l'ensemble de colis comportant au moins des dimensions pour chaque colis ;- établissement d'un plan de palette à partir de ces informations ;- aiguillage de colis (101) vers un convoyeur (105) d'une sous-plateforme affectée à la commande ;- stockage des colis (101) reçus au moyen du convoyeur (105) dans un espace de stockage temporaire (104) par un bras préhenseur robotisé (102) ;- lorsque l'ensemble de colis est stocké dans l'espace de stockage temporaire, constitution de la palette (103) par la bras préhenseur (102), en sélectionnant les colis dans l'espace de stockage (104) selon un ordre dépendant du plan de palette, et en les positionnant, successivement, selon ce plan de palette

一种模型堆叠方法、装置、电子设备及存储介质

NºPublicación:  CN120974567A 18/11/2025
Solicitante: 
杭州海康机器人股份有限公司
CN_120974567_PA

Resumen de: CN120974567A

本申请实施例提供了一种模型堆叠方法、装置、电子设备及存储介质,涉及仓储技术领域,所述方法包括:在界面中显示需要堆叠物体模型的容器模型;响应于堆叠区域的第一设置操作,确定所述容器模型中的堆叠区域并渲染显示所述堆叠区域;响应于物体模型的第二设置操作,确定所要堆叠的物体模型的尺寸信息;根据所述物体模型的尺寸信息和所述堆叠区域的尺寸信息,确定所述物体模型在所述堆叠区域中的目标位置;根据所述目标位置,在所述堆叠区域上渲染显示所述物体模型。通过上述方法可以将各类容器模型的堆叠问题统一为堆叠区域的堆叠问题,实现了堆叠算法与实体类型的分离,从而提高在容器模型内堆叠物体模型的通用性。

一种基于AI大模型的物流数字化管理系统

NºPublicación:  CN120975674A 18/11/2025
Solicitante: 
河北智旦网络技术有限公司
CN_120975674_PA

Resumen de: CN120975674A

本发明公开了一种基于AI大模型的物流数字化管理系统,包括数据获取模块、分配模型和应用端,所述数据获取模块用于获取多个节点产生的多条物流业务的数据,并将获取的数据上传至数据接收模块,应用端与数据库连接,用于读取数据库数据;数据接获取模块包括数据中心和与数据中心连接的边缘计算中心,数据中心能够将一部分的物流业务数据流传输至边缘计算中心,并且部署在网络带宽增量最小的边缘计算中心上,用于提高物物流业务的数据由节点到数据获取模块的传输速率。本发明能够实现提高物物流业务的数据由节点到数据获取模块的传输速率的目的,进而能够实现提高系统应用端对物流业务数据的处理效率。

一种基于处方条码识别的煎药工艺全流程控制方法

NºPublicación:  CN120977508A 18/11/2025
Solicitante: 
艾迪斯特(厦门)科技有限公司
CN_120977508_PA

Resumen de: CN120977508A

本发明公开了一种基于处方条码识别的煎药工艺全流程控制方法,其步骤包括:S1.扫描处方条码,由仓库控制系统WCS向仓库管理系统WMS请求获取处方信息并验证完整性,所述处方信息包括药材种类、数量及煎药参数;S2.在获取处方信息后,将空药桶放置至输送线,当药桶到达绑定工位时自动扫描药桶条码,由WCS将药桶条码与处方条码绑定并同步至WMS,建立药桶与处方的唯一对应关系;本发明通过处方条码识别技术与智能控制系统深度融合,从根本上解决了传统煎药工艺中计量不准‑加水失当‑煎煮失控‑质量不稳‑追溯不能的系统性难题。

越库分播的方法、装置、电子设备及介质

NºPublicación:  CN120975697A 18/11/2025
Solicitante: 
北京京东远升科技有限公司
CN_120975697_PA

Resumen de: CN120975697A

本公开涉及一种越库分播的方法、装置、电子设备及介质,应用于终端设备的方法包括:对当前分播任务对应的目标待分播货物进行识别,得到货物识别信息;根据派发分播数据和货物识别信息,确定目标待分播货物的同类型货物对应的目标分播信息并进行显示;目标分播信息包括:同类型货物对应的分播起点信息,包含关联收货容器信息或中转区域信息;作为分播终点的目标分播区域和对应的目标分播数量;接收分播过程中的界面交互操作;分播过程基于目标分播信息执行;根据界面交互操作,生成同类型货物的目标分播记录。能由多个分播人员携带终端设备同步进行多种类型货物的分播,提升分播效率,能减少人工分播出错概率,便于进行分播过程的追溯。

一种订单处理方法及装置

NºPublicación:  CN120975698A 18/11/2025
Solicitante: 
北京京东远升科技有限公司
CN_120975698_PA

Resumen de: CN120975698A

本发明公开了一种订单处理方法及装置,涉及仓储拣货技术领域。该方法的一具体实施方式包括:从根据预设约束条件得到的每一拣货任务中确定出目标个数的订单,并将确定出的订单移回到订单池中;目标个数与拣货任务对应的订单数有关;根据订单池中的未分配订单,相对于拣货任务中的订单,分别对应的储位集中度,从未分配订单中为拣货任务确定出储位集中度满足预设条件的待加入订单;根据约束条件,从待加入订单中确定出目标个数的第一目标订单,并将其加入到拣货任务中;循环上述步骤预设次数或预设时长。该实施方式实现了在满足约束条件的前提下,根据储位集中度对拣货任务对应的拣货距离进行多次优化,从而提高了拣货作业效率,降低了拣货成本。

零部件的仓储方法、装置、电子设备和可读存储介质

NºPublicación:  CN120964256A 18/11/2025
Solicitante: 
一汽物流(青岛)有限公司
CN_120964256_PA

Resumen de: CN120964256A

本申请公开了一种零部件的仓储方法、装置、电子设备和可读存储介质。其中,该方法包括:获取待仓储的零部件的几何信息以及姿态信息;基于几何信息、姿态信息以及零部件的仓储约束条件,确定零部件的仓储策略,其中,仓储策略用于指示仓储零部件的规则,仓储约束条件用于表征零部件的仓储需求;基于仓储策略,确定零部件对应的仓储箱的形变控制参数;基于形变控制参数,调整仓储箱的几何结构,得到目标仓储箱;按照仓储策略,控制目标仓储箱仓储零部件。本申请解决了相关技术中零部件的仓储空间利用率低的技术问题。

一种危化品实验室监管应急系统

NºPublicación:  CN120975741A 18/11/2025
Solicitante: 
香港科技大学(广州)
CN_120975741_PA

Resumen de: CN120975741A

本申请涉及实验室智能管理技术领域,公开了一种危化品实验室监管应急系统,系统以中央处理单元为核心,整合多维感知、台账登记、实验室数字孪生模型库、取用交叉验证、行为识别干预、应急响应策略及移动端交互助手七大模块,构建起危化品取用合规性验证、人员操作安全监控到智能应急响应的完整闭环管理体系,全面提升危化品实验室安全管理水平。系统可实现各模块数据实时联动,打破信息孤岛,从源头规避取用违规、实时阻断操作风险、高效处置突发状况,同时依托移动端交互助手导航提升应急效率,全面强化危化品全生命周期监管能力,显著降低实验室安全事故发生率,并提升事件应急处置效率,提升整体安全管理的智能化与精细化水平。

一种基于大数据的智慧企业管理平台

NºPublicación:  CN120975834A 18/11/2025
Solicitante: 
深圳市企邦创新服务有限公司
CN_120975834_PA

Resumen de: CN120975834A

本发明公开了一种基于大数据的智慧企业管理平台,具体涉及企业管理技术领域,包括需求制定模块、销量调整模块以及供应商评估模块;本发明通过获取历史销量均值作为初步预测,再结合销量变化率、售价影响比以及满意程度评分的分析结果进行二次修正,即通过计算预估修正指数,最终映射至调整集合得到置信销量,解决了现有技术中缺乏对销量趋势、价格波动及用户评价的多维度分析,导致预测精度低,无法适应市场变化的问题。

基于服务网络建模和外切法线性化的多式联运优化方法、系统、设备及存储介质

NºPublicación:  CN120975308A 18/11/2025
Solicitante: 
合肥工业大学
CN_120975308_PA

Resumen de: CN120975308A

本发明公开了一种基于服务网络建模和外切法线性化的多式联运优化方法、系统、设备及存储介质,方法包括:步骤1、获取物理网络数据,为物理创建服务网络;步骤2、构建非线性的收入函数,采用外切法对非线性收入函数进行分段线性化处理;步骤3构建混合整数线性规划优化模型的目标函数和约束;步骤4、求解步骤3建立的目标函数,得到多式联运的最优运输方案。系统包括数据输入模块、服务网络构建模块、需求处理模块、模型构建模块、求解引擎模块、结果分析模块,用于实现方法;设备和存储介质用于实现上述方法。本发明提高了网络建模精确性和非线性处理效率,具有实用性强、适用性强、扩展性好的优点。

一种基于运筹优化的无人机智能调度方法

NºPublicación:  CN120975420A 18/11/2025
Solicitante: 
重庆三峡学院
CN_120975420_A

Resumen de: CN120975420A

本发明涉及无人机调度领域,提出一种基于运筹优化的无人机智能调度方法。该方法通过采集任务位置、任务量、优先级、时间窗及无人机续航、载荷、速度等信息,构建优化模型。模型以最大化任务完成总优先级和最小化无人机总飞行成本为目标,考虑多种约束条件。采用遗传算法等优化技术求解模型,得到最优调度方案。在任务执行中,实时监测环境变化,动态调整方案。该方法适用于物流配送、农业植保、测绘、应急救援等领域,能高效调度无人机,提升资源利用效率,降低成本,具有广泛应用前景。

一种半导体智能物流管理方法及系统

NºPublicación:  CN120975713A 18/11/2025
Solicitante: 
苏州鸿安机械股份有限公司
CN_120975713_PA

Resumen de: CN120975713A

本发明属于半导体制造管理技术领域,本发明提供了一种半导体智能物流管理方法及系统,包括:在多个历史物流周期内,根据实时追踪晶圆生产线上的每个阶段晶圆生产所需要的时间,得到光刻胶预送时间,能够确保在对晶圆进行生产时光刻胶准时到达,避免过早到达导致存储成本增加或过晚到达影响生产进度,还能够根据实时生产情况和物流状态进行动态调整,有助于减少晶圆生产过程中因等待光刻胶而产生的空闲时间,避免错过光刻胶的有效使用周期,对多个历史物流周期内的光刻胶预送时间进行预送匹配度分析,评估预送时间是否匹配,筛选出低匹配生产线,不仅有助于合理安排库存水平,还能够避免因预送过早导致库存积压或预送过晚导致库存短缺的问题。

一种基于实时供应链态势风险感知的智能体服务平台

NºPublicación:  CN120975557A 18/11/2025
Solicitante: 
北京聚智行大数据发展有限公司
CN_120975557_PA

Resumen de: CN120975557A

本发明涉及供应链风险分析技术领域,尤其涉及一种基于实时供应链态势风险感知的智能体服务平台,本发明设置数据获取模块、节点特征识别模块、节点特征分析模块,以及节点调控模块,通过节点特征识别模块筛选风险节点,通过节点特征分析模块确定传输波动曲线,判定下一监测周期是否存在传输风险,通过节点调控模块确定供应链的风险节点倾向系数,以选定对供应链上各风险节点调整传输数据中分润数据带宽占比,或发出预警。本发明实现了根据节点的数据传输波动特征对具有传输风险的时段进行预测,根据预测结果适应性地对供应链上的各风险节点进行调整,提高用于供应链态势风险感知的智能体服务平台的可靠性和处理效率。

一种面向仓库产品的可视化建模方法及系统

NºPublicación:  CN120976429A 18/11/2025
Solicitante: 
广州宏穆信息科技有限公司
CN_120976429_PA

Resumen de: CN120976429A

本发明涉及仓库管理技术领域,更具体地说,它涉及一种面向仓库产品的可视化建模方法及系统,其技术方案要点包括以下步骤:S1、获取产品的订单数据;S2、对所述订单数据进行预处理,生成净数据;S3、构建分组处理模块,所述分组处理模块基于所述净数据对所述产品进行分组,生成产品包;S4、构建堆叠模块,所述堆叠模块基于所述净数据和所述产品包,对所述产品包内的所述产品进行堆叠计算,生成所述产品包的堆叠方案;S5、构建三维建模模块,所述三维建模模块基于所述堆叠方案对所述产品包进行三维建模,生成可视化立体模型。本发明具有不依赖人工,适配多样化的订单,自动生成可视化模型的优点。

一种数字化车场协同的过海货车预约管理系统

NºPublicación:  CN120975273A 18/11/2025
Solicitante: 
海南中远海运科技有限公司
CN_120975273_PA

Resumen de: CN120975273A

本发明公开了一种数字化车场协同的过海货车预约管理系统,包括:判断模块,用于获取货车司机的聊天记录,对聊天记录进行处理,根据处理结果判断是否生成货车过海预约信息;配置模块,用于根据货车过海预约信息配置多维度指标和货物类别指标,并根据多维度指标和货物类别指标进行过海通道配置,为过海货车分配最优的过海通道;过海货车调度模块,根据过海货车的位置,为过海货车分配相应的最优车位;能够考虑多个指标参数,为过海货车动态分配相应的过海通道,并根据过海通道分配相应的停车场车位;从而提高过海通道资源的利用效率,进而提高船舶的周转效率。

一种拖轮多目标优化调度方法及系统

Nº publicación: CN120975446A 18/11/2025

Solicitante:

江苏科技大学武汉船用电力推进装置研究所(中国船舶集团有限公司第七一二研究所)江苏省船舶与海洋工程设计研究院

CN_120975446_PA

Resumen de: CN120975446A

本发明提出一种拖轮多目标优化调度方法,包括:获取港口拖轮基地数据、现役拖轮数据以及周期内所有船舶数据,建立船舶与现役拖轮之间的匹配规则表;建立以最小化拖轮总作业成本和最小化拖轮总作业时间为双目标函数并嵌入港口作业核心业务约束的拖轮多目标协同优化调度的数学模型,核心业务约束用于保障调度方案的可行性与多目标协同优化能力;采用多维实数编码描述拖轮分配问题,设置初始个体和种群,采用Q学习算法构建拖轮调度多目标优化决策框架;通过深度耦合Jaya算法的精英解导向特性与Q学习的动态决策能力,构建全局‑局部协同拖轮调度优化机制;利用融合Q学习的Jaya算法求解构建的拖轮调度模型,以得到所述目标函数的最优解。

traducir