Ministerio de Industria, Turismo y Comercio LogoMinisterior
 

Alerta

Resultados 560 resultados
LastUpdate Última actualización 23/11/2025 [06:52:00]
pdfxls
Solicitudes publicadas en los últimos 15 días / Applications published in the last 15 days
previousPage Resultados 125 a 150 de 560 nextPage  

基于实时大数据预测的立库入库库位推荐决策方法

NºPublicación:  CN120996718A 21/11/2025
Solicitante: 
国投融合科技股份有限公司
CN_120996718_PA

Resumen de: CN120996718A

本发明公开了一种基于实时大数据预测的立库入库库位推荐决策方法,涉及仓储管理技术领域,基于实时大数据预测的立库入库库位推荐决策方法主要包括:根据立库库存获取待入库物料信息;根据所述待入库物料信息,确定待入库物料存在于立库库存中;根据立库中同物料所在库位信息,查找同物料所在库位的相邻库位作为入库推荐库位;若未能找到合适库位或确定待入库物料不存在于立库库存中;查找空库位巷道的最中间库位作为入库推荐库位;若无法找到合适库位,利用出库预测法来查找入库推荐库位;若无法找到合适库位则生成无合适入库库位的提示。实施本发明提供的基于实时大数据预测的立库入库库位推荐决策方法,能提升物料出入库的效率。

基于物联网的电商供应链全流程溯源防伪方法及平台

NºPublicación:  CN120996822A 21/11/2025
Solicitante: 
日喀则成优供应链管理有限公司
CN_120996822_PA

Resumen de: CN120996822A

本发明公开了基于物联网的电商供应链全流程溯源防伪方法及平台,方法通过二维码加密算法对商品基础信息编码生成初始二维码,利用GPS轨迹融合模型采集处理商品运输轨迹,结合电商供应链参数动态更新二维码;在销售终端经解密校验判断商品真伪与流转合规性,并反馈结果。对应平台包含多维信息加密编码、时空轨迹感知处理等六大模块,各模块协同运作,实现商品从生产到销售全流程的信息加密、实时追踪、动态更新、精准校验与闭环管理,有效解决传统技术信息管理落后、动态监控缺失的问题,为电商供应链提供可靠的溯源防伪解决方案,提升供应链管理水平与商品安全性。

一种数据中心的硬盘管理方法、装置及系统

NºPublicación:  CN120995514A 21/11/2025
Solicitante: 
上海浦东发展银行股份有限公司
CN_120995514_PA

Resumen de: CN120995514A

本说明书实施例涉及一种数据中心的硬盘管理方法、装置及系统,所述方法包括:识别采购到货的硬盘图像,得到硬盘属性信息;根据硬盘属性信息确定硬盘的关联服务器,并基于硬盘图像和所述硬盘属性信息,在关联服务器中建立档案信息;接收目标硬盘从服务器退出时的拍摄图像;根据历史图像对拍摄图像进行验证,通过后提示将目标硬盘运输至下一指定设备;根据历史图像、拍摄图像和下一指定设备对目标硬盘的扫描图像,确定目标硬盘的第一验证信息,以及根据下一指定设备对目标硬盘的物理属性验证结果,确定第二验证信息;根据第一验证信息和第二验证信息,确定目标硬盘是否为待处理硬盘。本说明书实施例解决了现有硬盘管理方法安全性较低的问题。

一种基于区块链技术的中药全产业链质量追溯与监管系统及方法

NºPublicación:  CN120996629A 21/11/2025
Solicitante: 
淮阴工学院
CN_120996629_PA

Resumen de: CN120996629A

本发明公开了一种基于区块链技术的中药全产业链质量追溯与监管系统及方法,包括上位信息监管模块、中药生产过程模块、公众信息查询模块和仓储物流管理模块,构建了种植‑加工‑储存‑流通的全流程区块链可信追溯体系,其中各节点数据经区块链节点加密上链,结合AI质量评估单元构建中药质量预测模型,通过云服务器整合上位信息监管模块的接收单元、分析处理单元,实现监管部门对生产数据的实时监控,同时依托公众信息查询模块的终端界面优化和身份验证单元,构建多方参与的透明追溯机制。本发明将区块链不可篡改特性与物联网实时采集技术相结合,辅以AI智能分析,有效提升中药质量监管效率,保障中医药产业全链条质量安全。

PACKAGING MANAGEMENT METHOD AND SYSTEM THEREOF

NºPublicación:  US2025356304A1 20/11/2025
Solicitante: 
COUPANG CORP [KR]
Coupang Corp
KR_102801345_B1

Resumen de: US2025356304A1

A packaging management method is disclosed. The method may be performed by a computing device, and may comprise: receiving an order of a customer including fresh products and non-fresh products; determining a type of fresh product packagable together with the non-fresh product among the fresh products as a target fresh product based on a result of classifying types of the fresh products according to a temperature; and automatically determining whether or not to package the target fresh product and the non-fresh product in the same packaging container.

EFFICIENT ALLOCATION OF RESOURCES IN A FLEET MANAGEMENT SYSTEM

NºPublicación:  WO2025240056A1 20/11/2025
Solicitante: 
WING AVIATION LLC [US]
WING AVIATION LLC
WO_2025240056_PA

Resumen de: WO2025240056A1

In some embodiments, a computer-implemented method for managing resources of a fleet of unmanned aerial vehicles (UAVs) is provided. A computing system creates a mission record and one or more candidate records. Each candidate record of the one or more candidate records represents one or more resources for accomplishing a mission represented by the mission record. The computing system adds a mission node representing the mission record to a resource competition network graph (RCN graph). The computing system adds one or more candidate nodes representing the one or more candidate records to the RCN graph. The computing system determines an optimized allocation of candidate records to mission records using at least a subgraph of the RCN graph. A candidate record is determined to commit to a mission record, and the computing system updates the RCN graph to commit the candidate record to the mission record.

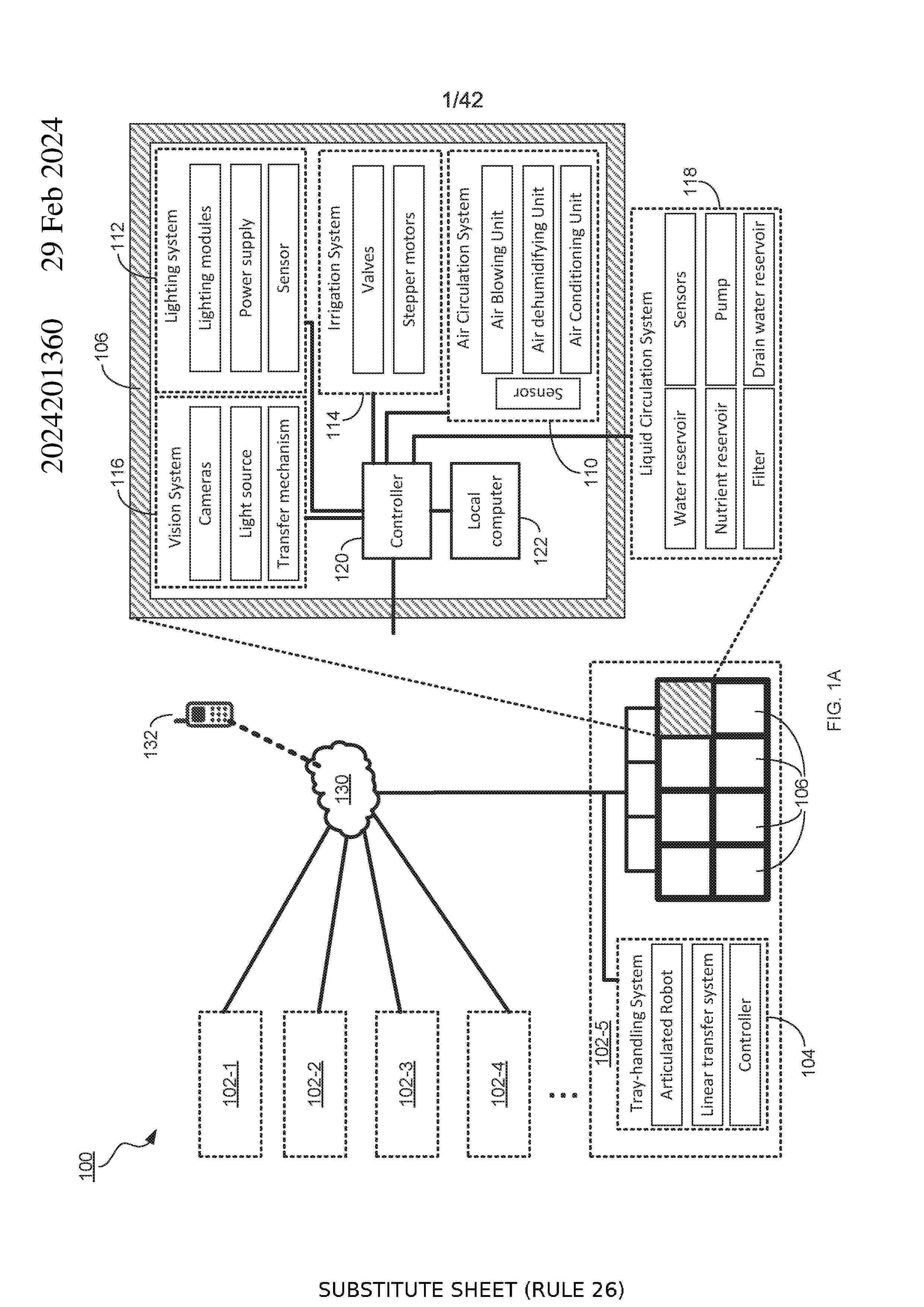
SYSTEM AND METHOD FOR CONTROLLING INDOOR FARMS REMOTELY AND USER INTERFACE FOR SAME

NºPublicación:  US2025351781A1 20/11/2025
Solicitante: 
80 ACRES URBAN AGRICULTURE INC [US]
80 ACRES URBAN AGRICULTURE, INC
AU_2024201360_A1

Resumen de: US2025351781A1

A method for receiving, over a computer network, from a plurality of devices installed in an indoor farming module, a plurality of data associated with at least one of: a water level in a watering reservoir, a pH level in an irrigation system, a temperature in the indoor farming module, a humidity level in the indoor farming module, a carbon dioxide level in the indoor farming module, and a power relay status, filtering the received plurality of data on a remote computer based on a filtering field, displaying, in a plurality of panels, the filtered data received from the plurality of devices; configuring a plurality of schedules for the plurality of devices, wherein the plurality of schedules comprise at least one of an irrigation schedule, a lighting schedule, and a data collection schedule, and sending the configured plurality of schedules to one or more controllers of the indoor farming module.

SYSTEM AND METHOD FOR DETECTING AND IDENTIFYING CONTAINER NUMBER IN REAL-TIME

NºPublicación:  US2025356665A1 20/11/2025
Solicitante: 
ATAI LABS PRIVATE LTD [IN]
ATAI LABS PRIVATE LIMITED
WO_2023203452_PA

Resumen de: US2025356665A1

Exemplary embodiments of the present disclosure are directed towards a method for detecting and identifying container number in real-time. Monitoring vehicle carrying containers and triggering first camera, second camera, third camera, fourth camera, fifth camera, and laser sensors to capture container views by pre-processing module. Transmitting containers image data to computing device by the pre-processing module. Detecting container number region in container image frames by visual object detection module. Cropping container number region by visual object detection module. Applying two-dimensional Fast Fourier Transform on cropped container number region. Segmenting each character situated in container number region by segmentation and character classification module. Classifying each character situated in container number region by segmentation and character classification module. Arranging characters in order based on relative positions of characters to obtain container number information by segmentation and character classification module. Aggregating container image frames and generating container number by post-processing module.

SYSTEMS AND METHODS FOR MANAGING DIRECT EXCHANGE

NºPublicación:  US2025356404A1 20/11/2025
Solicitante: 
SWAPRETAIL INC [US]
Swapretail, Inc
US_2023143689_PA

Resumen de: US2025356404A1

According to one aspect, the system provides an automated platform for managing R2R, that preserves vendor control over of the communication between retailers. For example, according to one embodiment of the system, only authorized retailers of specific vendors are able to list, request, buy, sell and swap products on the system. In further examples, the system controls execution so that exchanges can occur anonymously, while maintaining the assurances that transactions are facilitated by authorized parties at vendor-set prices. In yet other example, the system permits authorized retailers to list non-performing goods for authorized retailers to obtain by purchase or swap at wholesale cost. In yet other example, the system permits authorized retailers to request goods at wholesale cost and display the requests in a workflow that permits providers execute fulfillment.

ARTIFICIAL INTELLIGENCE-SUPPORTED SETUP AND EXECUTION OF BACKORDER PROCESSING

NºPublicación:  US2025356308A1 20/11/2025
Solicitante: 
SAP SE [DE]
SAP SE

Resumen de: US2025356308A1

A computer-implemented method for improved backorder processing (BOP) in an enterprise resource planning system is disclosed. The method can receive one or more user prompts from a user interface and create a BOP segment using a large language model. The BOP segment selects a subset of a plurality of order requirements using one or more filters determined based on the one or more user prompts. A filter is defined by an attribute, an operator, and one or more attribute values. The method can create a BOP variant using the large language model. The BOP variant defines a confirmation scheme for the BOP segment based on the one or more user prompts. The method can further execute the BOP variant using the large language model, including batch processing the subset of the plurality of order requirements using the confirmation scheme.

MOBILE APPARATUS WITH COMPUTER VISION ELEMENTS FOR CLASSIFYING SHELF-SPACE

NºPublicación:  US2025356306A1 20/11/2025
Solicitante: 
TARGET BRANDS INC [US]
Target Brands, Inc
US_2023245058_PA

Resumen de: US2025356306A1

Disclosed are systems and techniques for determining out of stock conditions on shelves. The techniques can include receiving, by a computing system, image data from a camera having pixel locations that each uniquely address and store a pixel value, generating a backing map having cell locations that each uniquely address and share a unique address with a corresponding pixel location in the image data, each cell location storing a backing value being an empty value if the pixel value is classified as showing the backing of a shelf and the backing value being a nonempty value if the pixel value is classified as not showing the backing of the shelf, determining, in the backing map, a shelf area representing a location of the captured shelf, and identifying an empty area by finding an area above the shelf area containing a threshold number of cell locations storing the empty value.

ELECTROMAGNETIC STATE SENSING DEVICES

NºPublicación:  US2025356146A1 20/11/2025
Solicitante: 
LYTEN INC [US]
Lyten, Inc
JP_2025166015_PA

Resumen de: US2025356146A1

A container includes a surface defining a volume of the container, a first resonance portion disposed on a first portion of the surface of the container using one or more first carbon-based inks, and a second resonance portion disposed on a second portion of the surface of the container using one or more second carbon-based inks different than the one or more first carbon-based inks. The first resonance portion can resonate within a first range of frequencies in response to one or more electromagnetic pings received from a user device, and the second resonance portion can resonate within a second range of frequencies in response to the one or more electromagnetic pings, the second range of frequencies being different than the first range of frequencies. In some instances, the user device may be a smartphone, a radio frequency identification (RFID) reader, or a near-field communication (NFC) device.

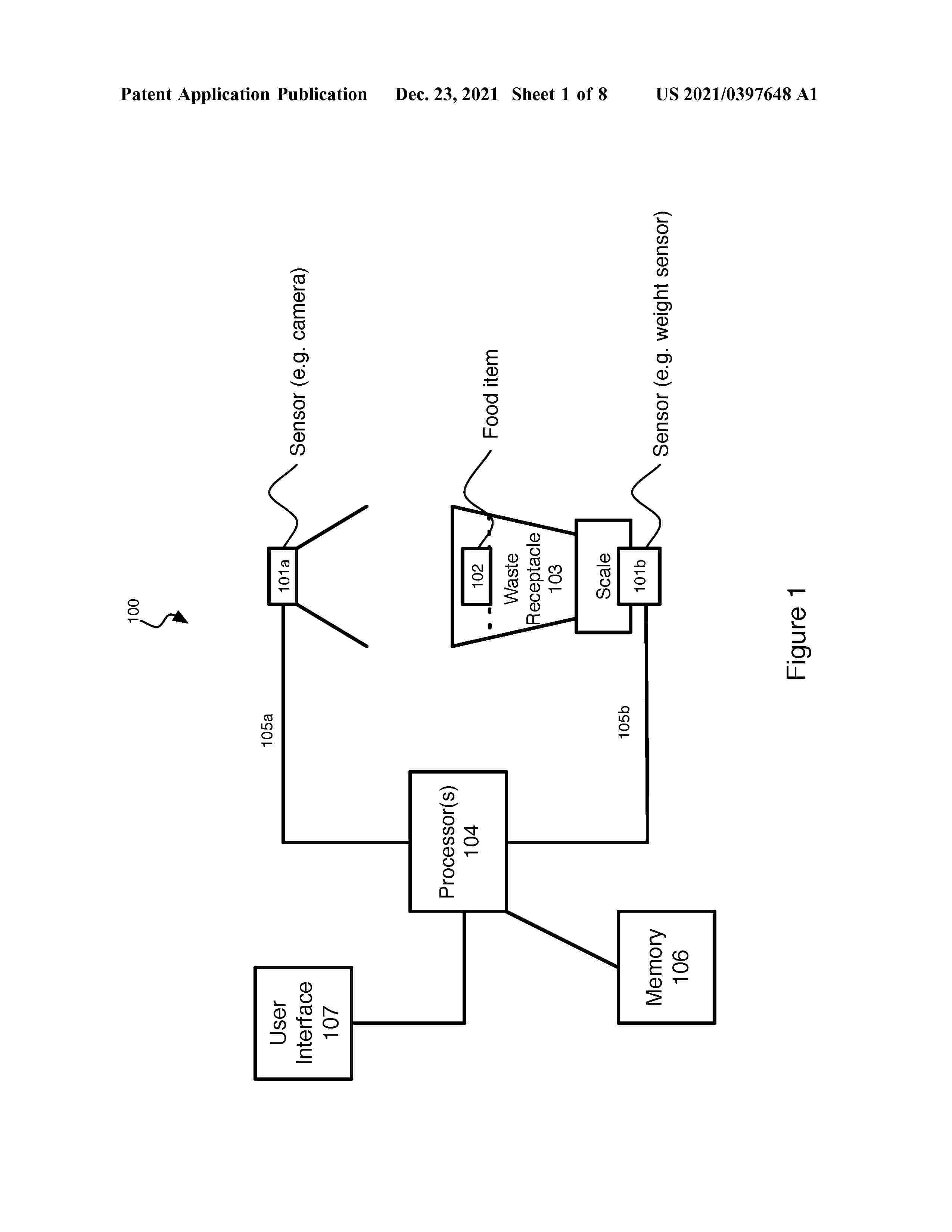
METHOD AND SYSTEM FOR CLASSIFYING FOOD ITEMS

NºPublicación:  US2025356311A1 20/11/2025
Solicitante: 
WINNOW SOLUTIONS LTD [GB]
WINNOW SOLUTIONS LIMITED
US_2021397648_A1

Resumen de: US2025356311A1

The present invention relates to a method for classifying food items. The method includes the steps of: capturing one or more sensor data relating to a food item event; and classifying the food item, at least in part, automatically using a model trained on sensor data. A system and software are also disclosed.

METHODS FOR GENERATING AN APPLICATION PROGRAMMING INTERFACE INVENTORY AND DEVICES THEREOF

NºPublicación:  US2025356310A1 20/11/2025
Solicitante: 
F5 INC [US]
F5, Inc
CN_119065661_PA

Resumen de: US2025356310A1

A method, system, non-transitory computer readable media, and communication system for generating an Application Programming Interface (API) inventory. The method comprises obtaining source code associated with a software application and analyzing the source code to identify one or more first API endpoints in the software application. The method further comprises obtaining API traffic between a server running the software application and a client device and analyzing the API traffic to identify one or more second API endpoints in the software application. Then the method comprises generating an API inventory by combining the identified one or more first API endpoints and the one or more second API endpoints into a single data structure.

ADVERSARIAL GENERATION OF SOFTWARE BILL OF MATERIALS (SBOM) FOR COMPUTING SECURITY

NºPublicación:  US2025356023A1 20/11/2025
Solicitante: 
INTUIT INC [US]
INTUIT INC

Resumen de: US2025356023A1

Aspects of the present disclosure provide techniques for adversarial software intelligence document generation. Embodiments include scanning, by a computing device, a software application during execution of the software application on a server that is remote from the computing device to determine application attributes and fingerprinting the software application based on the application attributes in order to determine a component application of the software application. Embodiments include utilizing a database of open source software structural information to determine one or more subcomponent applications of the component application and generating, by the computing device, a software intelligence document indicating the component application and the one or more subcomponent applications in a standardized software intelligence document format. Embodiments include performing one or more actions related to computing security based on the software intelligence document.

CARGO SENSORS, CARGO-SENSING UNITS, CARGO-SENSING SYSTEMS, AND METHODS OF USING THE SAME

NºPublicación:  US2025356303A1 20/11/2025
Solicitante: 
I D SYSTEMS INC [US]
I.D. SYSTEMS, INC
US_2024169303_PA

Resumen de: US2025356303A1

A cargo-sensing unit including: an image sensor; a transceiver; at least one processor; and a memory having stored thereon computer program code that, when executed by the processor, controls the at least one processor to: receive, from a controlling server and through the transceiver, an instruction to capture an image of cargo space within a cargo container; control the image sensor to capture an image of the cargo space in response to receiving the instruction; and operate in accordance with a determined cargo container status based on an analysis of the captured image.

SUPPLY CHAIN MANAGEMENT APPARATUS, SUPPLY CHAIN MANAGEMENT METHOD, AND SUPPLY CHAIN MANAGEMENT SYSTEM

NºPublicación:  US2025356295A1 20/11/2025
Solicitante: 
HITACHI LTD [JP]
Hitachi, Ltd

Resumen de: US2025356295A1

Provided are a supply chain management apparatus, a supply chain management method, and a supply chain management system that make it possible to more accurately assess risks to a supply chain by assessing the risks to the supply chain according to data sources that are more significant for each user. The supply chain management apparatus includes a data read section and a priority data extraction section. The data read section acquires data sources as data related to risks that affect a supply chain. The priority data extraction section selects target data for assessing the risks from the data sources according to significance of the data sources and user's acceptance of the data sources and assesses the risks to the supply chain according to the target data.

METHOD FOR ORDER PICKING USING AN AUTOMATED GUIDED VEHICLE WITH A ROTATABLE GOODS RECEIVING DEVICE

NºPublicación:  US2025355447A1 20/11/2025
Solicitante: 
SAFELOG GMBH [DE]
Safelog GmbH
DE_102024113630_PA

Resumen de: US2025355447A1

A method is for picking goods assigned to different orders using a picking system with an automated guided vehicle and a goods receiving device rotatably mounted thereon for receiving goods in order-specific goods sectors. The method includes providing the first good to be picked, assigned to a first order, at a first transfer position, picking up the first good at the first transfer position by an order picker, positioning the picking system near the order picker, and rotating the goods receiving device relative to the automated guided vehicle in such a way that a first goods sector of the goods receiving device assigned to the first order faces the order picker.

Integrated Consumable Data Management System and Platform

NºPublicación:  AU2025259995A1 20/11/2025
Solicitante: 
MESO SCALE TECHNOLOGIES LLC
Meso Scale Technologies, LLC
AU_2025259995_A1

Resumen de: AU2025259995A1

The present invention relates to methods, devices and systems for associating consumable data with an assay consumable used in a biological assay. Provided are assay systems and associated consumables, wherein the assay system adjusts one or more steps of an assay protocol based on consumable data specific for that consumable. Various types of consumable data are described, as well as methods of using such data in the conduct of an assay by an assay system. The present invention also relates to consumables (e.g., kits and reagent containers), software, data deployable bundles, computer-readable media, loading carts, instruments, systems, and methods, for performing automated biological assays. (figure 2) The present invention relates to methods, devices and systems for associating consumable data with an assay consumable used in a biological assay. Provided are assay systems and associated consumables, wherein the assay system adjusts one or more steps of an assay protocol based on consumable data specific for that consumable. Various types of consumable data are described, as well as methods of using such data in the conduct of an assay by an assay system. The present invention also relates to consumables (e.g., kits and reagent containers), software, data deployable bundles, computer-readable media, loading carts, instruments, systems, and methods, for performing automated biological assays. (figure 2) ct c t

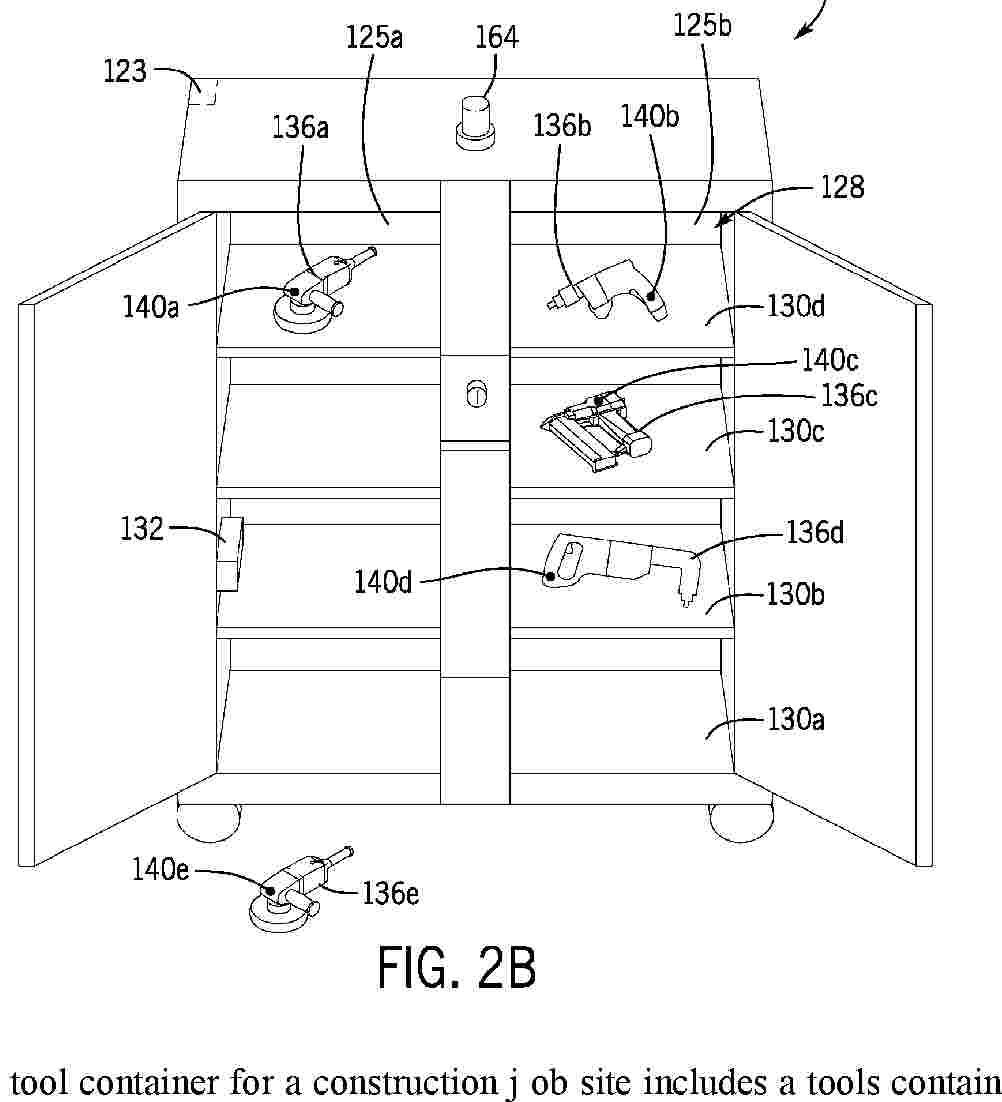
SELF-INVENTORYING CONSTRUCTION TOOL CONTAINER AND METHODS OF USE THEREOF

NºPublicación:  AU2024368012A1 20/11/2025
Solicitante: 
UNITED RENTALS INC
UNITED RENTALS, INC
AU_2024368012_PA

Resumen de: AU2024368012A1

A self-inventorying tool container for a construction j ob site includes a tools container structure. The tool container structure includes an enclosure defining an internal tool volume configured to receive a plurality of trackable construction tools, and at least one a door coupled with the enclosure and operable to permit selective access to the internal tool volume and plurality of trackable construction tools held therein. The self-inventorying tool container further includes a plurality of beacons corresponding to the plurality of trackable construction tools, each beacon of the plurality of beacons configured to emit a short-range wireless signal and being removable from the internal volume with the respective trackable tool. The self-inventorying tool container further includes a scanning assembly arranged with the tool container and configured to detect the short-range wireless signal of each respective beacon of the plurality of beacons relative to internal tool volume.

Maverick-Bündelung

NºPublicación:  DE102024113427A1 20/11/2025
Solicitante: 
SSI SCHAEFER AUTOMATION GMBH [DE]
SSI Sch\u00E4fer Automation GmbH

Resumen de: DE102024113427A1

Es werden offenbart ein Verfahren zum Erzeugen einer Quellbehälter-Sequenz durch eine Steuereinrichtung eines Lager- und Kommissioniersystems sowie ein entsprechendes System für eine Stückgut-Kommissionierung einer Vielzahl von Kunden-Aufträgen, wobei die Aufträge mindestens einen mehrzeiligen Auftrag sowie eine Vielzahl von einzeiligen Aufträgen umfassen, wobei jede Auftragszeile von jedem der Aufträge einem Artikeltyp entspricht, der jeweils in einem Quellbehälter gelagert ist, wobei das System aufweist: ein Lager, das eingerichtet ist, eine Vielzahl der Quellbehälter zu lagern; eine WzP-Station mit einer Anzahl von Pufferplätzen für Zielbehälter; ein Transportsystem, das eingerichtet ist, die Quellbehälter aus dem Lager zur WzP-Station, und umgekehrt, zu transportieren; und eine Steuereinrichtung, die eingerichtet ist, eine Quellbehälter-Sequenz zu erzeugen, die eine Reihenfolge darstellt, in welcher die Quellbehälter zur sukzessiven Abarbeitung der Aufträge an der WzP-Station bereitzustellen sind; wobei die Steuereinrichtung ferner eingerichtet ist, die einzeiligen Aufträge zu einem Bündel-Auftrag zu bündeln, der einen weiteren mehrzeiligen Auftrag darstellt und der die einzeiligen Aufträge während der Erzeugung der Quellbehälter-Sequenz ersetzt.

EFFICIENT ALLOCATION OF RESOURCES IN A FLEET MANAGEMENT SYSTEM

NºPublicación:  US2025355449A1 20/11/2025
Solicitante: 
WING AVIATION LLC [US]
WING AVIATION LLC
WO_2025240056_PA

Resumen de: US2025355449A1

In some embodiments, a computer-implemented method for managing resources of a fleet of unmanned aerial vehicles (UAVs) is provided. A computing system creates a mission record and one or more candidate records. Each candidate record of the one or more candidate records represents one or more resources for accomplishing a mission represented by the mission record. The computing system adds a mission node representing the mission record to a resource competition network graph (RCN graph). The computing system adds one or more candidate nodes representing the one or more candidate records to the RCN graph. The computing system determines an optimized allocation of candidate records to mission records using at least a subgraph of the RCN graph. A candidate record is determined to commit to a mission record, and the computing system updates the RCN graph to commit the candidate record to the mission record.

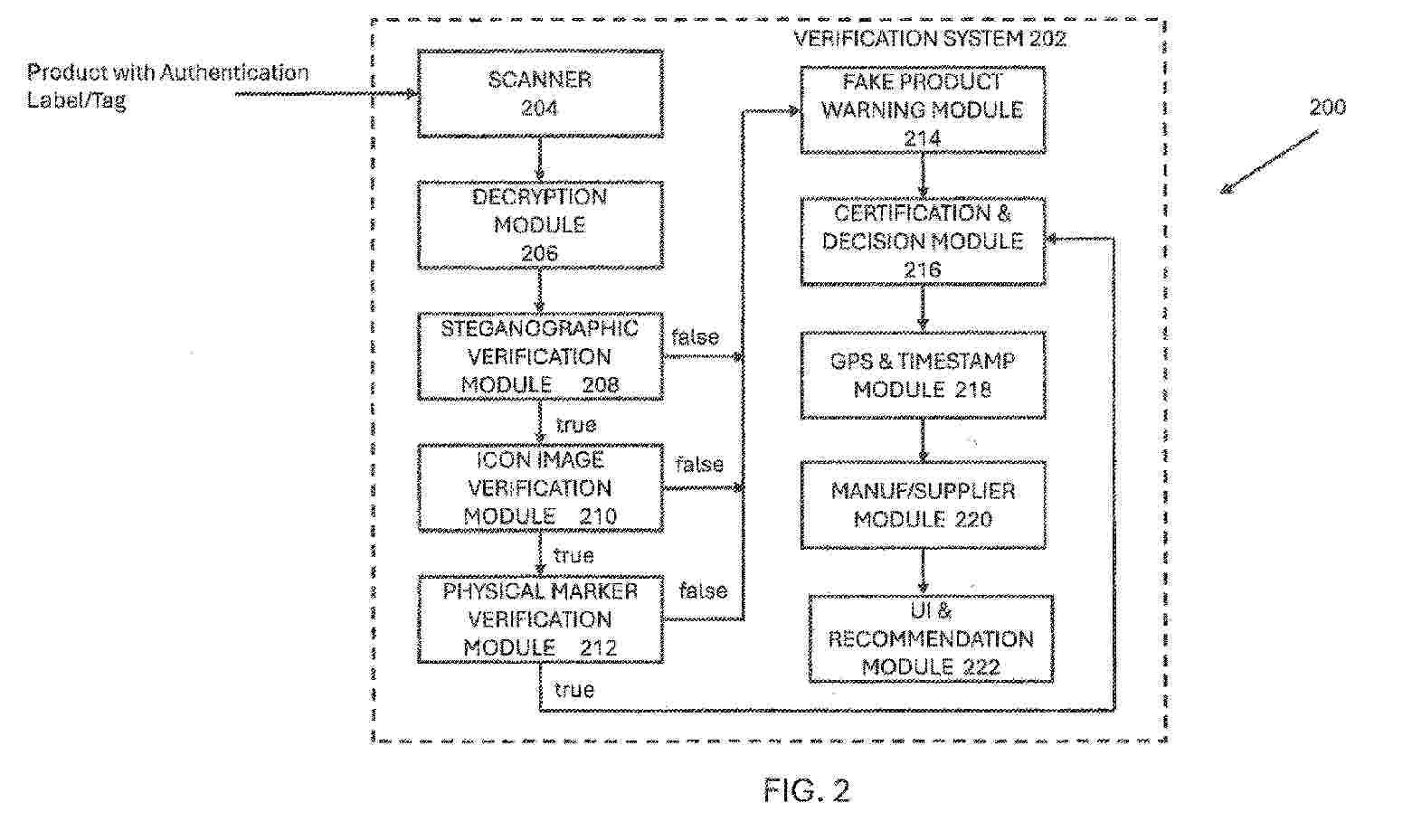
AUTHENTICATION SYSTEM AND METHOD

NºPublicación:  WO2025238585A1 20/11/2025
Solicitante: 
TICKETRUE LTD [IL]
TICKETRUE LTD
WO_2025238585_PA

Resumen de: WO2025238585A1

A system for authenticating a product includes an authorization tag or label attached to the product, the tag or label including encrypted information associated with the product and encapsulated in an optical code, the encrypted information including a unique product identifier. The authorization tag or label additionally includes an artificial intelligence (Al) generated unique icon image including data associated with the product and embedded in the optical code, and stenographic encoded data associated with the unique product identifier embedded in the Al-generated icon image. The system additionally includes an authorization device configured to verify an authenticity of the product based on the encrypted information, the Al-generated icon image, and the stenographic data.

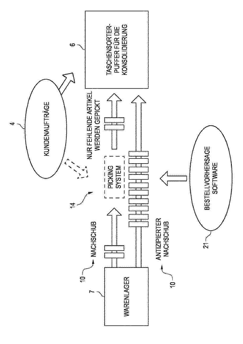
SYSTEM FOR OPTIMIZED USE OF A SORTING CONVEYOR, IN PARTICULAR A POCKET SORTER

NºPublicación:  EP4651045A1 19/11/2025
Solicitante: 
BEUMER GROUP GMBH & CO KG [DE]
BEUMER Group GmbH & Co. KG
EP_4651045_PA

Resumen de: EP4651045A1

Die vorliegende Erfindung betrifft ein System zur optimierten Verwendung eines Sortierförderers, insbesondere eines Taschensorters, mit einem Sortierförderer, der zum Zusammenstellen von Artikeln zu Kundenaufträgen entsprechenden Packaufträgen eingerichtet ist, wobei der Sortierförderer einen Puffer für die Zwischenlagerung von Artikeln aufweist, und wobei der Puffer fördertechnisch mit einem Warenlager verbindbar ist; und mit einer Systemsteuerungseinrichtung, welche dazu eingerichtet ist:- eine für einen künftigen Zeitabschnitt erwartete Artikelnachfrage zu bestimmen;- den Transfer der der erwarteten Artikelnachfrage entsprechenden Artikel vom Warenlager an den Puffer zu veranlassen;- die für den Zeitabschnitt tatsächlich benötigten Artikel anhand von eingegangenen Kundenaufträgen zu bestimmen;- die tatsächlich benötigten Artikel mit den im Puffer befindlichen Artikeln abzugleichen, um die zur Erfüllung der eingegangenen Kundenaufträge fehlenden Artikel zu bestimmen;- und den Transfer der fehlenden Artikel vom Warenlager an den Puffer zu veranlassen.

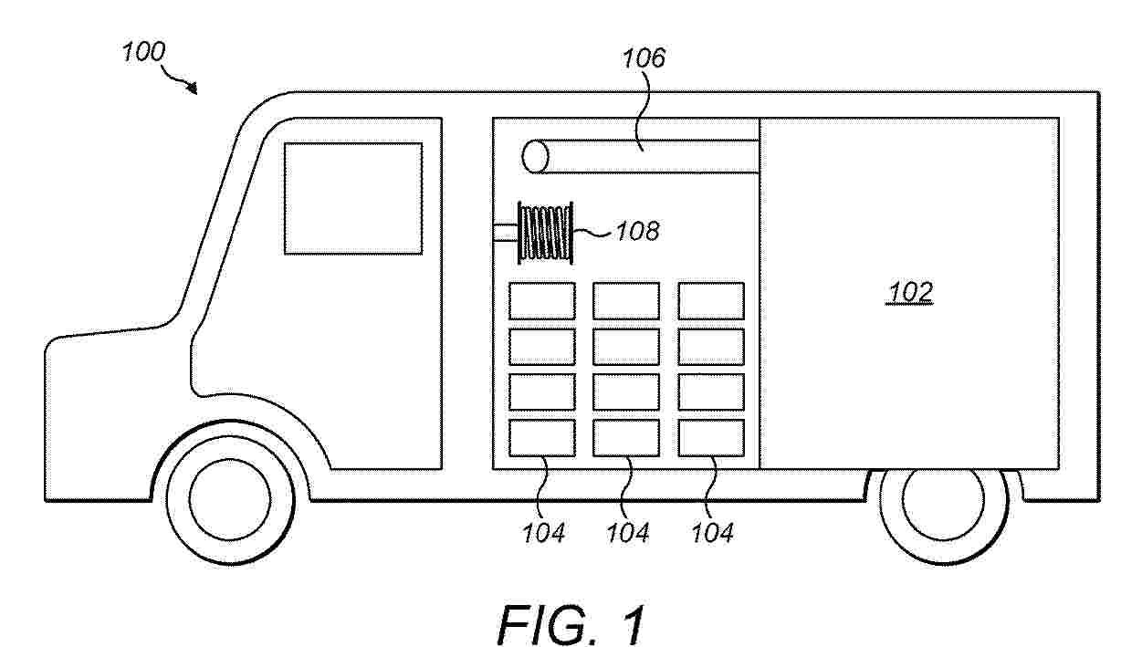
Inventory system

Nº publicación: GB2641007A 19/11/2025

Solicitante:

OCTOPUS ENERGY SERVICES LTD [GB]
Octopus Energy Services Limited

GB_2641007_PA

Resumen de: GB2641007A

A vehicle 100 has items stored in containers 104, such as a van having plumbing tools and parts in bins on shelves. An inventory system measures stock level data for each item and wirelessly transmits the stock level data to an inventory engine. In response to a change in an item’s stock level and at least one other factor (such as the time of day, the day of the week, or the vehicle’s location), the inventory engine communicates with a user device to warn the user of possible theft. In response to a reply from the user device, the inventory engine may alert the police or other authorities. Alternatively, the inventory engine may alert the police or other authorities if there is no reply from the user device. The vehicle may have a camera to capture images in response to possible theft being indicated by the change in stock level and the other factor.

traducir