Ministerio de Industria, Turismo y Comercio LogoMinisterior
 

Alerta

Resultados 547 resultados
LastUpdate Última actualización 22/01/2026 [07:42:00]
pdfxls
Solicitudes publicadas en los últimos 15 días / Applications published in the last 15 days
previousPage Resultados 100 a 125 de 547 nextPage  

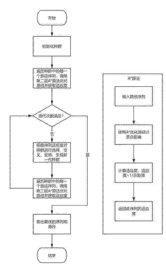
货运卡位的状态识别方法、装置、设备及存储介质

NºPublicación:  CN121354009A 16/01/2026
Solicitante: 
深圳市跨越新科技有限公司
CN_121354009_PA

Resumen de: CN121354009A

本发明公开了一种货运卡位的状态识别方法、装置、设备及存储介质,方法包括:获取目标卡位的货物重量信息和包含货物在内的图像信息;计算目标卡位的货物重量是否大于重量阈值,若是,确定目标卡位的状态为爆卡;若否,将图像信息输入至训练好的卡位爆卡识别模型中,以从图像信息计算出货物体积信息和货物位置信息,并融合货物体积信息和货物位置信息,输出表征目标卡位的货物体积与卡位容积阈值关系和货物位置偏移类别的概率值;基于概率值和爆卡判断规则,确定目标卡位的状态。该方式中,能够通过融合货物重量、体积及位置偏移信息进行综合判断,提高了卡位爆卡判断准确性和中转场地的转运效率。

基于物联网和大数据的智能押运路径规划管理方法及系统

NºPublicación:  CN121352180A 16/01/2026
Solicitante: 
深圳市俊海思创科技开发有限公司
CN_121352180_A

Resumen de: CN121352180A

本发明公开了基于物联网和大数据的智能押运路径规划管理方法及系统,涉及路径规划领域,解决了现有智能押运路径规划管理方式存在路径规划效果不佳的问题,包括步骤S1:根据目标押运起点和目标押运终点进行押运路径覆盖区域进行空间规划,得到目标路径规划区域,步骤S2:对目标路径规划区域内的区域有效路径进行通行时长评估,根据评估结果创建预计路径通行时间轴并筛分时长达标路径,得到有效路径筛分数据,步骤S3:根据有效路径分析数据对时长达标路径按照路径押运用时进行升序顺位排列,根据排列顺序依次进行路径负荷侵占度分析,根据分析结果规划最佳押运通行路径,本发明能够有效提高路径规划的精准性和适用性。

一种基于船舶能耗预测模型的航速优化方法及系统

NºPublicación:  CN121352813A 16/01/2026
Solicitante: 
上海船舶运输科学研究所有限公司上海中船船舶设计技术国家工程研究中心有限公司
CN_121352813_PA

Resumen de: CN121352813A

本申请提供了一种基于船舶能耗预测模型的航速优化方法及系统,涉及工业智能优化技术领域。该方法包括:构建船舶能耗预测模型;基于所述船舶能耗预测模型,建立航速优化模型;采用SLSQP算法对所述航速优化模型进行求解。本申请实现了环境因子的动态耦合;且采用SLSQP算法将非线性优化问题转化为二次子问题迭代求解,计算效率显著提升,填补了现有方法在环境适应性、算法效率与实时性方面的空白,为航运业节能减排提供关键工具。

一种物流订单数据智能化处理方法及系统

NºPublicación:  CN121350665A 16/01/2026
Solicitante: 
临沂博大软件科技有限公司
CN_121350665_PA

Resumen de: CN121350665A

本发明涉及物流数据处理技术领域,具体涉及一种物流订单数据智能化处理方法及系统,包括:获取若干个物流订单数据;获取每个物流订单数据在每种维度数据上的突出程度;获取任意两个物流订单数据之间的相似程度;根据相似程度对所有物流订单数据进行迭代层次聚类,在每次迭代过程中,分析每个物流订单数据点与所属聚类簇中其他物流订单数据点之间不同维度数据下的相似情况,获取物流订单数据点的更新权值,获得若干个层次下的若干个聚类簇;根据聚类优选程度对所有层次下的聚类结果进行筛选,获得最佳聚类结果;根据最佳聚类结果对所有物流订单数据进行分类。本发明提高了物流订单数据分类的准确性。

基于物联网的纺织产品货源智能追踪系统

NºPublicación:  CN121352666A 16/01/2026
Solicitante: 
杭州绚雅家纺有限公司
CN_121352666_A

Resumen de: CN121352666A

本发明涉及物联网与供应链管理技术领域,具体是指基于物联网的纺织产品货源智能追踪系统。该系统包括传感采集模块、通信传输模块、数据分析处理模块、风险预警模块、路径优化调度模块和区块链存证模块;本方案采用物联网设备对纺织产业的运输过程进行全程实时监测,同时对物联网设备采集的数据进行分析处理,在发生异常情况时,及时进行预警;通过数据对齐操作和构建时间窗口提取时间序列特征,并采用图结构和图注意力机制,更好地理解和捕捉IoT设备间复杂的相互作用关系,并通过图注意力机制计算节点间的注意力权重,从而更好地理解和利用这些关系进行特征更新和趋势预测,提高预测准确性,增强模型的鲁棒性和适应性。

一种企业金融授信增信方法、设备及介质

NºPublicación:  CN121352955A 16/01/2026
Solicitante: 
数智云衍(河北)科技有限公司
CN_121352955_PA

Resumen de: CN121352955A

本申请公开了一种企业金融授信增信方法、设备及介质,方法包括:对企业生产经营全链条动态数据标准化,生成时间序列数据集;经预设五维数据融合架构加权融合,得到全息状态向量;将行业风险模板、全息状态向量及知识图谱输入预训练多模态人工智能推理模型,获取信用评分与风险传导概率矩阵。匹配信用评分与预设策略规则库得授信参数,依概率矩阵节点定风险处置策略;用力导向算法将矩阵渲染为交互式拓扑图,比对物联网GPS与区块链物流坐标时空偏差生成风险核查报告。最后可视化集成授信参数、处置策略、拓扑图及核查报告,形成企业授信增信管理方案。本申请通过多源数据融合与动态建模,提升评估实时性、风控精准度,缩短周期并扩展服务客群。

一种城市物流无人机停靠场站选址方法

NºPublicación:  CN121352296A 16/01/2026
Solicitante: 
桂林电子科技大学
CN_121352296_PA

Resumen de: CN121352296A

本发明涉及物流技术领域,具体涉及一种城市物流无人机停靠场站选址方法,通过构建多目标优化模型,将优化目标确定为最小化从物流中心到所有停靠站的路径距离之和、最小化停靠站的建设总数,以及最小化所有停靠站对周边学校、医院、大型商场等敏感设施产生的总负面影响值,结合条件约束,采用NSGA‑II算法对模型进行求解,并通过模拟数据实验验证了模型与算法,解决物流无人机停靠站选址问题。本发明方法克服了传统单目标选址方法的局限性,在保证100%需求覆盖的前提下,实现了经济效益与社会效益的最佳平衡,为物流无人机停靠站规划提供了更科学、全面的决策支持。

一种多点配送无人机路径规划方法

NºPublicación:  CN121349110A 16/01/2026
Solicitante: 
桂林电子科技大学
CN_121349110_PA

Resumen de: CN121349110A

本发明涉及物流技术领域,具体涉及一种多点配送无人机路径规划方法,首先在三维环境下对多配送点的配送环境进行环境建模,设置目标函数为最小化路径总长度,再通过将复杂的三维多目标路径规划问题解耦为访问序列优化和三维精细路径规划两个层次,在确保无人机安全避开所有障碍物的前提下,计算出访问多个分散配送点的最优顺序,并为此顺序中的每一段路径规划出距离最短、符合飞行约束的三维无碰撞轨迹,实现多点配送无人机路径规划,从而显著提升无人机物流配送的整体效率、安全性与经济性,降低运营成本。

基于动态架梁计划的预制箱梁生产台座管理方法及系统

NºPublicación:  CN121352236A 16/01/2026
Solicitante: 
中国铁道科学研究院集团有限公司电子计算技术研究所北京经纬信息技术有限公司
CN_121352236_PA

Resumen de: CN121352236A

本申请涉及预制箱梁生产技术领域,尤其是涉及一种基于动态架梁计划的预制箱梁生产台座管理方法及系统,方法包括获取梁场资源配置信息并计算日均需求量、判断潜在产能缺口、通过逐日模拟推演确定最佳改造启动时间以及生成改造建议计划和推演日志。本申请能够科学量化台座改造时机决策,避免资源浪费与工期延误,提升梁场生产效率与计划精准性。

一种配送订单智能管理方法及系统

NºPublicación:  CN121352338A 16/01/2026
Solicitante: 
深圳市土地公网络科技有限公司
CN_121352338_PA

Resumen de: CN121352338A

本发明涉及订单配送领域,尤其涉及一种配送订单智能管理方法及系统。该方法包括以下步骤:采集生鲜配送订单流进行有效配送时窗计算,得到每一个订单的动态有效时窗;识别区域可用配送员,进行实时配送负载评估,生成实时配送负载指数;根据所述动态有效时窗及实时配送负载指数进行智能订单分配,得到新增订单信息;基于新增订单信息进行订单优先级动态评估,得到订单配送优先级;根据订单配送优先级进行配送顺序和路径重规划,生成最新配送规划方案。本发明提高生鲜订单配送效率,优化客户购买体验。

一种内河港航物流成本动态优化方法及系统

NºPublicación:  CN121352904A 16/01/2026
Solicitante: 
宣城市地方海事(港航管理)发展中心
CN_121352904_PA

Resumen de: CN121352904A

本发明涉及成本优化技术领域,公开了一种内河港航物流成本动态优化方法及系统,该系统包括:采集模块,被配置为基于解析结果确定待运输货物的初始物流成本;判断优化模块,被配置为基于环境参数确定初始物流成本的成本优化量,根据成本优化量对初始物流成本进行优化,并获得优化物流成本;判断补偿模块,被配置为基于港口参数确定优化物流成本的成本补偿量,根据成本补偿量对优化物流成本进行补偿,并获得补偿物流成本。本发明能够根据内河港航物流运输的货物、运输、环境、港口等参数,动态优化和补偿物流成本。

一种基于云平台的物流数据管理方法及系统

NºPublicación:  CN121352651A 16/01/2026
Solicitante: 
深圳市巨沃科技有限公司
CN_121352651_PA

Resumen de: CN121352651A

本发明涉及物流数据管理及工业云平台技术领域,公开了一种基于云平台的物流数据管理方法及系统。该方法通过采集多源数据并进行预处理,得到清洗后的数据集;采用模糊逻辑算法处理数据得到不确定性量化指标;当指标超过阈值时,基于贝叶斯网络整合路况与需求数据,生成预测偏差修正值;据此实时更新运输计划并获得优化路线;进一步验证决策准确性后生成动态可视化报告;最终通过闭环控制输出调整指令。本发明特别适用于冷链物流在雾霾等复杂场景下的运输优化,能够有效提升运输决策的精确性、实时性及货物保鲜质量。

一种基于AI的跨境电商智能建站系统

NºPublicación:  CN121352843A 16/01/2026
Solicitante: 
广州联雅网络科技有限公司
CN_121352843_PA

Resumen de: CN121352843A

本发明涉及智能商务技术领域,具体为一种基于AI的跨境电商智能建站系统,系统包括:语义解析模块、模板生成模块、库存联动模块、清关预检模块、动态调优模块。本发明中,通过基于多语言社交媒体文本的语义聚类生成动态关键词库,结合支付协议特征融合与移动端参数映射建立自匹配支付环境,通过路径优化算法协调多仓库存与物流节点,基于商品材质特征匹配目标市场清关规则,提升跨境电商平台在多国别运营中的动态适配能力,实现支付接口自动化兼容,降低多币种结算的汇率转换误差,优化跨境物流资源调度精准度,增强商品合规预检效率,减少因政策差异导致的清关延误与运营中断风险。

基于动态瓶颈的供应链关键物料成套状态预警方法及系统

NºPublicación:  CN121352674A 16/01/2026
Solicitante: 
中航国际金网(北京)科技有限公司
CN_121352674_PA

Resumen de: CN121352674A

基于动态瓶颈的供应链关键物料成套状态预警方法及系统,属于供应链流程智能管理技术领域。所述方法包括:构建虚拟库存矩阵,确定当前物料的状态信息并估算履约进度;依据订单优先级排序构建成套库存矩阵和需求矩阵,确定成套完成度和成套量;构建缺料预警模型以确定预警状态等级,对关键物料的缺料情况进行预警。所述系统包括库存估算模块,物料成套分析模块以及关键物料缺料预警模块。本发明基于订单优先级和物料依赖关系的成套分析,通过量化决策者的经验水平和评估标准的权重,结合订单的交货期和物料需求,对订单进行优先级排序,大大提升了供应链的运作效率。

油罐车配送方案编制方法、装置、电子设备及存储介质

NºPublicación:  CN121352662A 16/01/2026
Solicitante: 
中国石油化工股份有限公司中石化(大连)石油化工研究院有限公司
CN_121352662_PA

Resumen de: CN121352662A

本发明涉及成品油物流配送技术领域,提供一种油罐车配送方案编制方法、装置、电子设备及存储介质,该方法获取目标区域内各加油站的补货订单列表,并按目标顺序遍历补货订单列表,对于当前补货订单,若目标区域内的各油罐车中存在满足当前补货订单的需求配送量和油品类型的目标隔舱,则在目标隔舱所处的目标隔舱分组中,将当前补货订单安排给当前使用次数少的指定隔舱;完成补货订单列表的遍历后,基于目标顺序对应的第一安排方案,确定补货订单列表的配送方案。该方法将当前补货订单安排给当前使用次数少的目标油罐车的目标隔舱,考虑了油罐车使用频率的均衡性,可以降低运输成本,提升运输效率,提高配送方案的可执行性。

一种家居用品租赁管理平台

NºPublicación:  CN121352940A 16/01/2026
Solicitante: 
青岛海尔智能技术研发有限公司
CN_121352940_PA

Resumen de: CN121352940A

本发明涉及平台管理技术领域,具体提供一种家居用品租赁管理平台,本发明家居用品租赁管理平台包括:信息获取模块,用于获取用户的信息;定制模块,用于确定待租赁的家居产品;租赁服务模块,用于基于所述用户的信息,对确定的所述家居产品进行租赁服务管理;支付模块,用于获取所述租赁服务的费用。本发明管理平台用于用户租赁家居产品,实现高效、便捷的操作流程,使用户获得良好体验。

塑料制品回收

NºPublicación:  CN121359157A 16/01/2026
Solicitante: 
巴斯夫欧洲公司
CN_121359157_PA

Resumen de: WO2024261635A1

The invention relates to the field of sustainability, in particular to the field of plastic recycling. The disclosure relates to methods, apparatuses, systems, decentral network nodes, plastics articles and computer elements for monitoring substances critical for recycling of a plastic article or component thereof.

用于数字化控制和/或监测具有特定环境影响的化学产品的工业生产的计算机实施的方法和系统

NºPublicación:  CN121359155A 16/01/2026
Solicitante: 
巴斯夫欧洲公司
CN_121359155_PA

Resumen de: WO2024260911A1

Disclosed are a computer-implemented method and system for controlling and/or monitoring the production of a chemical product with a certain environmental impact, wherein the method comprises the following steps: - Receiving a request, or order, indicating a chemical product, a desired quantity of the chemical product and a desired environmental impact of the chemical product; - determining a local and/or foreign location of one or more underlying chemical input materials required for the production of the requested chemical product, in order to fulfil the desired quantity and the desired environmental impact of the request; - gathering from a database, based on the determined local and/or foreign location of the required chemical input material(s), environmental impact attributes corresponding to the desired environmental impact required for production of the requested chemical product; - receiving the chemical input material(s) required for production of the requested chemical product from the determined local and/or foreign location(s); - removing, in the database, the environmental impact attributes for the chemical input material(s) received from the local and/or foreign location(s).

基于多系统集成的智能工厂一体化运营管理方法

NºPublicación:  CN121352149A 16/01/2026
Solicitante: 
重庆昂码信息科技有限公司
CN_121352149_PA

Resumen de: CN121352149A

本发明具体为基于多系统集成的智能工厂一体化运营管理方法,涉及智能工厂运营管理技术领域,包括:数据中枢与集成;智能计划与鲁棒性决策;生产执行与监控;设备全生命周期管理。本发明中,多维度风险指数联动、动态时间缓冲、预案链的协同机制,彻底突破传统静态计划的局限;一方面,DTB基于供应链风险指数、设备健康指数、工艺稳定指数实时计算,风险低时逼近基准缓冲避免资源浪费,风险高时自动膨胀吸收扰动,确保计划高效与抗扰的动态平衡;另一方面,预先生成的预案链在扰动超限时快速触发,无需全局重排,仅局部调整即可保障生产连续。

一种高原特色水果供应链平台虚拟仿真实验课程系统

NºPublicación:  CN121351444A 16/01/2026
Solicitante: 
云南财经大学
CN_121351444_PA

Resumen de: CN121351444A

本发明公开了一种高原特色水果供应链平台虚拟仿真实验课程系统,涉及教育技术与供应链管理交叉领域。该系统包括实验概述、实验操作、考核评价及功能支持四大模块,构建了覆盖“采收 产地仓 分选中心 销售仓 物流配送”全链条的教学闭环。系统通过多角色协同机制,支持学生扮演种植户、仓管经理等不同角色进行协同决策;集成改进EOQ模型、ARIMA与MLP神经网络预测、VRP与遗传算法路径优化等智能算法,实现供应链关键环节的量化管理与优化;并借助真实数据接口与现场实景环境,接入高原水果产业真实数据与场景视频,确保仿真环境的真实性与数据驱动特性,能够显著提升学生在供应链管理中的实践操作、协同决策与数据分析能力。

一种基于多种群混合大邻域搜索的配送方案动态调整方法

NºPublicación:  CN121352334A 16/01/2026
Solicitante: 
中国人民解放军部队
CN_121352334_PA

Resumen de: CN121352334A

本发明属于物流配送优化领域,具体涉及一种基于多种群混合大邻域搜索的配送方案动态调整方法,包括:初始化参数;生成初始解;多种群并行探索,探索最优解;动态权重调整,更新最优解,调整算子权重参数;检查停止准则;返回最优解。本发明通过将正在执行顶订单配送的车辆所在的当前位置虚拟为用户的方式,调整在途配送车辆的配送次序,从而实现对高优先级紧急订单的抢单配送,是物流配送优化领域的一个新的研究方向。该方法综合考虑订单优先级、配送时间窗等多种因素,制定出合理的动态配送方案,以实现高效、准确的物流配送。同时,该方法可与先进信息技术和智能化算法结合,实现对配送车辆的实时监控和动态调度,确保配送方案的快速调整决策。

一种供应链金融动产质押监管的风险动态评估方法及系统

NºPublicación:  CN121352468A 16/01/2026
Solicitante: 
连云港陆桥保税服务有限公司
CN_121352468_PA

Resumen de: CN121352468A

本发明涉及供应链金融技术领域,具体为一种供应链金融动产质押监管的风险动态评估方法及系统,其包括获取运输GPS位置与温湿振数据,标记异常,分析订单履约与库存流转,判断库存积压或延迟,评估价格波动风险,计算质押物风险加权值,判断并更新风险等级。本发明通过实时监控运输过程中的温湿度、震动、路径偏差等信息,实现对运输与库存流转的全程监控,提升质押物风险识别能力。结合运输、履约、库存及市场价格数据进行加权评估,反映风险贡献度并及时更新评估结果,帮助监管方提前发现问题,提升响应速度,降低资金风险,提高供应链金融中动产质押管理的透明度与安全性,有效防范融资风险。

全球贸易合规检测系统及规则匹配方法

NºPublicación:  CN121350089A 16/01/2026
Solicitante: 
广东海洋大学
CN_121350089_PA

Resumen de: CN121350089A

本发明公开了全球贸易合规检测系统及规则匹配方法,包括多源规则采集引擎,实时接入数据库、清单及多国海关应用程序接口;动态知识图谱构建模块,采用图数据库存储法规实体及其关系构成的网络;规则匹配处理器,配置有优化算法,用于在满足多个合规约束条件下求解可行的最优方案;沙盒测试环境,用于构建虚拟贸易流拓扑网络,并在该网络中对规则进行预验证;区块链存证模块,用于通过区块链技术记录合规检测过程中的关键数据。本发明的优点:实现多源数据融合、全域快速响应,决策精准,具有冲突消解能力。

一种基于边缘计算的智能物流分拣方法、设备及介质

NºPublicación:  CN121353735A 16/01/2026
Solicitante: 
浪潮卓数大数据产业发展有限公司
CN_121353735_PA

Resumen de: CN121353735A

本说明书实施例公开了一种基于边缘计算的智能物流分拣方法、设备及介质,涉及物流分拣技术领域,方法包括:接收由部署在物流中心传送带上的图像采集设备实时采集的包裹图像数据,以将包裹图像数据分发至至少一个边缘计算设备,其中,边缘计算设备配置有GPU加速单元和预训练的深度学习识别模型;通过边缘计算设备对包裹图像数据进行识别,以获取包裹识别结果,其中,包裹识别结果包括包裹属性信息和分拣指令;根据包裹识别结果生成控制信号,并下发至对应的智能分拣机器人,接收智能分拣机器人反馈的分拣执行结果,并将分拣执行结果与对应的包裹识别结果关联存储至中心数据库。

化学生产网络中的环境属性的平衡

Nº publicación: CN121359154A 16/01/2026

Solicitante:

巴斯夫欧洲公司

CN_121359154_PA

Resumen de: WO2024260910A1

Disclosed are methods, apparatuses, and systems for producing at least one chemical product associated with one or more environmental attribute(s) and for assigning at least one environmental attribute to at least one chemical product produced by a chemical production network.

traducir