Ministerio de Industria, Turismo y Comercio LogoMinisterior
 

Alerta

Resultados 560 resultados
LastUpdate Última actualización 23/11/2025 [06:52:00]
pdfxls
Solicitudes publicadas en los últimos 15 días / Applications published in the last 15 days
previousPage Resultados 75 a 100 de 560 nextPage  

汽车零部件单类料盒在托盘最优摆放数量及位置确定方法

NºPublicación:  CN120995710A 21/11/2025
Solicitante: 
重庆大学
CN_120995710_PA

Resumen de: CN120995710A

本发明公开了一种汽车零部件单类料盒在托盘最优摆放数量及位置确定方法,包括先获取托盘配载最大高度限制、料盒尺寸及托盘规格,计算料盒最大堆叠层数和每层摆放数量理论上限;再基于二维坐标系设计目标函数和约束条件,构建数学模型,通过Gurobi求解器获取每层最大摆放数量的松弛解,经邻域搜索得到可行解后,结合遗传算法迭代寻优及最大子空间解码确定最终每层最大摆放数量,进而结合堆叠层数计算最大配载数量;最后基于数学模型求解第二层目标,确定最紧凑摆放位置。其具有可靠性高、实用性好、计算效率快的优点,能替代人工规划,实现托盘空间最大化利用,降低运输与仓储成本,适用于汽车零部件物流领域单类料盒的托盘配载计算场景。

基于路段风险的重卡安全驾驶动态评分方法、设备及介质

NºPublicación:  CN120996314A 21/11/2025
Solicitante: 
聊城市天和物流有限公司
CN_120996314_PA

Resumen de: CN120996314A

本申请公开了一种基于路段风险的重卡安全驾驶动态评分方法、设备及介质,涉及驾驶安全评估技术领域,方法包括:获取行驶路况参数,并对行驶路况参数进行时空基准同步,以确定路段风险场参数;对路段风险场参数进行动态风险层融合,以得到路段风险场;基于路段风险场,通过风险传播预测,确定路段实时风险值;对路段实时风险值进行线性插值的评分逻辑动态切换,以得到重卡当前路段安全驾驶评分;根据重卡当前路段安全驾驶评分,通过物流业务的驾驶能力更新,以得到驾驶员能力画像。本申请通过上述方法解决了现有安全驾驶评分中无法适应动态道路风险、动态评分以及决策依据时效性差的技术问题。

一种基于物联网的实体连锁店管理系统

NºPublicación:  CN120996483A 21/11/2025
Solicitante: 
湖北长才机电有限公司
CN_120996483_PA

Resumen de: CN120996483A

本发明公开了一种基于物联网的实体连锁店管理系统,包括物联网感知模块、智能分析与决策支持模块、动态资源调度模块、顾客服务优化模块、安全监控与应急响应模块、创新营销模块,所述物联网感知模块用于负责全面感知连锁店内的温湿度和光照、商品的位置和库存以及顾客的浏览轨迹和购买记录的数据。该基于物联网的实体连锁店管理系统,动态资源调度模块通过每5分钟一次的高频数据采集,实时捕捉各连锁店库存数量、人员状态及设备参数的细微变化,打破传统静态调度中数据滞后的局限,基于1000个资源节点构建的虚拟映射模型,将单店局部资源状态转化为全域可视的数字化资源网络,使调度决策能覆盖所有连锁门店的资源池。

基于作业数据融合的安全工器具动态库存优化系统

NºPublicación:  CN120996706A 21/11/2025
Solicitante: 
广州新思维信息技术有限公司
CN_120996706_PA

Resumen de: CN120996706A

本申请涉及库存管理技术领域,公开了一种基于作业数据融合的安全工器具动态库存优化系统,该系统包括作业数据融合模块、作业步骤表生成模块、工器具映射模块、库存属性分析模块和动态优化策略生成模块。本申请,通过作业数据融合、步骤时序分析、工器具动态映射、多维度库存属性解析和场景化优化策略生成的协同架构,实现了库存与作业时序的深度绑定,既精准匹配各步骤工器具需求以减少资源浪费,又通过有效性、安全性、位置的多维度分析保障合规性与应急能力,为安全作业提供了高效、可靠的库存保障。

一种利用医保消费数据的药品采购量智能预测方法

NºPublicación:  CN120996698A 21/11/2025
Solicitante: 
四川凯城云科技发展有限公司
CN_120996698_PA

Resumen de: CN120996698A

本发明涉及药品采购量预测技术领域,具体为利用医保消费数据的药品采购量智能预测方法,包括以下步骤:S1.获取历史医保消费数据,包括药品名称、销售数量、销售时间、医疗机构信息和患者分类信息;S2.对所述医保消费数据进行预处理,包括数据清洗、缺失值填充和异常值修正,形成标准化数据集;S3.基于标准化数据集,构建药品需求特征矩阵X,其中每一行代表一个时间周期的药品消费记录。该种利用医保消费数据的药品采购量智能预测方法,通过时间序列分解分离趋势、季节性和随机波动,减少噪声干扰;结合XGBoost与LSTM集成模型,综合捕捉线性与非线性关系,降低最终预测误差率,动态计算安全库存阈值,避免药品的过量囤积。

跨区域仓储网络优化方法、装置、电子设备及存储介质

NºPublicación:  CN120996278A 21/11/2025
Solicitante: 
深圳市明心数智科技有限公司
CN_120996278_PA

Resumen de: CN120996278A

本申请涉及跨区域仓储网络优化技术领域,揭示了一种跨区域仓储网络优化方法、装置、电子设备及存储介质,其中,方法包括:实时获取存储信息、位置信息,以及需求信息以设定各个所述区域仓库的存储分值;根据所述存储分值确定待优化的目标区域仓库;将各个目标区域仓库的存储分值以及位置信息输入至预设混合整数规划模型中,以得到优化方案;基于所述优化方案对各个所述目标区域仓库的库存进行优化。本发明的有益效果:能够有效克服传统仓储布局依赖历史经验的局限性,实现动态响应市场需求波动的目标,依据市场需求的变化进行灵活调整,使企业能够快速响应市场变化,提升整体供应链的效率,增强客户满意度。

一种航空货运管理方法、系统、介质与产品

NºPublicación:  CN120996671A 21/11/2025
Solicitante: 
杭州天翔东捷运物流有限公司
CN_120996671_PA

Resumen de: CN120996671A

一种航空货运管理方法、系统、介质与产品。在该方法中,系统服务器先获取货舱结构信息和货物包装种类,明确特殊货物需单独空间、普通货物可堆叠的特性;再将特殊货物虚拟装载高度设为货舱高度,以此确保特殊货物的独立空间,避免特殊货物被普通货物堆叠挤压。接着,系统服务器按重量体积比由高到低分别对特殊货物和普通货物进行排序,优先装载单位体积重量更大的货物,能更合理利用货舱承重能力。系统服务器先为特殊货物确定摆放位置,再用普通货物填充剩余可分配空间结构,最后生成包含货物装载位置和装载顺序的货物装载方案。该方法有效缓解了在保障贵重物品安全运输的前提下提高货舱空间利用率的问题,实现了航空货运的高效性。

移动端运营地图查看方法、装置、设备及存储介质

NºPublicación:  CN120995437A 21/11/2025
Solicitante: 
上海东普信息科技有限公司
CN_120995437_PA

Resumen de: CN120995437A

本发明涉及计算机技术领域,特别涉及一种移动端运营地图查看方法、装置、设备及存储介质。所述移动端运营地图查看方法,包括如下步骤:获取用户移动端查看请求,根据用户移动端查看请求,采用基于角色的访问控制模型,并结合多因素动态权重算法对用户设置查看权限;根据用户的查看权限加载初始地图,并根据预先构建的空间索引结构加载与初始地图相关的基础地理数据;获取用户移动端地图层级缩放操作信息,采用动态自适应数据加载算法加载其他层级地图;根据查看热力图请求生成并展示签收量/派件量热力图。本发明通过对用户的业务地图查看权限进行灵活控制,并优化业务地图的加载方式,在保证了数据安全性的同时,提高了加载效率。

一种强耦合型“货到人”拣选系统动态调度优化方法

NºPublicación:  CN120996482A 21/11/2025
Solicitante: 
中铁十四局集团装备有限公司山东建筑大学
CN_120996482_PA

Resumen de: CN120996482A

本发明的强耦合型“货到人”拣选系统动态调度优化方法,包括强耦合型“货到人”拣选系统优化问题建模和动态调度算法,以出库设备无任务等待时间总和最小的目标函数,建立以拣选站累计缺货等待时间总和最小的目标函数;在订单动态排序算法中,以订单下发后所有出库设备与其安全任务量值的差值最小为目标进行订单下发排序,如果不存在待拣任务数量小于待拣任务数量下限值的拣选站,则下发剩余任务数量最小的拣选站的任务。本发明的强耦合型“货到人”拣选系统动态调度优化方法,实现了出库设备与拣选站的高效协同,减少了出库设备等待时间和拣选站等待时间,最终达到缩短系统总作业工时,提高系统整体作业效率的目的。

物流传送带多包裹粘连识别方法、装置、设备及存储介质

NºPublicación:  CN120997472A 21/11/2025
Solicitante: 
上海东普信息科技有限公司
CN_120997472_PA

Resumen de: CN120997472A

本发明涉及物流领域,公开了物流传送带多包裹粘连识别方法、装置、设备及存储介质,该方法用于检测物流传送带是否存在粘连包裹。该方法包括:基于空间注意力机制构建改进的PSPNet模型,并训练得到粘连包裹识别模型;获取物流传送带的包裹RGB图像、包裹深度图像和包裹红外热像图,并分别提取包裹RGB图像的纹理特征、包裹深度图像的几何特征和包裹红外热像图的温度特征,并将其进行融合,得到融合特征;将融合特征输入粘连包裹识别模型,得到检测结果,检测结果包括边界框坐标、分割掩码和置信度;若置信度超过预设置信度阈值,则从边界框坐标和分割掩码中提取粘连包裹的具体位置和分割信息,并生成预警信息。

一种环卫车零部件存储用数字化仓储系统

NºPublicación:  CN120996703A 21/11/2025
Solicitante: 
乾唐汇(浙江)技术有限公司
CN_120996703_PA

Resumen de: CN120996703A

本发明涉及环卫设备管理技术领域,公开了一种环卫车零部件存储用数字化仓储系统,包括:处理模块,用于对仓储系统的各类数据进行处理及向各模块下发控制指令;视觉识别模块,用于采集零部件的外观图像信息及库位状态图像信息;重量检测模块,用于检测零部件的重量数据;智能货架模块,用于承载零部件并监测货架的运行状态;生命周期管理模块,用于基于零部件的相关数据对其生命周期进行管理。通过视觉识别模块实时采集零部件外观图像,捕捉磨损与锈蚀外观变化,重量检测模块持续监测零部件重量数据,实现对环卫车零部件生命周期的精准管理,解决了其对零部件状态感知片面、生命周期评估不准确,易导致零部件过度使用或提前报废的不足。

一种出库方法、装置、电子设备及存储介质

NºPublicación:  CN120996702A 21/11/2025
Solicitante: 
杭州海康机器人股份有限公司
CN_120996702_PA

Resumen de: CN120996702A

本申请实施例提供了一种出库方法、装置、电子设备及存储介质,涉及智能仓储技术领域;其中,一种出库方法,包括:响应于接收到货物订单信息,获取当前的作业信息,基于当前的作业信息及货物订单信息的指定信息类型的信息内容,从预先设定的多个备用出库策略中,进行备用出库策略的命中处理,以得到目标出库策略,按照目标出库策略中的匹配规则以及货物订单信息中的货物属性需求信息,筛选候选货物,基于目标出库策略中的排序规则,对筛选得到的候选货物进行排序,得到待利用队列,根据待利用队列,控制搬货机器人进行货物搬运,以实现货物出库。可见,本申请实施例可以提高货物出库的灵活性。

一种跨境运输洲际货运流量预测分析方法

NºPublicación:  CN120996677A 21/11/2025
Solicitante: 
交通运输部科学研究院
CN_120996677_PA

Resumen de: CN120996677A

本发明涉及跨境货运技术领域,公开了一种跨境运输洲际货运流量预测分析方法,首先基于路径拓扑结构图构建多式联运中欧货运网路构,具体为多模式多货物种类的货物运输网络;针对对路径拓扑网络中的货运交通拥堵瓶颈设施即港口、苏伊士运河、换轨站进行分析货运交通拥堵时间;将运输时间乘以时间价值转化为相对应的货币费用成本,计算运输成本;进行分析并计算出中欧货流的空间分布数据。本发明同时考虑瓶颈造成的拥堵和运输服务的运力上限。为预测和分析中欧货流的空间分布及货运流量预测提供一个精确且实用的计算工具。

基于信息化的企业外贸业务智能跟踪管理方法、系统及设备

NºPublicación:  CN120996679A 21/11/2025
Solicitante: 
若鹏(厦门)网络科技有限公司
CN_120996679_PA

Resumen de: CN120996679A

本发明公开了基于信息化的企业外贸业务智能跟踪管理方法、系统及设备,属于数据处理技术领域,包括通过对订单数据、运输方式、装载参数和运输信号数据的综合分析,优化企业的外贸业务流程。首先,系统收集并分析各区域外贸订单数据,以调整海外仓储布局,确保库存与订单需求匹配。其次,系统根据运输方式和堆叠参数,评估货物装载匹配度,生成最优装载方案,提高运输效率,降低成本。此外,系统监测运输过程中的信号数据,评估射频信号质量,优化无线设备参数,并对运输过程进行预警,确保运输过程的稳定性和可靠性,有效解决了订单管理、仓储布局、运输优化和信号监控等方面的问题,提升了企业外贸业务的整体效率和供应链响应能力。

基于动态事理图谱的供应链风险量化评估方法及系统

NºPublicación:  CN120996569A 21/11/2025
Solicitante: 
数融智联(徐州)信息科技有限公司
CN_120996569_PA

Resumen de: CN120996569A

本发明涉及风险分析技术领域,具体为基于动态事理图谱的供应链风险量化评估方法及系统,包括采集多源异构数据,构建包含时间维度、地理空间维度、供应链网络空间维度和风险影响空间维度的四维时空模型,将供应链事件表示为四维时空数据;从四维时空数据中识别供应链实体,抽取风险事件并构建事理图谱,事理图谱以风险事件为节点,以事件间演化关系为边,计算事件间关系权重;基于事理图谱计算风险传导路径的概率量化值,获得目标实体的综合风险分值;基于综合风险分值,生成风险缓解策略;监测实际风险发生情况与预测结果的偏差,通过自适应参数优化和增量学习机制更新所述事理图谱和风险缓解策略,形成自我进化的风险评估体系。

一种铁路场站集装箱调度优化方法、系统、设备及介质

NºPublicación:  CN120996260A 21/11/2025
Solicitante: 
中国铁路西安局集团有限公司
CN_120996260_A

Resumen de: CN119623764A

The invention discloses a railway station container scheduling optimization method, system, equipment and medium, and belongs to the technical field of railway station container scheduling, and the method comprises the steps: building a railway container yard container space assignment optimization model based on a container space freedom degree yard information representation method and a container stacking optimization process, stacking the to-be-stacked boxes by using a box stacking algorithm from a box yard to a train to obtain the optimal stacking positions of the to-be-stacked boxes; extracting the to-be-fetched box by using a box lifting algorithm from a train to a box yard to obtain an optimal target box position of the to-be-fetched box; using a heuristic algorithm to solve the railway container yard container quantity balanced distribution model to obtain the optimal division of the container area container quantity; and solving the railway container yard container space assignment optimization model by using a heuristic algorithm in combination with optimal division of container area container quantity to obtain an optimal container space assignment mode.

基于医疗器械需求量的库存管理方法及系统

NºPublicación:  CN120996700A 21/11/2025
Solicitante: 
浙江麦田智创医疗科技集团有限公司
CN_120996700_PA

Resumen de: CN120996700A

本申请实施例提供一种基于医疗器械需求量的库存管理方法及系统,接收每一医疗机构中医疗器械的库存信息和实时医疗事件信息,得到各医疗机构对应的医疗器械的预测需求量;获取每一医疗机构的消耗水平系数和提前期,并确定医疗机构对应的需求标准差和历史日均需求量,按照预设库存安全计算规则,确定当前医疗机构的预设库存安全值;基于库存信息确定各医疗机构中的医疗器械对应的库存安全值,在库存安全值小于当前医疗机构对应的预设库存安全值的情况下,确定补充需求量、供给仓库和补充路线,按照补充路线将医疗器械并运输至当前医疗机构。该方法有效解决缺乏实时医疗事件信息整合和多仓库协同调拨等方面的不足,显著提升紧急补货的响应能力。

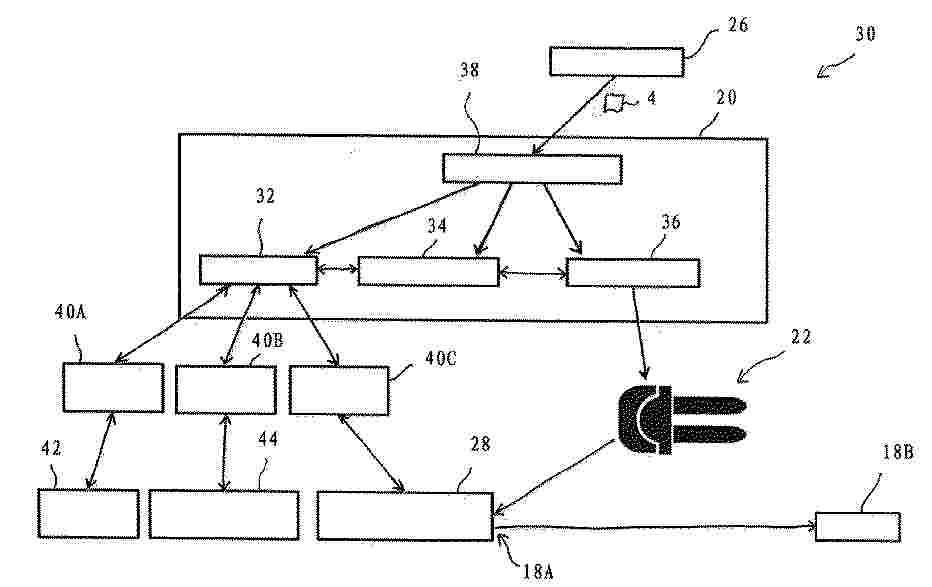
货物物流系统和用于运行货物物流系统的方法

NºPublicación:  CN121002524A 21/11/2025
Solicitante: 
永恒力股份公司
CN_121002524_PA

Resumen de: WO2024223333A1

The invention relates to a goods logistics system (30) and to a method for operating same. The goods logistics system (30) comprises a master computer (20), at least one automated guided industrial truck (22) designed for operation in a transport area (8), and at least one input unit (24). The input unit (24) is designed to generate a trigger signal and to transmit it to the master computer (20). The master computer (20) is designed to a) generate, change or delete, on the basis of the trigger signal and applying a stored transport order definition, a transport order to be carried out by the automated guided industrial truck (22) in the transport area (8), and to transmit a transport order signal associated with this transport order to the industrial truck (22), wherein the transport order signal causes the industrial truck (22) to carry out the transport order, and/or to b) change, on the basis of the trigger signal and applying a stored status-change definition, a status of at least one loading-aid station (18) assigned to the input unit (24), in particular to activate or deactivate this loading-aid station, wherein the transport order definition stored in the master computer (20) and/or the status-change definition stored in the master computer (20) are/is variable.

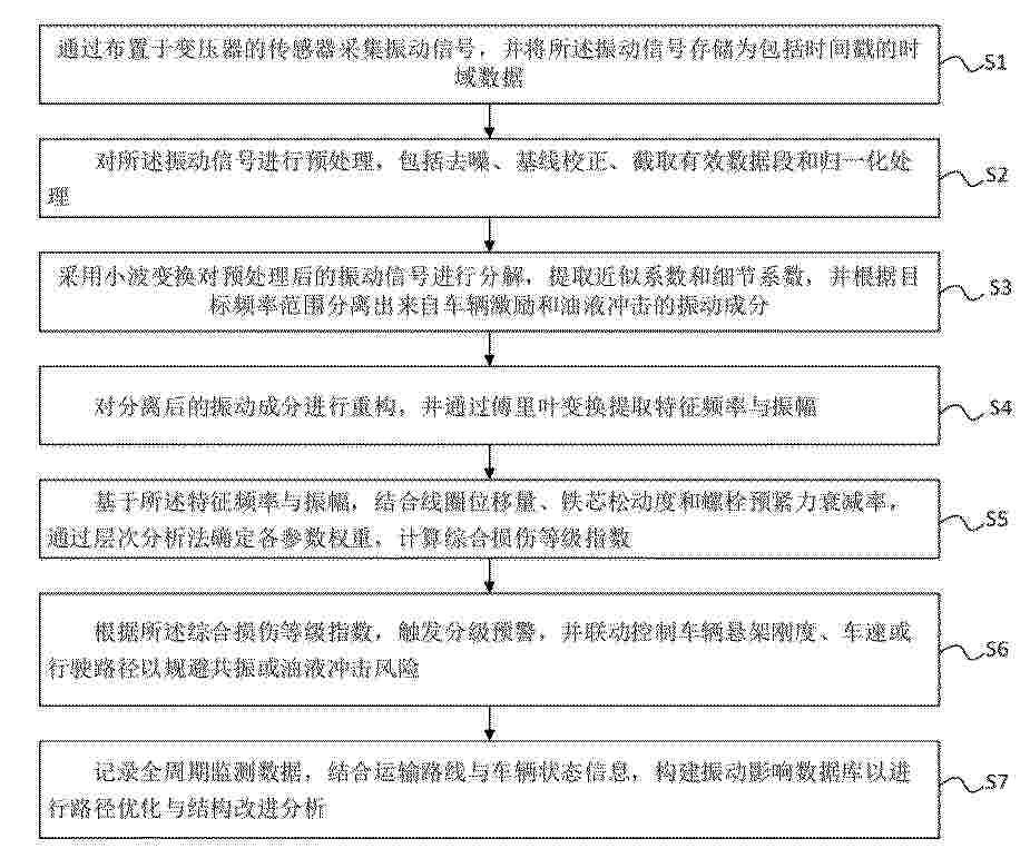
一种油浸式变压器运输振动数据处理与防护联动方法

NºPublicación:  CN120996321A 21/11/2025
Solicitante: 
佛山市顺德区伊戈尔电力科技有限公司吉安伊戈尔磁电科技有限公司吉安伊戈尔电气有限公司
CN_120996321_PA

Resumen de: CN120996321A

本发明涉及油浸变压器技术领域,提出一种油浸式变压器运输振动数据处理与防护联动方法,包括采用小波变换对预处理后的振动信号进行分解,提取近似系数和细节系数,并根据目标频率范围分离出来自车辆激励和油液冲击的振动成分;对分离后的振动成分进行重构,并通过傅里叶变换提取特征频率与振幅;基于特征频率与振幅,结合线圈位移量、铁芯松动度和螺栓预紧力衰减率,通过层次分析法确定各参数权重,计算综合损伤等级指数;根据综合损伤等级指数,触发分级预警,并联动控制车辆悬架刚度、车速或行驶路径以规避共振或油液冲击风险;记录全周期监测数据,结合运输路线与车辆状态信息,构建振动影响数据库以进行路径优化与结构改进分析。

港航集装箱运输过程碳排放核算方法、系统、设备及介质

NºPublicación:  CN120996371A 21/11/2025
Solicitante: 
青岛港国际股份有限公司方舟智能港航口岸服务(青岛)有限公司
CN_120996371_PA

Resumen de: CN120996371A

本发明提供了一种港航集装箱运输过程碳排放核算方法、系统、设备及介质,属于物流碳管理与智能算法交叉技术领域。所述方法包括:分类采集公路、水路、铁路及物流存储环节的运输与能源消耗数据,经预处理后形成标准化数据集。结合行业标准和不同运输方式及货物类型创建碳排放因子参数库,并通过机器学习算法动态更新。针对不同运输方式构建专用核算子模型,利用相应公式和参数进行碳排放核算。将标准化数据输入核算子模型,计算碳排放量并筛选最优路径。使用历史数据校准模型参数,确保准确性。最后,实时采集数据并输入核算子模型,生成包含实施步骤、资源需求和预期效果的决策支持报告,助力实现运输过程的低碳化和高效管理。

一种基于物联网的生产管理与设备维护管理方法和系统

NºPublicación:  CN120996453A 21/11/2025
Solicitante: 
广州市机汇云科技有限公司
CN_120996453_PA

Resumen de: CN120996453A

本申请提供了一种基于物联网的生产管理与设备维护管理方法和系统,属于物联网技术领域。方法包括:通过统一数据交互接口接收销售订单信息并生成关联库存数据的生产排产计划,利用物联网感知单元采集设备运行参数,经数据分析引擎生成健康指数以触发维护任务,通过任务分配算法推送至维护人员终端,并结合移动扫码操作构建设备全生命周期档案,最终通过数据集成平台实现全流程数据实时共享。本发明解决了生产与维护环节数据割裂、响应滞后的问题,适用于各类工业设备的智能化管理场景。

一种仓储安全管理方法以及相关装置

NºPublicación:  CN120996694A 21/11/2025
Solicitante: 
光谷技术有限公司中信建设有限责任公司武汉分公司
CN_120996694_PA

Resumen de: CN120996694A

本申请属于数据处理领域,尤其涉及一种仓储安全管理方法以及相关装置,该方法包括:响应于待识别对象的出入申请指令,获取待识别对象的实时图像信息以及射频身份标识;通过动态人像识别模型,对多角度人物图像进行身份识别,以得到待识别对象的第一待校验身份信息;通过装备识别模型,对目标装备图像执行识别处理,得到目标装备信息;基于第一待校验身份信息、射频身份标识所指示的第二待校验身份信息以及目标装备信息,验证待识别对象是否具有携带目标装备出入目标仓储区域的出入权限;若待识别对象具有出入权限,则向待识别对象下发对目标仓储区域的出入许可。该方法能够实现对待识别对象的自动化验证,提高仓储安全管理效率,提升仓储安全性。

一种基于零部件视角的用户紧急保供“指唱确认”数字化平台系统

NºPublicación:  CN120996719A 21/11/2025
Solicitante: 
天津宝钢钢材配送有限公司
CN_120996719_A

Resumen de: CN120996719A

本发明涉及工业物联网技术领域,公开了一种基于零部件视角的用户紧急保供“指唱确认”数字化平台系统,包括:信息采集模块;实时监控模块;可视化展示模块;预警模块;工时管理模块,用于存储并动态校正各零部件的标准作业工时,所述校正基于大数据挖掘分析历史实际工时与标准工时的偏差;协同确认模块,与可视化展示模块和预警模块通讯连接,用于为各指唱确认要素分配基于RACI矩阵的责任部门及责任人。该系统建立了一套高效的监控与预警机制,通过“数字化”驱动精益生产。这种基于用户零部件的数字化“指唱确认”模式可向其他加工中心快速复制和拓展,也具备向钢铁制造业内其他企业的用户保供业务进行复制与推广的潜力。

一种基于行人轨迹预测避障的移动机器人自主导航方法

NºPublicación:  CN120996307A 21/11/2025
Solicitante: 
中国长江电力股份有限公司
CN_120996307_PA

Resumen de: CN120996307A

本发明提供了一种基于行人轨迹预测避障的移动机器人自主导航方法,首先,初始化机器人H,获取其3D激光雷达信息、相机信息、局部地图数据和位姿信息;其次,通过机器人H的位置信息、多模态融合信息和局部地图数据,获取动态障碍物状态和静态障碍物位置,区分障碍物类别并划分可通行区域;接着,使用LSTM+GAN的渐进式学习轨迹预测网络生成预测轨迹,并结合RRT算法在可通行区域生成分目标点,通过评估函数选择最优分目标点,利用BIRRT进行全局路径规划;最后,将预测的轨迹输入DWA算法,实现机器人的局部路径规划和实时避障。显著提升了机器人的避障能力和导航效率,减少了绕行距离和时间,增强了其在物流仓储等场景中的适应性和灵活性。

无人机配送路径规划方法、装置和设备

Nº publicación: CN120996686A 21/11/2025

Solicitante:

西藏创博通航科技有限公司

CN_120996686_PA

Resumen de: CN120996686A

本公开实施例提供的无人机配送路径规划方法、装置和设备,包括:根据无人机的配送区域和配送区域包括的配送点,构建多条配送路径;获取地形数据、多个配送点坐标信息、多个配送点货物重量信息、初始环境数据和无人机初始状态数据;根据各配送点坐标信息和各配送点货物重量信息,基于载重近点优先策略,从配送路径中筛选出初始配送路径;根据筛选出的各初始配送路径包括的配送点的排布顺序、地形数据、各配送点坐标信息、各配送点货物重量信息、初始环境数据和无人机初始状态数据,确定各初始配送路径的代价信息;根据各初始配送路径的代价信息,确定目标配送路径。保证无人机在复杂路况下的配送效率最优,无人机能耗最低,配送更安全。

traducir