Ministerio de Industria, Turismo y Comercio LogoMinisterior
 

Alerta

Resultados 511 resultados
LastUpdate Última actualización 01/05/2026 [07:32:00]
pdfxls
Solicitudes publicadas en los últimos 15 días / Applications published in the last 15 days
previousPage Resultados 50 a 75 de 511 nextPage  

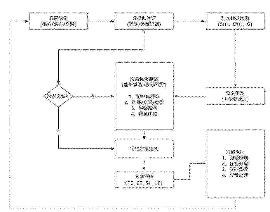
适用于烟草生产的物资管理调度方法及系统

NºPublicación:  CN121936823A 28/04/2026
Solicitante: 
云南省烟草公司曲靖市公司
CN_121936823_PA

Resumen de: CN121936823A

本发明提供适用于烟草生产的物资管理调度方法及系统,涉及烟草生产物资管理技术领域,包括获取物资信息,生成初始调度计划;采集实时消耗数据,基于深度学习建立预测模型,生成智能配送计划;配送过程中采集记录信息;检测到异常时,基于图优化算法分析生成应急调配方案;执行应急调配并更新信息。本发明实现了物资调度的智能化管理,提高了生产效率,降低了物资配送成本,增强了异常情况的应急响应能力。

多AGV路径规划方法、装置及电子设备

NºPublicación:  CN121933011A 28/04/2026
Solicitante: 
青岛中远海运物流供应链有限公司三一机器人科技有限公司
CN_121933011_PA

Resumen de: CN121933011A

本发明涉及智能物流技术领域,公开了多AGV路径规划方法、装置及电子设备,该方法包括:基于现场仓库布局生成AGV运输任务列表,并基于AGV运输任务列表初始化AGV基础信息;基于初始化后的AGV基础信息获取AGV当前状态,并基于AGV当前状态采用预设主网络输出当前Q值;基于当前Q值计算目标Q值,并基于当前Q值和目标Q值计算时序差分误差;基于时序差分误差以及预设优先经验回收池,生成下一状态最优Q值;基于下一状态最优Q值进行循环迭代,生成多AGV的实时路径规划,本发明能实时生成响应迅速的路径,还能保障路径全局较优、平滑可靠,从而整体提升系统运行效率与协调稳定性。

一种检验信息化管理系统

NºPublicación:  CN121936981A 28/04/2026
Solicitante: 
中储粮(合肥)储备有限公司
CN_121936981_PA

Resumen de: CN121936981A

本发明涉及样品管理领域,且公开了一种检验信息化管理系统,包括样品登记模块:对入库样品进行身份识别,自动记录样品来源、规格、接收时间及储存环境信息,基于历史检验数据和储存条件生成动态风险预警,判断样品是否存在异常;基于样品信息、检验标准及业务流程自动生成检验任务单,判断是否存在资源不足;对检验所用仪器设备及试剂耗材执行全生命周期管理,通过多维状态分析模型判断仪器状态是否异常;检验人员完成检测后,自动计算、校验并汇总检验数据,利用智能校验算法对异常结果进行标注,判断是否发现异常;对单项目、多批次及全流程检验数据进行统计、趋势分析和质量评分。本发明具备提高样品处置的精准性与时效性的优点。

料箱位置确定方法、装置、电子设备、存储介质及计算机程序产品

NºPublicación:  CN121937027A 28/04/2026
Solicitante: 
深圳市米塔机器人有限公司
CN_121937027_PA

Resumen de: CN121937027A

本申请公开了一种料箱位置确定方法、装置、电子设备、存储介质及计算机程序产品,其中,方法包括:基于第一料箱的第一信息和无货架仓储空间的第二信息,确定所述第一料箱在所述无货架仓储空间中的目标位置;基于所述目标位置对所述第二信息进行更新;所述第一信息至少包括所述第一料箱的高度;所述第二信息至少包括所述无货架仓储空间中库位的可用高度。

一种基于时频扰动信号的海运网络震荡传播过程分析方法

NºPublicación:  CN121935641A 28/04/2026
Solicitante: 
武汉大学
CN_121935641_PA

Resumen de: CN121935641A

本发明公开一种基于时频扰动信号的海运网络震荡传播过程分析方法,属于地理信息智能预测领域,包括:对原始海运网络数据计算每月总运输量,形成多时点的海运网络时间序列数据;采用动态时间规整对实体进出口时间序列进行聚类,得到多个实体组;在每个实体组内,采用滑动标准差分析法提取每个实体的震荡波动特征;通过短时傅里叶变换将实体进出口时间序列转换至时频空间,计算得到震荡类型和震荡爆发时间;构建扰动传播图谱,结合震荡波动特征,对各个实体组的海运网络震荡传播过程进行分析。本研究旨在揭示海运网络中扰动的传播机制,为理解网络结构韧性、识别关键影响节点及优化海运网络管理提供支撑。

一种集装箱式智能立库控制系统及方法

NºPublicación:  CN121937044A 28/04/2026
Solicitante: 
武汉利德奥科自动化有限公司
CN_121937044_PA

Resumen de: CN121937044A

本申请提供一种集装箱式智能立库控制系统及方法,包括:针对所述货物组合集合,通过模拟受力分布模型预测不同存放位置对所述货架整体重量分布的影响效果,得到优化后的存放位置方案;根据所述存放位置方案和当前设备位置数据,采用路径优化方法生成设备作业路径,确定最小化高负荷区域操作的路径序列;通过所述路径序列更新控制系统的调度指令,获取执行后的新受力分布数据,判断是否达到所述货架的受力平衡状态;根据所述最终调整方案实时下发指令到自动化设备,获取执行反馈数据,确定所述货架系统的稳定性状态。

一种重大突发事件下快消品保供及应急系统

NºPublicación:  CN121936743A 28/04/2026
Solicitante: 
四川省烟草公司成都市公司
CN_121936743_PA

Resumen de: CN120031269A

The invention provides a fast moving consumer goods insurance supply and emergency system under major emergencies, and relates to the technical field of product supply. The system comprises an interview data collection module, a data collection module, a data textualization processing module and a data analysis processing module. Through collection and textualization processing of interview data and public data, NVivo 11 is utilized to disrupt the data, and finally data analysis processing is performed through a rooting theory to obtain an influence factor model for fast moving consumer goods insurance supply and emergency. The system aims to solve the problems of insufficient emergency plans, imperfect information systems, insufficient supply chain elasticity, fragile logistics systems, poor human resource management, insufficient safety guarantee and the like of fast moving consumer goods supply chains in emergencies. The emergency response capability, the information processing capability, the supply chain elasticity, the logistics allocation capability and the safety guarantee level in emergencies are improved, and stable supply and timely response of fast moving consumer goods in emergencies are ensured.

用于跟踪冰箱库存的系统及方法

NºPublicación:  CN121941890A 28/04/2026
Solicitante: 
春之屋科技公司
CN_121941890_PA

Resumen de: US12392548B2

0000 A refrigerator includes a plurality of storage compartments within a refrigerated enclosure, a plurality of cameras mounted a main body or a door, and at least one computing device. The at least one computing device is configured to assign a direction to determine if an item is moving into, out of or internally within the refrigerated enclosure.

一种基于区块链的仓单智能管理方法及系统

NºPublicación:  CN121936834A 28/04/2026
Solicitante: 
南京金沂奥网络科技有限公司
CN_121936834_PA

Resumen de: CN121936834A

本发明属于供应链金融技术领域,具体涉及一种基于区块链的仓单智能管理方法及系统,采用分层架构,包含前端交互层、服务网关层、微服务层、数据存储层,各层级通过标准化接口协同工作;本微服务层集成权限认证、仓单管理、区块链存证等模块,搭配双重验证、分布式事务机制,结合含身份核验与签署意愿确认流程的电子签章,及涵盖JWT鉴权、数据脱敏功能的安全组件,实现仓单生成、质押、流转等全生命周期操作;系统将仓单关键信息哈希值通过联盟链PBFT共识上链存证,配合混合存储,既保障数据不可篡改性与电子仓单法律有效性,又提升系统响应效率,降低仓储、金融、贸易等多角色协同的信任成本,解决传统仓单易伪造、存证难追溯的痛点。

一种考虑订单冻结解冻的智能车间物流运输资源自组织调度方法

NºPublicación:  CN121936846A 28/04/2026
Solicitante: 
合肥工业大学
CN_121936846_PA

Resumen de: CN121936846A

本发明公开了一种考虑订单冻结解冻的智能车间物流运输资源自组织调度方法,涉及物流运输技术领域,该方法包括:建立马尔可夫决策过程模型;利用预设的深度时空图神经微分方程模拟路网负载的时空演化过程,输出未来时间窗内路网节点的拥堵指数;构建协同调度框架;结合动作选择策略,输出调度动作集;建立多目标混合奖励函数;利用多智能体近端策略优化算法与课程学习策略对马尔可夫决策过程模型进行训练;实时读取订单表与自动导引车状态表,生成调度指令,并实时监测路网状态触发死锁熔断机制。本发明能够预测未来时段内各路网节点拥堵指数的连续演化趋势,提前识别潜在的AGV死锁风险区域,从源头降低物流系统的死锁发生率。

一种应用于物联网的建筑物资管理系统

NºPublicación:  CN121937025A 28/04/2026
Solicitante: 
建网科技(广州)有限公司
CN_121937025_PA

Resumen de: CN121937025A

本发明公开了一种应用于物联网的建筑物资管理系统,涉及物资管理技术领域,该系统公开了物资盘点模块、抽选调整模块、周期调整模块,物资盘点模块用于基于默认周期对同一类别物资按固定比例抽选,每次抽选后对抽选的该类别物资进行盘点,生成盘点记录,通过设置抽选调整模块与物资盘点模块,可以周期性对不同类别建筑物资进行的物资损坏进行盘点处理,并根据盘点记录合理调整不同类别物资的盘点比例,在保证对物资盘点压力过大的基础上,保证对物资充分且合理的盘点,设置周期调整模块,可以对不同类别物资盘点的默认周期进行调整,在避免盘点周期过长导致物资损坏的前提下,合理调整盘点物资的盘点周期。

一种基于流水线的自动化仓储出库智能分拣合筐系统

NºPublicación:  CN121937045A 28/04/2026
Solicitante: 
山东长智医药有限责任公司
CN_121937045_PA

Resumen de: CN121937045A

本发明公开了一种基于流水线的自动化仓储出库智能分拣合筐系统,属于智能分拣合筐技术领域,包括中央调度模块、流水线执行网络、移动终端APP及多个工作站;所述中央调度模块用于接收销售单,并将多个销售单中的商品按品种合并,生成调度单;所述流水线执行网络包括空筐输送线。本发明通过将多个销售单按商品品种合并为调度单,实现集中调度与发货,有效减少发货员在多个货区间的往返移动,显著提高分拣效率,降低人工劳动强度和作业时间成本。本发明通过移动终端APP与流水线执行网络的实时通信与协同,实现分筐复核环节的自动化引导与智能绑定,系统自动推送空筐、扫描身份标识并绑定订单信息,提升了分拣准确性和操作流畅度。

仓储智能体自进化调度方法、装置、设备及介质

NºPublicación:  CN121936882A 28/04/2026
Solicitante: 
深圳市今天国际软件技术有限公司
CN_121936882_PA

Resumen de: CN121936882A

本发明提供一种仓储智能体自进化调度方法、装置、设备及介质,其方法包括:获取当前仓储调度系统的运行数据,并对运行数据进行异常检测得到进化触发事件集;基于进化触发事件集进行定向变异以生成变异策略候选集;对变异策略候选集进行仿真计算得到适应度排序结果;根据适应度排序结果进行选择得到更新后的本地策略基因库;对更新后的本地策略基因库进行发布与记录以构建进化知识图谱;基于调度循环策略和进化知识图谱进行自进化调度。通过实施本发明实施例使系统具备自进化能力,在运行中持续进行检测、生成、计算、选择、构建以及自进化的调度处理,实现调度效率的长期持续提升,并通过进化知识图谱实现策略进化的全链路可追溯。

基于多维度数据的运输过程碳足迹核算及动态分配方法

NºPublicación:  CN121936792A 28/04/2026
Solicitante: 
华能能源交通产业控股有限公司
CN_121936792_PA

Resumen de: CN121936792A

本发明公开了一种基于多维度数据的运输过程碳足迹核算及动态分配方法,涉及数据处理技术领域,其中方法包括:构建包含多维度的基础数据库,其中所述基础数据库包括运输工具数据库、运输任务数据库和商品属性数据库;基于所述基础数据库,通过运输任务的实际运输距离、运输工具的单位距离能耗因子及负载修正系数,动态核算单次运输任务的总碳足迹;将总碳足迹分配给本次运输任务中的每一个最小单位的商品,计算商品的标准分配量,利用商品类型排放权重系数对标准分配量进行修正,并通过归一化处理,确保所有商品分配值的总和与总碳足迹一致,完成动态分配。本发明实现运输碳排放的动态、公平分配,有效支持供应链优化与碳关税合规管理。

基于异常重量波动识别算法的油罐车漏油预警方法及系统

NºPublicación:  CN121938149A 28/04/2026
Solicitante: 
楚胜汽车集团有限公司
CN_121938149_PA

Resumen de: CN121938149A

本发明涉及油罐车安全监测领域,尤其涉及基于异常重量波动识别算法的油罐车漏油预警方法及系统,包括以下步骤:采集多源原始数据;通过噪声过滤、平滑滤波及热胀冷缩校正,经时间戳对齐后形成多维度数据矩阵;划分三类工况并建立各工况正常重量变化基准,计算各工况动态阈值,结合车辆维保数据计算综合校正系数,对各工况动态阈值进行校正得到校正后阈值;利用校正后阈值与多维度数据矩阵分别进行三重验证,获取漏油异常判定结果;根据漏油异常判定结果触发分级预警机制,同步存储全链路数据。本发明通过多源数据整合、动态阈值自适应、三层识别及分级预警措施,有效提升油罐车运输安全、预警精准性与监管有效性。

一种基于大数据的门店标准库匹配系统及方法

NºPublicación:  CN121937050A 28/04/2026
Solicitante: 
舟谱数据技术南京有限公司
CN_121937050_PA

Resumen de: CN121937050A

本发明公开了一种基于大数据的门店标准库匹配系统及方法,属于数据匹配技术领域。本发明采集门店标准库内全部门店的门店数据;基于门店数据计算门店特征值;以单家门店为独立拓扑节点,以门店特征值为关联依据,构建门店拓扑结构;对各拓扑节点对应门店的历史库存数据进行统计分析,建立门店的库存正常特征基准;将门店数据中的实时库存数据、门店拓扑结构和库存正常特征基准输入人工智能模型,判定实时库存数据是否存在跨店串录异常;当存在跨店串录异常时,构建库存串户异常数据;针对库存串户异常数据,结合门店拓扑结构与门店特征值进行溯源,得到溯源定位结果;根据溯源定位结果,对门店标准库与库存数据进行修正。

双树协同的HS编码智能匹配方法及装置

NºPublicación:  CN121935625A 28/04/2026
Solicitante: 
企发丝路(北京)科技发展有限公司
CN_121935625_PA

Resumen de: CN121935625A

本申请提供一种双树协同的HS编码智能匹配方法及装置。该方法包括:对商品信息进行标准化处理,基于标准化后的商品信息和结构化属性信息,从预置的HS知识库中检索生成候选HS编码集合;依据注释规则数据对候选HS编码集合进行分支约束,得到至少一个合规候选子集及相应的判别属性缺失集合;针对合规候选子集,调用数据驱动决策树对合规候选子集中的候选HS编码进行评分排序,得到至少一个目标HS编码及置信度;当置信度低于预设阈值且判别属性缺失集合非空时,基于数据驱动决策树在合规候选子集上的分裂判别信息,生成用于区分合规候选子集内候选HS编码的补充询问信息。本申请能够提高HS编码匹配准确率、增强合规可解释性、减少人工补全成本。

一种追溯仓库中服装辅料的追溯方法及追溯系统

NºPublicación:  CN121937029A 28/04/2026
Solicitante: 
宁波培罗成集团有限公司宁波培罗成股份有限公司
CN_121937029_PA

Resumen de: CN121937029A

本发明提供一种追溯仓库中服装辅料的追溯方法及追溯系统,追溯方法包括:为每件辅料配置具有唯一性的标识码并绑定其属性信息;在仓库内关键节点部署识别模块;当辅料移动时,自动触发经过节点的识别模块采集标识码并上传至数据中心;数据中心将标识码与当前仓储任务信息关联,形成单次流转记录;整合所有记录生成该辅料的完整流向链;响应查询请求时,基于标识码调取并展示流向链。本发明解决的技术问题是传统仓库通常采用简单的条码扫描方式记录辅料出入库信息,存在信息录入滞后、易错漏、无法实时更新的问题;当需要核查某一批次辅料的库存与去向时,往往需要耗费大量人力进行纸质单据核对与现场盘点,溯源周期长、效率低下。

AGV调度方法、调度设备、AGV设备及存储介质

NºPublicación:  CN121936742A 28/04/2026
Solicitante: 
宁德时代新能源科技股份有限公司宁德时代润智软件科技有限公司
CN_121936742_PA

Resumen de: CN121936742A

本申请公开了一种AGV调度方法、调度设备、AGV设备及存储介质,该方法包括:调度设备侧,基于待调度区域的拓扑信息,创建地图信息模型;在接收到多个AGV设备发送的车体注册报文且注册成功的情况下,向多个AGV设备发送地图信息模型,该地图信息模型用于指示多个AGV设备在待调度区域内具有统一的姿态信息。AGV设备侧,在AGV设备向调度设备注册成功的情况下,接收调度设备发送的地图信息模型;基于地图信息模型,在待调度区域内进行AGV调度。这样,针对同一区域内运行的多品牌AGV,通过创建统一的地图信息模型,从而能够兼容多品牌AGV的混合调度,提高AGV运行效率。

一种基于大数据的供应链多级库存平衡调控系统

NºPublicación:  CN121937046A 28/04/2026
Solicitante: 
杭州特熙信息科技有限公司
CN_121937046_PA

Resumen de: CN121937046A

本发明公开了一种基于大数据的供应链多级库存平衡调控系统,涉及供应链管理技术领域,包括供应链调控平台,所述供应链调控平台通信连接有如下模块:数字孪生仿真建模模块,用于构建供应链多级库存节点的数字孪生仿真环境,通过粒子群算法动态优化各级库存分配策略。本发明通过构建从数字孪生风险预测、智能协同决策、实时状态监测到自适应参数调控的全流程闭环,不仅能提前识别潜在失衡节点,还能在扰动发生后动态优化补货与调拨策略,并基于稳定性理论实时微调策略参数,最终通过持续评估与反馈实现自我优化,使多级库存系统能够在外界持续扰动下保持内在平衡,有效解决传统系统响应滞后、策略僵化、长期运行易失稳的问题。

一种物联网驱动的智能物流追踪系统

NºPublicación:  CN121937020A 28/04/2026
Solicitante: 
成都市工程职业技术学校
CN_121937020_PA

Resumen de: CN121937020A

本发明涉及资源规划技术领域,具体为一种物联网驱动的智能物流追踪系统,系统包括:定位时序模块、时效校验模块、路径资源模块、路径评估模块、路径优化模块。本发明中,通过对货物位移距离与运输时长进行同步关联,形成可反映行进节奏变化的追踪状态,并围绕交付时限持续计算剩余时间,实现运输过程中的时效压力感知,在此基础上结合当前位置对多条可连通路径的仓储容量装卸等待及通行耗时进行统一校验,对路径时间占用与剩余时间进行对比分析,同时引入连续周期耗时波动评估,使受限风险提前显性化,从而支持对可行路径进行权重区分与排序优化,降低临近交付节点的调度失配与资源浪费概率。

一种穿梭车库调度系统

NºPublicación:  CN121936855A 28/04/2026
Solicitante: 
中国能源建设集团广东省电力设计研究院有限公司
CN_121936855_PA

Resumen de: CN121936855A

本发明公开了一种穿梭车库调度系统,涉及车库调度领域,包括:配置设备对象集合,并固化对象标识规则,配置对象属性字段,设定库内拓扑图并定义节点边结构语义,设定互斥资源映射关系,设定RFID认址定位基准,设定通信与接口协议。通过动态路径规划与跨巷道冲突规避机制,将跨巷道换轨、换层入口、通道汇入等关键位置纳入统一的互斥预约与占用管理,使多车运行过程具备可控的时序对齐与资源协调能力,避免会车、抢道、拥堵放大与死锁风险,同时结合状态回执、异常识别与重调度闭环,调度系统在设备占用异常与通道拥堵出现时触发任务重分配与路径重算,保持作业连续性与运行稳定性,提升整体系统的可靠性、安全性与长期可用性。

一种基于MADDPG的数字孪生密集合储拣选路径优化方法

NºPublicación:  CN121936685A 28/04/2026
Solicitante: 
安徽农业大学
CN_121936685_PA

Resumen de: CN121936685A

本发明公开了一种基于MADDPG的数字孪生密集合储拣选路径优化方法,应用于仓储领域中的拣选路径优化技术领域,包括:基于实时采集的仓储状态数据,构建数据孪生仓储三维模型,并利用仿真引擎模拟六向穿梭车的动态行为;采用改进的A算法作为六向穿梭车的路径生成工具,并结合ECBS算法完成六向穿梭车的路径冲突搜索;将ECBS算法的参数调整问题建模为多智能体协作问题,并利用MADDPG算法引导参数调整过程。本发明有效提高了拣选效率、路径冲突解决效率、动态适应能力、持续优化能力以及设备利用效率。

一种活动期间车辆状态和人员运输状态监测方法及设备

NºPublicación:  CN121938193A 28/04/2026
Solicitante: 
北京市交通运行监测调度中心
CN_121938193_PA

Resumen de: CN121938193A

本申请公开了一种活动期间车辆状态和人员运输状态监测方法及设备,涉及公共交通数据挖掘应用和服务评价技术领域,该方法包括:获取车辆集群中所有车辆的运输保障任务数据;接收车辆集群中每一车辆发送的定位数据,并分别确定每一车辆对应的定位数据序列;基于运输保障任务数据和定位数据序列,分别确定当前时刻车辆集群中所有车辆的运输状态;基于运输保障任务数据,以及当前时刻车辆集群中所有车辆的运输状态,确定当前时刻的人员运输状态。本申请基于定位数据完成大型活动期间人员运输状态和车辆状态监测。

运单处理方法、装置、电子设备及存储介质

Nº publicación: CN121937017A 28/04/2026

Solicitante:

北京京东远升科技有限公司

CN_121937017_PA

Resumen de: CN121937017A

本发明提供一种运单处理方法、装置、电子设备及存储介质,涉及物流技术领域,方法包括:获取国际接单中心下发的报文,报文携带运单的业务履约信息;业务履约信息包括运单的目标业务编码信息;基于目标业务编码信息,识别运单的业务身份信息;基于业务身份信息、预先配置的不同业务类型、不同交互场景和不同交互应用的配置信息,对运单进行处理;其中,不同业务类型、不同交互场景和不同交互应用之间存在对应关系。通过业务身份信息、预先配置的不同业务类型、不同交互场景和不同交互应用的配置信息,实现运单的处理,不需要对不同的业务场景的运单进行定制化的开发,能够适用不同业务场景的运单的处理,从而降低了系统的维护成本。

traducir