Ministerio de Industria, Turismo y Comercio LogoMinisterior
 

Alerta

Resultados 511 resultados
LastUpdate Última actualización 01/05/2026 [07:32:00]
pdfxls
Solicitudes publicadas en los últimos 15 días / Applications published in the last 15 days
previousPage Resultados 25 a 50 de 511 nextPage  

COMPUTER-IMPLEMENTED METHOD AND SYSTEM FOR DIGITALLY PROCESSING INDUSTRIALLY PRODUCED PRODUCTS BASED ON WASTE MATERIALS

NºPublicación:  EP4732211A1 29/04/2026
Solicitante: 
BASF SE [DE]
BASF SE
EP_4482077_A1

Resumen de: EP4482077A1

0001 Disclosed is a computer-implemented method for controlling production of a product in a production facility using one or more input materials, in particular for the production of a chemical product, wherein at least one of the input materials is a waste-derived material which may be provided from a source location to a target location of the production facility and wherein the source location and the target location may comprise two different waste-related technical requirements for the use of waste-derived materials for the production of a product, and wherein the method comprises the following steps: - providing a digital representation of the waste-related technical requirements for different source locations and target locations, wherein the digital representation includes the waste-related technical requirements as a rule-based model or set of rules, based on waste material categories being processed using material attributes for classifying a waste-derived material into at least one waste material category, and wherein it is distinguished between attested material attributes and associated material attributes; - evaluating at least one rule of the set of rules or the rule-based model relating to at least one waste material category for an underlying source location and for the target location, in particular regarding an attested material attribute for the waste-derived material; - generating control data for the production of the product, dependent on the result

ENVIRONMENTAL ATTRIBUTES FOR ACTIVE PHARMACEUTICAL INGREDIENTS AND/OR INTERMEDIATES THEREOF

NºPublicación:  EP4732210A1 29/04/2026
Solicitante: 
BASF SE [DE]
BASF SE
EP_4482082_PA

Resumen de: EP4482082A1

Disclosed are systems for producing an active pharmaceutical ingredient and/or intermediate(s) thereof associated with a digital asset, methods for producing an active pharmaceutical ingredient and/or intermediate(s) thereof associated with a digital asset, apparatuses for generating a digital asset, computer-implemented methods for generating a chemical passport, computer program elements for generating a digital asset, uses of an active pharmaceutical ingredient and/or intermediate(s) thereof associated with a digital asset, uses of a digital asset, products produced from the active pharmaceutical ingredient and/or intermediate(s) thereof and associated with a digital asset, a digital asset including one or more decentral identifier(s) and data related to the environmental impact data, apparatuses for producing a product associated with the digital asset and methods for producing a product associated with the digital asset.

COMPUTER-IMPLEMENTED METHOD AND SYSTEM FOR DIGITALLY CONTROLLING AND/OR MONITORING INDUSTRIAL PRODUCTION OF A CHEMICAL PRODUCT WITH CERTAIN ENVIRONMENTAL IMPACT

NºPublicación:  EP4732217A1 29/04/2026
Solicitante: 
BASF SE [DE]
BASF SE
CN_121359155_PA

Resumen de: CN121359155A

A computer-implemented method and system for controlling and/or monitoring the production of a chemical product having a specific environmental impact is disclosed wherein the method comprises the steps of:-receiving a request or order indicative of a chemical product, a desired number of the chemical product and a desired environmental impact of the chemical product; -in order to meet the desired amount and the desired environmental impact in the request, determining local and/or remote locations of one or more basic chemical input materials required to produce the requested chemical product; -acquiring from the database environmental impact attributes corresponding to the desired environmental impact required to produce the requested chemical product based on the determined local and/or remote location of the desired chemical input material (s); -receiving from the determined local and/or remote location (s) chemical input material (s) required to produce the requested chemical product; -removing, in a database, environmental impact attributes of the chemical input material (s) received from the local and/or remote location (s).

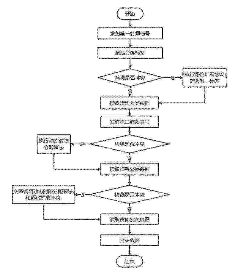
基于无人售货机的订单处理方法、装置、系统、设备及介质

NºPublicación:  CN121937011A 28/04/2026
Solicitante: 
广东电网有限责任公司广东电网有限责任公司计量中心
CN_121937011_A

Resumen de: CN121937011A

本发明公开了一种基于无人售货机的订单处理方法、装置、系统、设备及介质,属于订单处理的领域,所述方法适用于销售平台,所述方法包括:接收用户输入的货物订单信息,并将货物订单信息传输至对应的无人售货机,无人售货机根据货物订单信息生成并反馈货物取件码;将货物取件码和货物订单信息传输至运力平台,运力平台筛选目标派送员并确定货物订单信息后,将货物取件码传输给目标派送员,目标派送员根据货物取件码从无人售货机取货并进行派送。本发明通过取件码校验机制,确保派送员所取货物与用户订单精准匹配,有效避免取错货、派错件的问题,显著提升订单派送的效率与准确性。

基于楼宇微气象的配送方法、设备及计算机可读存储介质

NºPublicación:  CN121937015A 28/04/2026
Solicitante: 
亿航智能设备有限公司
CN_121937015_PA

Resumen de: CN121937015A

本发明公开了一种基于楼宇微气象的配送方法、设备及计算机可读存储介质,其中,该方法应用于微气象站,该微气象站设置于楼宇范围内的一个或多个区域,该方法包括:接收航空器和/或地面站的气象数据请求;根据该请求配置采集参数,并按该采集参数采集与请求类型对应的气象数据;确定与请求身份对应的航空器,并在预估途径时刻之前将气象数据发送至执行楼宇配送任务的航空器;本发明通过在楼宇区域内设置微气象站,使得执行楼宇配送任务的航空器能够有效地结合这种建筑密集场景下的气候气象进行风险规避,以此提升楼宇配送业务的适用广泛性,保障了配送效率和飞行安全。

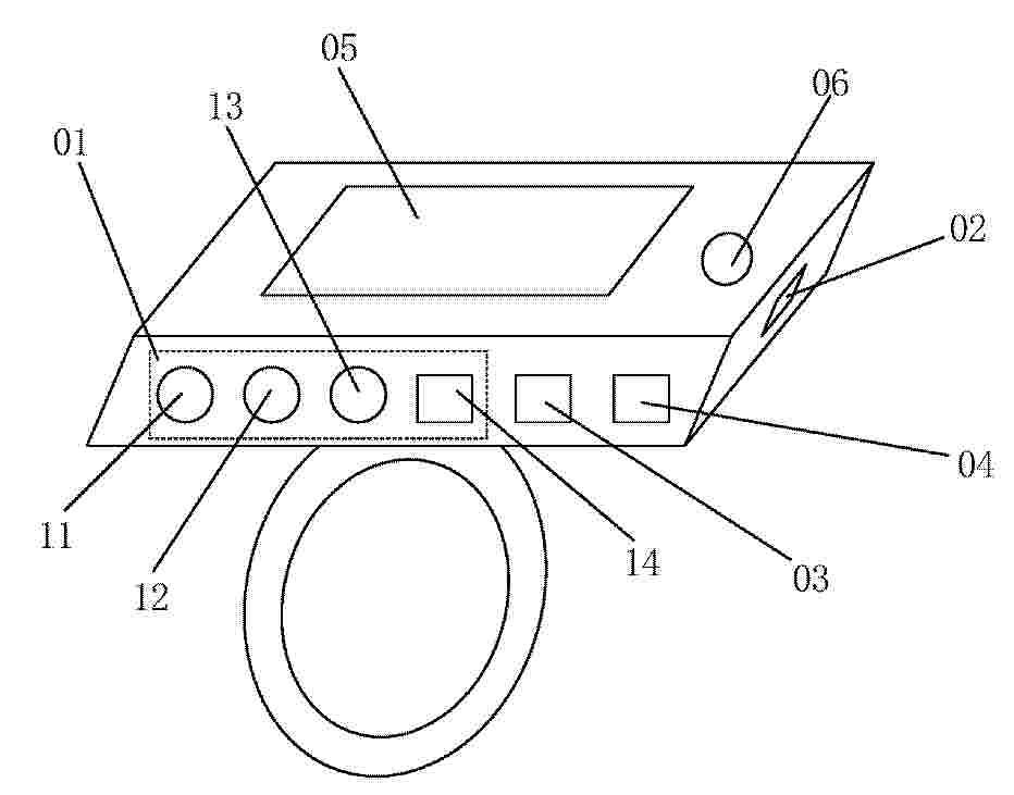
一种基于RFID的银行网点动态资产管理方法

NºPublicación:  CN121937030A 28/04/2026
Solicitante: 
中国建设银行股份有限公司浙江省分行
CN_121937030_PA

Resumen de: CN121937030A

本发明公开的是本发明公开一种基于RFID的银行网点动态资产管理方法,通过RFID桌面工作台完成资产与标签的绑定,利用固定式读写器和移动式读写设备采集资产信息,经RFID固定资产管理系统处理后,由智能管理平台实现资产全生命周期管理、实时监控预警与智能调度分析,实现该方法的系统包括RFID标签单元、读写器网络单元、RFID固定资产管理系统和智能管理平台,各单元间层级联动形成闭环管理,本发明解决了传统人工管理效率低、定位模糊的痛点,提升了资产利用率与风险管控能力,满足金融行业合规要求。

库存管理方法、库存管理系统和计算机设备

NºPublicación:  CN121937038A 28/04/2026
Solicitante: 
深圳市科脉技术股份有限公司
CN_121937038_PA

Resumen de: CN121937038A

本申请涉及一种库存管理方法、库存管理系统和计算机设备。该方法应用于业务端,包括:获取待处理业务单据,待处理业务单据对应至少一项待执行任务;基于待处理业务单据,执行目标仓库锁获取操作;在成功获取目标仓库锁的情况下,基于待执行任务发送对应的任务执行指令至服务端,以使服务端接收到任务执行指令的情况下,确定任务执行指令对应的任务单据标识,并在任务单据标识与目标仓库锁相匹配的情况下,执行任务执行指令,并向业务端反馈任务执行指令的任务执行结果;在接收的任务执行结果表征待处理业务单据下所有待执行任务均执行成功的情况下,释放目标仓库锁。采用本方法能够降低库存管理的混乱程度。

医药仓储库的出入库动态分配方法及系统

NºPublicación:  CN121937047A 28/04/2026
Solicitante: 
北京圆心科技集团股份有限公司
CN_121937047_PA

Resumen de: CN121937047A

本申请提供一种医药仓储库的出入库动态分配方法及系统,涉及库存管理技术领域。其中,本申请首先获取初始任务集合,并根据初始任务集合确定预测作业密度;其次根据预测作业密度与实时搬运信息,确定动态效期阈值;接着针对每一出库任务,根据动态效期阈值与对应药品的品规,确定第一候选货位集合;然后根据第一候选货位集合中的属性信息,生成对应的货位分配方案;随后计算每一货位分配方案的评价参数,并根据评价参数,确定目标货位组合;最后根据目标货位组合生成货位调度指令同时更新实时搬运信息。本申请提供的技术方案不仅实现了出库效率、库存周转与仓储资源利用的多目标优化,还提升对复杂、动态仓储环境的整体响应效率与库存周转质量。

双桥吊堆场的任务调度方法及装置、存储介质及电子设备

NºPublicación:  CN121936824A 28/04/2026
Solicitante: 
北京经纬恒润科技股份有限公司
CN_121936824_PA

Resumen de: CN121936824A

本申请提供的一种双桥吊堆场的任务调度方法及装置、存储介质及电子设备,应用于港口作业任务调度技术领域,当触发任务调度寻优条件时,获取堆场任务队列,在堆场任务队列不为空时,根据堆场任务队列中的各个任务,生成多个任务分配方案;对于每个任务分配方案,使用各个任务的任务调度参数,确定该任务分配方案的任务调度代价值,然后基于任务调度代价值最小的任务分配方案向双桥吊堆场中的两个桥吊分配堆场任务队列中的任务。由此,在调度双桥吊堆场中的任务时,可以进行全局寻优的方式确定最优的任务分配方案,使用最优的任务分配方案分配给桥吊分配任务,提高全局任务的执行效率。

一种基于多线传感的AGV调度管理系统

NºPublicación:  CN121934497A 28/04/2026
Solicitante: 
赛特环球机械(青岛)有限公司
CN_121934497_PA

Resumen de: CN121934497A

本发明公开一种基于多线传感的AGV调度管理系统,属于人工智能系统技术领域,用于AGV调度管理,包括控制、调度、仓储、视觉四个板块,当开启自动任务时,通过视觉板块寻找满桶或空桶,找到合适位置时,仓储板块生成自动任务,调度板块规划行走路线、分配车辆,通知控制板块,控制程序和车进行交互完成调度下发的命令。控制板块内部线程包括车辆数据连接和车辆派发器;调度板块实时定位更新;仓储板块内部线程包括任务计划器和仓储服务;视觉板块内部线程包括推理和数据同步,推理为实时相机识别,数据同步为识别状态更新。对比现有技术,本发明提高了AGV运行效率,合理调控任务分配,构建高效、智能、柔性的现代AGV系统。

一种蓝莓衰腐预测模型的构建方法和蓝莓衰腐的预测方法

NºPublicación:  CN121937994A 28/04/2026
Solicitante: 
吉林农业大学
CN_121937994_PA

Resumen de: CN121937994A

一种蓝莓衰腐预测模型的构建方法和蓝莓衰腐的预测方法,涉及农产品保鲜和检测领域领域,缓解了现有技术存在对蓝莓衰腐预测精度不足等问题。一种蓝莓衰腐预测模型的构建方法,基于获得的训练集,利用多任务动态损失函数对多任务统一预测模型进行训练,获得训练后的蓝莓衰腐预测模型。一种蓝莓衰腐的预测方法,根据获得的蓝莓序列,通过时空特征编码器,获得时空编码特征;通过空间‑通道联合注意模块,获得联合编码特征;基于联合编码特征获得蓝莓衰腐预测结果。一种蓝莓保鲜设备,包括按键输入模块、微控制器、光源输出模块及显示模块。本发明适用于预测蓝莓在自然存储或光照处理等保鲜条件下的衰腐演化过程。

一种基于多模态认证融合的无感库房管理系统与方法

NºPublicación:  CN121937052A 28/04/2026
Solicitante: 
四川中电启明星信息技术有限公司
CN_121937052_PA

Resumen de: CN121937052A

本发明涉及一种基于多模态认证融合的无感库房管理系统与方法,其中系统包括:前端设备,包括人脸识别摄像头、RFID识别设备、声纹采集器、步态识别摄像头、AR设备及门禁控制设备;后端服务器,用于员工和库房物料的数据存储以及权限管理;多模态生物识别融合模块,用于融合多模态生物特征进行员工身份认证;动态权限智能适配模块,内置权限管理引擎,根据员工状态自动调整其对库房的访问权限及物料操作范围;AR辅助拣选模块,用于将员工的预领用物料清单同步至AR设备,所述AR设备实时提供物料位置导航和最优拣选路径;无感库房全流程管理模块,用于实现物料领用与归还的自动出入库管理及库房准入控制。

利用大模型实现油品库存动态优化与精细化管理方法

NºPublicación:  CN121937034A 28/04/2026
Solicitante: 
中国石化销售股份有限公司广东石油分公司广东力源石油有限公司
CN_121937034_A

Resumen de: CN121937034A

本发明适用于大模型技术领域,提供了利用大模型实现油品库存动态优化与精细化管理方法,包括以下具体操作步骤:S1、库存数据采集:通过物联网、传感器、油品业务系统和监控模块进行获取库存相关的多个来源的不同数据,并构成数据采集层;S2、数据融合:采集的数据传输至计算机,通过计算机中的大模型对采集数据进行融合、对齐和上下文理解,并生成对当前库存状态一致的数据;本发明利用大模型实现油品库存动态优化与精细化管理方法,通过模型的决策是基于对未来的量化推演,从而大幅减少了决策中的主观性和盲目性,并在问题发生之前,就在虚拟世界中预见到了它的发生,并通过仿真,提前测试和选择最优的应对策略,保障运营平稳高效。

一种数据处理方法、装置、设备和存储介质

NºPublicación:  CN121934933A 28/04/2026
Solicitante: 
贝壳找房(北京)科技有限公司
CN_121934933_PA

Resumen de: CN121934933A

本发明涉及一种数据处理方法、装置、设备和存储介质。方法应用于前端,包括:响应于在线表格的修改请求,获取在线表格中的待修改商品数据,并确定该商品数据在在线表格中的位置信息;从该商品数据中提取出具有对应关系的商品库存单位标识和待修改字符,并根据提取信息以及位置信息构建修改数据;后端用于根据修改数据中的商品库存单位标识从目标品类数据库中查询得到品类数据,并根据商品库存单位标识对应的待修改字符对品类数据进行修改后得到目标数据,目标数据中携带商品库存单位标识对应的位置信息;根据目标数据中的位置信息在在线表格中进行数据渲染,有效减少前端进行页面渲染的操作频率,进一步提高操作流畅性,确保用户体验。

库房环境风险预警方法、装置、设备及介质

NºPublicación:  CN121937032A 28/04/2026
Solicitante: 
北京市科学技术研究院城市安全与环境科学研究所
CN_121937032_PA

Resumen de: CN121937032A

本发明提供一种库房环境风险预警方法、装置、设备及介质,涉及人工智能技术领域,其中方法包括:按照当前时间段中的每个时间步,对库房的环境数据、动态时序特征以及关联数据进行拼接,得到特征向量序列;基于特征向量序列,对环境状态进行预测,得到环境状态预测结果;基于风险知识库对环境状态预测结果进行风险计算,确定库房的风险信息,并基于风险信息进行风险预警。通过融合多源异构数据,不仅包括室内外环境参数,还引入了表征环境变化的动态时序特征和人员活动、设备状态等关联事件数据,为后续预测过程提供了更全面的环境上下文信息,使得预测过程能够更深刻地理解导致环境变化的原因,提升了库房环境风险预警的准确性。

一种基于深度强化学习和博弈论的智能工厂物流自组织调度方法

NºPublicación:  CN121936838A 28/04/2026
Solicitante: 
合肥工业大学
CN_121936838_PA

Resumen de: CN121936838A

本发明涉及工业自动化技术领域,公开了一种基于深度强化学习和博弈论的智能工厂物流自组织调度方法,包括:接收包含若干个待执行配送任务的批量生产订单,采集历史数据与实时运行数据,构建配送任务数据集;预测每个任务的预测交货时间,更新结构化配送任务列表;构建任务筛选智能体、批次构建智能体、AGV筛选智能体和任务子集分配智能体的协同智能体,以AGV利用率最大化、无延迟交货和任务负载均衡为目标,通过智能体自主学习优化初始批次构建,输出最优任务分批方案与AGV配送任务列表;基于批次任务实际执行数据,更新经验回放池与智能体网络参数。本发明显著提升了智能工厂物流调度的智能化水平。

基于RFID与数据可视化的仓储出入库自动化处理系统

NºPublicación:  CN121937043A 28/04/2026
Solicitante: 
惠州市行云易通科技有限公司
CN_121937043_PA

Resumen de: CN121937043A

本发明公开了基于RFID与数据可视化的仓储出入库自动化处理系统,涉及仓储管理技术领域。该基于RFID与数据可视化的仓储出入库自动化处理系统,通过RFID实时感知单元采集仓库内货物、载具及人员设备的标签信息,形成全局事件流,动态环境建模单元基于事件流实时构建数字孪生模型,记录物品位置与操作状态,任务分析与调度触发单元比对模型与作业计划,生成调度请求,协同智能决策单元优化调度计算,生成任务与路径指令,可视化引导单元将指令转为可视化数据包,交互终端引导操作员执行任务,并通过验证与更新单元确保作业的实时,本发明通过RFID与数据可视化技术,实时监控仓储状态,智能调度优化资源,提升仓储出入库管理效率。

卷烟物流的运力调度方法、装置、设备及存储介质

NºPublicación:  CN121937012A 28/04/2026
Solicitante: 
红云红河烟草(集团)有限责任公司
CN_121937012_PA

Resumen de: CN121937012A

本申请公开了一种卷烟物流的运力调度方法、装置、设备及存储介质,涉及烟草物流技术领域,方法实现了卷烟物流运力调度过程的系统化与智能化提升。通过数据清洗与预处理确保北斗轨迹数据的准确性与完整性,为后续分析奠定基础;通过多源数据融合构建结构化运力资源池,整合车辆状态与业务需求,增强决策支撑;建立双目标优化模型,在满足载重与时间窗约束下平衡运输成本与碳排放;采用智能算法求解生成帕累托最优方案,提供多目标权衡下的科学调度选择;基于实时位置数据动态调整路径,提升方案的适应性与执行效率;通过方案分发机制实现闭环管理。优化车辆资源利用率、降低燃油和人力成本,同时通过精准监控增强运输安全性。

变压器三维工艺设计方法、装置、设备及存储介质

NºPublicación:  CN121936141A 28/04/2026
Solicitante: 
特变电工沈阳变压器集团有限公司
CN_121936141_PA

Resumen de: CN121936141A

本申请公开了一种变压器三维工艺设计方法、装置、设备及存储介质,涉及工艺设计技术领域,公开了变压器三维工艺设计方法,包括:获取变压器产品的三维模型数据和预设工艺资源,并根据三维模型数据确定设计物料清单;对三维模型数据进行轻量处理,得到工艺设计模型数据;根据设计物料清单生成制造物料清单;根据预设工艺资源、工艺设计模型数据以及制造物料清单进行工艺规划,得到工艺规划结果;根据工艺规划结果对变压器进行三维工艺设计。通过建立分类化三维参数化模型库与标准工艺资源库、对模型进行定向抓取与渲染优化的轻量化处理,提升了变压器工艺设计效率。

一种煤矿辅助运输调度管理系统

NºPublicación:  CN121936765A 28/04/2026
Solicitante: 
山西煤炭运销集团簸箕掌煤业有限责任公司
CN_121936765_PA

Resumen de: CN121936765A

本发明属于调度管理系统技术领域,具体涉及一种煤矿辅助运输调度管理系统,包括智能协同调度平台、多模态冲突消解路由引擎、自适应主动防撞模块、边缘决策节点、弹性分层网络架构、载具智能终端集群、巷道交通控制装置集群、动态任务重分配模块和数字孪生仿真模块。该煤矿辅助运输调度管理系统极大地提升了煤矿辅助运输的效率与安全性。智能协同调度平台能够依据载具能力模型和任务链分解技术生成最优跨运输调度方案,实现多种载具的高效协同作业,减少车辆空闲等待时间与无效运行。多模态冲突消解路由引擎通过时空轨迹预测与冲突检测,精准规划无冲突路径,有效避免了巷道内的交通拥堵与碰撞事故。

一种基于数据驱动的物资日常巡检方法及系统

NºPublicación:  CN121937026A 28/04/2026
Solicitante: 
三峡金沙江云川水电开发有限公司
CN_121937026_PA

Resumen de: CN121937026A

本发明公开了一种基于数据驱动的物资日常巡检方法及系统,涉及物资管理技术领域,包括收集物资仓库日常巡检数据集,构建存储物资的检测模型;构建图像分类模型判断物资存储状态;设计基于规则的异常检测方法,通过分析物资数量、位置变化判断异常情况;将目标检测、图像分类和规则异常检测模型集成,实时检测物资存储情况,判断是否存在安全隐患或违规操作。本发明通过智能算法替代人工巡视,可以持续自动监测物资状态,大幅提升巡检效率。相比人工抽查,可以全时全面监控关键区域,减少监管盲区,实时发现异常,集成各种模型进行目标检测、状态识别、异常判断,可以显著提高检测精度,降低漏检率,监测结果可以纠正违规行为。

柜机端离线状态下投件的方法及系统

NºPublicación:  CN121937024A 28/04/2026
Solicitante: 
上海递煌智能科技有限公司
CN_121937024_PA

Resumen de: CN121937024A

本申请涉及物联网智能设备技术领域,公开了一种柜机端离线状态下投件的方法及系统,离线投件模式下,用户通过柜机端的显示触摸屏选择空闲格口并输入运单信息;柜机端将运单信息、柜机端信息、格口信息以及当前时间戳组合形成参数信息集并加密生成信息码;用户客户端扫描信息码后将参数信息集和自身授权凭证一起上传至平台服务器;平台服务器对其进行验证后生成订单信息并加密生成返回信息集,用户客户端根据返回信息集生成信息码;柜机端的摄像头扫描验证通过后存储订单信息并开启对应格口,用户进行投件。本申请解决现有柜机端在弱网或离线状态下无法完成投件操作的问题,确保了业务的连续性。

一种自动售货方法及智慧售货机器人

NºPublicación:  CN121938082A 28/04/2026
Solicitante: 
金华市一心一意网络科技有限公司
CN_121938082_PA

Resumen de: CN121938082A

本发明涉及自动售货领域,尤其涉及一种自动售货方法及智慧售货机器人。该方法包括以下步骤:采集顾客购买信息,进行取货清单确认,生成取货任务序列;获取商店三维结构图,进行店内空间语义分割及三维点云建模,构建店内三维结构模型;基于取货任务序列对店内三维结构模型进行位置定位,得到商品精准三维定位点;定位智慧售货机器人在无人商店中的实时位置,并对商品精准三维定位点进行动态取货路径规划,生成最优取货路径;基于最优取货路径进行实时取货执行,将商品推出顾客取货通道,并计算实际取货耗时。本发明通过机器人自动执行取货任务,减少人工成本,提高取货效率和准确率,也大幅度提高了无人商店的商品购买安全问题。

一种权益商品调度方法、系统、设备及存储介质

NºPublicación:  CN121936811A 28/04/2026
Solicitante: 
北京腾瑞明技术股份有限公司
CN_121936811_PA

Resumen de: CN121936811A

一种权益商品调度方法、系统、设备及存储介质,具体涉及电子商务技术领域。在该方法中,获取目标时间段内目标权益商品的兑换行为数据;基于所述兑换行为数据,确定所述目标权益商品的当前兑换频率;将所述当前兑换频率与预设的历史平均兑换频率进行对比,得到兑换频率变化趋势;计算与所述目标权益商品类型相同的关联商品的讨论热度增长率,将所述兑换频率变化趋势的增长率与所述讨论热度增长率进行加权计算,得到目标权益商品的未来兑换趋势评分;基于所述未来兑换趋势评分和所述目标权益商品的当前库存量,确定所述目标权益商品的调度策略;按照所述调度策略对目标权益商品进行调度。本申请提高了权益商品调度效率。

应用于仓库控制系统的货物出入库方法和装置

Nº publicación: CN121937037A 28/04/2026

Solicitante:

河南中浩信息科技有限公司李文明

CN_121937037_PA

Resumen de: CN121937037A

本公开的实施例公开了应用于仓库控制系统的货物出入库方法和装置。该方法的一具体实施方式包括:生成对应的货物入库任务,以及将货物入库任务添加至入库任务队列,得到添加后任务队列;对送达扫码位置的货物箱进行扫码识别,得到对应的货物箱号;货物箱号与添加后任务队列中的货物入库任务进行任务匹配,得到匹配后入库任务;对匹配后入库任务进行任务拆分,以生成提升机任务和穿梭车任务;控制搬运设备将货物箱搬运至提升机等待区;对提升机任务进行任务优先级划分,以及根据所划分的任务优先级,将提升机任务添加至提升机挂载任务队列;将货物箱从提升机等待区运输至搬运区;对货物箱进行货物入库。该实施方式可以提升仓储效率。

traducir