Ministerio de Industria, Turismo y Comercio LogoMinisterior
 

Alerta

Resultados 547 resultados
LastUpdate Última actualización 09/04/2026 [06:59:00]
pdfxls
Solicitudes publicadas en los últimos 15 días / Applications published in the last 15 days
previousPage Resultados 300 a 325 de 547 nextPage  

物资在线招采方法、系统及设备

NºPublicación:  CN121766880A 31/03/2026
Solicitante: 
中国建筑工程(香港)有限公司
CN_121766880_PA

Resumen de: CN121766880A

本申请公开了一种物资在线招采方法、系统及设备,涉及物资采购技术领域,该方法包括:获取当前采购需求信息,并根据当前采购需求信息以及历史采购数据生成各待采购材料对应的推荐供应商以及供应商画像;基于各推荐供应商初始化若干供应商组合,并根据各推荐供应商对应的供应商画像确定各供应商组合的基础评分;对各供应商组合进行压力测试模拟,根据模拟结果生成各供应商组合的弹性评分;结合基础评分以及弹性评分对各供应商组合进行排序,并根据排序结果确定目标供应商组合。本申请通过动态评分模型和压力测试模拟来量化评估各供应商组合,实现智能化供应商组合推荐,能够提前规避潜在的供应风险,提升企业应对突发事件的能力。

对象派送的方法、装置、设备和可读介质

NºPublicación:  CN121766858A 31/03/2026
Solicitante: 
北京京东远升科技有限公司
CN_121766858_PA

Resumen de: CN121766858A

本公开的实施例提供对象派送的方法、装置、设备和可读介质。该方法包括:确定用于运输对象的运输订单;响应于接收到对运输对象增加目标服务的用户请求,确定与目标服务对应的服务单;以及基于运输订单和服务单,控制对运输对象的派送操作。以此方式,可以提高派送效率,还可以提升用户体验。

融合直线距离与载重约束的大件商品装车策略生成系统及方法

NºPublicación:  CN121766686A 31/03/2026
Solicitante: 
广州品晟供应链科技有限公司
CN_121766686_PA

Resumen de: CN121766686A

本发明公开了融合直线距离与载重约束的大件商品装车策略生成系统及方法,涉及物流调度技术领域。通过构建车辆资源池与订单池,维护车辆的载重、容量三维尺寸信息,以及订单的商品物理属性与配送地址信息,基于车辆载重与容量三维尺寸约束,对订单池中的订单进行优化匹配与三维装载计算,生成包含车辆‑订单分配方案及车内货物三维摆放位置的装车策略,根据车辆出发地及对应订单的配送地址,结合由车内货物三维摆放位置推导出的装载依赖关系,生成满足货物物理卸载顺序的配送路径序列,有效解决了大件物流领域长期存在的“装载安全”、“装配脱节”和“经验依赖”等核心技术难点,具有显著的产业应用价值和经济效益。

电力物资管理实时数据分析的方法及系统

NºPublicación:  CN121770169A 31/03/2026
Solicitante: 
国网山东省电力公司临邑县供电公司
CN_121770169_PA

Resumen de: CN121770169A

本发明适用于电力系统及其自动化领域,提供了电力物资管理实时数据分析的方法及系统,该方法包括:实时采集整合电网拓扑数据、设备实时运行状态数据、物资主数据及实时故障报警信息形成多维度数据;以故障设备为起点,经下游拓扑遍历与设备状态分析生成潜在受影响设备清单;映射形成初始物资需求集合;查询库存并依据故障位置优选仓库、锁定物资生成抢修物资包工单;通过实际消耗反馈数据优化潜在受影响设备清单生成逻辑。本发明实现了数据驱动的电力物资全流程精准管理,提升了抢修物资调配效率与响应速度,保障电网稳定运行。

OCR RPA Automation System for Customs Clearance using OCR and RPA

NºPublicación:  KR20260042856A 31/03/2026
Solicitante: 
주식회사그릿스탠다드

Resumen de: KR20260042856A

OCR과 RPA를 이용한 수출입 통관 자동 신고 시스템이 개시된다. 본 발명에 따른 수출입 통관 자동 신고 시스템은, 수출입 통관 신고자 또는 신고 대행자가 신고서를 작성하기 위해 필요한 이미지 형태의 전자 문서를 OCR 을 사용하여 판독한 후 편집이 가능한 문서 형태로 변환하는 OCR 문서 판독 관리부; 및 판독된 문서를 사용하여 수출입 신고서를 자동으로 작성한 후 대사 작업을 통해 신고서 작성을 완료하는 수출입 통관 신고 RPA부와 문서의 자동 오류 검증과 송수신을 실행하는 문서 오류 검증부와 문서 송수신부를 포함한다.

一种基于化学成分及广义逆的迭代比例优化卷烟配方设计方法和装置

NºPublicación:  CN121765909A 31/03/2026
Solicitante: 
中国烟草总公司郑州烟草研究院
CN_121765909_PA

Resumen de: CN121765909A

本发明提供一种基于化学成分及广义逆的迭代比例优化卷烟配方设计方法,包括下步骤:收集目标烟叶样品和备选库单料烟烟草样品,使用近红外光谱仪对烟草样品进行扫描,获取近红外光谱,采用近红外模型获取烟草样品的多种化学成分数据,并对化学成分数据进行预处理;根据配方设计要求中的单料烟用料下限,将库存量不足下限的单料烟从备选库中删去;根据配方设计要求中的单料烟用料上限,将库存超过上限的单料烟库存量调整为上限;将目标烟叶样品的化学成分含量与目标用量相乘;将单料烟烟草样品的化学成分含量与调整后的库存量相乘,按照配置的基于化学成分及广义逆与比例迭代的配方设计算法运行多次,生成多个设计配方。

ESG Apparatus and methods for ESG management at construction sites

NºPublicación:  KR20260043604A 31/03/2026
Solicitante: 
주식회사공새로

Resumen de: KR20260043604A

건설 현장에서 발생하는 자재·장비·에너지·폐기물 데이터를 기반으로 ESG 목표 달성 여부를 실시간으로 모니터링·예측·보정하며, 잉여 자재의 재활용·거래 및 탄소 크레딧 산정을 통해 지속가능한 건설 관리가 가능하도록 하는 건설 현장 ESG 관리 장치 및 방법이 개시된다. 일 실시예에 따른 건설 현장 ESG 관리 장치는 데이터 입출력을 위한 인터페이스부; 인터페이스부를 통해 수신한 건설 정보를 기초로 자재 종류, 자재 수량, 장비 종류, 장비 수량, 소비 전력 및 소비 연료량 중 적어도 하나를 추정하여 온실 가스 배출량을 예측하는 예측부; 및 예측된 온실 가스 배출량을 기초로 ESG 지표를 계산하는 ESG 모니터링부를 포함할 수 있다.

一种自动贩卖机的清仓商品下架方法及系统

NºPublicación:  CN121766896A 31/03/2026
Solicitante: 
上海趣致网络科技有限公司
CN_121766896_A

Resumen de: CN121766896A

本申请公开了一种自动贩卖机的清仓商品下架方法及系统。方法包括每日拉取中心仓库存、在机库存与14天点位日均销量,构建城市级快照;先由预清仓下架模块冻结7天预留库存,获得可下架库存;结合平均补货后在机库存计算最低铺货点位数与当日最多可下架点位数,并判断城市总库存是否触发清仓;对满足条件的SKU按销量由低到高、下期排期由近及远、补货周期由长到短生成淘汰队列;依次对队列机器进行准入校验,通过则在数据库删除未来排期中的该SKU;每日滚动更新数据直至中心仓与在机库存均为零。本申请减少人工干预,动态地考虑机器销售条件和城市仓库库存流转效率两个方面的因素,优化清仓商品的销售规划。

一种基于多源渠道的库存供应管理方法

NºPublicación:  CN121766885A 31/03/2026
Solicitante: 
广东工业大学广州哆啦科技有限公司
CN_121766885_PA

Resumen de: CN121766885A

本发明属于库存管理技术领域,公开了一种基于多源渠道的库存供应管理方法,该方法首先通过多源采集模块实时获取各类货物的出货与供应数据,经数据清洗与标准化处理后,分别计算两类核心管理指标:第一管理指标综合实时库存、最低缓冲量、提前期需求量及供需差异,用于动态优化单次供货量,预防缺货;第二管理指标为出货量与供货量之比,用于判断供需平衡状态,并据此按比例调整供货周期。本发明通过双指标协同调控,实现了供应量与供应周期的闭环优化,有效提升了库存管理的精准性与响应效率,降低了缺货与积压风险。

ENTERPRISE RESOURCE PLANNING MANAGEMENT SYSTEM PERFORMING ENTERPRISE RESOURCE PLANNING MANAGEMENT ON INTERACTIVE DATA STRUCTURE

NºPublicación:  KR20260042812A 31/03/2026
Solicitante: 
주식회사에이아이에프솔루션

Resumen de: KR20260042812A

대화형 데이터 구조에 기반하여 물류시스템의 전사적 자원관리를 수행하는 전사적 자원관리 시스템이 개시된다. 본 발명에 따른 전사적 자원관리 시스템은, 물류 시스템 운용을 위한 대화형 이알피(ERP) 시스템에 있어서, 육하원칙에 기반하여 관리자의 음성신호를 입력받아 발화 패턴에 대응하는 키워드를 쿼리 데이터로 출력하는 쿼리데이터 생성기; 쿼리 데이터를 음성 데이터로 변환하는 음성데이터 변환기; 음성 데이터가 ERP 운용을 위해 기 등록된 명령어인지를 판단하고, 등록되지 않은 명령어인 경우 재입력을 요구하는 대화형 서버; 대화형 서버로부터 수신된 명령어에 기반하여 주문정보를 생성하고, 주문정보를 토대로 제조, 물류, 납품, 수요분석, 수요예측, 물량계획, 배분정보를 관리하며, 기 설정된 ERP 알고리즘에 따라 주문, 제조, 물류, 납품에 이르는 공급망 관리 전반에서 발생되는 흐름을 계획하는 관리서버 단말기; 관리서버 단말기와 통신망을 통해 연동되어 상기 관리서버 단말기에 공급자 정보, 물량 계획 및 제품 정보를 입력 및 출력하도록 하는 생산자 단말기; 제품의 수거 또는 배송의 상태를 입력하는 배송업체 단말기; 및 주문현황 및 배송 현황에 대한 정보를 검색하도록 하는 소비자 단말기를 포함한�

快递物流自动检测需要帮扶对象和触达系统

NºPublicación:  CN121766943A 31/03/2026
Solicitante: 
上海圆擎信息科技有限公司
CN_121766943_PA

Resumen de: CN121766943A

本发明公开了快递物流自动检测需要帮扶对象和触达系统,涉及物流管理技术领域,包括:多源数据采集层,用于通过标准化接口实时采集并整合快递小哥的多维度作业数据,所述多维度作业数据包括基础属性数据、作业行为数据、质量结果数据和环境关联数据;智能分析决策层,连接所述多源数据采集层,用于基于所述多维度作业数据通过预设的算法模型自动识别需要帮扶的快递小哥。本发明提出的快递物流自动检测需要帮扶对象和触达系统,通过多维度数据实时采集与智能分析,实现了对快递人员能力的精准评估与潜在问题的提前识别,有效降低了管理成本,确保了帮扶措施的针对性和有效性,提升了快递人员的专业能力和服务水平。

一种无目标垛位的钢板倒垛优化方法及其计算机程序产品

NºPublicación:  CN121757506A 31/03/2026
Solicitante: 
湖南天桥嘉成智能科技有限公司
CN_121757506_PA

Resumen de: CN120841047A

The invention provides a target-stack-position-free steel plate stack transfer optimization method and a computer program product thereof.The method comprises the steps that the number sequence of initial disordered steel plates and the number of temporary stack positions are obtained, and the final temporary stack position to which each steel plate belongs and the final steel plate sequence on each temporary stack position are determined; the number of the temporary stacking positions is at least two; sequentially carrying out steel plate stack transfer operation from the top layer to the bottom layer of the initial disordered steel plates until stack transfer of all the steel plates is completed; in the stack transferring operation process, a way giving rule and a moving-away rule are followed; the multiple temporary stack positions are fully utilized as buffering and sorting spaces, the transfer path and sequence of the steel plates from the initial stack position to the temporary stack positions are planned by setting the stack transfer rule, dependence on the fixed target stack positions and invalid carrying are reduced, the site space utilization rate and the stack position resource turnover efficiency are improved to the maximum extent, and the production cost is reduced. The energy consumption and time cost of stack transfer operation are effectively saved, and meanwhile the overall response capacity and flexibility of warehousing operation are greatly improved.

物品识别装置和系统

NºPublicación:  CN121773439A 31/03/2026
Solicitante: 
艾利丹尼森零售信息服务有限公司
CN_121773439_PA

Resumen de: WO2025048863A1

In some embodiments, an item identifier system is disclosed. In some embodiments, the item identifier system includes an item identifier device that includes a housing, an RFID reader, an internal frame, a first antenna, and a second antenna. The housing may be provided with at least one coupler on a top surface for mounting the item identifier device. The RFID reader may be disposed within the housing. The internal frame may support the RFID reader, and the internal frame may include a horizontal member and a tilted member inclined to the horizontal member. The first antenna may be operatively coupled to the RFID reader and positioned below the horizontal member and the RFID reader. The second antenna may be operatively coupled to the RFID reader and positioned below the tilted member.

化工厂和控制化工厂的方法

NºPublicación:  CN121773438A 31/03/2026
Solicitante: 
巴斯夫欧洲公司
CN_121773438_PA

Resumen de: WO2025045897A1

A chemical plant (1) is provided with a first production facility (200) to produce fuel gas (201) as a product or a byproduct and a second production facility (300) arranged downstream from the first production facility (200) to consume fuel gas (201) produced by the first production facility (200) and to consume natural gas if an amount of fuel gas produced by the first production facility is not sufficient for an operation of the second production facility (300). The chemical plant (1) comprises a controller (100) configured to control an operation of the second production facility (300) based on a term in an objective function to reduce a temporal variation of a consumption of fuel gas by the second production facility (300) and a second term in the objective function to reduce a deviation of a demand for fuel gas by the second production facility (300) with a constraint that the second production facility does not consume more gas than the amount of fuel gas provided by the first production facility (200).

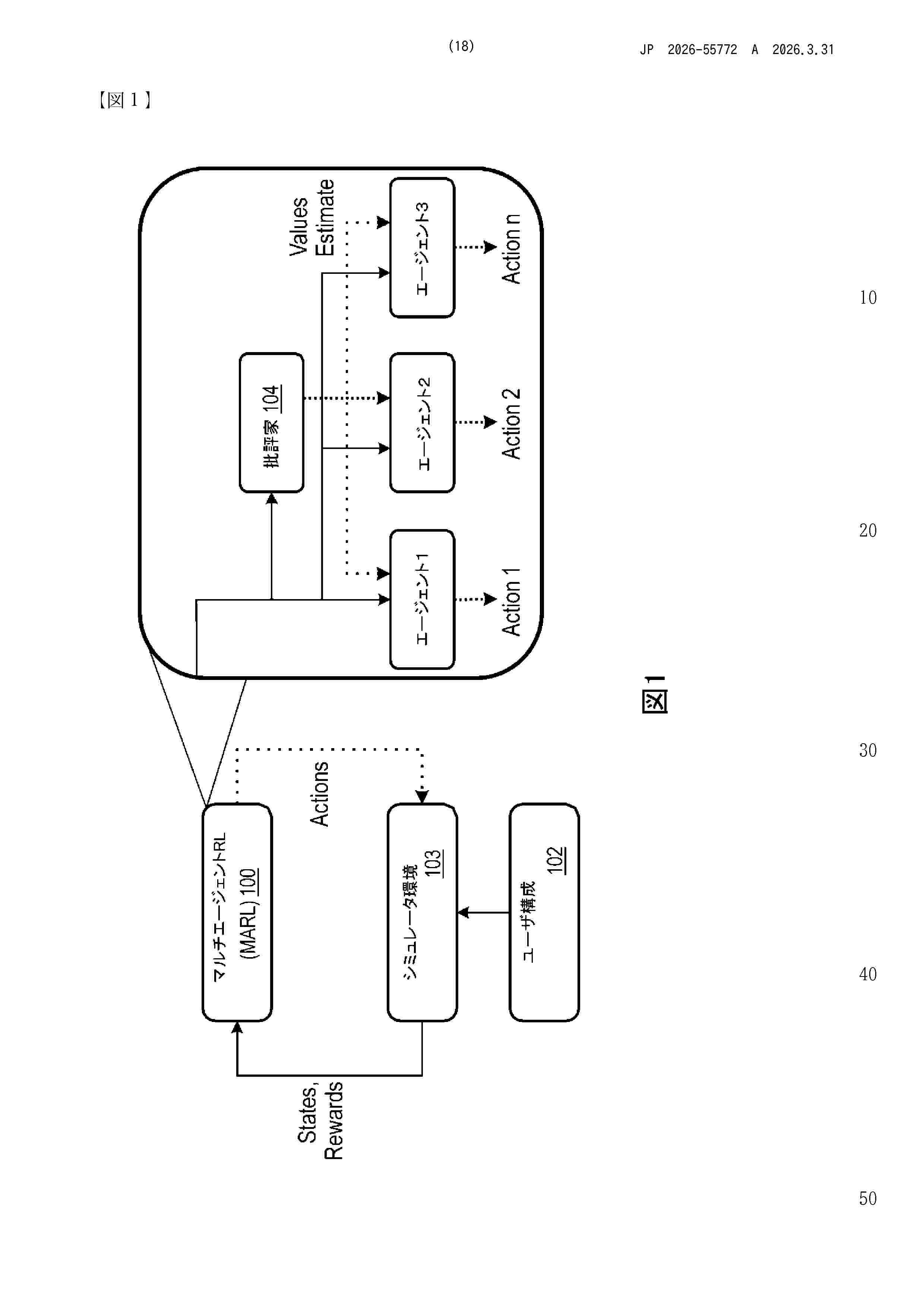
マテリアルハンドリングシステムにおける動的ディスパッチングのためのマルチエージェント強化学習フレームワーク

NºPublicación:  JP2026055772A 31/03/2026
Solicitante: 
株式会社日立製作所
JP_2026055772_A

Resumen de: US20260077949A1

Systems and methods for implementation of a multi-agent reinforcement learning based decision system for a materials handling system, including initializing a simulation environment comprising decision points for dispatching materials and attributes of the materials handling system, the simulation environment configured to request a decision for materials dispatch at the decision points to the multi-agent reinforcement learning based decision system; initializing the reinforcement learning agents representative of the decision points for the multi-agent reinforcement learning based decision system; initializing domain expert heuristics for the decision points for the multi-agent reinforcement learning based decision system; and iteratively training the reinforcement learning based decision system with the initialized domain expert heuristics on the simulation environment.

车用动力锂电池智能回收系统及方法

NºPublicación:  CN121766968A 31/03/2026
Solicitante: 
索提斯云智控科技(上海)有限公司
CN_121766968_PA

Resumen de: CN121766968A

本发明提出了一种车用动力锂电池智能回收系统及方法,该系统包括设备执行层、S20边缘节点模组和E7云平台,依次双向通信;其中,S20边缘节点模组包括入库节点、仓储区节点和出库区节点;入库节点设置于入库检测区;仓储区节点设置于仓储区,出库区节点设置于出库区;E7云平台为智能化中央仓储管理平台。本发明解决了车用动力锂电池回收中安全性与回收效率的平衡难题。

基于区块链的原材料仓库数据存证管理系统

NºPublicación:  CN121765016A 31/03/2026
Solicitante: 
福建省永联汽车科技有限公司
CN_121765016_PA

Resumen de: CN121765016A

本发明涉及区块链数据管理技术领域,公开了基于区块链的原材料仓库数据存证管理系统。该系统包括数据采集模块、边缘计算节点、可信数据网关及区块链存证网络,通过对原始环境参数进行边缘侧特征提取与压缩,生成标准数据记录及其哈希指纹,并将指纹存证至区块链,实现数据防篡改与高效验证。将需要上链存证的数据量从原始的秒级采样点大幅压缩为30秒时间窗口的统计特征数据包,显著降低了直接提交至区块链网络的数据吞吐量。此举从根本上缓解了区块链网络的交易池拥堵问题,使得数据指纹能够被快速记录,有效解决了数据存证延迟与实时监控需求之间的矛盾。

一种基于数字孪生的城市物流枢纽系统及使用方法

NºPublicación:  CN121766663A 31/03/2026
Solicitante: 
中建三局智能技术有限公司
CN_121766663_PA

Resumen de: CN121766663A

本发明公开了一种基于数字孪生的城市物流枢纽系统及使用方法,涉及智能物流与工业物联网技术领域,包括:动态数据采集层,其用于采集多模态数据并进行数据预处理;数字孪生建模层,其基于多模态数据生成数字孪生模型;协同优化引擎层,其包括路径规划模块和强化学习模块,路径规划模块用于进行跨模态路径规划,生成初始路径,强化学习模块基于初始路径的设备调度结果,进行冲突检测,在检测到冲突时,选择动作进行策略调整,并根据动作结果调用路径规划模块重新规划路径;数字孪生模型还用于对规划的路径进行仿真,以判断是否满足约束条件。本申请提升了物流枢纽的资源利用率、动态响应效率及应急处理能力,并支持多式联运场景下的全局协同决策。

基于RFID识别的智能试剂管理方法及系统

NºPublicación:  CN121766893A 31/03/2026
Solicitante: 
广东顺德中科优联医学检验有限公司
CN_121766893_PA

Resumen de: CN121766893A

本发明提出基于RFID识别的智能试剂管理方法及系统,方法包括:试剂入库时,同步采集试剂的RFID标签编号和试剂瓶体的第一图像,基于所述第一图像提取第一图像特征向量,并生成第一身份签名;在试剂周期性盘点时,提取第二图像特征向量,并结合所述当前RFID标签编号生成第二身份签名;并计算所述第二图像特征向量与所述第一图像特征向量之间的结构差异度;基于所述结构差异度、所述第二身份签名与所述第一身份签名的比对结果、以及该试剂的历史识别记录,构建综合异常度模型,以计算综合异常度;当所述综合异常度超过预设阈值时,自动触发预设的管理动作。本发明适用于对安全性和准确性要求极高的实验室试剂管理场景。

一种基于物联网的智能工具管理系统及方法

NºPublicación:  CN121766703A 31/03/2026
Solicitante: 
贵州西南中创科技有限公司
CN_121766703_PA

Resumen de: CN121766703A

本发明属于智能工具柜管理领域,具体而言,涉及一种基于物联网的智能工具柜管理系统及方法。包括至少一个智能工具柜终端、用户移动终端、系统后台服务器;本发明通过核心处理引擎模块的优化算法,使得该系统能够基于历史使用数据自动计算出各工具柜的最优工具配置方案打破了传统固定配置模式,实现按需动态调整,显著提高工具利用率配置决策从依赖人工经验转变为数据驱动,提高了决策的科学性和准确性,解决了现有技术方案仍存在管理模式僵化,且资源配置与动态需求严重脱节根本性局限,导致工具管理始终处于“被动响应”和“局部优化”的初级阶段,无法实现真正的智能化与全局优化的问题。

拣货储位生成方法、装置、设备和存储介质

NºPublicación:  CN121766877A 31/03/2026
Solicitante: 
北京京东远升科技有限公司
CN_121766877_PA

Resumen de: CN121766877A

本公开提供了一种拣货储位生成方法、装置、设备和存储介质,涉及仓储物流领域,尤其涉及智慧供应链等领域。该方法包括:响应于已接收到用于调用预配置的储位推荐规则的调用指令,从数据库中查询储位推荐规则,其中,储位推荐规则关联有与储位推荐规则相匹配的储位信息,调用指令是在业务端已获得拣货任务的情况下生成的;响应于已接收到拣货任务的任务属性信息,对任务属性信息和储位推荐规则进行匹配,得到与任务属性信息相匹配的目标储位推荐规则;以及将与目标储位推荐规则相关联的目标储位信息发送至业务端,以生成针对拣货任务的拣货储位。

一种基于多思维链调配的货物存放方法、装置及存储介质

NºPublicación:  CN121757507A 31/03/2026
Solicitante: 
中国移动通信集团内蒙古有限公司中国移动通信集团有限公司
CN_121757507_PA

Resumen de: CN121757507A

一种基于多思维链调配的货物存放方法、装置及存储介质,应用于智能仓储管理技术领域,方法包括:获取智能仓储机器人可用的第一货位集合;根据第一货位集合以及货架条件规约因素,生成第一摆放链;根据第一摆放链的预设截止时间,确定第一摆放链中无法被摆放的第二货物;根据第二货物的摆放属性和智能仓储机器人的设备状态参数,构建可以同车存放同属性的多个第二货物的第二摆放链;根据已存放货物,对未处于第二摆放链中的第二货物进行同策略临近存放,并构建第三摆放链;根据三个摆放链,依次控制智能仓储机器人进行货物存放。实现了对货物存放动态需求的灵活应对,提高了仓库的全面自动化管理水平,提升了作业效率,实现了多仓库的差异化管理。

基于需求侧的港区内集卡调度方法、装置及设备

NºPublicación:  CN121766668A 31/03/2026
Solicitante: 
招商局国际科技有限公司
CN_121766668_A

Resumen de: CN121766668A

本发明属于港口车辆调度技术领域,公开了基于需求侧的港区内集卡调度方法、装置及设备。该方法包括:实时监测各作业点当前适卸拖车数量,若当前适卸拖车数量低于预先为作业点配置的适卸拖车数量阈值,则选取当前空闲或即将空闲的集卡作为候选集卡,并根据作业模式从指令池中选取待分配的作业指令;确定每一个候选集卡与待分配的作业指令的匹配代价,并以总体匹配代价最小化为目标,对候选集卡与作业指令进行配对,以实现集卡调度。上述方式基于需求侧的响应,可以减少拖车空跑和空等,同时建立更精确的量化拥堵识别,在拖车路径规划时考虑路径冲突,使得计算拖车行驶时间更精准,从而提升调度效果。

基于混合深度学习架构的码头道口外集卡流量预测方法及系统

NºPublicación:  CN121766535A 31/03/2026
Solicitante: 
同济大学
CN_121766535_PA

Resumen de: CN121766535A

本发明涉及一种基于混合深度学习架构的码头道口外集卡流量预测方法及系统,方法包括:采集码头道口外集卡数据,进行预处理、数据匹配计算及特征工程处理,构建码头道口外集卡流量预测数据集;码头道口外集卡流量预测数据集包括码头道口外集卡流量时序特征、码头道口外集卡流量空间特征以及码头道口外集卡预约量特征;将码头道口外集卡流量预测数据集输入预训练的预测模型中,输出未来若干小时内每个小时的码头道口外集卡流量预测值。与现有技术相比,本发明充分考虑码头道口外集卡流量时间序列的全局特征与短时特征,并引入空间特征与集卡预约量特征实现码头道口外集卡流量的时空信息融合,从而实现码头道口外集卡流量的动态实时精确预测。

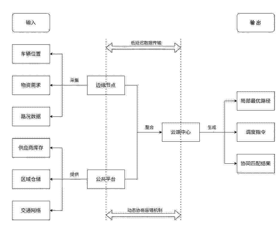
应急物流中卡车-无人机协同动态调度方法及系统

Nº publicación: CN121766548A 31/03/2026

Solicitante:

济南大学

CN_121766548_PA

Resumen de: CN121766548A

本发明提出了一种应急物流中卡车‑无人机协同动态调度方法及系统,涉及无人机智能调度技术领域。构建卡车‑无人机协同配送网络,每辆卡车配备包含大型无人机与小型无人机的协同单元;网络包含仓库、枢纽点及需求点;以最小化总运营成本为目标,以电量管理、服务分配、时间窗与协同可行性为约束,建立混合整数规划模型;采用随机化贪心算法对所述模型进行求解,在单次迭代中同步决策卡车路径与无人机任务,得到卡车路径方案、无人机服务分配方案及动态电量调度方案。从而实现应急物流调度的成本最优与动态协同,有效提升应急配送的效率与可行性。

traducir