Ministerio de Industria, Turismo y Comercio LogoMinisterior
 

Alerta

Resultados 172 resultados
LastUpdate Última actualización 03/04/2026 [07:19:00]
pdfxls
Solicitudes publicadas en los últimos 30 días / Applications published in the last 30 days
Resultados 1 a 172  

FLUID-ABSORPTIVE GASTRORETENTIVE DOSAGE FORM FOR PROLONGED DRUG DELIVERY

NºPublicación:  AU2024327179A1 02/04/2026
Solicitante: 
BLAESI ARON H
BLAESI, Aron H
AU_2024327179_PA

Resumen de: AU2024327179A1

In this specification, a new design and formulation of an expandable dosage form is presented where the post-expansion mechanical properties and the drug release rate by the dosage form can be independently controlled. The dosage form generally comprises a fluid-absorptive, expandable solid core, a mechanically strengthening semi-permeable layer substantially encapsulating said fluid-absorptive core, and a drug-containing solid applied outside said encapsulated core.

GASTRORETENTIVE DOSAGE FORM FOR PROLONGED DRUG DELIVERY

NºPublicación:  AU2024327475A1 02/04/2026
Solicitante: 
BLAESI ARON H
BLAESI, Aron H
AU_2024327475_PA

Resumen de: AU2024327475A1

In this specification, a new design and formulation of an expandable, gastroretentive dosage form is presented where the post-expansion mechanical properties and the drug release rate can be independently controlled. The dosage form generally comprises a drug-laden formulation attached to an expandable, gastroretentive solid.

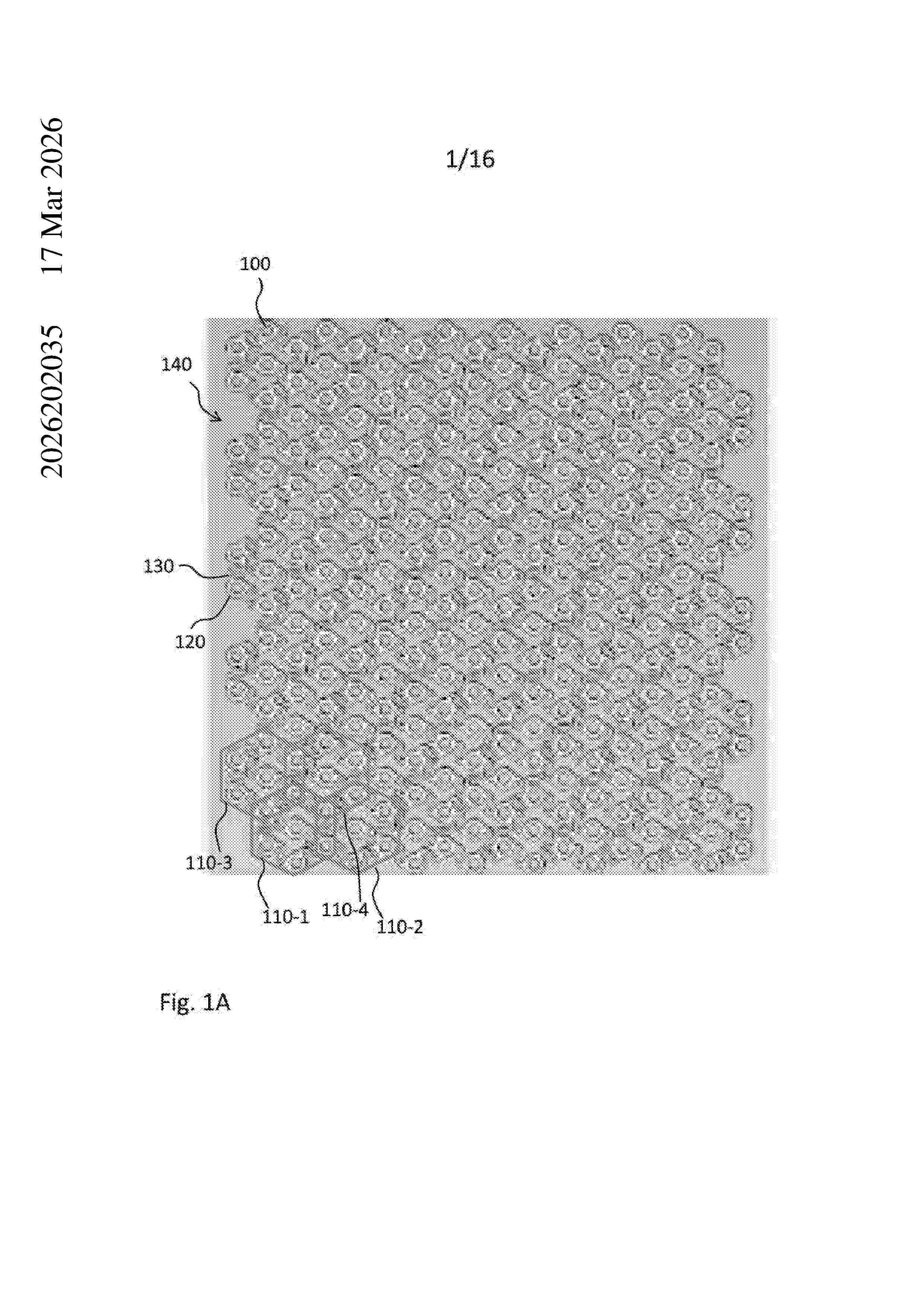
Implant and method for covering large-scale bone defects for thorax

NºPublicación:  AU2026202035A1 02/04/2026
Solicitante: 
KARL LEIBINGER ASSET MAN GMBH & CO KG
Karl Leibinger Asset Management GmbH & Co. KG
AU_2026202035_A1

Resumen de: AU2026202035A1

Abstract The invention provides an implant for covering a thorax bone defect, comprising: 5 at least one lattice structure of individual lattice cells, each lattice cell comprising one or more ring elements, each ring element comprising a through-hole configured for receiving a fixation device, at least some of the ring elements of each lattice structure 10 being connected via non-linear bridge elements to one another, wherein the implant is made at least predominantly from a plastic material. ar b s t r a c t a r h e i n v e n t i o n p r o v i d e s a n i m p l a n t f o r c o v e r i n g a t h o r a x b o n e d e f e c t , c o m p r i s i n g : a t l e a s t o n e l a t t i c e s t r u c t u r e o f i n d i v i d u a l l a t t i c e c e l l s , e a c h l a t t i c e c e l l c o m p r i s i n g o n e o r m o r e r i n g e l e m e n t s , e a c h r i n g e l e m e n t c o m p r i s i n g a t h r o u g h - h o l e c o n f i g u r e d f o r r e c e i v i n g a f i x a t i o n d e v i c e , a t l e a s t s o m e o f t h e r i n g e l e m e n t s o f e a c h l a t t i c e s t r u c t u r e b e i n g c o n n e c t e d v i a n o n - l i n e a r b r i d g e e l e m e n t s t o o n e a n o t h e r , w h e r e i n t h e i m p l a n t i s m a d e a t l e a s t p r e d o m i n a n t l y f r o m a p l a s t i c m a t e r i a l

SYNTHETIC HEMOCOMPATIBLE VASCULAR GRAFTS MANUFACTURED FROM POLYVINYL ALCOHOL-BASED BIOMATERIALS

NºPublicación:  US20260091160A1 02/04/2026
Solicitante: 
GVOZDIC NEDELJKO VLADIMIRA [US]
Gvozdic Nedeljko Vladimira
US_20260091160_A1

Resumen de: US20260091160A1

Synthetic hemocompatible vascular grafts manufactured from polyvinyl alcohol-based biomaterials containing crystalline segments of polyvinyl alcohol, which are long-term fully functioning vascular grafts that provide no activity towards immune systems in recognizing surfaces as foreign bodies that would normally lead to fibrosis, platelet activation and subsequent thrombi formation, and thus occlusion of the grafts.

THIOL-ENE HYDROGELS

NºPublicación:  US20260091161A1 02/04/2026
Solicitante: 
ALLARTA LIFE SCIENCE INC [CA]
ALLARTA LIFE SCIENCE INC
US_20260091161_A1

Resumen de: US20260091161A1

There is provided a hydrogel string for encapsulating a biological material. The hydrogel string has a thiol-ene crosslinked polymer with a first side-chain functionalized backbone polymer functionalized with an activated alkene crosslinked with a free or protected thiol-containing group present on a second side-chain functionalized backbone polymer. The biological material is encapsulated within the thiol-ene crosslinked polymer.

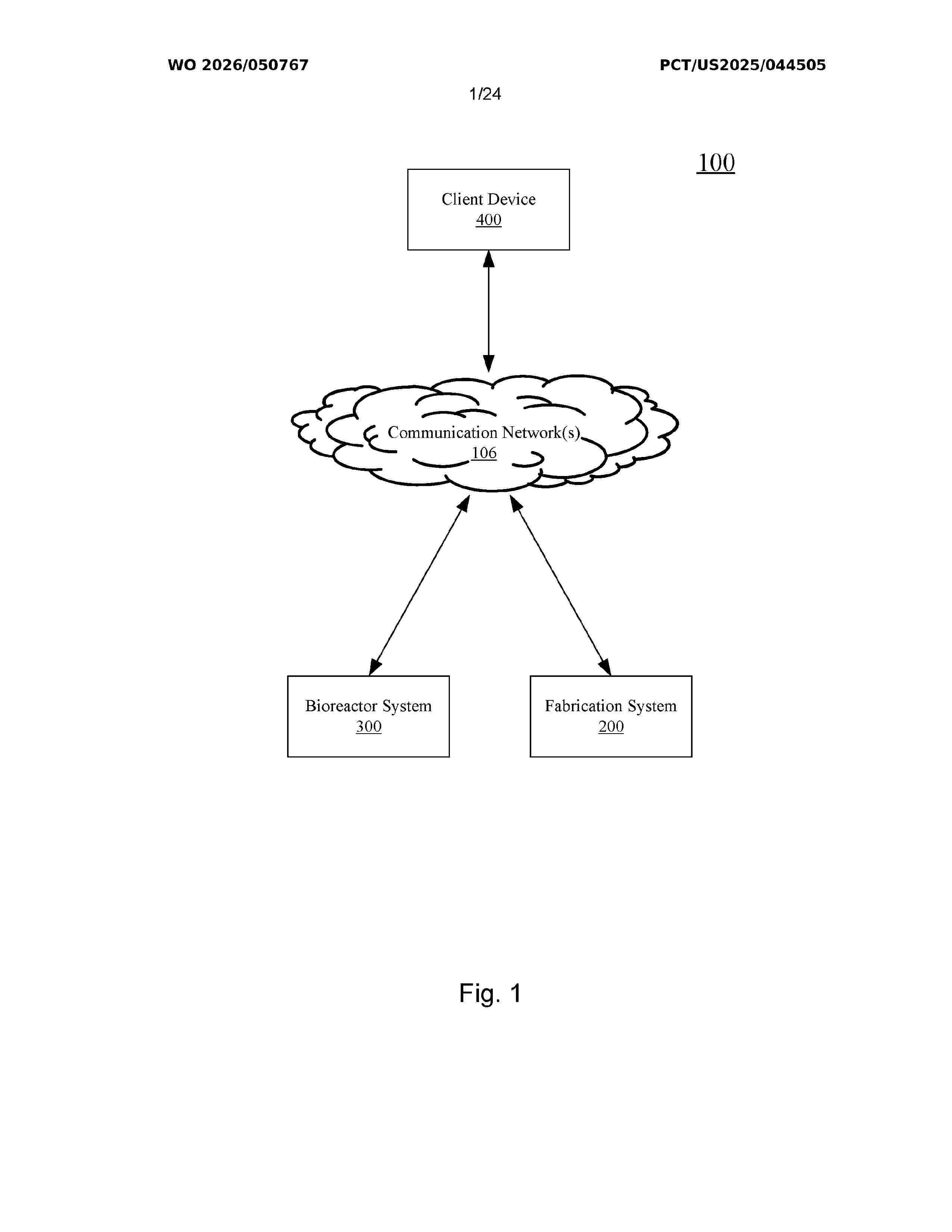
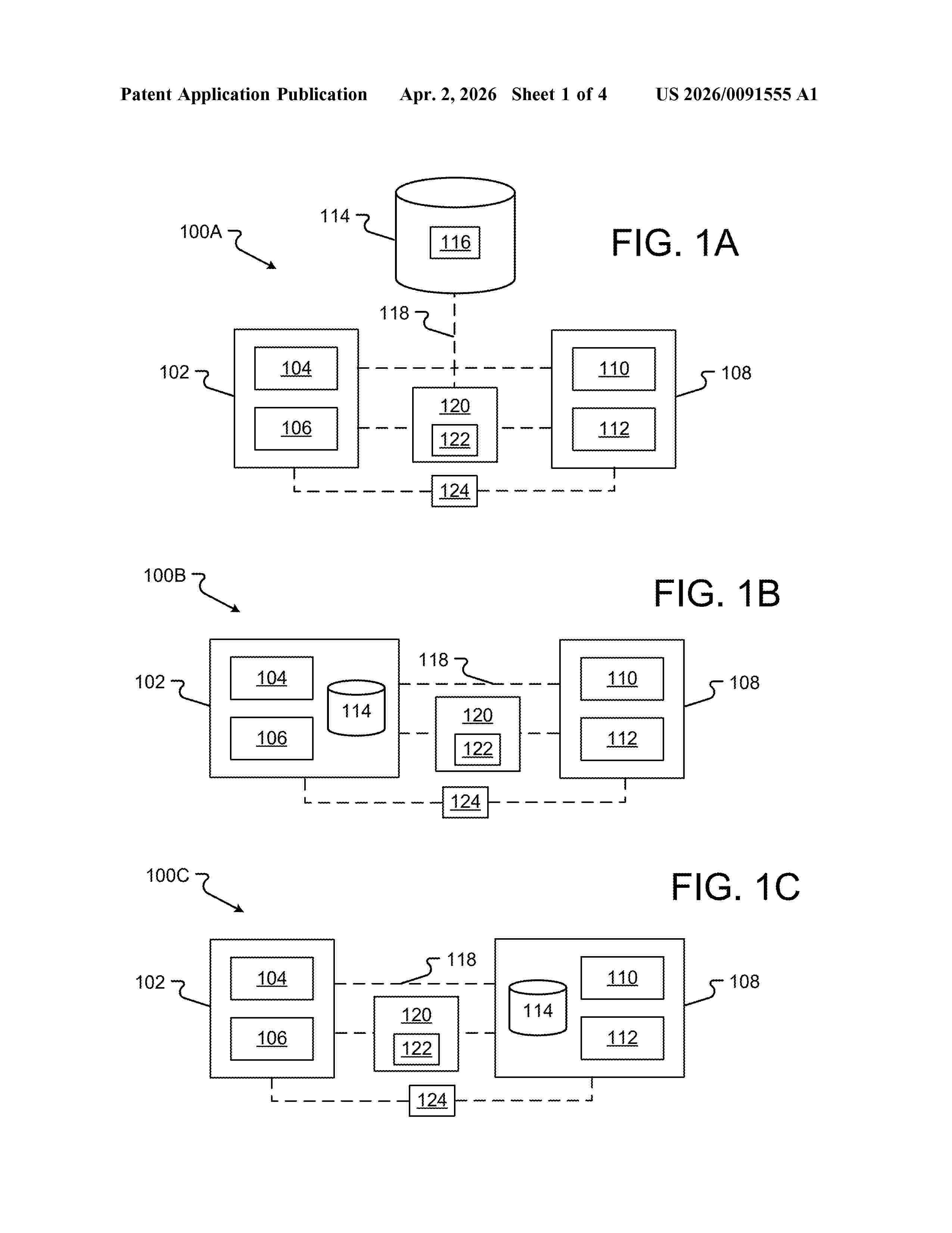
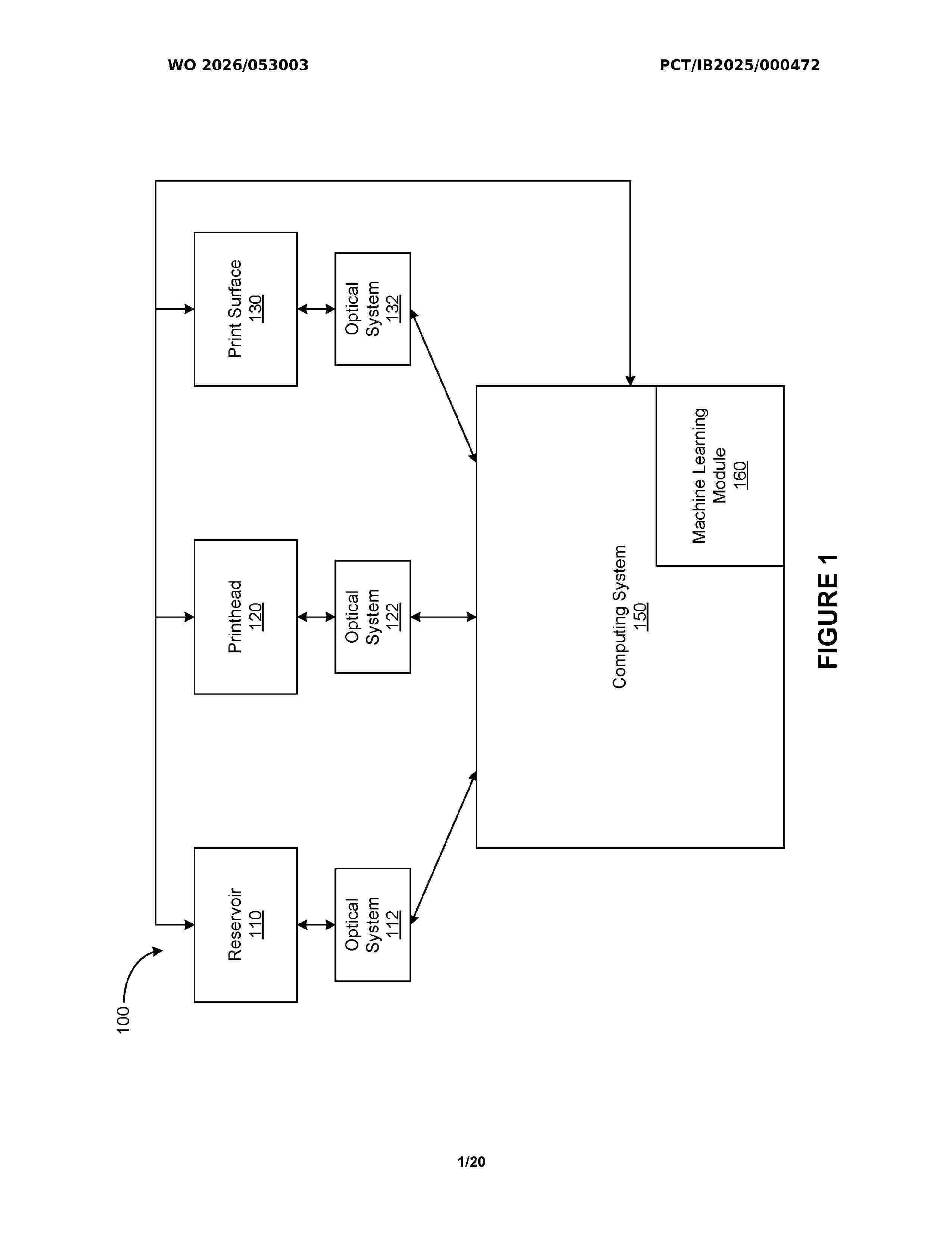
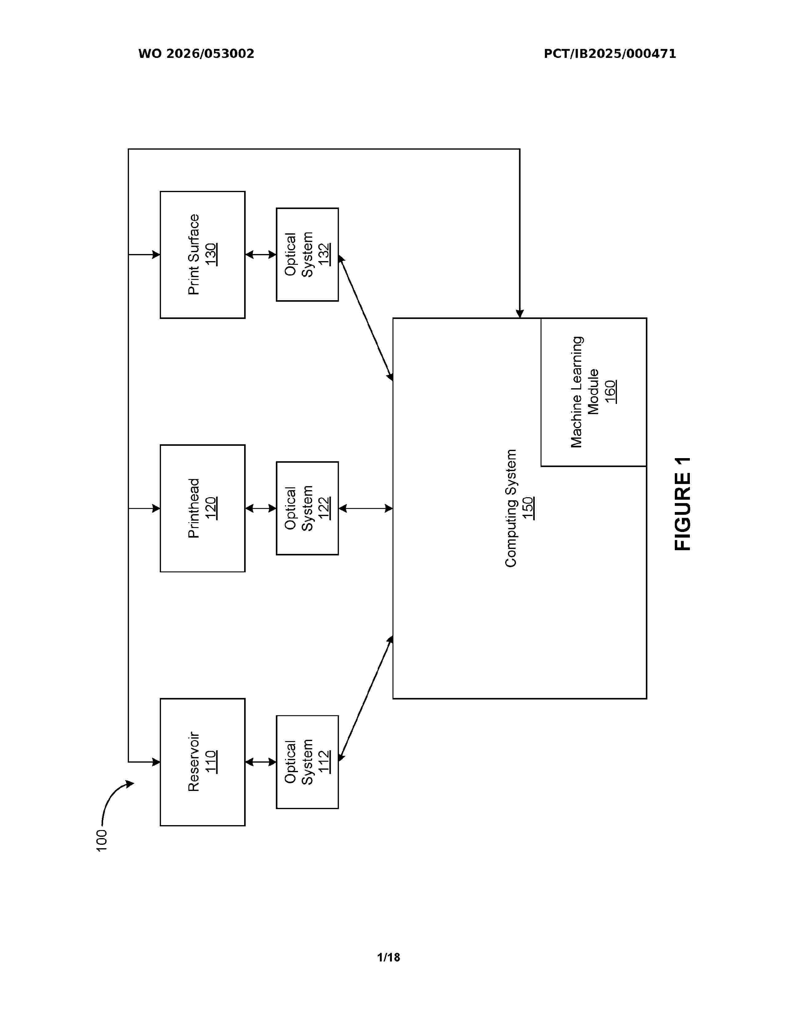
SYSTEMS AND METHODS FOR PRINTING THREE-DIMENSIONAL OBJECTS

NºPublicación:  US20260091555A1 02/04/2026
Solicitante: 
BIOMET 3I LLC [US]
BIOMET 3I, LLC
US_20260091555_A1

Resumen de: US20260091555A1

Dental restoration technologies include dental prosthesis components such as implants, abutments, crowns, and the like that are mapped to a patient's mouth prior to and during installation. Fabricating at least a portion of one or more components of the dental prosthesis using a fully calibrated and characterized fabricator can reduce sources of error that affect the success of fabrication and installation processes. The components of the dental prosthesis are represented by library files that are tailored to reflect particular characteristics of the components of the prosthesis to be fabricated, the fabricator, the material used during fabrication, and/or the environment surrounding the fabricator. The library files may be determined based on an acquired scan of the patient and/or based on inputs received from a user during the design process. The library files may be generated using virtual modeling techniques, and/or based on a component design that falls within pre-determined parameters.

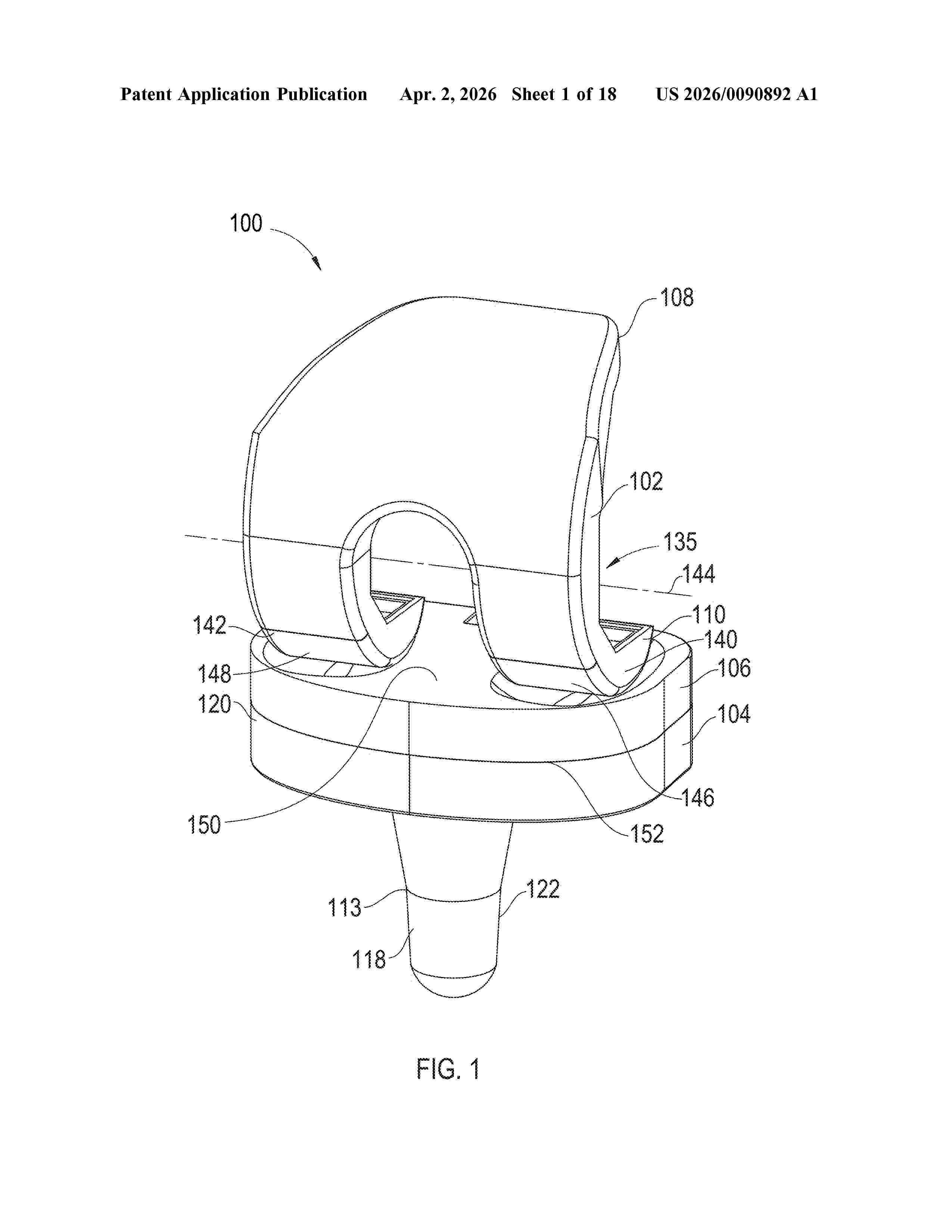
SYSTEMS AND METHODS FOR MAGNETIC JOINTS

NºPublicación:  US20260090892A1 02/04/2026
Solicitante: 
JACKSON JAMES M [US]
JACKSON JAMES M
US_20260090892_A1

Resumen de: US20260090892A1

An orthopedic knee prosthesis includes a femoral component, a tibial bearing, a tibial component, a first magnetic portion associated with the femoral component and including a first pole having a first pole polarity the first magnetic portion not physically interrupting any articulating portion of the curved medial condyle surface or curved lateral condyle surface, and a second magnetic portion associated with one or both of the tibial bearing and/or the tibial component and including a second pole having a second pole polarity, the second pole polarity the same as the first pole polarity, the second magnetic portion not physically interrupting any articulating portion of the concave medial bearing surface or concave lateral bearing surface, wherein the first pole and the second pole are in sufficient proximity to each other such that a magnetic repulsive force is present therebetween.

PROCESS FOR PREPARATION METHACRYLATED DECM

NºPublicación:  AU2024328750A1 02/04/2026
Solicitante: 
POLBIONICA SPOLKA Z OGRANICZONA ODPOWIEDZIALNOSCIA
POLBIONICA SPOLKA Z OGRANICZONA ODPOWIEDZIALNOSCIA
AU_2024328750_PA

Resumen de: AU2024328750A1

Process for methacrylation of dECM comprising placing a carbonate buffer with a concentration of 1M in the reaction vessel and heating to a temperature of 50 °C, adding dECM to the carbonate buffer to obtain a dECM solution with a concentration of 4% (w/v), sterilizing this solution by irradiation with radiation UV for 15 minutes, adding methacrylic anhydride in an amount of 0.5 mL/1g dECM and reacting at 50 °C for 1 h, then adding a phosphate-buffered saline solution to obtain a 5-fold dilution of the mixture, placing the obtained solution in dialysis tube, and then placing the dialysis tube in deionized water, this stage is carried out at a temperature of 40 °C for no longer than 4 days, after completing this stage, the solution contained in the dialysis tubes is transferred to aluminum trays and then placed at a temperature -80 °C for at least 3 hours, then the frozen solution is freeze-dried under the following conditions: shelf temperature 10 °C, pressure 0.1 mba, freeze-drying time 48 hours. The invention also relates to methacrylated dECM obtained by the above method and to the use of methacrylated dECM obtained by the above method in the bioprinting process.

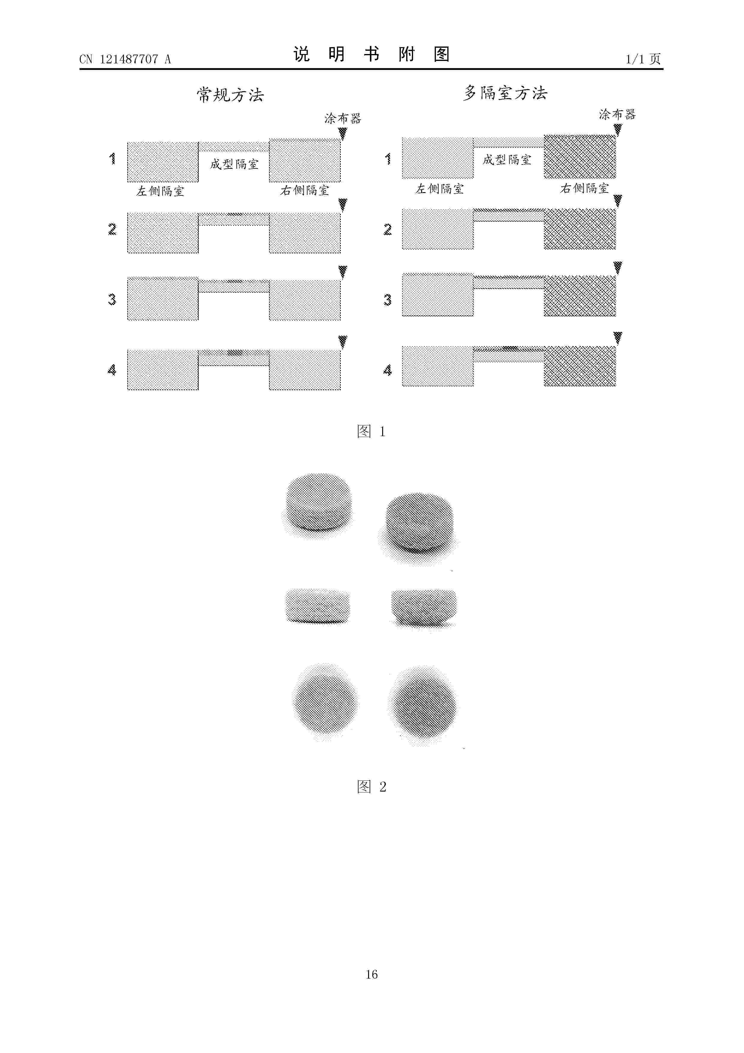
NOVEL 3D PRINTING CONCEPT FOR PHARMACEUTICAL DOSAGE FORMS VIA SELECTIVE LASER SINTERING

NºPublicación:  EP4716522A1 01/04/2026
Solicitante: 
MERCK PATENT GMBH [DE]
Merck Patent GmbH
CN_121487707_A

Resumen de: WO2024240762A1

The present invention relates to a process for producing a Pharmaceutical dosage form by powder bed fusion selective laser 3-dimensional printing, in particular selective laser sintering 3-dimensional printing (SLS), and a pharmaceutical dosage form manufactured by that process.

一种用于慢性创面修复的复合型水凝胶敷料及其制备方法和应用

NºPublicación:  CN121754718A 31/03/2026
Solicitante: 
东华大学郑州大学第五附属医院
CN_121754718_PA

Resumen de: CN121754718A

本发明属于组织工程与创面修复领域,涉及一种用于慢性创面修复的复合型水凝胶敷料及其制备方法和应用,该制备方法包括:S1、将肉桂醛分散在明胶水溶液中,反应充分后透析至溶液澄清;冷冻干燥后得到肉桂醛接枝的改性明胶;S2、将祛褥生肌粉、S1得到的肉桂醛接枝的改性明胶、甲基丙烯化明胶、光引发剂在PBS溶液中混合,得到混合溶液;S3、向S2得到的混合溶液中加入Ga(NO3)3·6H2O溶液,得到水凝胶前驱体溶液;S4、使用S3得到的水凝胶前驱体溶液进行3D打印,光固化,得到复合型水凝胶敷料。本发明中,通过GelMA、CA‑Gel与镓离子形成的三维网络对药粉进行包埋与缓释,实现对慢性创面的高效抗菌、促愈和结构支撑,提升治疗效果与使用安全性。

APARATUS AND METHOD FOR COHERENT IMAGING AND FEEDBACK CONTROL FOR MODIFICATION OF MATERIALS

NºPublicación:  ES3061078T3 31/03/2026
Solicitante: 
IPG PHOTONICS CANADA INC
IPG Photonics (Canada) Inc
ES_2971465_T3

Resumen de: EP4306235A2

Methods and systems are provided for using optical interferometry in the context of material modification processes such as surgical laser or welding applications. An imaging optical source that produces imaging light. A feedback controller controls at least one processing parameter of the material modification process based on an interferometry output generated using the imaging light. A method of processing interferograms is provided based on homodyne filtering. A method of generating a record of a material modification process using an interferometry output is provided.

一种多材料3D打印仿生梯度软-硬一体化水凝胶及其制备方法和应用

NºPublicación:  CN121754723A 31/03/2026
Solicitante: 
中国科学院兰州化学物理研究所
CN_121754723_PA

Resumen de: CN121754723A

本发明涉及生物医用材料技术领域,具体涉及一种多材料3D打印仿生梯度软‑硬一体化水凝胶及其制备方法和应用。本发明基于高强度超分子N‑丙烯酰甘氨酰胺与乙烯基磷酸的共聚体系,采用DLP多材料打印技术将NAGA水溶液和NAGA‑VPA水溶液打印成梯度结构的水凝胶,然后依次浸泡于钙磷混合水溶液(Ca/P=1.67)、氨水、氯化钙水溶液和去离子水中,以实现羟基磷灰石(HAP)的原位梯度沉积及熟化。本发明制备的多材料3D打印仿生梯度软‑硬一体化水凝胶具备连续生化‑力学梯度,其中,表层低模量区匹配软骨性能,深层高矿化区整合骨组织,过渡区HAP结晶度呈空间依赖性分布,适用于骨软骨缺损修复及仿生关节假体的制造。

基于生物力学的正畸矫治器设计方法、系统及正畸矫治器

NºPublicación:  CN121754330A 31/03/2026
Solicitante: 
佛山臻硅科技有限公司
CN_121754330_PA

Resumen de: CN121754330A

本发明公开了一种基于生物力学的正畸矫治器设计方法、系统及正畸矫治器,涉及牙齿矫正技术领域,所述方法包括:获取目标对象的口腔信息,并根据所述口腔信息构建初始牙颌数字模型;根据所述初始牙颌数字模型确定优化咬合关系的目标牙颌数字模型,并根据所述目标牙颌数字模型生成正畸矫治器模型;根据所述初始牙颌数字模型及目标牙颌数字模型分别计算各牙齿的移动轨迹;根据所述移动轨迹修正所述正畸矫治器模型,以在所述正畸矫治器模型的齿槽中形成交替排布的挤压部和避让部。采用本发明,能够使得牙齿自然排齐,同时降低牙根吸收或牙槽骨损伤的风险,保证对牙齿的矫治效果。

Bioactive implant and method of its production

NºPublicación:  PL452934A1 30/03/2026
Solicitante: 
POLITECHNIKA WARSZAWSKA [PL]
INST WYSOKICH CISNIEN POLSKIEJ AKADEMII NAUK [PL]
WARSZAWSKI UNIV MEDYCZNY [PL]
UNIV PRZYRODNICZY WE WROCLAWIU [PL]
BISSENIK IGOR CALODOBOWA KLINIKA WETERYNARYJNA PULAWSKA SPOLKA CYWILNA [PL]
SOLDATY BISSENIK JOANNA CALODOBOWA KLINIKA WETERYNARYJNA PULAWSKA SPOLKA CYWILNA [PL]
CYGANSKA MONIKA CALODOBOWA KLINIKA WETERYNARYJNA PULAWSKA SPOLKA CYWILNA [PL]
SCISKALSKA MALGORZATA CALODOBOWA KLINIKA WETERYNARYJNA PULAWSKA SPOLKA CYWILNA [PL]
TIMELESS CHIRURGIA PLASTYCZNA SPOLKA Z OGRANICZONA ODPOWIEDZIALNOSCIA [PL]
POLITECHNIKA WARSZAWSKA,
INSTYTUT WYSOKICH CI\u015ANIE\u0143 POLSKIEJ AKADEMII NAUK,
WARSZAWSKI UNIWERSYTET MEDYCZNY,
UNIWERSYTET PRZYRODNICZY WE WROC\u0141AWIU,
BISSENIK IGOR CA\u0141ODOBOWA KLINIKA WETERYNARYJNA PU\u0141AWSKA SP\u00D3\u0141KA CYWILNA,
SOLDATY-BISSENIK JOANNA CA\u0141ODOBOWA KLINIKA WETERYNARYJNA PU\u0141AWSKA SP\u00D3\u0141KA CYWILNA,
CYGA\u0143SKA MONIKA CA\u0141ODOBOWA KLINIKA WETERYNARYJNA PU\u0141AWSKA SP\u00D3\u0141KA CYWILNA,
\u015ACISKALSKA MA\u0141GORZATA CA\u0141ODOBOWA KLINIKA WETERYNARYJNA PU\u0141AWSKA SP\u00D3\u0141KA CYWILNA,
TIMELESS CHIRURGIA PLASTYCZNA SP\u00D3\u0141KA Z OGRANICZON\u0104 ODPOWIEDZIALNO\u015ACI\u0104

Resumen de: PL452934A1

Przedmiotem zgłoszenia jest bioaktywny implant zawierający rusztowanie złożone z warstw polimerowych i kompozytowych o budowie włóknistej, które pokryte jest warstwą hydroksyapatytu i wzbogacone w nośnik z substancją biologicznie aktywną, charakteryzujący się tym, że rusztowanie ma strukturę warstwową, na którą składają się warstwy materiału głównego i warstwy materiału elastycznego i w którym to rusztowaniu warstwy materiału głównego stanowią od 50% do 99% ilości wszystkich warstw, tak, że pozostałą ilość warstw stanowią warstwy materiału elastycznego, przy czym materiał główny stanowi kompozyt o osnowie poli (ϵ—kaprolaktonu), o stopniu dyspersyjności w zakresie od 1,7 do 4,3 i maximum piku rozkładu masy cząsteczkowej w zakresie od 40 do 100 kDa, z dodatkiem od 40% wag. do 60% wag. dwufazowej ceramiki fosforanowo—wapniowej, o stosunku masowym hydroksyapatytu i ortofosforanu (V) wapnia 50:50, a materiał elastyczny bazuje na poli(ϵ—kaprolaktonie), o stopniu dyspersyjności w zakresie od 1,7 do 4,3 i maximum piku rozkładu masy cząsteczkowej w zakresie od 40 do 100 kDa, przy czym każda warstwa materiału głównego i materiału elastycznego ma grubość od 0,8% do 0,95% średnicy włókien, z których jest wytworzona, a rusztowanie ma strukturę porowatą, o otwartych porach między włóknami, tworzących trójwymiarową sieć połączonych kanałów, stanowiących od 40% do 80% objętości całkowitej rusztowania oraz zaw

用于3D打印用墨水的多肽

NºPublicación:  CN121752590A 27/03/2026
Solicitante: 
赛尔博瑞克有限责任公司
CN_121752590_PA

Resumen de: WO2025031978A1

The invention relates to a polypeptide that is excellently suited for use in an ink for 3D printing. Furthermore, the present invention also relates to a polynucleotide that encodes the polypeptide according to the invention, and to a host cell that expresses the polypeptide according to the invention. Another embodiment is a method for producing an ink for 3D printing, wherein the ink contains a polypeptide. Additional embodiments relate to methods for producing a 3D scaffold and to the 3D scaffold that can be obtained by said methods, including for use in medicine.

金属玻璃仿生人工骨植入体激光粉末床熔融增材制造方法

NºPublicación:  CN121732829A 27/03/2026
Solicitante: 
吉林大学
CN_121732829_PA

Resumen de: CN121732829A

本发明公开了金属玻璃仿生人工骨植入体激光粉末床熔融增材制造方法,属于增材制造技术与生物医用材料技术领域,采用激光粉末床熔融技术,通过三维模型设计、调控激光工艺参数,在不同位置成形具有不同孔隙率的显微组织,从而实现具有梯度孔隙结构的人工骨植入体一体化成形;本发明从三维建模和工艺参数两个角度出发,可在宏观、介观、微观三个层级实现对零件内部孔隙结构的控制,显著提升金属玻璃植入体的能量吸收能力及细胞组织渗透能力,并能有效降低金属玻璃植入体的弹性模量,实现对植入体性能的综合调控,有效缓解应力屏蔽效应,增强金属玻璃植入体整体的稳定性,有助于金属玻璃仿生人工骨植入体在人体骨缺损修复临床治疗中的应用。

WEARABLE RING DEVICE

NºPublicación:  AU2024326857A1 26/03/2026
Solicitante: 
OURA HEALTH OY
OURA HEALTH OY
AU_2024326857_PA

Resumen de: AU2024326857A1

Methods, systems, and devices for a wearable ring device are described. A wearable ring device may include a ring-shaped housing and a printed circuit (PCB) that at least partially contacts an inner shell of the ring-shaped housing. Light-emitting components and light-receiving components may be disposed on a first surface of the PCB and may extend through an aperture(s) in the inner shell such that the lightemitting and light-receiving components are substantially flush with an inner ringshaped surface of the inner shell. Optical lenses may cover the light-emitting and lightreceiving components within the aperture(s). In some cases, the optical lenses may be molded over the light-emitting and light-receiving components before the PCB is inserted into the ring-shaped housing. In other cases, the optical lenses may be molded over the light-emitting and light-receiving components (and the aperture(s)) after the PCB is inserted into the ring-shaped housing.

FINGER-WEARABLE ELECTRONIC DEVICE AND METHOD FOR MEASURING MOISTURE, AND STORAGE MEDIUM

NºPublicación:  WO2026063621A1 26/03/2026
Solicitante: 
SAMSUNG ELECTRONICS CO LTD [KR]
\uC0BC\uC131\uC804\uC790\uC8FC\uC2DD\uD68C\uC0AC
WO_2026063621_A1

Resumen de: WO2026063621A1

This finger-wearable electronic device may comprise: a ring-shaped housing; a printed circuit board (PCB) disposed in the ring-shaped housing; and a sensor package mounted on the PCB. The sensor package can include an enclosure including a first light-transmitting portion, a second light-transmitting portion and a partition wall between the first light-transmitting portion and the second light-transmitting portion. The partition wall can include a surface that defines a portion of the exterior of the sensor package. The sensor package can include a first sensor. The first sensor can include: a light-emitting unit disposed under the first light-transmitting portion; and a reception unit disposed under the second light-transmitting portion. The sensor package can include a second sensor including electrodes. The electrodes of the second sensor can be disposed on the surface of the partition wall.

3D PRINTED SCAFFOLD IMPLANT AND A METHOD FOR MANDIBULAR RECONSTRUCTION

NºPublicación:  AU2025260012A1 26/03/2026
Solicitante: 
DR JOHN MCHUGH
DR JOHN MCHUGH
AU_2025260012_A1

Resumen de: AU2025260012A1

The present invention relates to a 3D scaffold implant system for mandibular reconstruction, featuring a scaffold structure that includes at least four scaffold segments strategically positioned within the implant, the segments ensuring precise placement within a subject's jawbone and facilitate optimal integration with a surrounding bone tissue; a fluid delivery tube system integrated into each of the scaffold segments to administer a growth factor(s) and an antibiotic directly into the scaffold implant; a pump that facilitates controlled delivery of the growth factors into the scaffold segments; at least three fixation that provide stability to the implant and micro-motors that enable precise alignment of the scaffold implant to conform seamlessly to the natural curvature of the jawbone.

DIAGNOSTIC METHOD SOFTWARE

NºPublicación:  WO2026062286A1 26/03/2026
Solicitante: 
FRITSCH TILMAN [DE]
FRITSCH, Tilman
WO_2026062286_A1

Resumen de: WO2026062286A1

The invention relates to diagnostic method software for providing data for producing an occlusive mouthguard for a person, wherein an actual tooth space state and/or tooth position (1) and an actual jaw function (2) are acquired, wherein - an actual body posture (3) is acquired, and - an actual plantar pressure (4) is acquired, and - the actual tooth space state and/or tooth position (1) is compared with a target tooth space state and/or tooth position (11) in order to determine a first deviation (a) between the actual tooth space state (1) and the target tooth space state (11), - the actual jaw function (2) is compared with a target jaw function (12) in order to determine a second deviation (b) between the actual jaw function (2) and the target jaw function (12), - the actual body posture (3) is compared with a target body posture (13) in order to determine a third deviation (c) between the actual body posture (3) and the target body posture (13), - the actual plantar pressure (4) is compared with a target plantar pressure (14) in order to determine a fourth deviation (d) between the actual plantar pressure (4) and the target plantar pressure (14), wherein - the acquired data are used to produce the occlusive mouthguard, in a manner suitable for reducing the deviations (a, b, c, d).

UNIFIED CROWN ABUTMENT

NºPublicación:  WO2026062246A1 26/03/2026
Solicitante: 
PRECISEMENT LTD [IE]
PRECISEMENT LIMITED
WO_2026062246_A1

Resumen de: WO2026062246A1

The present disclosure provides methods for manufacturing of gap free, cement free, abrasion free dental implant devices. Dental implant devices manufactured according to the disclosed methods are also provided.

LIGHT-ABSORBING SUBSTANCES SUITABLE FOR USE IN ADDITIVE MANUFACTURING AND METHODS OF IDENTIFICATION THEREOF

NºPublicación:  WO2026062644A1 26/03/2026
Solicitante: 
COLLPLANT LTD [IL]
COLLPLANT LTD
WO_2026062644_A1

Resumen de: WO2026062644A1

Photoblocker usable in additive manufacturing a three-dimensional object are disclosed. Photocurable formulations comprising the photoblockers are also disclosed. The photoblocker can be beneficially included in formulations usable in additive manufacturing of 3D objects featuring a biological material in at least a portion thereof.

FORMULATIONS AND DESIGNS FOR DEGRADABLE SOFT TISSUE IMPLANTS

NºPublicación:  WO2026062643A1 26/03/2026
Solicitante: 
COLLPLANT LTD [IL]
COLLPLANT LTD
WO_2026062643_A1

Resumen de: WO2026062643A1

A photocurable formulation usable in additive manufacturing a three-dimensional object is disclosed. The formulation features, in at least a portion thereof, a biological or a biocompatible material, the photocurable formulation comprising a photoinitiator, a photocurable biological or biocompatible material, and a carrier, the formulation further comprising at least two photocurable polymeric materials. Implants comprising same are also disclosed.

INORGANIC STRUCTURE AND METHOD FOR MANUFACTURING INORGANIC STRUCTURE

NºPublicación:  US20260085448A1 26/03/2026
Solicitante: 
OSAKA UNIV [JP]
OSAKA UNIVERSITY
US_20260085448_A1

Resumen de: US20260085448A1

An inorganic structure having mechanical properties that differ depending on the region in the inorganic structure, and a method for manufacturing the inorganic structure are provided. An inorganic structure (1) of the present embodiment includes a plurality of solidified portions (SA) composed of an inorganic material. The plurality of solidified portions (SA) include a first solidified portion (SA1) having a first crystallographic direction (CO1) preferentially oriented in a predetermined direction, and a second solidified portion (SA2) having a second crystallographic direction (CO2) that is a different orientation from the first crystallographic direction (CO1).

COMPACT FIBER STRUCTURES FOR SNAPSHOT SPECTRAL AND VOLUMETRIC OCT IMAGING

NºPublicación:  US20260085975A1 26/03/2026
Solicitante: 
UNIV OF SOUTHERN CALIFORNIA [US]
WILLIAM MARSH RICE UNIV [US]
UNIVERSITY OF SOUTHERN CALIFORNIA,
WILLIAM MARSH RICE UNIVERSITY
US_20260085975_A1

Resumen de: US20260085975A1

The present disclosure relates to a custom waveguide array to encode 3-dimensional data for snapshot imaging techniques like imaging spectrometry or volumetric spectral domain OCT. The custom waveguide array has a series of waveguides such as optical fibers having input ends and output ends. The input ends are grouped in a dense array input area. An array output area creates void spaces for the output ends. The output area thus may used to provide spectral information for an object imaged by the input area. The fiber arrays may be manufactured with an entirely automatic development process based on 3-D printing techniques such as 2-Photon Polymerization (2PP) additive manufacturing.

ADDITIVE MANUFACTURING OF VINYL, PHOTOCROSSLINKABLE POLYMERS

NºPublicación:  US20260083877A1 26/03/2026
Solicitante: 
VENOSTENT INC [US]
VenoStent, Inc
US_20260083877_A1

Resumen de: US20260083877A1

Various precursor solutions and methods of 3D printing and other additive manufacturing approaches are provided for the manufacture of articles using photocrosslinkable vinyl shape memory polymers. In various aspects, articles are manufactured by a process comprising (i) exposing a precursor solution to an intensity and frequency of light to initiate photo-polymerization of the precursor solution to form a layer of the article; and (ii) repeating step (i) a number of times to form the article in a layer-by-layer approach; wherein the precursor solution comprises a first polymeric precursor comprising a plurality of vinyl terminated side-chains attached thereto. A vinyl-functionalized, photocrosslinkable SMP used as an example herein is a novel variant of a previously disclosed SMP composition, with higher amounts of vinyl functionalization but similar thermomechanical properties to the SMP library previously disclosed. Moreover, a unique combination of chemistries is disclosed that incorporates the aforementioned vinyl-functionalized SMPs along with acrylate-based crosslinkers. Additional novel compositions are disclosed containing the vinyl-functionalized SMPs with additional dithiol functionalizations, vinyl-functionalized SMPs with dithiol crosslinkers, as well as vinyl-functionalized SMPs with both acrylate-based and dithiol crosslinkers, as another means to tune degradation rates and other material properties. The articles can include a variety of articles such as stents

SYSTEMS AND METHODS FOR FABRICATING BIOPRINTED FIBER STRUCTURES

NºPublicación:  US20260084375A1 26/03/2026
Solicitante: 
ASPECT BIOSYSTEMS LTD [CA]
ASPECT BIOSYSTEMS LTD
US_20260084375_A1

Resumen de: US20260084375A1

Aspects of the disclosure include a fabrication platform for supporting a bioprinted fiber structures during printing, patterning, and/or processing, comprising a frame with a plurality of posts for securing a cross-linkable fiber during printing thereof, and where a continuous length of the cross-linkable fiber is printed around a plurality of posts during the 3D bioprinting process. The fabrication platform enables the cross-linkable fiber to be suspended during one or more of printing, patterning, and/or processing. In this way, the bioprinted fiber structure comprises a uniform outer surface, and can be easily modified and/or further processed after printing and patterning are completed.

GUIDE PLATE FOR THE ANATOMICAL REALIGNMENT OF BONE FRACTURES

NºPublicación:  US20260083487A1 26/03/2026
Solicitante: 
UNIV DEGLI STUDI DI MILANO [IT]
FOND IRCCS CA GRANDA OSPEDALE MAGGIORE POLICLINICO [IT]
GPI S P A [IT]
UNIVERSITA' DEGLI STUDI DI MILANO,
FONDAZIONE IRCCS CA' GRANDA OSPEDALE MAGGIORE POLICLINICO,
GPI S.P.A
US_20260083487_A1

Resumen de: US20260083487A1

Guide plate for the anatomical realignment of a plurality of fractured bone portions, comprising a back surface configured such as it can be distinctively coupled to the surface anatomy of the area of said plurality of fractured bone portions and characterized by a first plurality of holes placed on a first portion of the guide plate and a second plurality of holes placed on a second portion of the guide plate, wherein the first plurality of holes is misaligned with respect to the second plurality of holes.

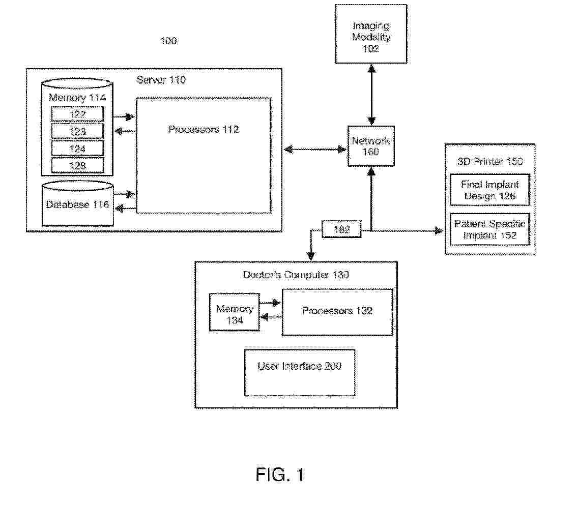
SYSTEM FOR CUSTOM IMPLANT DESIGN AND INSTRUMENTATION

NºPublicación:  US20260083568A1 26/03/2026
Solicitante: 
MAYO FOUNDATION FOR MEDICAL EDUCATION AND RES [US]
MAYO FOUNDATION FOR MEDICAL EDUCATION AND RESEARCH
US_20260083568_A1

Resumen de: US20260083568A1

Systems and methods include a component of a bone implant that includes a patient specific bone contacting surface and, optionally, at least one protrusion adjacent to or extending from the patient specific bone contacting surface. The at least one protrusion is configured for engaging a bone preparation in the bone. To prepare the bone for receiving the component, one or more cutting tool templates may be used. The one or more cutting tool templates may be fabricated to have a patient specific bone contacting surface that engages the bone that is to receive the implant component. A cutting tool is engaged in one or more of one or more slots defined by the cutting tool template(s) to remove surface portions of the bone to create the bone preparation for engaging the protrusion. The patient specific bone contacting surface of the component engages the bone.

Method for Optimization of Orthopedic Component Design

NºPublicación:  US20260083510A1 26/03/2026
Solicitante: 
MAYO FOUNDATION FOR MEDICAL EDUCATION AND RES [US]
Mayo Foundation for Medical Education and Research
US_20260083510_A1

Resumen de: US20260083510A1

Methods for understanding external and internal anatomy of bones through the use of imaging data and 3D modeling to facilitate the design of anatomically correct plates, devices and implants are disclosed. In one aspect the method results in an implant or plate that includes at least one curved surface wherein a contour of the at least one curved surface corresponds to an anatomic shape of a subject. The anatomic shape of the subject being determined based on an image of the bone.

TRANSRADIAL PROSTHESIS ASSESSMENT SYSTEM

NºPublicación:  US20260083576A1 26/03/2026
Solicitante: 
HOLLAND BLOORVIEW KIDS REHABILITATION HOSPITAL [CA]
HOLLAND BLOORVIEW KIDS REHABILITATION HOSPITAL
US_20260083576_A1

Resumen de: US20260083576A1

A transradial prosthesis assessment system apparatus and method for simulating and evaluating alignment and functionality of a definitive prosthesis system for a user's diagnostic socket is provided. The apparatus includes socket adaptors, a connector, shaft housings of different sizes, extension shafts of different lengths and wrist adaptors that can be connected through different combinations to provide length and alignment adjustability to emulate the definitive prosthesis.

FLUORESCENT CERVICAL CUP FOR UTERINE MANIPULATORS

NºPublicación:  WO2026060509A1 26/03/2026
Solicitante: 
GUERRA JACOB GUSTAVO [BR]
LOPES DA SILVA FILHO AGNALDO [BR]
TIEKO TSUNODA AUDREY [BR]
ROBERTO BRAGA AZEVEDO BRUNO [BR]
EPPRECHT PEREIRA DE SOUZA JOAO PAULO [BR]
GUERRA JACOB, Gustavo,
LOPES DA SILVA FILHO, Agnaldo,
TIEKO TSUNODA, Audrey,
ROBERTO BRAGA AZEVEDO, Bruno,
EPPRECHT PEREIRA DE SOUZA, Jo\u00E3o Paulo
WO_2026060509_A1

Resumen de: WO2026060509A1

The present patent of invention relates to the field of medicine and medical devices, and more specifically to an innovative fluorescent cervical cup for use in uterine manipulators during colpotomy surgical procedures. This improved device aims to increase the safety and efficacy of conventional or minimally invasive gynaecological procedures, including laparoscopic, robotic, and endoscopic surgery, particularly under conditions of limited visibility.

BIOMEDICAL SCAFFOLD, PREPARATION METHOD THEREFOR, USE METHOD THEREFOR, AND USE THEREOF

NºPublicación:  WO2026060559A1 26/03/2026
Solicitante: 
SHENZHEN INSTITUTES OF ADVANCED TECH CHINESE ACADEMY OF SCIENCES [CN]
\u4E2D\u56FD\u79D1\u5B66\u9662\u6DF1\u5733\u5148\u8FDB\u6280\u672F\u7814\u7A76\u9662
WO_2026060559_A1

Resumen de: WO2026060559A1

The present invention provides a biomedical scaffold, a preparation method therefor, a use method therefor, and use thereof. The biomedical scaffold comprises the following starting material components in percentage by mass: 96.0%-99.5% of shape memory polyurethane and 0.5%-4% of active particles, wherein the active particles comprise one or more of manganese dioxide, nano magnesium oxide, ferroferric oxide, and magnesium metal. According to the present invention, by means of utilizing the easy volatility of dichloromethane, the pressure in a container is increased, thereby enabling homogeneous dissolution of shape memory polyurethane and uniform dispersion and mixing of active ingredients. By means of room-temperature volatilization and deposition, such shape memory materials are 3D printed, and the printed structures, such as pore size and porosity, are further designed to achieve good shape memory performance and mechanical properties. In addition, a plurality of scaffolds can be heated in various ways, such as near-infrared light irradiation and hot water soaking. Thus, the scaffolds can be assembled into a specific shape and exhibit strong stability and mechanical properties.

IMPROVED TECHNOLOGY RELATING TO COFFINS AND OTHER ITEMS CONFIGURED TO BE USED FOR CREMATORY PURPOSES, INCLUDING METHODS OF MANUFACTURE THEREOF

NºPublicación:  AU2026200730B1 26/03/2026
Solicitante: 
PRINT3D IND PTY LTD
PRINT3D INDUSTRIES PTY LTD
AU_2026200730_B1

Resumen de: AU2026200730B1

Abstract Disclosed is a method for manufacturing a coffin that is configured to be burned via a cremation purpose. The method includes selecting a biocomposite printing material having the following properties: a primary material in the form of a plant-derived polylactic acid (PLA); a cellulose fibre content of between 5% and 20%; and less than 1% petroleum-based materials. The material is utilized to manufacture the coffin via a 3D printing process, wherein, upon assembly, the coffin has a shape having an irregular cross sectional area.

NERVE CONDUIT FROM DECELLULARIZED PLANT THAT CAN BE USED WITH OR WITHOUT ANY DRUG RELEASE POTENTIAL

NºPublicación:  WO2026063889A1 26/03/2026
Solicitante: 
ISTANBUL UNIV CERRAHPASA REKTORLUGU [TR]
ISTANBUL UNIVERSITESI - CERRAHPASA REKTORLUGU
WO_2026063889_A1

Resumen de: WO2026063889A1

The present invention relates to a nerve conduit obtained by plant decellularization, which does not require 3D printing, is multi-channel, low-cost and capable of drug release. This nerve conduit is functionalized with GelMA and has properties that promote nerve healing.

ORTHOSIS PRODUCTION SYSTEM, ORTHOSIS PRODUCTION METHOD, AND PROGRAM

NºPublicación:  WO2026063170A1 26/03/2026
Solicitante: 
SEKISUI CHEMICAL CO LTD [JP]
\u7A4D\u6C34\u5316\u5B66\u5DE5\u696D\u682A\u5F0F\u4F1A\u793E
WO_2026063170_A1

Resumen de: WO2026063170A1

Provided is an orthosis production system comprising: an information acquisition unit that acquires individual shape information indicating the shape of a body site of an orthosis user to which an orthosis is attached; an information generation unit (321) that generates, on the basis of the individual shape information, individual orthosis information indicating the shape of the orthosis to be used by the orthosis user; and a production instruction unit (322) that causes an orthosis production device, employing a pellet-based 3D printer which produces an orthosis according to an input of orthosis shape information indicating the shape of the orthosis, to produce the orthosis using the individual orthosis information.

Diagnoseverfahrens-Software

NºPublicación:  DE102024127337A1 26/03/2026
Solicitante: 
FRITSCH TILMAN [DE]
Fritsch, Tilman

Resumen de: DE102024127337A1

Die Erfindung betrifft eine Diagnoseverfahrens-Software zur Bereitstellung von Daten zur Herstellung einer Kiefer-Gebiss-Schiene für eine Person, wobei ein Ist-Zahnraum-Zustand und/oder Zahnstellung (1) und eine Ist-Kieferfunktion (2) erfasst werden, wobei- eine Ist-Körperhaltung (3) erfasst wird, und- ein Ist-Fußflächendruck (4) erfasst wird, und- der Ist-Zahnraum-Zustand und/oder Zahnstellung (1) mit einem Soll-Zahnraum-Zustand und/oder Zahnstellung (11) abgeglichen wird, um eine erste Abweichung (a) zwischen dem Ist-Zahnraum-Zustand (1) und dem Soll-Zahnraum-Zustand (11) zu ermitteln,- die Ist-Kieferfunktion (2) mit einer Soll- Kieferfunktion (12) abgeglichen wird, um eine zweite Abweichung (b) zwischen der Ist-Kieferfunktion (2) und der Soll-Kieferfunktion (12) zu ermitteln,- die Ist-Körperhaltung (3) mit einer Soll-Körperhaltung (13) abgeglichen wird, um eine dritte Abweichung (c) zwischen der Ist-Körperhaltung (3) und der Soll-Körperhaltung (13) zu ermitteln,- der Ist-Fußflächendruck (4) mit einem Soll-Fußflächendruck (14) abgeglichen wird, um eine vierte Abweichung (d) zwischen dem Ist-Fußflächendruck (4) und dem Soll-Fußflächendruck (14) zu ermitteln, wobei- die erfassten Daten zur Herstellung der Kiefer-Gebiss-Schiene genutzt werden, geeignet um die Abweichungen (a, b, c, d) zu verringern.

BIOPRINTING LIPID-LADEN TISSUE

NºPublicación:  WO2026064565A1 26/03/2026
Solicitante: 
CARNEGIE MELLON UNIV [US]
CARNEGIE MELLON UNIVERSITY
WO_2026064565_A1

Resumen de: WO2026064565A1

Methods for additive manufacturing, biological structures, cultivated meats, and additive manufacturing systems are provided. The method comprises dispensing an ink composition from a nozzle of an additive manufacturing system. The ink composition comprise adipocytes and a hydrogel. The deposition occurs at a suitable shear stress such that the ink composition can flow through the needle and an integrity of the adipocytes is substantially maintained. The method comprises repeating, as necessary, repositioning of the nozzle and dispensing ink composition from the first nozzle, thereby forming the structure.

Control of heating and cooling in 3D bioprinting

NºPublicación:  GB2700936A 25/03/2026
Solicitante: 
COPNER BIOTECH LTD [GB]
Copner Biotech Ltd
GB_2629895_PA

Resumen de: GB2700936A

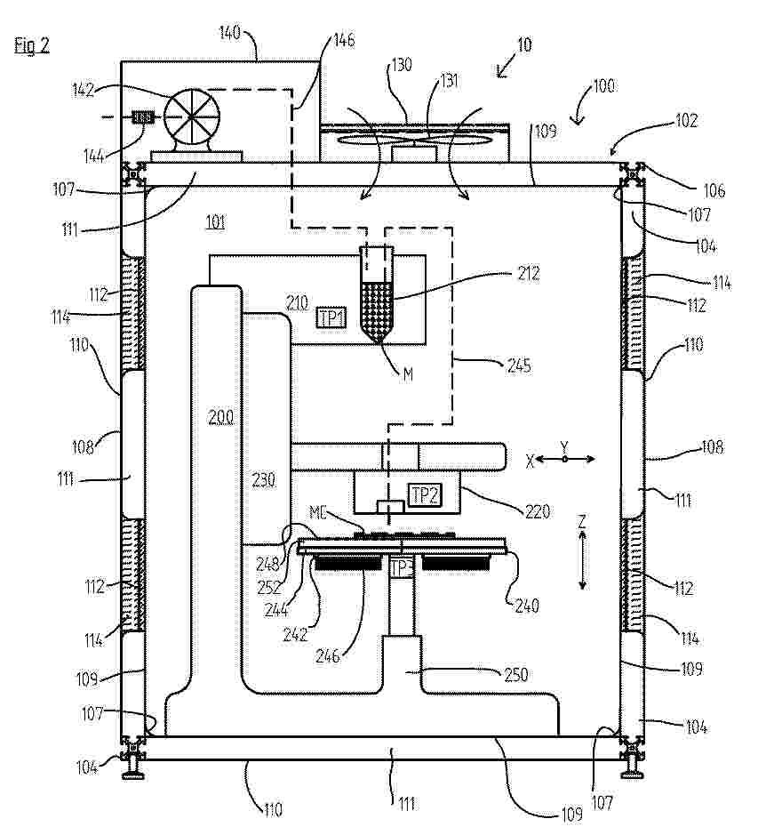
A controller (300, figure 4) for a 3D bioprinter 10, the controller being operable to control the functioning of the 3D bioprinter housed within an internal area of an enclosure 100, to produce a 3D printed construct in accordance with a 3D printing file, said controller being further operable to control the temperature of at least two temperature regulating devices 112, 242, by means of control inputs from plural temperature sensors TP1,TP2,TP3, at least one sensor sensing the temperature of the print bed 240, of a print material store 210, and/or at least one temperature sensor of the bioprinter head 220, and wherein said temperature regulation includes causing: heating of one or more of said at least two devices, cooling of one or more of said devices, or heating of one of the devices at the same time as cooling of another of the devices. The temperature control may be a proportional-integral-derivative (PID) routine or circuit. A 3D printing assembly is also provided, suitable for bioprinting, including an enclosure defining an internal area 101 and one or more bioink material vial(s) 212 selectively fluidically interconnectable to the print head. Figure 2

METHOD FOR GENERATING DENTAL MODELS BASED ON AN OBJECTIVE FUNCTION

NºPublicación:  EP4715752A2 25/03/2026
Solicitante: 
3SHAPE AS [DK]
3Shape A/S
EP_4715752_PA

Resumen de: EP4715752A2

Disclosed is a computer-implemented method of generating a dental model based on an objective function output, comprising creating an objective function comprising at least one quality estimation function which trains at least one machine learning method that generates quality estimation output, and an objective function output is the output of the objective function providing a model as an input data to the objective function and generating model-related objective function output; and modifying the model based on the model-related objective function output to transform the model to a generated model, wherein the generated model is the dental model.

FRAGRANCE DELIVERY SYSTEM

NºPublicación:  EP4713033A1 25/03/2026
Solicitante: 
ELC MAN LLC [US]
ELC Management LLC
CN_121463964_PA

Resumen de: AU2024276549A1

Methods of manufacturing a porous device for diffusing a fragrance using additive manufacturing including iteratively spreading a loose powder and selecting at least one process parameter to create a porosity within the porous device adapted to carry the fragrance from a fragrance reservoir to an exterior surface of the porous device. An additively manufactured device for diffusing a fragrance includes a diffuser having a plurality of pores defining a porosity of the diffuser, the porosity defining at least one of a rate of absorption, an amount of storage, and a rate of diffusion of the fragrance. A method of using a porous device includes filling the plurality of pores with fragrance and diffusing the fragrance from an exterior surface.

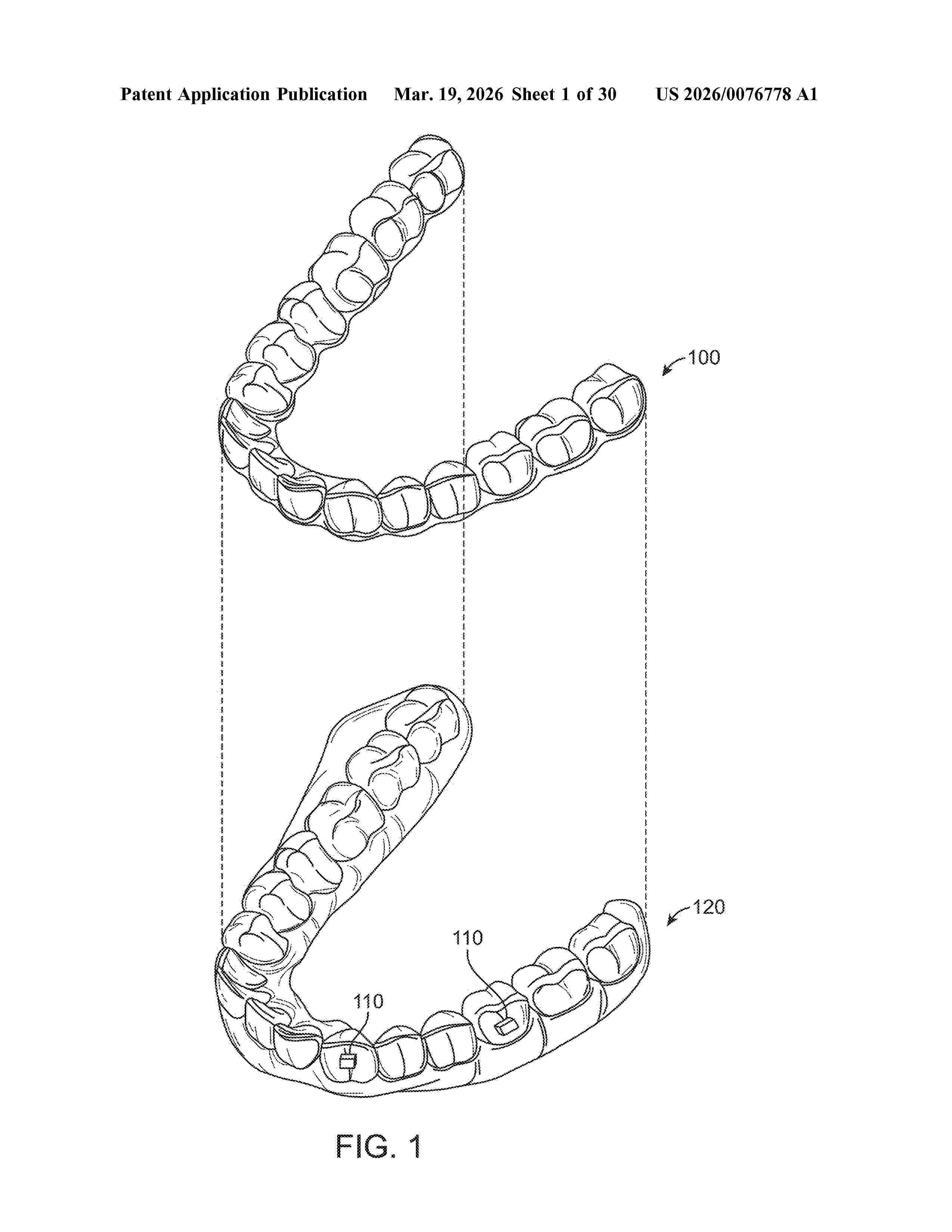
SYSTEM AND METHOD FOR PREDICTING TOOTH MOVEMENT & FABRICATING ORTHODONTIC APPLIANCES

NºPublicación:  EP4712900A2 25/03/2026
Solicitante: 
SOLVENTUM INTELLECTUAL PROPERTIES COMPANY [US]
Solventum Intellectual Properties Company
CN_121127203_PA

Resumen de: CN121127203A

A computer-implemented method for predicting tooth positions, comprising: a) defining a plurality of tooth positions corresponding to a plurality of teeth in a dental arch; b) defining a plurality of appliance positions of the orthodontic appliance; c) determining one or more tooth position differences for each tooth; d) determining one or more appliance position differences for each tooth; e) determining one or more appliance-tooth relative differences for each tooth; f) modifying each tooth position of the plurality of tooth positions based on the corresponding one or more appliance-tooth relative differences; g) iteratively repeating steps c) to f) until a maximum change in each of the plurality of tooth positions is less than a convergence threshold; and h) defining the plurality of tooth positions obtained in the final iteration of step g) as a plurality of predicted tooth positions.

HYDROGEL INK, HYDROGEL AND USES THEREOF

NºPublicación:  EP4713035A1 25/03/2026
Solicitante: 
UNIV NANYANG TECH [SG]
NAT UNIV SINGAPORE [SG]
Nanyang Technological University,
National University of Singapore
CN_121240894_PA

Resumen de: CN121240894A

The present disclosure relates to a hydrogel ink comprising a lipid particle, a polynucleotide supported within the lipid particle, and a bio-ink. In one embodiment, the lipid particles comprise extracellular vesicles. The disclosure also relates to hydrogels thereof and their use in treating neurological diseases or conditions or regenerating soft tissue.

Unified crown abutment

NºPublicación:  GB2644212A 25/03/2026
Solicitante: 
PRECISEMENT LTD [IE]
Precisement Limited
GB_2644212_PA

Resumen de: GB2644212A

A method of manufacturing a dental implant device 200 comprising affixing a first 210 and second 220 implant member using laser welding, joining or soldering such that there’s no gap. The first implant member is at least partially formed of a ceramic material and the second implant member is at least partially formed of a metal. The implant member comprises melting at least part of the material of the first and second implant member at the same time using a two-wavelength laser. Wherein the first wavelength is selected to be adsorbed by the first material and the second wavelength is selected to be adsorbed by the second implant. An associated dental implant is also provided. Additional methods are also provided which may comprise the use of infra or near infra red lasers, depositing metal on the implant members, positioning biocompatible soldering material in the vicinity of the first and second implant member and forming, using a 3d printer, the first and second implant member using a first and second powder material respectively.

Assisted 3d bioprinting

NºPublicación:  GB2700860A 25/03/2026
Solicitante: 
COPNER BIOTECH LTD [GB]
Copner Biotech Ltd

Resumen de: GB2700860A

A bioprinting apparatus 100 for 3D printing a model comprises a printing nozzle 115 for dispensing a magnetic or magnetisable bioink for forming the model; a bath 130 containing a model-supporting fluid; a mechanism 110 for moving the nozzle relative to the bath; and at least one magnet 140/145, i.e. a single magnet, a magnet array, magnetisable material or an electromagnet, at or adjacent to the bath 130 suitable for providing a magnetic field 10 in the bath of sufficient strength to influence bioink in the bath and hold bioink in the bath, for example in a stationary manner, until crosslinking occurs. The magnet element may be a magnet array arranged as a Halbach array. Preferably, the magnetic field may hold the bioink at a desired height at which embedded printing is to take place and a controller is operable to control the magnet to move to a different height corresponding to a different layer. The printed material may contain cells, such as eukaryotic cells, and the fluid may contain nutriments for the cells. Printing error correction is described also. Figure 1

IMPLANT FIXATION DEVICES AND RELATED METHODS

NºPublicación:  EP4712905A2 25/03/2026
Solicitante: 
DAVOL INC [US]
Davol Inc
CN_121398761_PA

Resumen de: CN121398761A

Fixation devices for implants and related methods are generally described. The fixation device may be wrapped around the implant prior to delivery to reduce the risk of implant migration after implantation. The device may have porosity to induce tissue ingrowth around the implant and improve surgical outcome. The device can be used for rapidly preparing implants and can adapt to implants of various sizes. In some embodiments, the device may include a central portion for covering an anterior surface of a breast implant and a peripheral portion for covering a posterior surface of the implant. The peripheral portion, which may include a continuous rim or a plurality of legs, may include a tab that secures the fixation device to an implantation site. In some embodiments, a tether may be coupled to a distal end portion of the peripheral portion, thereby serving as a pull cord that quickly wraps the device around the implant.

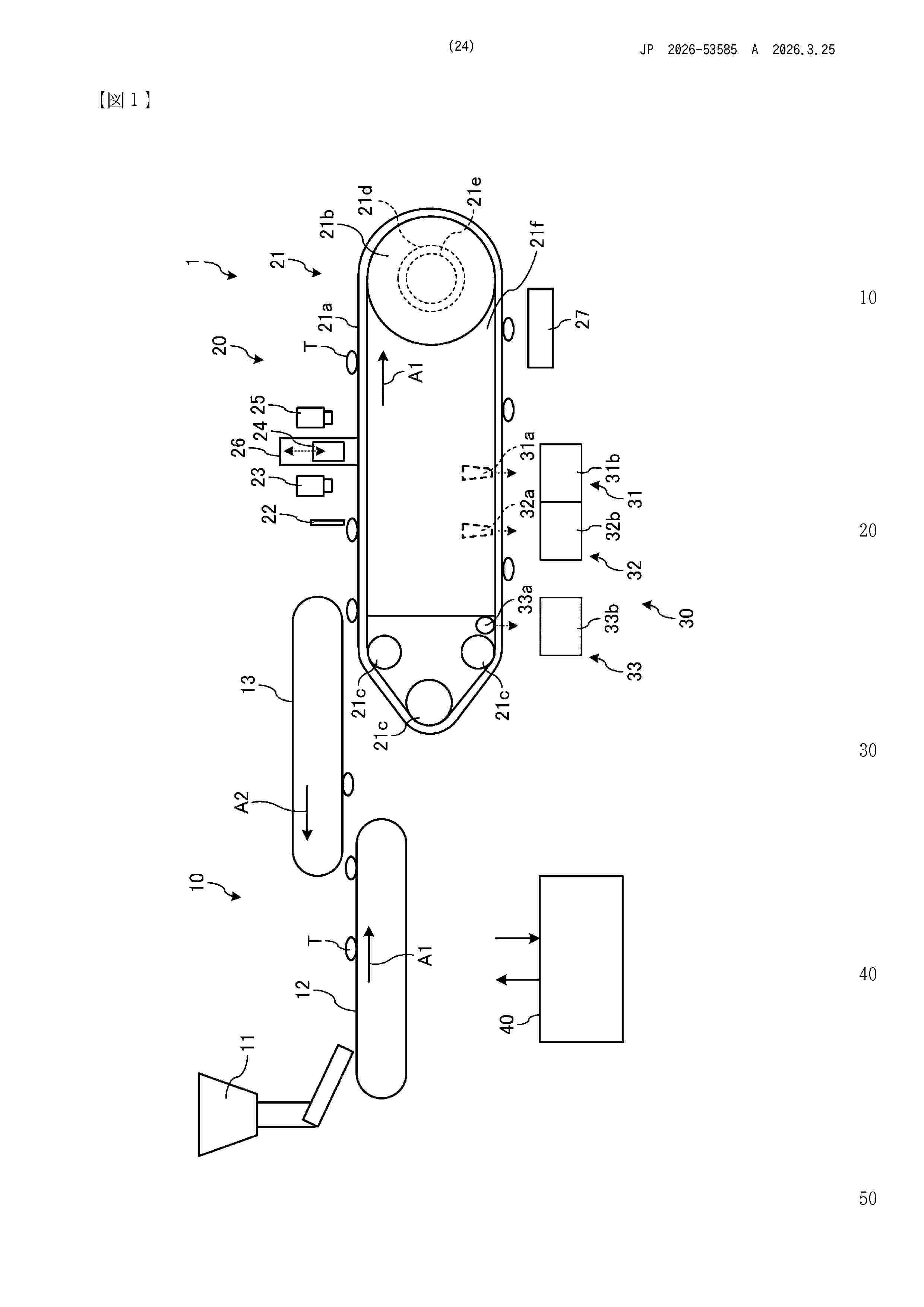
錠剤印刷装置及び錠剤印刷方法

NºPublicación:  JP2026053585A 25/03/2026
Solicitante: 
芝浦メカトロニクス株式会社
JP_2026053585_A

Resumen de: JP2023050476A

To execute efficient tablet printing.SOLUTION: A tablet printing device 1 includes: a conveyance part 21 for conveying tablets T by a conveyance belt 21a; a detection part 22 for detecting the conveyed tablets T; an inkjet head 24 for discharging ink to the tablets T detected by the detection part 22; a moving mechanism 26 for moving the conveyance belt 21a or the inkjet head 24 so as to change an interval between a surface on a conveyance belt 21a side of the inkjet head 24 and a surface on an inkjet head 24 side of the conveyance belt 21a; and a control part (e.g., a control device 40) for controlling the conveyance part 21 and the moving mechanism 26. The detection part 22 detects height information on the tablets T on the conveyance belt 21a. The control part controls the conveyance part 21 so as to decrease a conveyance speed of the conveyance belt 21a when the height of the tablets T exceeds a predetermined threshold on the basis of the height information, and controls the moving mechanism 26 so as to widen the interval.SELECTED DRAWING: Figure 1

SCAFFOLDS FOR USE IN TISSUE ENGINEERING AND METHOD FOR PREPARING SCAFFOLDS

NºPublicación:  ES3060116T3 25/03/2026
Solicitante: 
AKIRA SCIENCE AB
Akira Science AB
US_2022184276_A1

Resumen de: US2022184276A1

The present disclosure is directed to a degradable 3D-printable scaffold for use in tissue engineering, which scaffold has a combined gradient and staggered structure. Further provided is a medical device for use in tissue engineering, comprising such a scaffold. The present disclosure also provides a method for preparing a scaffold by additive manufacturing, e.g. 3D-printing, a method for in vivo tissue engineering, use of the scaffold in an in vitro cell culture system, in an in vitro method for culturing of cells and/or in an in vitro method for regenerating tissue. Also provided is a scaffold and a medical device for use in a method for in vivo tissue engineering. Further disclosed is a novel degradable copolymer of ε-caprolactone and p-dioxanone, which can be printed without degradation and which is particularly suitable for use as scaffold material in the scaffold and method according to the present disclosure.

一种时空响应性多功能3D打印骨修复支架及其制备方法和应用

NºPublicación:  CN121714758A 24/03/2026
Solicitante: 
武汉市第四医院深圳市第二人民医院(深圳市转化医学研究院)
CN_121714758_PA

Resumen de: CN121714758A

本发明公开了一种时空响应性多功能3D打印骨修复支架及其制备方法和应用。将PDGF‑BB负载于快释载体,MgP负载于慢释载体,通过3D打印制备出内层负载MgP、外层负载PDGF‑BB的多功能3D打印骨修复支架。其中PDGF‑BB作为免疫调节剂,MgP作为再生诱导剂,将其植入体内后可根据载体降解速率的不同,时空响应性先降解释放PDGF‑BB实现早期免疫调节和内皮细胞募集,后降解释放镁离子和磷酸根离子与PDGF‑BB协同促进中后期血管化和成骨。经体外体内实验证实,本发明提供的3D打印骨修复支架兼具免疫调节、促进血管生成和成骨性能,能够用于炎症性骨损伤修复,尤其是适用于糖尿病引起的炎症性骨损伤修复。

脛骨インプラント

NºPublicación:  JP2026052672A 24/03/2026
Solicitante: 
エースクラップ・アクチェンゲゼルシャフト
JP_2026052672_A

Resumen de: US20260069422A1

A tibia implant for joint replacement has a plateau section and an anchor section projecting from a tibia-facing side of the plateau section. The anchor section is insertable into a channel in a tibia bone. The plateau section has a first surface structure that is a porous open-pore surface structure with bridges, webs or wall regions that can be gripped from behind in the axial direction on the tibia-facing side that comes into contact with tibia bone tissue. The open-pore surface structure has a first roughness. The anchor section is connected to the plateau section in a first axial anchor region on the circumferential side has a surface structure with a second roughness that is lower than the first roughness. The anchor section has a second axially free-ending axial anchor region with a smooth surface in the axial direction adjacent to the first axial anchor region.

用于骨植入的Ti-Zr-Nb中熵合金多孔构件及制备和应用

NºPublicación:  CN121718752A 24/03/2026
Solicitante: 
北京科技大学
CN_121718752_PA

Resumen de: CN121718752A

本发明公开了一种用于骨植入的Ti‑Zr‑Nb中熵合金多孔构件及制备和应用。该多孔构件的各元素的原子百分比为:Ti 52‑57 at.%,Zr 27‑32 at.%,Nb 12‑16 at.%,以不可避免的杂质元素;且多孔构件的结构由相互连通的大孔和小孔构成,孔隙率为 35%‑45%。屈服强度为 127‑216 MPa,弹性模量为 5.0‑8.5 GPa,且所述大孔孔径为 550‑700μm;所述小孔孔径为 200‑400μm,且大孔与小孔的连通率≥90%。该多孔构件在模拟体液中表现出优异的耐腐蚀性(自腐蚀电流密度 0.22×10⁻6 A/cm2),且能支持骨髓间充质干细胞的黏附、增殖与成骨分化,生物相容性良好。本发明为高性能、个性化骨植入物的制备提供了新的材料体系和成形工艺,具有重要的临床应用价值。

BIOMIMETIC IMPLANTS

NºPublicación:  ES3059911T3 24/03/2026
Solicitante: 
THE REGENTS OF THE UNIV OF CALIFORNIA
The Regents of the University of California
US_20260013994_PA

Resumen de: US20260013994A1

Implantable devices for spinal cord and peripheral nerve injury are described. The implants include a three-dimensional printed structure having stem cells disposed therein. Also disclosed are methods of treating neuronal injuries with the disclosed implants.

MICRONEEDLES AND METHODS OF MANUFACTURE THEREOF

NºPublicación:  ES3059965T3 24/03/2026
Solicitante: 
GEORGIA TECH RES CORPORATION
Georgia Tech Research Corporation
US_2025367422_PA

Resumen de: US2025367422A1

A microneedle array is provided for administrating a drug or other substance into a biological tissue. The array includes a base substrate; a primary funnel portion extending from one side of the base substrate; and two or more solid microneedles extending from the primary funnel portion, wherein the two or more microneedles comprise the substance of interest. Methods for making an array of microneedles are also provided. The method may include providing a non-porous and gas-permeable mold having a two or more cavities each of which defines a microneedle; filling the cavities with a fluid material which includes a substance of interest and a liquid vehicle; drying the fluid material to remove at least a portion of the liquid vehicle and form a plurality of microneedles that include the substance of interest, wherein the filling is conducted with a pressure differential applied between opposed surfaces of the mold.

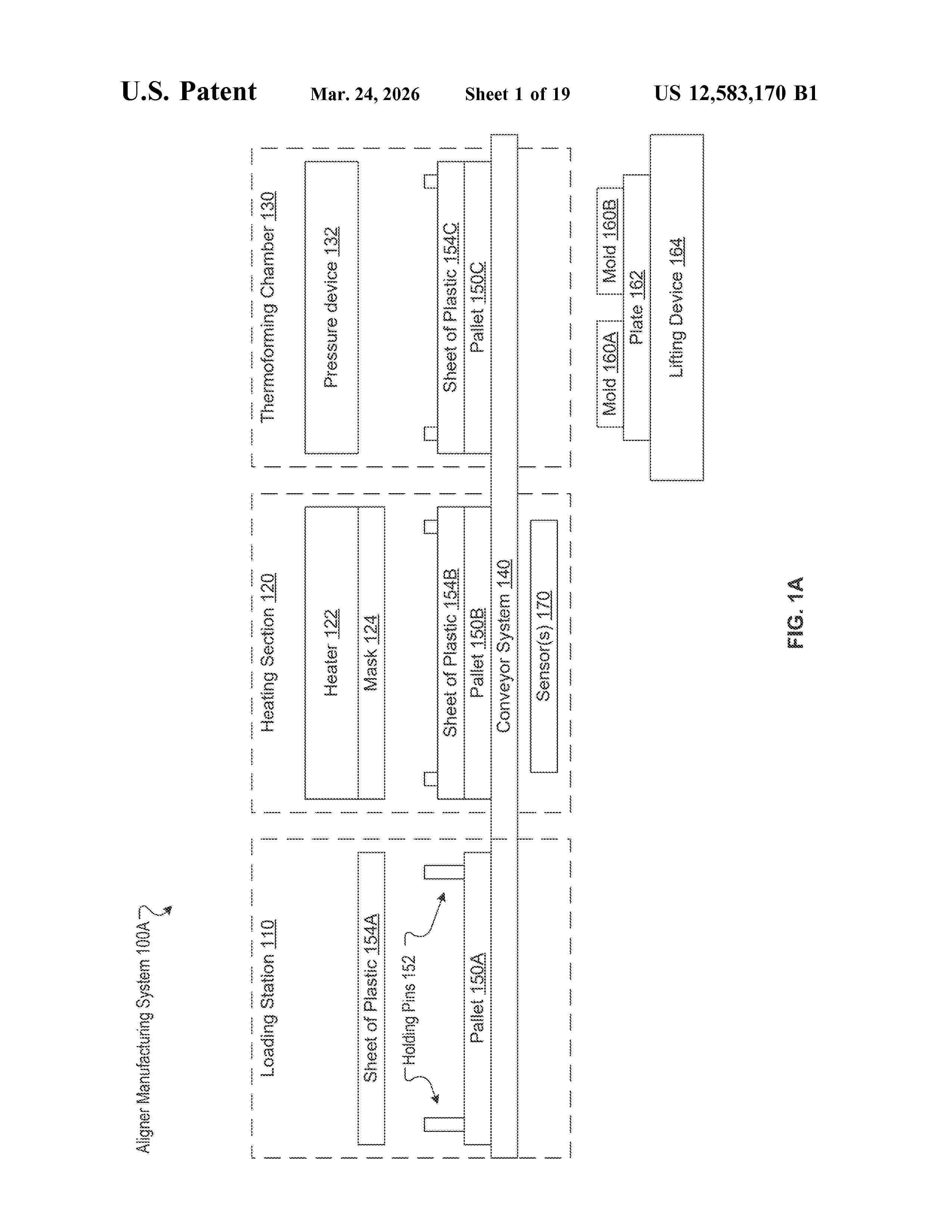
Aligner manufacturing methods

NºPublicación:  US12583170B1 24/03/2026
Solicitante: 
ALIGN TECH INC [US]
Align Technology, Inc
US_12583170_B1

Resumen de: US12583170B1

A method includes: receiving first and second digital models associated with a dental arch of a patient corresponding to first and second stages of orthodontic treatment; printing a first mold of a first dental arch based on the first digital model and a second mold of a second dental arch based on the second digital model; securing the first and second molds to a plate; heating a sheet of plastic to generate a heated sheet, and surrounding the sheet of plastic with a mask during the heating of the sheet of plastic to minimize heat transfer to other sheets of plastic; and simultaneously thermoforming the heated sheet over the first and second molds to form a first aligner shaped to fit the first dental arch and a second aligner shaped to fit the second dental arch.

一种生物墨水、4D生物活性支架及其制备方法与应用

NºPublicación:  CN121714763A 24/03/2026
Solicitante: 
广西璟炜生物技术有限公司
CN_121714763_A

Resumen de: CN121714763A

本发明涉及一种生物墨水、4D生物活性支架及其制备方法与应用,属于生物技术领域。本发明提供的生物墨水包括重组贻贝粘蛋白、表皮生长因子(EGF)、甲基丙烯酸酐化明胶、透明质酸、聚多巴胺、N‑异丙基丙烯酰胺、海藻糖、四丁基溴化铵、LAP和18‑冠醚‑6。本发明的生物墨水用于制备4D生物活性支架,得到的支架具有良好的细胞粘附作用,能按需释放活性因子,同时具有温度响应性,能在37℃体温触发变形,实现对组织的快速修复,且安全性良好,可应用于组织再生与医疗美容修复。

APARATUS AND METHOD FOR COHERENT IMAGING AND FEEDBACK CONTROL FOR MODIFICATION OF MATERIALS

NºPublicación:  PL4306235T3 23/03/2026
Solicitante: 
IPG PHOTONICS CANADA INC [CA]
IPG Photonics (Canada) Inc.
ES_2971465_T3

Resumen de: EP4306235A2

Methods and systems are provided for using optical interferometry in the context of material modification processes such as surgical laser or welding applications. An imaging optical source that produces imaging light. A feedback controller controls at least one processing parameter of the material modification process based on an interferometry output generated using the imaging light. A method of processing interferograms is provided based on homodyne filtering. A method of generating a record of a material modification process using an interferometry output is provided.

生物学的足場の後処理

NºPublicación:  JP2026509657A 23/03/2026
Solicitante: 
ラングバイオテクノロジーピービーシー
JP_2026509657_A

Resumen de: CN121175081A

A method of modifying a surface of a three-dimensional (3D) article includes immersing at least a portion of the 3D article in a buffer solution of a functionalized peptide such that the functionalized peptide reacts with a reactive group on the surface of the 3D article; and washing at least a portion of the 3D article to remove unreacted functionalized peptides. The surface-modified 3D article comprises a plurality of peptides covalently bonded to a surface of the 3D article by cysteine bridging. The surface-modified 3D articles can be used as scaffolds for constructing biological tissues or implants.

应用于肱骨近端骨折的解剖型骨水泥棒支撑的倒模

NºPublicación:  CN121697158A 20/03/2026
Solicitante: 
河北省沧州中西医结合医院
CN_121697158_PA

Resumen de: CN121697158A

本发明公开了应用于肱骨近端骨折的解剖型骨水泥棒支撑的倒模,属于肱骨近端骨折支撑技术领域,该应用于肱骨近端骨折的解剖型骨水泥棒支撑的倒模,包括用于合模成型的左模具和右模具,倒模还包括:左模具内部成型面开设有相贯通的左型芯上模腔和左型芯下模腔,右模具内部成型面开设有右型芯模腔;左模具和右模具精准对接合模制备适配肱骨近端髓内解剖结构的支撑棒;通过左模具和右模具能够快速制备骨水泥支撑棒,操作快速便捷,并且骨水泥支撑棒成型的形态和大小稳定,符合手术需要,不需要反复调整修正,并且左模具和右模具能够通过3D打印技术制备或者采用金属材料制备,制备的模具能够重复利用,辅助手术操作。

全口义齿及全流程数字化的全口义齿制作方法

NºPublicación:  CN121694883A 20/03/2026
Solicitante: 
北京大学口腔医学院
CN_121694883_PA

Resumen de: CN120678548A

The invention discloses a complete denture and a complete-process digital complete denture manufacturing method. A traditional impression is replaced by an optical impression, mechanical face arch and Gothic arch tracing is replaced by electronic motion face arch and mandibular motion track tracing, traditional jaw position recording is replaced by combining mandibular track characteristics displayed by a voice method, the technical sensitivity is lower, and jaw position relation recording is more accurate; after mouth scanning, an occlusion scheme is directly generated through software tooth pre-arrangement and an electronic face arch, the middle steps of wax pattern try-on, traditional jaw position recording and the like are omitted, digital manufacturing is adopted, manual operation is reduced, false teeth are directly output through the three-dimensional printing/cutting technology, the tedious procedures of boxing, tooth boiling, grinding and the like are omitted, the manufacturing period is greatly shortened, and the manufacturing cost is reduced. And the subsequent secondary copying or remanufacturing time and the adaptation time are greatly shortened, a digital solution is provided for reconstructing the jaw position through full-mouth planting occlusion, and development, integration and the like of digital and intelligent data are facilitated.

脑胶质瘤双腔放化疗一体化治疗囊

NºPublicación:  CN121695407A 20/03/2026
Solicitante: 
哈尔滨理工大学
CN_121695407_PA

Resumen de: CN121695407A

脑胶质瘤双腔放化疗一体化治疗囊,本发明是要解决现有放射性籽源或化疗载体无法兼顾放疗与化疗、剂量调控困难、药物分布不均等问题。本发明脑胶质瘤双腔放化疗一体化治疗囊由放疗管道与化疗管道组成一体化治疗囊,一体化治疗囊整体呈螺旋管体,放疗管道位于内圈,化疗管道位于外圈,放疗管道为封闭腔体,封闭腔体内装有液体放射源,从化疗管道的头端释放化疗药物,从化疗管道的尾端注入化疗药物,一体化治疗囊的表面涂覆复合抑菌层。本发明一体化治疗囊将放射性药物与化学药物分别置于内外双腔中,通过双通道同步作用,实现放疗与化疗的协同治疗,通过调节螺距及管壁厚度,实现放射性药物与化疗药物的长时程低剂量释放,减少毒副作用。

包含生物相关材料的球状体和相关方法

NºPublicación:  CN121695334A 20/03/2026
Solicitante: 
路易斯维尔大学研究基金会
CN_121695334_PA

Resumen de: US2019381213A1

A method of making a spheroid is provided that includes the step of providing a suspension having one or more biologically-relevant materials dispersed within a biocompatible medium. An amount of a hydrophilic material is deposited on a defined area of a super-hydrophobic surface, and a droplet of the suspension is bioprinted onto the hydrophilic material positioned on the super-hydrophobic to thereby create the spheroid.

一种利用DLP光固化3D打印实现颜色连续梯度过渡的方法

NºPublicación:  CN121697214A 20/03/2026
Solicitante: 
北京大学口腔医学院
CN_121697214_PA

Resumen de: CN121697214A

本发明提供了一种利用DLP光固化3D打印实现颜色连续梯度过渡的方法,属于增材制造技术领域。步骤包括:提供双波长DLP光固化打印设备,调整打印焦平面,对三维数字模型进行分割与切片处理,设定双波长曝光参数,制备含pH响应染料、光酸发生器等组分的光敏树脂浆料,通过可见光固化成型与紫外光调控颜色的往复动态切换完成逐层打印,经后处理得到目标制件。本发明方法通过单光机双波长(365nm紫外光与460nm可见光)超高速动态切换,结合特定配方的光敏树脂浆料,实现多色材料的高分辨率、连续渐变一体化成形。

METHOD AND SYSTEM FOR PROCESSING PRINTED PART

NºPublicación:  WO2026057069A1 19/03/2026
Solicitante: 
GUANGZHOU HEYGEARS IMC INC [CN]
\u5E7F\u5DDE\u9ED1\u683C\u667A\u9020\u4FE1\u606F\u79D1\u6280\u6709\u9650\u516C\u53F8
WO_2026057069_A1

Resumen de: WO2026057069A1

The present application provides a method for processing a printed part formed by additive manufacturing. The method comprises: providing a printed part having an identifier; identifying the identifier on the printed part, and on the basis of at least the identified identifier and/or database information, transmitting a target signal or generating a target indication; and in response to the target signal or the target indication, a target prompting device among a plurality of prompting devices issuing a prompt, wherein the target prompting device is associated with a storage device for storing the printed part.

UNIVERSAL TISSUE FABRICATION TECHNIQUES FOR SELF-ASSEMBLED ORGAN PRODUCTION AND REGENERATIVE MEDICINE APPLICATIONS

NºPublicación:  WO2026060262A1 19/03/2026
Solicitante: 
FRONTIER BIO CORP [US]
BENNETT ERIC [US]
BUDDHIKOT OMKAAR [US]
GRUBER VICTORIA ELISABETH [US]
GOMES NIGEL [US]
VALDOZ JONARD [US]
FRONTIER BIO CORPORATION,
BENNETT, Eric,
BUDDHIKOT, Omkaar,
GRUBER, Victoria-Elisabeth,
GOMES, Nigel,
VALDOZ, Jonard
WO_2026060262_A1

Resumen de: WO2026060262A1

Methods and systems are described for a high-level approach to organ generation by self-assembly using bioprinting, overcoming longstanding challenges in replicating the intricate architecture and function of complex organs. In some embodiments, these methods are used to produce lung tissues and microtissues, demonstrating how mini-lung constructs can be produced on a small scale through specialized processes and media. In such embodiments, methods and systems for generating bioprinted lung tissues and microtissues are provided, as are tissues made by such methods. The tissues find use in implantation, drug discovery, personalized medicine, and other applications. Methods for the large-scale manufacturing of lung epithelial stem cells are also provided.

3D PRINTED SCAFFOLD IMPLANT AND A METHOD FOR MANDIBULAR RECONSTRUCTION

NºPublicación:  WO2026055724A1 19/03/2026
Solicitante: 
DR JOHN MCHUGH [AU]
DR JOHN MCHUGH
WO_2026055724_A1

Resumen de: WO2026055724A1

The present invention relates to a 3D scaffold implant system for mandibular reconstruction, featuring a scaffold structure that includes at least four scaffold segments strategically positioned within the implant, the segments ensuring precise placement within a subject's jawbone and facilitate optimal integration with a surrounding bone tissue; a fluid delivery tube system integrated into each of the scaffold segments to administer a growth factor(s) and an antibiotic directly into the scaffold implant; a pump that facilitates controlled delivery of the growth factors into the scaffold segments; at least three fixation that provide stability to the implant and micro-motors that enable precise alignment of the scaffold implant to conform seamlessly to the natural curvature of the jawbone.

SCAFFOLD COMPOSITE, AND PREPARATION METHOD AND USE THEREOF

NºPublicación:  US20260077107A1 19/03/2026
Solicitante: 
KUNMING UNIV OF SCIENCE AND TECHNOLOGY [CN]
Kunming University of Science and Technology
US_20260077107_A1

Resumen de: US20260077107A1

A scaffold composite, and a preparation method and use thereof are provided. The preparation method includes: mixing a graphene oxide (GO) dispersion and a polylactic acid (PLA) dispersion, and subjecting a resulting mixed solution to curing and melt extrusion in sequence to obtain a 3-dimensional (3D)-printable GO/PLA composite wire; subjecting the 3D-printable GO/PLA composite wire to 3D printing to obtain a scaffold; and annealing the scaffold to obtain the scaffold composite.

ORTHOTIC AND PROSTHETIC DEVICE AND MANUFACTURING SYSTEM AND METHOD

NºPublicación:  US20260076812A1 19/03/2026
Solicitante: 
HANGER INC [US]
Hanger, Inc
US_20260076812_A1

Resumen de: US20260076812A1

A prosthetic device includes a socket, fasteners, and a pylon. The socket defines a cavity configured to receive a residual limb of a user. The socket includes a base defining multiple blind-holes. Each of the fasteners are configured to be received within a corresponding one of the blind-holes. The fasteners each include internal threads. The pylon includes through-holes that are aligned with a corresponding one of the blind-holes. The pylon is configured to be directly coupled with the base of the socket through externally threaded fasteners that extend through the through-holes and threadingly couple with the internal threads of the plurality of fasteners.

SYSTEM AND METHOD FOR COLORING A DENTAL PROSTHESIS

NºPublicación:  US20260076787A1 19/03/2026
Solicitante: 
JAMES R GLIDEWELL DENTAL CERAM INC [US]
James R. Glidewell Dental Ceramics, Inc
US_20260076787_A1

Resumen de: US20260076787A1

Disclosed are example embodiments of methods and systems for automatically coloring a dental prosthesis. One of the systems includes: a memory configured to store a computer-aided manufacturing (CAM) file of the dental prosthesis; a holding apparatus for securing the dental prosthesis; one or more outlets for dispensing coloring fluid; an coloring fluid controller configured to control the one or more outlets to dispense coloring fluid at a preset size and frequency based at least on the CAM file; and a motion controller configured to move the holding apparatus or the one or more outlets based at least on the CAM file.

MEDICAL TISSUE WRAP

NºPublicación:  US20260076835A1 19/03/2026
Solicitante: 
TISSIUM S A [FR]
Tissium S.A
US_20260076835_A1

Resumen de: US20260076835A1

A medical tissue wrap, for an internal anatomical structure of a mammal is formed by a coiled wall having a circumferential inner end portion and a circumferential outer end portion extending around and overlapping the circumferential inner end portion. The wall thereby defines a longitudinal through-hole for accommodating a portion of the anatomical structure. The circumferential outer end portion is radially spaced-apart from the circumferential inner end portion by a discontinuous spacing in the circumferential direction. The tissue wrap comprises a structural outer surface modification at opposing longitudinal end portions of its wall.

A TEAT PRODUCT AND A METHOD FOR PRODUCING A TEAT PRODUCT

NºPublicación:  US20260076876A1 19/03/2026
Solicitante: 
MOBBS ROSEMARY
Mobbs Rosemary
US_20260076876_A1

Resumen de: US20260076876A1

A teat product having a base portion and a nipple portion extending from the base portion, the teat product having a pliable region, wherein said pliable region of the teat product is configured to be deformable in shape in response to force applied by a mouth of a feeding infant.

DENTAL ATTACHMENT POSITIONING DEVICES AND METHODS OF MAKING SAME

NºPublicación:  US20260076778A1 19/03/2026
Solicitante: 
ALIGN TECH INC [US]
ALIGN TECHNOLOGY, INC
US_20260076778_A1

Resumen de: US20260076778A1

A dental attachment positioning device may include a plurality of registration elements. The registration elements may include a tooth registration surface configured to mate with one or more teeth of a patient and a retention support for holding the registration element to one or more teeth of a patient. An attachment support may extend from and be releasably coupled to one or more dental attachments. A coupling may be located between two adjacent registration elements. The coupling may include a force concentration structure. The force concentration structure may include a notch or channel configured to facilitate a breakage between the two adjacent registration elements.

BRAKE ASSEMBLY, STEERING ARM ASSEMBLY AND RACING WHEELCHAIR

NºPublicación:  US20260077746A1 19/03/2026
Solicitante: 
RGK WHEELCHAIRS LTD [GB]
RGK Wheelchairs Ltd
US_20260077746_A1

Resumen de: US20260077746A1

A brake assembly for a personal mobility vehicle, in form of a racing wheelchair, comprises a brake lever for actuating a brake cable, wherein the brake lever is a 3D printed glass filled nylon unit, in particular with up to 30% glass filled nylon. A steering arm assembly comprises a steering arm with the brake assembly integrated into the steering arm A racing wheelchair with one front wheel is attached to a wheelchair frame via a fork, with two drive wheels as well as a steering cage mounted on the rear of the wheelchair frame. The brake assembly and/or the steering arm assembly are mounted to the wheelchair frame.

HYDROGELS FOR 3D PRINTING HAVING HIGH RESOLUTION

NºPublicación:  US20260078274A1 19/03/2026
Solicitante: 
3D SYSTEMS INC [US]
3D SYSTEMS, INC
US_20260078274_A1

Resumen de: US20260078274A1

In one aspect, build materials for use with a three-dimensional (3D) printing system are described herein. In some embodiments, a build material described herein comprises an acrylate component, a photoinitiator component, a non-curable absorber component, and water. The photoinitiator component of the build material is operable to initiate curing of the acrylate component and/or other curable materials that may optionally be present when the photoinitiator is exposed to incident curing radiation having a Gaussian distribution of wavelengths and a peak wavelength λ. The build material has a penetration depth (Dp) and a critical energy (Ec) at the wavelength λ. In some embodiments, the Dp is greater than 200 μm and less than 300 μm, and the Ec is 3-12 mJ/cm2. In other embodiments, the Dp is greater than 10 μm and less than 50 μm, and the Ec is 5-40 mJ/cm2.

PHARMACEUTICAL DOSAGE FORMS AND PREPARATION METHODS THEREOF

NºPublicación:  AU2024340886A1 19/03/2026
Solicitante: 
TRIASTEK INC
TRIASTEK, INC
AU_2024340886_A1

Resumen de: AU2024340886A1

Provided herein are a pharmaceutical dosage form and a method for preparing thereof, such as a pharmaceutical dosage form prepared by a three-dimensional printing method. Pharmaceutical dosage forms loaded with liquid or semi-solid materials, and pharmaceutical dosage forms loaded with solid material are both provided.

DEVICE FOR PRODUCING A MOLDED PART OF A DENTAL SPLINT

NºPublicación:  US20260076777A1 19/03/2026
Solicitante: 
GLANZIFY HAFTUNGSBESCHRAENKT [DE]
GLANZIFY HAFTUNGSBESCHR\u00C4NKT
US_20260076777_A1

Resumen de: US20260076777A1

A device for producing a molded part of a dental splint includes a base element, a retaining plate, and at least one receiving element. The at least one receiving element is arranged releasably on an upper side of the retaining plate. The at least one receiving element is designed to receive a tooth template. The at least one receiving element is fixable on the retaining plate in a plurality of positions and/or orientations. Also disclosed is an apparatus for producing a dental splint by such a device, and to a method for producing a dental splint, in particular using the apparatus.

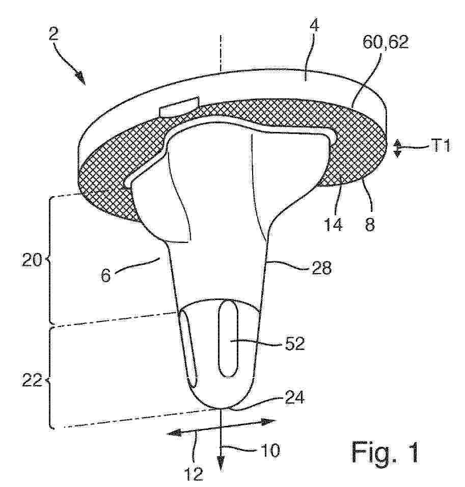
TIBIAL IMPLANT

NºPublicación:  EP4711135A1 18/03/2026
Solicitante: 
AESCULAP AG [DE]
Aesculap AG
EP_4711135_PA

Resumen de: EP4711135A1

Die Erfindung betrifft ein Tibia-Implantat (2) für Gelenkersatz, welches aus Metalllegierung in einem additiven Fertigungsverfahren, insbesondere durch metallischen 3D-Druck, hergestellt ist, mit einem Plateauabschnitt (4) und mit einem auf der tibiazugewandten Seite (8) des Plateauabschnitts (4) vorspringenden und sich davon in einer axialen Richtung (10) wegerstreckenden zapfen- oder kielförmigen Ankerabschnitt (6), welcher in einen hierfür vorbereiteten Kanal in einem Tibiaknochen in der axialen Richtung (10) einsetzbar ist; erfindungsgemäß wird vorgeschlagen, dass der Plateauabschnitt (4) auf seiner tibiazugewandten und mit Tibiaknochengewebe in Kontakt gelangenden Seite (8) eine dreidimensional poröse offenporige Oberflächenstruktur (14) mit in der axialen Richtung (10) hintergreifbaren Brücken, Stegen oder Wandbereichen aufweist, wobei die dreidimensional poröse offenporige Oberflächenstruktur (14) eine erste Rauigkeit aufweist, und dass der zapfen- oder kielförmige Ankerabschnitt (6) anschließend an den Plateauabschnitt (4) in einem ersten axialen Ankerbereich (20) umfangsseitig eine in einer radialen Richtung (12) hinterschnittfreie, das heißt von hintergreifbaren Brücken und brückenbildenden Stegen freie Oberflächenstruktur (28) mit einer zweiten Rauigkeit aufweist, die geringer ist als die erste Rauigkeit, unddass der zapfen- oder kielförmige Ankerabschnitt (6) in der axialen Richtung (10) anschließend an den ersten axialen Ankerbereich (20) einen

PROCESS FOR PRODUCING A ZIRCONIA DENTAL ARTICLE

NºPublicación:  EP4709344A1 18/03/2026
Solicitante: 
SOLVENTUM INTELLECTUAL PROPERTIES COMPANY [US]
Solventum Intellectual Properties Company
CN_121285362_PA

Resumen de: CN121285362A

The invention relates to a method for producing a dental zirconia article, comprising the following steps: processing a radiation-curable zirconia sol A as a construction material in a laminate manufacturing process comprising a radiation curing step to obtain a zirconia gel article, the zirconia gel article has the shape of a dental article with an outer surface and an inner surface; applying a radiation curable zirconia sol Bx on at least a portion of the outer surface of the zirconia gel article; radiation curing the radiation curable zirconia sol Bx of step (b); converting the zirconia gel article into a zirconia aerogel article, the radiation-curable zirconia sol A being the same as or different from the radiation-curable zirconia sol Bx in terms of chemical composition and/or physical properties. The invention also relates to a dental ceramic zirconia article obtainable by a process according to any of the preceding claims.

DOSE DIVIDER

NºPublicación:  EP4709449A1 18/03/2026
Solicitante: 
SANOFI PASTEUR INC [US]
Sanofi Pasteur, Inc
CN_121443343_PA

Resumen de: CN121443343A

A dose dispenser for releasable attachment to a plunger rod of a syringe includes a first arm and a second arm. The front portion of the first arm and the front portion of the second arm form a channel therebetween for receiving a plunger rod. A resilient hinge pivotably couples the first arm and the second arm such that the dose dispenser is reversibly movable between a first configuration and a second configuration. When the dose dispenser is in the second configuration, the dose dispenser is configured to receive the plunger rod in the channel through an opening formed between the anterior portion of the first arm and the anterior portion of the second arm. The channel has a shape configured to receive a particular external shape of the plunger rod. The front portion of the first arm and the front portion of the second arm are closer when the dose dispenser is in the first configuration than when the dose dispenser is in the second configuration.

SCAFFOLD WITH STEM CELLS

NºPublicación:  EP4710957A1 18/03/2026
Solicitante: 
PARRI UMBERTO [IT]
Parri, Umberto
EP_4710957_A1

Resumen de: EP4710957A1

Scaffold with stem cells comprises 60 per cent biomaterial, consisting of 75 per cent Silicone by weight, Poli Glycolic Acid at 1.87 per cent, Xanthan Gum at 1.25 per cent, NaCl at 3.75 per cent, Agar at 3.75 per cent, Carbon Fullerene C60 at 4.38 per cent and water at 2.5 per cent. All reacted with 7.5 per cent Silicone catalyst and a 40 per cent predominantly cellular materials composed of ASC, i.e. mesenchymal cells of adipose origin, 50 per cent, Hyaluronic Acid at 30 per cent and TGF-beta, i.e. transforming growth factor beta, at 20 per cent.

一种硅胶阻鼾器制造系统及方法

NºPublicación:  CN121671003A 17/03/2026
Solicitante: 
青岛冠廷医疗科技有限公司
CN_121671003_PA

Resumen de: CN121671003A

本发明涉及一种硅胶阻鼾器制造方法,属于医疗产品技术领域。该方法包括以下步骤:S1、数据获取与建模;S2、配准:将三维牙颌模型与头颅侧位片配准,实现牙颌模型与气道软组织的空间对齐;S3、测量分析:测量气道间隙、舌体形态及颌骨位置参数;S4、个性化矫正:根据测量结果自动设定下颌骨的前伸量与垂直打开量,依据WALA嵴与FA点设计牙弓扩弓宽度,设计舌诱导屏斜面角度以引导舌体向前向上移动;S5、制造。本发明突破传统阻鼾器仅能单一前移下颌的局限,通过协同调控下颌骨三维位姿、牙弓宽度及舌体姿态,实现对气道长度、宽度和高度的立体化综合扩展,有效增大气道容积,改善通气效率,显著提升对OSAHS的矫治效果。

一种用于治疗口呼吸的个性化3D打印水凝胶贴片及其制备方法

NºPublicación:  CN121668051A 17/03/2026
Solicitante: 
江南大学
CN_121668051_PA

Resumen de: CN121668051A

本发明公开了一种用于治疗口呼吸的个性化3D打印水凝胶贴片及其制备方法,涉及3D打印水凝胶贴制备技术领域,包括获取使用者唇部区域的三维表面形貌数据,并基于该数据构建个性化水凝胶贴片的数字模型;根据数字模型设计具有唇周贴合轮廓的三维结构文件;配制包含明胶甲基丙烯酰化、多巴胺甲基丙烯酰胺、丙烯酰胺、聚乙二醇二丙烯酸酯、光引发剂及护肤型功能性添加剂的预聚物溶液;将预聚物溶液注入光固化3D打印设备,并调用三维结构文件进行逐层曝光打印,形成湿态水凝胶贴片;将湿态水凝胶贴片置于缓冲溶液中清洗,以去除未反应组分;对清洗后的水凝胶贴片进行后固化处理,使交联网络充分形成,获得具备适中黏附力与高韧性的成品贴片。

一种用于3D打印的高内相双峰乳液及其制备方法和应用

NºPublicación:  CN121673466A 17/03/2026
Solicitante: 
深圳南科新材科技有限公司
CN_121673466_PA

Resumen de: CN121673466A

本发明涉及一种用于3D打印的高内相双峰乳液及其制备方法和应用,所述制备方法包括如下步骤:将第一高内相乳液和第二高内相乳液进行剪切搅拌混合,得到所述用于3D打印的高内相双峰乳液;所述第一高内相乳液的众数粒径大于第二高内相乳液的众数粒径。本发明提供的用于3D打印的高内相双峰乳液具有自稳定性,进行3D打印的结构稳定好,精度高,不易出现结构坍塌、变形、分层和脱落等问题。

一种抑菌水凝胶人造皮肤及其制备方法

NºPublicación:  CN121668395A 17/03/2026
Solicitante: 
青岛哈尔滨工业大学(威海)研究院青岛九系智能技术有限公司
CN_121668395_A

Resumen de: CN121668395A

本申请提供了提供了一种抑菌水凝胶人造皮肤及其制备方法,属于3D打印生物材料技术领域,按重量份数计,包括以下原料制备得到:六水合氯化铝1~3份、水30~45份、接枝改性壳聚糖15~22份、丙烯酰胺8~15份、N,N'‑亚甲基双丙烯酰胺0.2~0.8份、光引发剂0.5~1.5份、季铵化壳聚糖6~12份和纳米羟基磷灰石4~8份。其中,接枝改性壳聚糖包括以下原料制备而成:壳聚糖5~10份,浓度2%乙酸溶液80~120份、甲基丙烯酸缩水甘油酯0.8~2.5份和偶氮二异丁腈0.05~0.2份。本申请通过采用以接枝改性壳聚糖为核心的配方,形成多尺度交联和个性化3D打印的协同设计,实现水凝胶的高力学强度、广谱长效抑菌、精准形态适配与优异生物相容性,满足临床复杂创面修复需求。

一种陶瓷内窥镜抓钳钳头及其一体化成型方法

NºPublicación:  CN121673045A 17/03/2026
Solicitante: 
杭州云增新材料有限公司
CN_121673045_PA

Resumen de: CN121673045A

本发明公开了一种陶瓷内窥镜抓钳钳头的一体化成型方法。方法以氧化锆模型墨水与水溶性支撑墨水为原料,通过材料喷射成型逐层构建含上钳口、下钳口、旋转轴、连接管及螺纹鞘头的整体生坯;在齿形咬合区、镂空键槽及活动间隙按特定比例混合填充支撑,并在每2‑5层后采用螺旋滚刀在线铣削,保证尺寸精度。生坯经水洗、干燥、1550℃烧结后,制得致密度≥99.9%、Ra 3‑4μm、抗弯强度≥800MPa的陶瓷钳头,无需后续机加工或铆接。产品闭合宽度≤10mm,总长≤50mm,鳄鱼形弧面与32齿R0.1mm倒角协同镂空键槽、椭圆排液孔,实现轻量化、低损伤、高夹持力,可顺利通过φ2.0mm内镜通道,满足一次性使用需求,解决不锈钢钳头加工难、易过敏、易疲劳及成本高的问题。

电场辅助3D打印制备含电气石颗粒的同轴骨支架的方法

NºPublicación:  CN121668399A 17/03/2026
Solicitante: 
河北工业大学
CN_121668399_PA

Resumen de: CN121668399A

本发明公开了一种电场辅助3D打印制备含电气石颗粒的同轴骨支架的方法,包括:步骤1、制备外壳浆料和内芯浆料;步骤2、搭建电场辅助的同轴3D打印设备;步骤3、打印同轴骨支架。本发明将同轴3D打印技术与静电场技术相结合,通过同轴加料口和环形电极的设计,制备了具有粘度梯度的同轴支架,内芯为高粘度浆料容易凝固成型,提供良好的力学支撑;外壳为含电气石颗粒的低粘度浆料,能在环形电极形成的静电场的作用下使电气石颗粒在支架表面定向排列。

一种模拟天然软骨四层结构的组织工程关节软骨及其原位3D打印方法

NºPublicación:  CN121668406A 17/03/2026
Solicitante: 
中国人民解放军陆军第九五八医院
CN_121668406_A

Resumen de: CN121668406A

本发明涉及一种模拟天然软骨四层结构的组织工程关节软骨及其原位3D打印方法,通过精准的分层建模与层特异性生物墨水,复刻天然软骨“表层‑移行层‑辐射层‑钙化层”的结构与成分特征,依托优化的原位3D打印工艺,在关节腔内直接构建与缺损区解剖匹配、与天然软骨力学及生理功能一致的组织工程软骨。另外,本发明减少了BMSCs体外诱导分化步骤,降低细胞突变风险,同时提升修复组织与宿主软骨的长期整合性,解决了临床修复长期有效性不足的问题。

一种医用纤维增强复合材料的制备方法

NºPublicación:  CN121668390A 17/03/2026
Solicitante: 
中山大学
CN_121668390_PA

Resumen de: CN121668390A

本发明提供了一种医用纤维增强复合材料的制备方法,属于医用材料技术领域。本发明提供一种兼具高屈服强度和弹性模量,且孔隙率大的医用纤维增强复合线材的制备方法,进一步可通过3D打印得到医用材料,提高力学性能的同时,提高材料的孔隙率,孔道结构也有利于营养液输送,显著提高支架结构的生物活性,且制备方法简便,满足多种医疗器械应用需求。

用于经由3D打印生产药物对象的系统和方法

NºPublicación:  CN121650244A 13/03/2026
Solicitante: 
药业印刷有限公司
CN_121650244_PA

Resumen de: AU2025205378A1

21894047_1 (GHMatters) P119307.AU.2 The invention relates to a system for producing pharmaceutical objects, such as tablets, granules and capsules, via 3D print- ing. The system comprises a 3D printing machine (2) with a me-5 chanical system (3) movable in one or more directions, at least one print head (5) with a nozzle (37) being movable by the me- chanical system (3) and a base system (4) carrying a print base (6) for receiving a prepared mixture (27) applied by the print head (5). The system comprises at least one carrier (35) for 10 holding a cartridge (28).Printing can be done on formatted print locations (49) on the base (6). The invention further relates to a method for producing pharmaceutical objects, comprising the steps of providing at least one pharmaceutical substance in at least one cartridge, placing the cartridge in a carrier, estab-15 lishing a fluid connection between a cartridge and a print head, such that the pharmaceutical substance may leave the print head through the print head nozzle, moving the print head nozzle ac- cording to a 3D print program and dispensing the pharmaceutical substance to a print base. 20 (Fig. 24) The invention relates to a system for producing pharmaceutical objects, such as tablets, granules and capsules, via 3D print- 5 ing. The system comprises a 3D printing machine (2) with a me- chanical system (3) movable in one or more directions, at least one print head (5) with a nozzle (37) being movable by the me- chanical system (3)

儿童咬合垫、基于适应性咬合的儿童咬合矫治系统及其设计方法

NºPublicación:  CN121647835A 13/03/2026
Solicitante: 
上海交通大学医学院附属第九人民医院
CN_121647835_PA

Resumen de: CN121647835A

本发明公开了儿童咬合垫、基于适应性咬合的儿童咬合矫治系统及其设计方法,儿童咬合垫包括两个本体,两个本体被配置为覆盖佩戴者上颌/下颌左侧后牙区和右侧后牙区,两个本体之间通过连接部连接;本体包括朝向对颌牙列的咬合面、以及朝向其所覆盖牙列的组织面;组织面形成有用于容纳目标牙齿的萌出窝;萌出窝由侧壁和与目标牙齿咬合面相适配的窝底壁限定而成,侧壁围绕一引导轴线延伸;其中,本体被配置为在佩戴状态下,引导轴线相对于佩戴者的腭平面垂线具有预设偏转角度,以通过引导轴线的方向引导目标牙齿的萌出;萌出窝的窝底壁具有沿引导轴线方向测量的预设厚度。本发明提供的儿童咬合矫治系统既能提高固位力,又能根据错��类型主动引导牙齿定向萌出、重塑功能咬合平面,从而通过消除下颌内旋/外旋机制来矫治颌骨畸形。

一种3D打印掺镁矿化胶原复合骨支架及其制备方法

NºPublicación:  CN121648350A 13/03/2026
Solicitante: 
北京印刷学院
CN_121648350_PA

Resumen de: CN121648350A

本发明化学技术领域,具体涉及一种3D打印掺镁矿化胶原复合骨支架及其制备方法,复合骨支架主要由掺镁矿化胶原、羟基磷灰石和左旋聚乳酸制成,左旋聚乳酸、镁矿化胶原和羟基磷灰石质量比为3~5∶2~4∶1。制备方法,其步骤为:胶原蛋白溶解在酸性缓冲溶液中,滴加含PO43‑溶液后,再依次滴加含Ca2+与Mg2+的混合盐溶液,制得混合溶液;S13在混合溶液中加入碱溶液调节混合溶液pH至8.0~9.0,生成掺镁矿化胶原;将掺镁矿化胶原、左旋聚乳酸和羟基磷灰石混合后通过3D打印制成复合骨支架。本发明的制备方法,克服胶原不稳定的技术偏见,可以实现一步共沉淀法钙镁磷共沉积。

A method of manufacturing a custom-made earpieces using a prediction of a future auditory duct geometry and a corresponding custom-made earpieces.

NºPublicación:  NL2038517B1 13/03/2026
Solicitante: 
ELACIN INT B V [NL]
ELACIN INTERNATIONAL B.V

Resumen de: NL2038517B1

A B S T R A C T A method of manufacturing a custom-made, said method comprising the steps of: providing, for each of a plurality of persons, at least two scans of auditory ducts, wherein said provided at least two scans of said auditory ducts, for each person of said plurality of persons, relate to scanned auditory ducts of said corresponding person separated in time; determining, using a scan of an auditory duct of a person, a predicted geometry of said auditory duct of said person based on a prediction model, wherein said predicted geometry of said auditory duct of said person is separated in time from said scan of said auditory duct of said person, said prediction model being based on a drift identified in geometry of said provided scanned auditory ducts in two scans separated in time for each of said persons of said plurality of persons; manufacturing said custom-made earpiece for said person based on said predicted geometry of said auditory duct of said person.

一种功能化骨软骨修复材料及其制备方法

NºPublicación:  CN121648349A 13/03/2026
Solicitante: 
徐州仁慈医院
CN_121648349_A

Resumen de: CN121648349A

本发明公开了一种功能化骨软骨修复材料,包括依次连接的软骨层、过渡层和骨层,所述软骨层以透明质酸、I型胶原蛋白和壳聚糖为基材,所述过渡层以羟基磷灰石和聚乳酸‑羟基乙酸共聚物为基材,所述骨层以β‑磷酸三钙、羟基磷灰石和聚乳酸‑羟基乙酸共聚物为基材,本发明涉及医用生物材料技术领域,通过设计有机‑无机复合过渡层,梯度衔接软骨层和骨层,界面剪切强度≥0.5MPa,有效解决了传统分层材料层间剥离的问题,能承受关节运动时的剪切应力和压缩应力,制备工艺采用冷冻干燥、模压成型、烧结等成熟医用材料生产设备,可实现规模化批量生产,同时支持选择性激光烧结3D打印的个性化制备,适配不同临床场景需求。

3D SYSTEM AND METHOD FOR PRODUCING PHARMACUTICAL OBJECTS VIA 3D PRINTING

NºPublicación:  KR20260036032A 13/03/2026
Solicitante: 
파마프린트리미티드엘엘씨
KR_20260036032_PA

Resumen de: AU2025205378A1

21894047_1 (GHMatters) P119307.AU.2 The invention relates to a system for producing pharmaceutical objects, such as tablets, granules and capsules, via 3D print- ing. The system comprises a 3D printing machine (2) with a me-5 chanical system (3) movable in one or more directions, at least one print head (5) with a nozzle (37) being movable by the me- chanical system (3) and a base system (4) carrying a print base (6) for receiving a prepared mixture (27) applied by the print head (5). The system comprises at least one carrier (35) for 10 holding a cartridge (28).Printing can be done on formatted print locations (49) on the base (6). The invention further relates to a method for producing pharmaceutical objects, comprising the steps of providing at least one pharmaceutical substance in at least one cartridge, placing the cartridge in a carrier, estab-15 lishing a fluid connection between a cartridge and a print head, such that the pharmaceutical substance may leave the print head through the print head nozzle, moving the print head nozzle ac- cording to a 3D print program and dispensing the pharmaceutical substance to a print base. 20 (Fig. 24) The invention relates to a system for producing pharmaceutical objects, such as tablets, granules and capsules, via 3D print- 5 ing. The system comprises a 3D printing machine (2) with a me- chanical system (3) movable in one or more directions, at least one print head (5) with a nozzle (37) being movable by the me- chanical system (3)

壳状牙科器械制作方法

NºPublicación:  CN121650250A 13/03/2026
Solicitante: 
上海恺皓科技有限公司
CN_121650250_PA

Resumen de: WO2021147336A1

A method for fabricating a shell-shaped dental instrument, comprising: obtaining a three-dimensional digital model of a shell-shaped dental instrument (101); inspecting the three-dimensional digital model of the shell-shaped dental instrument (103); according to the result of inspection, directly modifying the three-dimensional digital model of the shell-shaped dental instrument (105); and using 3D printing technology to make the shell-shaped dental instrument on the basis of the modified three-dimensional digital model of the shell-shaped dental instrument (107). The present method can overcome the limitations on various aspects of a shell-shaped dental instrument caused by the limitedness of the traditional hot pressing film forming process.

一种用于深部脑神经定向再生的微型蠕动器及其制备方法

NºPublicación:  CN121647847A 13/03/2026
Solicitante: 
浙江理工大学
CN_121647847_PA

Resumen de: CN121647847A

本发明涉及蠕动器技术领域,且公开了一种用于深部脑神经定向再生的微型蠕动器,包括微型蠕动器,所述微型蠕动器的表面设置有褶皱结构,所述微型蠕动器的内部设置有驱动结构,所述驱动结构为记忆合金丝,通过电流控制记忆合金丝,实现收缩与断电恢复形变,进而驱动微型蠕动器产生蠕动运动。本发明中,微型蠕动器整体呈蠕虫状且由两个C形结构组成,配合表面连续环状褶皱结构,可模拟自然界生物在狭窄空间的高效蠕动模式,既能适配深部脑神经区域复杂的管腔与组织间隙,又能避免蠕动过程中对周围软组织的刮擦损伤,同时褶皱结构为运动提供稳定波形动力,确保在精细神经环境中灵活前行。

用于通过3D喷墨打印制备由氧化锆制成的陶瓷成形体的方法和料浆

NºPublicación:  CN121651924A 13/03/2026
Solicitante: 
义获嘉伟瓦登特公司
CN_121651924_A

Resumen de: US2025018599A1

Process and slip for the production of ceramic shaped parts made of zirconium oxide ceramic by a 3D inkjet printing process. The slip contains zirconium oxide which is suspended in a liquid medium, wherein the slip has a zirconium oxide content of from 68 to 88 wt.-% and contains not more than 5 wt.-% organic components. The process for the production of ceramic components comprises the layered shaping and subsequent sintering of the desired component from the slip.

ADDITIVE MANUFACTURING OF VINYL PHOTOCROSSLINKABLE POLYMERS

NºPublicación:  KR20260035932A 13/03/2026
Solicitante: 
베노스텐트인크
KR_20260035932_PA

Resumen de: US2022257827A1

Various precursor solutions and methods of 3D printing and other additive manufacturing approaches are provided for the manufacture of articles using photocrosslinkable vinyl shape memory polymers. In various aspects, articles are manufactured by a process comprising (i) exposing a precursor solution to an intensity and frequency of light to initiate photo-polymerization of the precursor solution to form a layer of the article; and (ii) repeating step (i) a number of times to form the article in a layer-by-layer approach; wherein the precursor solution comprises a first polymeric precursor comprising a plurality of vinyl terminated side-chains attached thereto. A vinyl-functionalized, photocrosslinkable SMP used as an example herein is a novel variant of a previously disclosed SMP composition, with higher amounts of vinyl functionalization but similar thermomechanical properties to the SMP library previously disclosed. Moreover, a unique combination of chemistries is disclosed that incorporates the aforementioned vinyl-functionalized SMPs along with acrylate-based crosslinkers. Additional novel compositions are disclosed containing the vinyl-functionalized SMPs with additional dithiol functionalizations, vinyl-functionalized SMPs with dithiol crosslinkers, as well as vinyl-functionalized SMPs with both acrylate-based and dithiol crosslinkers, as another means to tune degradation rates and other material properties. The articles can include a variety of articles such as stents

SYSTEM AND METHOD FOR PERFORMING QUALITY ANALYSIS FOR MULTIDIMENSIONAL PRINTING

NºPublicación:  US20260070279A1 12/03/2026
Solicitante: 
BRINTER AM TECH OY [FI]
Brinter AM Technologies Oy
US_20260070279_PA

Resumen de: US20260070279A1

A system for performing quality analysis for multidimensional printing. The system includes a multidimensional printer, wherein the multidimensional printer comprises a printing head, a printing surface, an axis system and a scale, wherein the scale is arranged to measure weight applied on the printing surface; and a control unit operatively coupled to the multidimensional printer. The control unit is configured to control the printing head to extrude a printing material, to produce a printed object on the printing surface, obtain, from the scale, a weight of the printed object, and store the weight of the printed object in a memory associated with the control unit, compare the weight with a reference weight of the printed object, and control the printing head to stop extrusion of the printing material when the weight is equal to or exceeds the reference weight.

SYSTEM AND METHOD FOR PLANNING AND SIMULATING A SURGICAL OPERATION TO CREATE A PATIENT-SPECIFIC SPINAL IMPLANT

NºPublicación:  WO2026054808A1 12/03/2026
Solicitante: 
NIVALON MEDICAL TECH INC [US]
NIVALON MEDICAL TECHNOLOGIES INC
WO_2026054808_PA

Resumen de: WO2026054808A1

A system and method for planning and simulating a surgical operation to create a patient-specific spinal implant are disclosed. The system comprises a remote server configured to receive patient-specific medical image data and generate a 3D mesh model of the patient's spine using algorithms that separate vertebral bodies, remove artifacts, and smooth surfaces. A doctor's computer receives the 3D mesh model and allows real-time manipulation of intervertebral spaces to achieve a desired spinal curvature. The server generates a spinal implant design with surface-mapped endplates matching the patient's vertebral anatomy, which is transmitted to a 3D printer for manufacturing. The method includes steps of receiving image data, generating and updating the 3D mesh model based on doctor input, generating the final implant design, and transmitting it for production. The invention enables the creation of patient-specific spinal implants with improved conformity and surgical outcomes.

ANCHOR FOR USE WITH ORTHODONTIC APPLIANCE

NºPublicación:  WO2026053080A1 12/03/2026
Solicitante: 
SOLVENTUM INTELLECTUAL PROPERTIES COMPANY [US]
SOLVENTUM INTELLECTUAL PROPERTIES COMPANY
WO_2026053080_PA

Resumen de: WO2026053080A1

An anchor for use with an orthodontic appliance is provided. The anchor is configured to be coupled to an anchor surface defining a reference plane. The anchor includes a base configured to be coupled to the anchor surface, such that the reference plane interfaces with the base. The anchor further includes a hook portion extending from the base and curving towards the reference plane. The hook portion includes a tip distal to the base. The hook portion defines a pocket having a minimum width relative to the reference plane. A maximum distance between the tip and the reference plane is less than the minimum width of the pocket.

STERNAL IMPLANT

NºPublicación:  WO2026055711A1 12/03/2026
Solicitante: 
STELLENBOSCH UNIV [ZA]
STELLENBOSCH UNIVERSITY
WO_2026055711_PA

Resumen de: WO2026055711A1

A sternal implant for implant into a body is provided. The implant includes an outer frame forming a structurally rigid portion. The outer frame includes a plurality of openings configured to accommodate sutures for affixing the outer frame to the body. The implant includes a central structure connected within the outer frame. The central structure includes a in the form of a layer having a construction including multiple channels. The filling portion is configured to allow for fluid drainage and tissue ingrowth of tissue generated by the body.

MEMBRANE, MEMBRANE CONTACTOR, AND METHOD FOR PRODUCING A MEMBRANE

NºPublicación:  WO2026052280A1 12/03/2026
Solicitante: 
RHEINISCH WESTFAELISCHE TECHNISCHE HOCHSCHULE AACHEN ABGEKUERZT RWTH AACHEN KOERPERSCHAFT DES OEFFEN [DE]
RHEINISCH-WESTF\u00C4LISCHE TECHNISCHE HOCHSCHULE AACHEN, ABGEK\u00DCRZT RWTH AACHEN, K\u00D6RPERSCHAFT DES \u00D6FFENTLICHEN RECHTS
WO_2026052280_PA

Resumen de: WO2026052280A1

The invention relates to a membrane (1) for a membrane contactor (2), which membrane is in the form of a hollow three-dimensional tube structure located on both sides of a plane/central plane (ME), in particular a hollow tube structure which is mirror-symmetrical to the plane/central plane and consists of branched tubes (3, 3 ́, 3 ́ ́, 3 ́ ́ ́, 3 ́ ́ ́ ́), preferably not exclusively planar branched tubes (3, 3 ́, 3 ́ ́, 3 ́ ́ ́, 3 ́ ́ ́ ́) having a plurality of branching planes (VE) in parallel with the plane/central plane (ME) on both sides of the plane/central plane (ME), wherein the walls of the tube structure are permeable to substances and/or permeable to energy, and wherein, in the region (B) of each branching plane (VE), each tube (3, 3 ́, 3 ́ ́, 3 ́ ́ ́) extending towards the plane/central plane (ME) branches into a plurality of tubes (3 ́, 3 ́ ́, 3 ́ ́ ́, 3 ́ ́ ́ ́) extending with respect to the plane/central plane (ME), and the tubes (3 ́ ́ ́ ́) extending from both sides of the plane/central plane (ME) from the corresponding last branching plane (VE) with respect to the plane/central plane (ME) merge into one another in the region (ÜB) of the plane/central plane (ME). The invention also relates to a membrane contactor (2) having a membrane of this type, and to a method for producing a hollow membrane (1).

TWO-PHASE 3D PRINTING OF BIOCOMPATIBLE STRUCTURES

NºPublicación:  US20260069744A1 12/03/2026
Solicitante: 
LUNG BIOTECHNOLOGY PBC [US]
Lung Biotechnology PBC
US_20260069744_PA

Resumen de: US20260069744A1

A method of printing a hydrogel scaffold is provided which includes providing a container containing an ink and a liquid that is immiscible with the ink; applying light from a light source to the ink to form a portion of the hydrogel scaffold; and applying light from a light source one or more additional times to produce one or more additional portions of the hydrogel scaffold.

SYNTHETIC BONE GRAFTS AND METHODS FOR THEIR PREPARATION

NºPublicación:  US20260069746A1 12/03/2026
Solicitante: 
MIMETIS BIOMATERIALS [ES]
UNIV POLITECNICA DE CATALUNYA [ES]
Mimetis Biomaterials,
Universitat Polit\u00E8cnica de Catalunya
US_20260069746_PA

Resumen de: US20260069746A1

The present invention provides methods for the preparation of synthetic bone grafts which are made of a composition comprising two matrixes, one ceramic including interlocked CDHA crystals, and another of one or more binder(s), the two matrixes being admixture. The method comprises the preparing of an ink composition, the 3D-printing, and the hardening of the binder and ceramic components, in this order.The resulting bone grafts, which are characterized by including the two matrixes in admixture, shows improved mechanical properties as well as excellent biological properties.

SUCTION TOOTHBRUSH AND RELATED METHODS

NºPublicación:  US20260069028A1 12/03/2026
Solicitante: 
RUTGERS THE STATE UNIV OF NEW JERSEY [US]
RUTGERS, THE STATE UNIVERSITY OF NEW JERSEY
US_20260069028_PA

Resumen de: US20260069028A1

A suction toothbrush includes a handle defining an opening, a toothbrush head including internal channels, a seal with a distal end received within the toothbrush head and a proximal end coupled to the handle through the opening thereof, and a connector extending through the annular body of the seal. The connector includes a main body having a distal end disposed within the internal conduit of the toothbrush head and a proximal end extending into the handle through the top opening thereof, and a vibration motor housing offset from the proximal end of the main body. A waste reservoir for a suction toothbrush includes a lid, a basin defining a sump for waste material, and a gas-permeable membrane disposed between the lid and the basin that defines central inlet opening. A 3-D printing method for suction toothbrush heads.

METHODS OF FABRICATING LASER-SINTERED CARBOHYDRATE MATERIALS AND COMPOSITIONS AND USES THEREOF

NºPublicación:  US20260070282A1 12/03/2026
Solicitante: 
WILLIAM MARSH RICE UNIV
William Marsh Rice University
US_20260070282_PA

Resumen de: US20260070282A1

A composition useful in forming a structure in the form of a substantially interconnected vascular network. The composition includes a powder including a carbohydrate powder and an anti-caking agent, where the powder: has a granular form, and has a specific energy of less than 6 millijoules per milliliter (mJ/mL).

SYSTEM AND METHOD FOR PRODUCING PHARMACEUTICAL OBJECTS VIA 3D PRINTING

NºPublicación:  US20260069503A1 12/03/2026
Solicitante: 
PHARMAPRINT LTD LLC [CH]
PHARMAPRINT LIMITED LLC
US_20260069503_PA

Resumen de: US20260069503A1

Method for 3D printing, comprising the following steps: providing a packaging (2′) having at least one recess (3′) for receiving a product (1′), wherein the shape of the recess (3′) corresponds at least in part to the shape of the product (1′) and wherein the recess (3′) forms a protuberance at the other side of the packaging (2′); providing a 3D printer with a print base (5′) having at least one recess (6′) for receiving the protuberance formed by the recess (3′) of the packaging (2′); inserting the packaging (2′) in the print base (5′) such that the protuberance formed by the recess (3′) of the packaging (2′) is received by the recess (6′) of the print base (5′); filling a print head (7′) of the 3D printer with at least one material for printing the product (1′); 3D printing the product (1′) inside the recess (3′) of the packaging (2′), wherein the part of the recess (3′) corresponding to the shape of the product (1′) serves as the mold and print support, resp., for those layers of the product (1′) which are 3D printed first. The method is performed with a system for 3D printing, comprising a packaging (2′) having at least one recess (3′) for receiving a product (1′), wherein the shape of the recess (3′) corresponds at least in part to the shape of the product (1′) and wherein the recess (3′) forms a protuberance at the other side of the packaging (2′); and a 3D printer with a print head (7′) and a print base

TIBIA IMPLANT

NºPublicación:  US20260069422A1 12/03/2026
Solicitante: 
AESCULAP AG [DE]
Aesculap AG
US_20260069422_PA

Resumen de: US20260069422A1

A tibia implant for joint replacement has a plateau section and an anchor section projecting from a tibia-facing side of the plateau section. The anchor section is insertable into a channel in a tibia bone. The plateau section has a first surface structure that is a porous open-pore surface structure with bridges, webs or wall regions that can be gripped from behind in the axial direction on the tibia-facing side that comes into contact with tibia bone tissue. The open-pore surface structure has a first roughness. The anchor section is connected to the plateau section in a first axial anchor region on the circumferential side has a surface structure with a second roughness that is lower than the first roughness. The anchor section has a second axially free-ending axial anchor region with a smooth surface in the axial direction adjacent to the first axial anchor region.

DENTAL APPLIANCES WITH INTERPROXIMAL ENGAGEMENT STRUCTURES

NºPublicación:  US20260069385A1 12/03/2026
Solicitante: 
ALIGN TECH INC [US]
Align Technology, Inc
US_20260069385_PA

Resumen de: US20260069385A1

Dental appliances and associated systems are provided. In some embodiments, a dental appliance includes a shell configured to receive a plurality of teeth, the shell having a sidewall and an interproximal engagement structure extending from the sidewall into a space of an interproximal region between a first tooth and a second tooth of the plurality of teeth. The interproximal engagement structure can be configured to contact the first tooth and the second tooth concurrently. The interproximal engagement structure can be larger than the space of the interproximal region, such that the contact causes deformation of one or more of the interproximal engagement structure or the sidewall.

MULTI-MODAL PATIENT-SPECIFIC SURGICAL GUIDES

NºPublicación:  US20260069290A1 12/03/2026
Solicitante: 
WRIGHT MEDICAL TECH INC [US]
WRIGHT MEDICAL TECHNOLOGY, INC
US_20260069290_PA

Resumen de: US20260069290A1

A surgical device includes a first body component including at least one insert embedded therein and a second body component including a patient-specific surface. The first body component includes a first material and the at least one insert includes a second material. The first body component defines at least one first hole and the second body component defines at least one second hole. The second body component is configured to be coupled to the first body component such that the at least one first hole and the at least one second hole are aligned when the first body component is coupled to the second body component to define at least one continuous fixation hole sized and configured to receive an elongate fixation device at a predetermined location.

MEDICAL DEVICES AND RELATED METHODS

NºPublicación:  US20260069260A1 12/03/2026
Solicitante: 
BOSTON SCIENT SCIMED INC [US]
Boston Scientific Scimed, Inc
US_20260069260_PA

Resumen de: US20260069260A1

A medical device includes an operating member, a hub, and an end effector. The operating member includes an actuation portion. The hub includes a channel receiving the actuation portion of the operating member. The actuation portion of the operating member moves within the channel. The end effector is movable between a closed configuration and an open configuration. Distal extension of the operating member transitions the end effector to the open configuration, and proximal retraction of the operating member transitions the end effector to the closed configuration. The medical device is formed through an additive manufacturing process.

AUGMENTED REALITY SCANNING INTERFACE FOR GENERATING PERSONALIZED 3D PRINTED CASTS

NºPublicación:  US20260069145A1 12/03/2026
Solicitante: 
GERO3D LTD [IL]
Gero3D Ltd
US_20260069145_PA

Resumen de: US20260069145A1

A method of generating a 3D model of a body part includes scanning the body part with a 3D scanner; during the scanning step, generating, with an augmented reality user interface, an augmented reality view of said body part, wherein the augmented reality view differentiates between portions of the body part that have already been scanned and portions that have not yet been scanned; with guidance from the augmented reality view, completing the scan; and generating the 3D model based on data received from the scan. The augmented reality view is displayed on a practitioner-facing screen incorporated into the scanning device. The method may further include imaging the body part with a thermal imager and overlaying thermal scanning data onto the 3D model to thereby generate a distribution map of thermal sensitivity on the 3D model. The design is then generated with holes situated to maximize thermal comfort.

3D Tooth movement system using 3d printers

NºPublicación:  KR102939008B1 12/03/2026
Solicitante: 
김은석

Resumen de: KR102939008B1

본 발명은 턱관절과 이갈이 환자의 치아이동을 위한 3D 프린팅 치아교정장치에 있어서, 특히 치아 교정기의 상부에 일정두께만큼 더 쌓도록하여 치아 교정기의 훼손을 방지함은 물론 일정두께로 윗치아와 아랫치아를 들어올림으로서 턱관절과 이갈이 환자의 치료에 도움을 줄 수 있도록 구성한 것을 특징으로 하는 턱관절과 이갈이 환자의 치아 이동을 위한 3D 프린팅 치아교정장치에 관한 것으로, 환자의 치아 교정이 필요한 스캔 데이터를 저장하며, 탑재한 3D 캐드 프로그램을 이용하여 상기 스캔 데이터에 대한 치아 모형을 3D로 모델링한 후 3D로 모델링된 치아 모형을 상기 3D 캐드 프로그램 하에서 교정 데이터가 반영되는 3D 치아 교정 데이터를 생성하여 저장하며, 상기 3D 치아 교정 데이터에 기초하는 환자의 치아 교정기설계를 완료하는 치아 교정기 설계 장치부(110); 및 상기 치아 교정기 설계 장치부(110)로부터 환자의 치아 교정기 설계 정보를 제공받고, 형상기억 폴리머(shape memory polymer: SMP) 또는 타이타늄 합금(Ti alloy)을 재료로 상기 치아 교정기 설계 정보에 맞춰 치아 교정기를 가공 처리하는 3D 프린터 장치부(120)를 포함하여 구성함이 특징이다.

MOLECULARLY CLEAVABLE BIOINK FORMULATION

NºPublicación:  US20260071187A1 12/03/2026
Solicitante: 
THE BRIGHAM AND WOMENS HOSPITAL INC [US]
THE BRIGHAM AND WOMEN'S HOSPITAL, INC
US_20260071187_PA

Resumen de: US20260071187A1

A bioink formulation for digital light processing bioprinting comprising a mixture of a biocompatible cleavable polymer precursor, a biocompatible non-cleavable polymer precursor, and a photoinitiator is described. Three-dimensional (3D) objects prepared using these bioink formulations are also described. In addition, a method of 3D bioprinting is described. The method includes providing a bioink formulation in a 3D bioprinter vat; repeatedly photoactivating the biocompatible photoactive polymer precursors in the 3D bioprinter vat on a build plate immersed in the vat to form a 3D bioprinted object comprising polymers having a series of predefined shapes across the vertical direction based on a set of sliced images; and treating the 3D bioprinted object with an agent that cleaves chemical bonds within the cleavable polymer.

ARTICLES INCLUDING A MICROSTRUCTURED CURVED SURFACE, TOOLING ARTICLES, AND METHODS

NºPublicación:  US20260070777A1 12/03/2026
Solicitante: 
SOLVENTUM INTELLECTUAL PROPERTIES COMPANY [US]
Solventum Intellectual Properties Company
US_20260070777_PA

Resumen de: US20260070777A1

The present disclosure provides a microstructured article including a thermoplastic polymer shaped to have a curve. At least a portion of the curve includes a microstructured surface of utilitarian discontinuities and the microstructured surface includes peak structures and adjacent valleys. The peak structures and the curve are formed of a single piece of the thermoplastic polymer. A method of making the microstructured articles is also provided including a) obtaining a tool shaped to include at least one of a protrusion or a concavity; b) disposing a microstructured film on at least a portion of the tool including the protrusion and/or the concavity; and c) thermoforming a single piece of thermoplastic polymer onto the tool to form a microstructured article shaped to include a curve. The curve is an inverse of the protrusion or the concavity of the tool.

PATIENT INTERFACE

NºPublicación:  AU2026201217A1 12/03/2026
Solicitante: 
RESMED PTY LTD
ResMed Pty Ltd
AU_2026201217_A1

Resumen de: AU2026201217A1

A patient interface comprises a support structure and a seal-forming structure. The support structure is arranged to support the sealing portion and is configured to connect to the frame. The sealing portion comprises textile and is attached to the support structure along an outer perimeter of the sealing portion such that in use the sealing portion may be in tension due to reactive stress of the support structure and/or a resilient stretch characteristic of the textile such that the sealing portion exerts a force against the patient’s face. eb e b

SYSTEMS AND METHODS FOR STITCHING FRAMES IN A VIDEO CAPTURED IN BIOPRINTING

NºPublicación:  WO2026053003A2 12/03/2026
Solicitante: 
ASPECT BIOSYSTEMS LTD [CA]
ASPECT BIOSYSTEMS LTD
WO_2026053003_A2

Resumen de: WO2026053003A2

In a bioprinting system and method, a bioprinter may include one or more reservoirs, a printhead, and a print surface on which the bioprinting is dispensed. An optical system may collect imaging data of a plurality of cells within a material flow while passing through and/or exiting from the bioprinting system, wherein the passage of the plurality of cells through the bioprinting system creates a printed fiberduring and/or after. A computing system may identify a first frame in the imaging data captured at time t-n and a second frame in the imaging data captured at time t, generating, via a machine learning algorithm executing on the imaging data, a plurality of segmented regions in the imaging data, wherein each segmented region in the plurality of segmented region defines a boundary around a different set of cell aggregates or cells in the plurality of cells, determining, for combining with the first frame and based on the plurality of segmented regions, a portion of the second frame that is substantially non-overlapping with the first frame, determining, based on the plurality of segmented regions, one or more cells or cell aggregates in the plurality of cells that are located along an edge of the first frame or an edge of the portion of the second frame, identifying a seam where the first frame and the portion of the second frame are to be combined based at least on locations of the one or more cells or cell aggregates, combining the first frame and the portion of the sec

SYSTEMS AND METHODS FOR CELL QUANTIFICATION IN BIOPRINTING

NºPublicación:  WO2026053002A2 12/03/2026
Solicitante: 
ASPECT BIOSYSTEMS LTD [CA]
ASPECT BIOSYSTEMS LTD
WO_2026053002_A2

Resumen de: WO2026053002A2

In a bioprinting system and method, a bioprinter may include one or more reservoirs, a printhead, and a print surface on which the bioprinting is dispensed. An optical system may collect imaging data of a plurality of cells within a cross-linkable material during and/or after passage of the plurality of cells through the bioprinting system. A computing system may generate, via a machine learning algorithm executing on the image data, a plurality of segmented regions in the image data, wherein each segmented region in the plurality of segmented region defines a boundary around a different set of cell aggregates in the plurality of cells, identify a first segmented region in the plurality of segmented regions that defines a boundary around at least a visible portion of a first cell aggregate, wherein the first cell aggregate includes an occluded portion, determine, based on an estimated shape of the first cell aggregate, an extrapolated boundary around at least some of the visible portion of the first cell aggregate and at least some of the occluded portion of the first cell aggregate, compute a quantity of cells within the first cell aggregate based on an area surrounded by the extrapolated boundary, and determine one or more parameters associated with the plurality of cells, the material flow, or the bioprinting system based on the quantity of cells.

ANATOMICAL BELOW-KNEE PROSTHETIC LEG THAT CAN BE FABRICATED WITH A 3D PRINTER

NºPublicación:  WO2026054745A1 12/03/2026
Solicitante: 
ISTANBUL OKAN UNIV [TR]
ISTANBUL OKAN UNIVERSITESI
WO_2026054745_A1

Resumen de: WO2026054745A1

The invention relates to an anatomical below-knee prosthetic leg that can be fabricated with a 3D printer, which has a complex geometry optimised according to stress regions by means of structural analyses considering engineering calculations and various loading conditions in daily life with a topology optimization method, for below-knee amputee patients.

Tibia-Implantat

NºPublicación:  DE102024126035A1 12/03/2026
Solicitante: 
AESCULAP AG [DE]
Aesculap AG

Resumen de: DE102024126035A1

Die Erfindung betrifft ein Tibia-Implantat (2) für Gelenkersatz, welches aus Metalllegierung in einem additiven Fertigungsverfahrenhergestellt ist, mit einem Plateauabschnitt (4) und mit einem auf der tibiazugewandten Seite (8) des Plateauabschnitts (4) vorspringenden und sich davon in einer axialen Richtung (10) wegerstreckenden zapfen- oder kielförmigen Ankerabschnitt (6),; erfindungsgemäß wird vorgeschlagen, dass der Plateauabschnitt (4) auf seiner tibiazugewandten und mit Tibiaknochengewebe in Kontakt gelangenden Seite (8) eine dreidimensional poröse offenporige Oberflächenstruktur (14) mit in der axialen Richtung (10) hintergreifbaren Brücken, Stegen oder Wandbereichen aufweist, wobei die offenporige Oberflächenstruktur (14) eine erste Rauigkeit aufweist, und dass der Ankerabschnitt (6) anschließend an den Plateauabschnitt (4) in einem ersten axialen Ankerbereich (20) umfangsseitig eine in einer radialen Richtung (12) hinterschnittfreie, das heißt von hintergreifbaren Brücken und brückenbildenden Stegen freie Oberflächenstruktur (28) mit einer zweiten Rauigkeit aufweist, die geringer ist als die erste Rauigkeit, und dass der Ankerabschnitt (6) in der axialen Richtung (10) anschließend an den ersten axialen Ankerbereich (20) einen zweiten axial frei endenden axialen Ankerbereich (22) mit einer glatten Oberfläche aufweist.

DESIGN METHOD OF TRANSPARENT ORTHODONTIC DEVICE AND ATTACHMENT FOR ORTHODONTICS

NºPublicación:  EP4706587A1 11/03/2026
Solicitante: 
ODS CO LTD [KR]
ODS Co. Ltd
EP_4706587_A1

Resumen de: EP4706587A1

The method for designing a transparent orthodontic appliance and attachment for tooth alignment according to the present invention has been devised to solve the above technical problems. It is a method for designing an orthodontic appliance using a computer, comprising: a step (S01) of designing the shape of an attachment to be affixed to the surface of a tooth model; a step (S02) of designing the inner surface shape of the transparent orthodontic appliance corresponding to the attachment designed in step S01; and a step (S03) of outputting the transparent orthodontic appliance by means of a 3D printer. The attachment comprises: two pressure surfaces (101) formed to face each other; two inclined surfaces (201) formed to be inclined toward each other while contacting the two pressure surfaces (101); a top surface (301) contacting the edges of the two pressure surfaces (101) and the two inclined surfaces (201); and an attachment surface (401) affixed to the surface of a tooth. This configuration serves as the technical means for solving the problem.

METHOD FOR MANUFACTURING ORTHODONTIC DEVICE BY USING INSERTION PATH

NºPublicación:  EP4706586A1 11/03/2026
Solicitante: 
ODS CO LTD [KR]
ODS Co. Ltd
EP_4706586_A1

Resumen de: EP4706586A1

The present invention relates to a program for designing an orthodontic appliance. The method comprises: displaying, on a screen, the insertion path for determining the insertion direction of the appliance (S01); designating a tooth targeted for the insertion path setting (S02); setting the insertion path for the designated tooth in an arbitrary direction (S03); displaying, on the screen, undercuts of each tooth caused by the set insertion path (S04); calculating and storing depth values of the undercuts for each tooth (S05); and calculating and storing the total sum of undercut volumes for each tooth according to the insertion path (S06).

分解性ポリ乳酸ポリマーブレンドを含む方法及び組成物

NºPublicación:  JP2026042777A 11/03/2026
Solicitante: 
ポリ-メッドインコーポレイテッド
JP_2026042777_PA

Resumen de: US2023139077A1

Disclosed herein polylactide polymer blend compositions, and methods of making and using such compositions.

RADICALLY POLYMERISABLE COMPOUND AND COMPOSITION

NºPublicación:  EP4705279A1 11/03/2026
Solicitante: 
MUEHLBAUER TECH GMBH [DE]
M\u00FChlbauer Technology GmbH
DE_102023111186_PA

Resumen de: WO2024227533A1

The invention relates to a radically polymerisable compound represented by a structure of formula 1: PG-Sp-PCA-Sp- OG (O) NH-K-NHC (O) O-Sp-PCA-Spn-PG (formula 1), wherein PG = in each case independently selected from a radically polymerisable group, R1 = selected from hydrogen, a C1-C8 alkyl group, an aryl group and an araliphatic group having C6-C8 carbon atoms, R2 = selected from hydrogen, a C1-C4 alkyl group; Sp = in each case independently of one another a spacer group selected from unbranched and branched alkylene with C1-C19 carbon atoms, which may additionally contain oxygen, sulfur and/or -OOC- in the carbon chain, or Sp is absent; PCA = in each case independently of one another a polycyclic group; K = an aliphatic acyclic, saturated or unsaturated unit having C1-C15 carbon atoms, an aliphatic cyclic, saturated or unsaturated unit having C3-C15 carbon atoms, or an aromatic or araliphatic unit having C6-C14 carbon atoms; n = 1 to 9. The invention also relates to a process for preparing such a compound, a radically polymerisable composition containing such a compound, the use thereof and a cured dental material.

SEMICRYSTALLINE SULFUR CONTAINING POLYMERS FOR ORTHODONTIC APPLICATIONS

NºPublicación:  EP4704757A1 11/03/2026
Solicitante: 
ALIGN TECHNOLOGY INC [US]
Align Technology, Inc
CN_121358431_PA

Resumen de: US2025009476A1

The present disclosure provides polymeric materials comprising semicrystalline sulfur-containing polymers, methods and curable compositions for making the same, and orthodontic appliances made from said polymeric materials.

Scanning and printing calibration tool

NºPublicación:  USD1117772S 10/03/2026
Solicitante: 
SHIM MI YOUNG [KR]
PARK JUNE BEOM [KR]
Shim Mi Young,
Park June Beom
US_D1117772_S

Resumen de: JP2024160362A

To provide a dentition phantom model capable of precisely evaluating scanning accuracy of a scanner.SOLUTION: A dentition phantom model 100 includes a base layer composed of a first base layer 110 and a second base layer 120, and a dentition layer 130 disposed on the base layer and including a tooth model, where the tooth model is configured so that a shape observed from one direction is different respectively from shapes observed from the remaining other directions.SELECTED DRAWING: Figure 1aa

一种用于组织工程半月板支架的生长因子可控释放载体及其制备方法

NºPublicación:  CN121622998A 10/03/2026
Solicitante: 
四川大学
CN_121622998_PA

Resumen de: CN121622998A

本发明属于半月板损伤修复材料技术领域,具体涉及一种用于组织工程半月板再生修复的生长因子可控释放载体及其制备方法。本发明公开了一种用于组织工程半月板再生修复的生长因子可控释放载体及其制备方法,提出壳‑芯结构同轴静电纺丝载体,具体为通过同轴静电纺丝在壳芯层负载不同的生长因子,并且通过壳芯层使用不同降解速率载体(芯层降解速率大于壳层)实现生长因子的时序性释放,随着时间推移实现空心纤维结构。将静电纺丝纤维打碎形成短棒状纤维与生物墨水结合,通过3D打印实现精确的异质性结构以及成分仿生。本申请通过微观尺度的降解速率调控与结构设计,突破时序释放与血管引导的技术瓶颈。

一种用于制作后巩膜加固术垫片材料的取材模板及其制作装置

NºPublicación:  CN223979895U 10/03/2026
Solicitante: 
郑州大学第一附属医院
CN_223979895_U

Resumen de: CN223979895U

本实用新型公开了一种用于制作后巩膜加固术垫片材料的取材模板及其制作装置,立体状态时,取材模板包括由中间的第一加固区和两侧的第一连接带构成的垫片立体模板,平面状态时,包括由所述垫片立体模板展开形成平板式结构的垫片平面模板,垫片平面模板包括中间的第二加固区和两侧的第二连接带,第二加固区上端轮廓为若干弧线光滑过渡连接并向上凸起的曲线,第二加固区下端轮廓为若干弧线光滑过渡连接组成并向上凸起曲线;第二连接带轮廓为若干曲线光滑过渡连接组成的长条形。本实用新型中3D打印系统根据不同患者的实际情况,准确制造出适合每一位患者的垫片模板,再根据该垫片模板制出垫片,提高了手术的效率,而且提高了垫片精度,保证手术质量。

一种3D打印颌骨生物支架

NºPublicación:  CN121622995A 10/03/2026
Solicitante: 
中南大学湘雅二医院
CN_121622995_PA

Resumen de: CN121622995A

本发明提供了一种3D打印颌骨生物支架,利用3D打印技术成功构建了负载颌骨BMSCs与牙髓dECM生物支架,同步满足颌骨缺损修复对机械支撑强度、生物活性微环境、成骨仿生诱导特性及免疫调控能力的核心需求。

心电图机及心电图机的打印控制方法

NºPublicación:  CN121622054A 10/03/2026
Solicitante: 
深圳迈瑞生物医疗电子股份有限公司
CN_121622054_PA

Resumen de: CN121622054A

本申请实施例提供了一种心电图机及心电图机的打印控制方法,包括:打印机构,包括包含第一加热点和第二加热点在内的多个加热点;驱动机构,用于驱动目标纸张和打印机构相对移动;控制器,用于:根据第一心电波形数据控制打印机构在第一目标纸张打印至少部分以第一预定布局排布的第一心电图报告,第一加热点用以生成其中的第一基线;根据第二心电波形数据控制打印机构在第二目标纸张打印至少部分以第二预定布局排布的第二心电图报告,第二加热点用于以生成其中的第二基线;第一心电波形和第二心电波形分别位于第一预定布局和第二预定布局二者布局相同的区域,以显著减少部分加热点的加热次数,进而提升心电图机中打印功能模块的使用寿命。

一种三维水凝胶支架及其制备方法和骨修复应用

NºPublicación:  CN121623010A 10/03/2026
Solicitante: 
深圳大学
CN_121623010_PA

Resumen de: CN121623010A

本发明涉及医用生物材料技术领域,尤其涉及一种三维水凝胶支架及其制备方法和骨修复应用。所述三维水凝胶支架为通过若干水凝胶管搭建的层叠的、三维有序结构,每层包括平行间隔排列的多根水凝胶管,相邻两层的水凝胶管之间呈夹角,所述三维水凝胶支架的组分包括海藻酸钠;在三维水凝胶支架中,每根水凝胶管之间具有大孔,每根水凝胶管内部具有全连通微通道,每根水凝胶管的外表面和内表面都具有表面取向性纳米纤维结构。本发明的三维水凝胶支架能很好的应用于骨修复方面,并且本发明利用3D打印、不均匀的交联和拉伸干燥联合技术成功构建了三维水凝胶支架,制备工艺简单准确,易于操作,有利于工业推广和应用。

一种医疗设备

NºPublicación:  CN121622053A 10/03/2026
Solicitante: 
深圳迈瑞生物医疗电子股份有限公司
CN_121622053_PA

Resumen de: CN121622053A

本发明提供了一种医疗设备,涉及具有纸张打印功能的医疗设备领域,包括主机和纸仓;纸仓包括纸仓壳体和纸辊,纸仓壳体上设有纸张放置空间,纸辊转动装配在纸仓壳体上;主机包括主机壳体、打印模块和限位部件;主机壳体上设有纸仓安装腔,在纸仓完全装入纸仓安装腔后,纸仓安装腔具有对应于顶部仓口的顶侧和与顶侧相对的底侧;打印模块具有打印部,限位部件设置在纸仓安装腔的顶侧,限位部件包括凸起部位,凸起部位朝向纸张放置空间凸出以限制打印纸的活动空间,在垂直于纸仓底面的方向上,凸起部位相对于打印部更靠近纸仓的底面。本发明能够降低医疗设备在打印过程中卡纸问题发生的概率。

一种防移位锁定加压接骨板及其制备方法

NºPublicación:  CN121622217A 10/03/2026
Solicitante: 
常州市武进人民医院(常州市第八人民医院)
CN_121622217_A

Resumen de: CN121622217A

本发明公开了一种防移位锁定加压接骨板及其制备方法,属于医疗器械技术领域。所述接骨板包括:具有解剖曲度的主体;设置在主体骨干对应区的梯度多孔结构区域,其孔隙率自中轴向两侧梯度降低,以优化力学匹配、促进骨长入;沿板体排列的多功能复合孔组,每组包含一个锁定孔和一个带倾斜加压滑道的动态加压孔;以及设于板体两端的T形定位槽与遍布骨接触面的微观防滑纹理构成的防移位锚定结构,确保术中瞬时定位与术后抗微动稳定。其制备方法基于患者医学影像进行参数化设计与有限元优化,并采用选区激光熔化技术一体成型。本发明有效解决了传统接骨板应力遮挡、术后移位与骨整合不足的临床问题,显著提升了固定效果与愈合质量。

一种具有结肠靶向功能的淀粉-鱼油复合3D打印凝胶糖果及其制备方法

NºPublicación:  CN121621425A 10/03/2026
Solicitante: 
浙江工业大学
CN_121621425_A

Resumen de: CN121621425A

本发明公开了一种具有结肠靶向功能的淀粉‑鱼油复合3D打印凝胶糖果及其制备方法。通过脉冲电场‑微波协同预处理技术优化淀粉分子结构,结合微射流纳米化与动态超高压均质实现鱼油在淀粉基质中的高效复合与稳态化包埋,再经喷雾冷冻‑真空冷冻干燥技术构建多孔微球载体。最后,将所得微球粉末与特定亲水胶体复配成打印墨水,通过超声多段式辅助3D打印技术精准成型。本发明所制备的凝胶糖果兼具优异的抗氧化性与抗消化特性其鱼油释放率与淀粉水解率低。该产品具有结肠靶向释放功能,在结肠中发挥良好的肠道菌群调节功能,体外发酵总短链脂肪酸含量高,并能显著提升双歧杆菌与乳酸杆菌的相对丰度。

一种基于丝素蛋白的生物3D智能响应支架及其制备方法和应用

NºPublicación:  CN121622997A 10/03/2026
Solicitante: 
广西璟炜生物技术有限公司
CN_121622997_A

Resumen de: CN121622997A

本发明涉及生物支架技术领域,具体涉及一种基于丝素蛋白的生物3D智能响应支架及其制备方法和应用,本发明的生物3D智能响应支架采用定向纤维膜、多孔海绵层和界面层三层仿生梯度结构,模拟天然组织,分别提供力学引导、细胞栖息与生物活性界面,协同促进血管、神经、皮肤的高质量再生。本发明具有pH/酶/温度三重响应单元,能感知病变微环境并触发靶向释放,可解决了传统物理载药突释率高的问题,实现按需精准给药。本发明采用SF/HPMC凝胶进行3D打印,打印精度高,使得本发明孔隙率差异<2%,产品性能稳定,孔隙结构可以根据不同组织(如血管、神经、皮肤)的再生需求进行精确设计和定制。

基于喷墨打印的柔性流体传感系统及其制备方法

NºPublicación:  CN121633193A 10/03/2026
Solicitante: 
季华实验室
CN_121633193_PA

Resumen de: CN121633193A

本申请涉及传感器技术领域,本申请提供一种基于喷墨打印的柔性流体传感系统及其制备方法,其传感系统包括柔性基板以及设置于所述柔性基板上的能量采集天线、能量管理单元、微流控传感器、微泵和信号调制单元,通过设置能量采集天线和能量管理单元,系统能够从环境中自主采集射频能量并转换为电能,为整个系统进行供电,并且能够将采集到的分散能量存储起来,并在需要时提供瞬时高功率输出,摆脱了对传统电池或外接电源的依赖。

一种牙科活动修复体及其制备方法、以及钴铬钼合金粉末

NºPublicación:  CN121624457A 10/03/2026
Solicitante: 
成都科宁达材料有限公司
CN_121624457_PA

Resumen de: CN121624457A

本申请涉及生物医疗材料领域,具体公开了一种牙科活动修复体及其制备方法、以及钴铬钼合金粉末。该牙科活动修复体是以钴铬钼合金为原料,由激光选区熔化技术成形;钴铬钼合金按重量百分比计由以下元素组成:Cr 26~30%,Mo 4~7%,Si 0.5~1.5%,B 0.01%~0.05%,余量为Co及不可避免的杂质;其中,所述钴铬钼合金中不包含W和Ta,且不可避免的杂质总量低于0.5%。其制备方法包括合金熔炼与雾化制粉、筛分干燥、激光选区熔化(SLM)成形及去应力退火。本发明的核心在于通过添加微量硼元素并优化合金组分,使3D打印成形的牙科活动修复体(如支架、卡环)在950~1000℃的常规去应力退火后,即可获得断后伸长率不低于20%、抗拉强度不低于1000 MPa的高塑性及高强度结合。

一种基于人工智能的人工关节假体制造系统

NºPublicación:  CN121638130A 10/03/2026
Solicitante: 
中国人民解放军总医院第四医学中心
CN_121638130_PA

Resumen de: CN121638130A

本发明涉及骨科植入医疗器械制造技术领域,公开了一种基于人工智能的人工关节假体制造系统,包括流体动力学逆向解析单元及拓扑结构逻辑生成单元,构建与多相流瞬态压力场映射的变刚度过滤晶格,在高压冲击核心区生成由截面惯性矩逆向配置的弹性微梁单元,并建立压强响应形变机制,最终输出一体化成型的增材制造指令,本发明利用金属弹性模量与微观拓扑的力学耦合,实现低压下微孔拦截微粒与高压下弹性扩孔瞬态泄压的自适应切换,提升静态植入物原位流体调节功能,避免植入过程中的脂肪栓塞风险。

一种可控光热-酶促降解多孔材料及其制备方法和应用

NºPublicación:  CN121628208A 10/03/2026
Solicitante: 
深圳南科新材科技有限公司
CN_121628208_PA

Resumen de: CN121628208A

本发明提供一种可控光热‑酶促降解多孔材料及其制备方法和应用,所述可控光热‑酶促降解多孔材料的制备原料包括油相混合物和水相混合物;所述油相混合物包括酶敏感聚合物基材、无规杂聚物(RHP)‑酶复合物、Janus光热纳米颗粒、内相分散剂和溶剂;所述水相混合物包括水、电解质和海藻酸盐。本发明提供的多孔材料,通过将Janus光热纳米颗粒与RHP‑酶复合物耦合,在近红外光下,会触发RHP构象变化释放BC脂肪酶,在37℃的温和条件下即可触发多孔材料的降解,48h降解率可达到98%。

一种用于多细胞互作和神经化骨再生的多级结构生物活性三维支架及其制备方法和应用

NºPublicación:  CN121622980A 10/03/2026
Solicitante: 
中国科学院上海硅酸盐研究所
CN_121622980_PA

Resumen de: CN121622980A

本发明涉及一种用于多细胞互作和神经化骨再生的多级结构生物活性三维支架及其制备方法和应用。所述多级结构生物活性三维支架包括:具有宏观通道结构的生物活性支架基体,以及填充在所述基体内部的微观定向拓扑结构;所述宏观通道结构具有三维可控的多样结构,所述微观定向拓扑结构为填充在内部的定向微米级通道;本发明提供的多级结构生物活性三维支架可作为协调多细胞时空相互作用的“空间桥梁”,对于多种细胞在三维空间上的相互迁移、能量代谢水平和特异性分化行为具有有益促进作用;本发明构建多级结构生物活性三维支架是一种兼具多级结构和生物活性的新型的骨修复生物材料,为大段骨修复及其他复杂组织重建提供了一种新策略。

基于锥体束CT预测与3D打印的PAOO术后唇挡和方法

NºPublicación:  CN121622300A 10/03/2026
Solicitante: 
北京大学口腔医学院
CN_121622300_PA

Resumen de: CN121622300A

基于锥体束CT预测与3D打印的PAOO术后唇挡和方法,聚焦于通过锥体束CT数据精准定制、数字化设计与制作的个性化PAOO术后唇挡,可实现对PAOO手术术区的高效防护,填补当前临床中术后手术区域个性化保护器具的技术空白,其特征在于,包括以下步骤:步骤1,锥体束CT扫描;步骤2,数据重建与植骨量计算;步骤3,唇档三维建模;步骤4,光敏树脂阴性模具打印;步骤5,PETG膜片热压成型(PETG,聚对苯二甲酸乙二醇酯‑1,4‑环己烷二甲醇酯);步骤6,后处理(打磨、清洗、非高温高压消毒(75%酒精浸泡))。

一种超弹低模量抗菌骨植入体的制备方法

NºPublicación:  CN121624446A 10/03/2026
Solicitante: 
昆明理工大学
CN_121624446_PA

Resumen de: CN121624446A

本发明涉及生物医用材料技术领域,具体涉及一种超弹低模量抗菌骨植入体的制备方法,首先基于三周期极小曲面(Gyroid)设计特定孔隙参数的多孔结构模型,然后将NiTi合金粉末与少量Ag粉末均匀混合,最后在保护气氛下采用优化的激光粉末床熔融工艺参数一体化成形。所制备的骨植入体具有1.5‑3.5GPa的低弹性模量,能与人体骨骼良好匹配,显著降低应力屏蔽效应;同时保留了NiTi合金的超弹性,并在4%应变下具有可恢复变形能力。此外,Ag元素的添加使植入体对金黄色葡萄球菌和大肠杆菌的抗菌率均超过90%,在不过度改变基体组织的前提下赋予了材料优异的抗菌性能,有效提升了植入体的临床安全性与服役可靠性。

载药血管支架及其制备方法

NºPublicación:  CN121623023A 10/03/2026
Solicitante: 
西安马克医疗科技有限公司
CN_121623023_A

Resumen de: CN121623023A

本申请提供了一种载药血管支架及其制备方法,其中,所述载药血管支架的制备方法,包括:制备载药微球;其中,所述载药微球包括负载消炎药物的壳聚糖纳米粒、包覆所述壳聚糖纳米粒的抗菌药物层,以及包覆所述抗菌药物层的PLGA壳层;将所述载药微球与PLGA微球混合制备为共混线材;根据数字模型将所述共混线材经3D打印成型为载药血管支架。

一种医用3D打印材料

NºPublicación:  CN121623007A 10/03/2026
Solicitante: 
北京清华长庚医院
CN_121623007_A

Resumen de: CN121623007A

本申请提供一种3D骨骼打印材料,包括具有生物活性的生物骨粉和骨水泥,其中生物骨粉由自体骨、异体骨或动物骨骼中的一种或几种制成,骨水泥包括粉剂和液剂,生物骨粉和骨水泥的质量比为1:1~1:12,骨水泥粉剂和骨水泥液剂的质量比为0.5:1~1.5:1。

颅骨修复体及其制备方法

NºPublicación:  CN121622322A 10/03/2026
Solicitante: 
上海浦卫生物科技有限公司
CN_121622322_PA

Resumen de: CN121622322A

一种颅骨修复体及其制备方法,所述颅骨修复体包括:由内侧至外侧依次设置的第一诱导层、第一支撑层、隔离层、第二支撑层以及第二诱导层;第一诱导层、第二诱导层均由至少包括矿化胶原的材料形成,第一、第二支撑层均由高分子材料以及纳米生物陶瓷颗粒复合形成,隔离层由可降解聚合物材料形成,适于在可降解聚合物材料降解前实现对于第一、第二支撑层之间的物理分隔,并在可降解聚合物材料完成降解后形成三维连通孔道;三维连通孔道的平均孔径小于第一诱导层、第一支撑层、第二支撑层以及第二诱导层的平均孔径。本发明技术方案兼顾支撑性能与促进骨组织再生功能,并且使两侧骨组织在中央区域形成有效融合以及避免在植入初期导致发生感染的风险。

一种丝素蛋白4D智能水凝胶生物支架及其制备方法

NºPublicación:  CN121622996A 10/03/2026
Solicitante: 
广西璟炜生物技术有限公司
CN_121622996_A

Resumen de: CN121622996A

本发明涉及生物支架技术领域,具体涉及一种丝素蛋白4D智能水凝胶生物支架及其制备方法,本发明以丝素蛋白为主要成分,结合京尼平作为交联剂,通过打印技术制备而成,京尼平与丝素蛋白形成温敏物理交联网络,使得本发明所制备的生物支架具有4D智能特性,在低温平台上被固化为一种临时形状,当植入体内(37℃)时,在体温的刺激下,水凝胶生物支架会自发地发生变化,以适应并紧密贴合特定的组织缺损部位,解决了传统静态支架与缺损部位匹配度不佳的技术难题,可为不同患者受损组织进行个性化定制,本发明具有良好的生物相容性、优异机械强度、生物可降解和智能响应特性,能够促进细胞粘附、增殖和组织再生,特别适用于软组织修复。

基于3D打印的股骨滑车成形方法

NºPublicación:  CN121622253A 10/03/2026
Solicitante: 
无锡市第九人民医院
CN_121622253_PA

Resumen de: CN121622253A

本发明公开了基于3D打印的股骨滑车成形方法,本发明涉及三维重建技术领域。包括步骤:数据采集、数据预处理、三维模型构建、参数测量、个体化重建、截骨导板设计、术中成形:通过螺旋CT数据采集、多步骤图像处理及三维建模,精准获取膝关节骨骼解剖细节,实现基于患者个体解剖的滑车沟个体化重建,使重建后的滑车沟在曲率半径、宽度、深度和关节面角度上与髌骨高度匹配,提升手术精准性,解决滑车沟发育不良引发的髌骨不稳定问题;截骨导板的设计实现虚拟截骨到实际手术的精准转化,其贴合面与股骨外表面紧密贴合,截骨通道与截骨工具精准匹配,缩短手术时间,固定孔设计确保导板稳定,降低截骨偏差风险,提升手术安全性。

一种医用高强度高抗菌性承重骨植入体的制备方法

NºPublicación:  CN121624447A 10/03/2026
Solicitante: 
昆明理工大学
CN_121624447_PA

Resumen de: CN121624447A

本发明涉及生物医用材料技术领域,具体涉及一种医用高强度高抗菌性承重骨植入体的制备方法,通过激光粉末床融合技术,将1‑5 wt.%的银粉与95‑99 wt.%的镍钛合金粉末混合,在低氧环境下进行3D打印成形。通过优化激光功率、扫描速度等关键工艺参数,实现了银元素的均匀分布和第二相的弥散强化,显著提升了材料的综合性能。所得植入体具有高致密度、高强度和高抗菌性,其抗压强度可达3400‑3800 MPa,弹性模量接近人骨,对金黄色葡萄球菌和大肠杆菌的抗菌率超过95%,同时保持了镍钛合金固有的超弹性和形状记忆效应,特别适用于椎间融合器、人工关节等高载荷部位的骨科植入。

PROCESS FOR THE PRODUCTION OF CERAMIC AND GLASS-CERAMIC DENTAL RESTORATIONS

NºPublicación:  KR20260032884A 10/03/2026
Solicitante: 
이보클라비바덴트아게
KR_20260032884_PA

Resumen de: US20260060781A1

Method for producing an all-ceramic dental restoration with a one-piece core and a shell structure, in which a digital construction model of the dental restoration is constructed, the CAD data set obtained is then divided into at least two separate CAD partial data sets. One partial data set defines the contour of the core structure and a second partial data set defines the contour of the shell structure. A green body of the core structure is produced by the first CAD partial data set and a green body of the shell structure of the restoration is produced by the second CAD partial data set. The core and shell structure are then joined together in the green state. The green body is then subjected to heat treatment to remove the binder and the component is then sintered to obtain the finished dental restoration.

光開始剤を有する歯科用の複合材料

NºPublicación:  JP2026507802A 06/03/2026
Solicitante: 
クルツァーゲゼルシャフトミットベシュレンクテルハフツング
JP_2026507802_A

Resumen de: WO2024170529A1

The invention relates to a polymerizable, light-radiation curable dental composite material comprising (i) 30 to 90 wt.% of at least one inorganic filler component comprising at least one dental glass and optionally at least one amorphous metal oxide, (ii) 5 to 60 wt.% of at least one urethane acrylate, urethanemethacrylate or mixtures thereof, (iii) 0.01 to 30 wt.% of at least one di-, tri-, tetra- or multifunctional monomer which is not urethane acrylate and/or urethane alkylacrylate, and (iv) 0.01 to 10 wt.% comprising hexaarylbisimidazol (HABI) and/or substituted hexaarylbisimidazol and comprising at least one mercaptotetrazol as the initiator system, and optionally at least one pigment, wherein the total composition of the composite material is 100 wt.%. The invention also relates to a polymerized composite material for producing direct dentures or indirect dentures.

METHOD FOR PRODUCING A JAW MODEL INTENDED FOR MOUNTING IN AN ARTICULATOR

NºPublicación:  ES3058110T3 06/03/2026
Solicitante: 
SHERA WERKSTOFF TECH GMBH
SHERA Werkstoff-Technologie GmbH
DE_102021100797_PA

Resumen de: WO2022049078A1

The present invention relates to a method for producing a jaw model of a patient intended for mounting in an articulator (10), said method comprising the production of at least one jaw model (11, 12), at least one model plate (17) assigned to this jaw model and at least one articulation plate (19), which is detachably connectable to the model plate, is to be arranged approximately parallel to the model plate (17), can be inserted into an articulator (10) and is connectable to the latter, the model plate (17) and articulation plate (19) being fixable with respect to one another by an interlocking connection, and, according to the invention, the data for the jaw model being obtained digitally and the jaw model (11, 12) then being produced by means of 3D printing on the basis of these digital data. The jaw model (11, 12) is preferably produced from plastic in one piece together with the model plate (17) by means of 3D printing. The method according to the invention is simple, reliable and accurate and, as necessary, also allows for easier removal of individual tooth stumps (27, 28) from the model.

一种具有镁含量和模量双梯度的骨组织工程支架及其制备方法与应用

NºPublicación:  CN121606737A 06/03/2026
Solicitante: 
北京化工大学
CN_121606737_PA

Resumen de: CN121606737A

本发明提供一种具有镁含量和模量双梯度的骨组织工程支架及其制备方法与应用。该支架由磷酸三钙/白磷钙石(TCP/WH)构成的3D打印无机支架与活性纤维增强基质金属蛋白酶(MMP)响应水凝胶复合而成,将水凝胶灌注到无机支架中可形成具有镁含量和刚度双梯度。该复合支架特别适用于通过软骨内成骨机制的骨再生修复,细胞可在镁离子浓度和基质刚度的牵引下,逐步由水凝胶迁移到活性纤维,再迁移到无机支架,从而促进细胞的增殖、成软骨分化、成血管和新骨形成。本发明的制备方法包括无机支架的3D打印、活性纤维增强MMP响应水凝胶的制备及其灌注复合等步骤,该复合支架材料体系在骨再生修复领域具有潜在的应用价值。

一种生物降解的3D打印骨修复材料及其制备方法

NºPublicación:  CN121606739A 06/03/2026
Solicitante: 
点铂医疗科技(常州)有限公司
CN_121606739_A

Resumen de: CN121606739A

本发明属于生物医用工程材料领域,旨在提供一种可3D打印的生物降解骨修复材料及制备方法。生物3D打印是增材制造和生物医学交叉融合的新兴学科,通过生物3D打印得到的组织工程支架具有良好的生物相容性和优秀的生物活性。本发明将可降解骨修复材料和3D打印结合。本发明将可降解的聚乳酸和无机生物材料相融合,将聚己内酯‑ZnO静电纺丝增强材料的支撑强度,同时添加骨组织生长需要的羟基磷灰石和微量金属元素。在临床应用时,骨修复材料在细胞分裂,新组织生成期间起到支撑作用。在临床应用时,骨修复材料在细胞分裂,新组织生成期间起到支撑作用。随着修复材料在生物体内逐渐降解,其降解产物对生物体不会产生宿主反应,同时降低了患者在骨修复后需要进行二次手术取出植入材料的再次创伤和医疗费用。

一种可控降解镁合金骨支架的制备方法

NºPublicación:  CN121606736A 06/03/2026
Solicitante: 
南昌大学
CN_121606736_PA

Resumen de: CN121606736A

一种可控降解镁合金骨支架及其制备方法,属于生物材料领域。该方法包括:通过激光选区熔融3D打印技术制备WE43镁合金支架,并进行电解抛光;随后采用原子层沉积工艺在支架表面构建多级TiN/TiO₂纳米复合防护膜,通过控制膜级数调控降解速率。本发明制得的支架具有与人体皮质骨相匹配的压缩强度(≥130 MPa),降解均匀可控,当膜层数N≥2时,其平均降解速率≤0.5 mm/year,满足骨愈合期内力学支撑要求。该支架生物相容性良好,能促进骨整合,且无需二次手术取出,适用于各类骨缺损修复。

面向偏头痛的耳模3D打印与电刺激一体化治疗系统

NºPublicación:  CN121606824A 06/03/2026
Solicitante: 
首都医科大学附属北京中医医院
CN_121606824_PA

Resumen de: CN121606824A

本发明涉及医疗设备技术领域,具体为面向偏头痛的耳模3D打印与电刺激一体化治疗系统,包括:耳廓数据采集模块采集患者耳廓的三维几何数据、耳穴定位数据及皮肤阻抗分布数据;个性化耳模生成模块通过自适应分层3D打印算法构建内置仿生弧度电极通道的个性化耳模,进行电极通道与目标耳穴的对位;智能电刺激调控模块结合改进的靶向Attention‑LSTM模型,动态调整电刺激频率、脉冲宽度及刺激强度,生成个性化电刺激方案;执行与安全监控模块将个性化电刺激方案转化为靶向电刺激物理治疗过程,并在治疗全程实施动态监控与自适应调整。由此,解决现有技术中耳廓数据采集维度单一、个性化耳模打印与适配性缺陷明显等问题。

SYSTEMS AND METHODS FOR ORTHODONTIC BRACKET DESIGN

NºPublicación:  US20260060783A1 05/03/2026
Solicitante: 
LIGHTFORCE ORTHODONTICS INC [US]
LightForce Orthodontics, Inc
US_20260060783_PA

Resumen de: US20260060783A1

In an embodiment, a method of manufacturing customized ceramic labial/lingual orthodontic brackets by additive manufacturing may comprise measuring dentition data of a profile of teeth of a patient, based on the dentition data, creating a three dimensional computer-assisted design (3D CAD) model of the patient's teeth, and saving the 3D CAD model, designing a virtual 3D CAD bracket structure model for a single labial or lingual bracket structure based upon said 3D CAD model, importing data related to the 3D CAD bracket structure model into an additive manufacturing machine, and directly producing the bracket with the additive manufacturing machine by layer manufacturing from an inorganic material including at least one of a ceramic, a polymer-derived ceramic, and a polymer-derived metal.

System and Method for Planning and Simulating a Surgical Operation to Create a Patient-Specific Spinal Implant

NºPublicación:  US20260060750A1 05/03/2026
Solicitante: 
HODRINSKY TODD W [US]
JANSE MARCEL [US]
Hodrinsky Todd W,
Janse Marcel
US_20260060750_PA

Resumen de: US20260060750A1

A system and method for planning and simulating a surgical operation to create a patient-specific spinal implant are disclosed. The system comprises a remote server configured to receive patient-specific medical image data and generate a 3D mesh model of the patient's spine using algorithms that separate vertebral bodies, remove artifacts, and smooth surfaces. A doctor's computer receives the 3D mesh model and allows real-time manipulation of intervertebral spaces to achieve a desired spinal curvature. The server generates a spinal implant design with surface-mapped endplates matching the patient's vertebral anatomy, which is transmitted to a 3D printer for manufacturing. The method includes steps of receiving image data, generating and updating the 3D mesh model based on doctor input, generating the final implant design, and transmitting it for production. The invention enables the creation of patient-specific spinal implants with improved conformity and surgical outcomes.

NON-BRAIDED BIODEGRABLE FLOW DIVERTING DEVICE FOR ENDOVASCULAR TREATMENT OF ANEURYSM AND ASSOCIATED FABRICATION METHOD

NºPublicación:  US20260060688A1 05/03/2026
Solicitante: 
UNIV OF CENTRAL OKLAHOMA [US]
University of Central Oklahoma
US_20260060688_PA

Resumen de: US20260060688A1

A biodegradable flow diverting device (BFDD) that will regulate blood flow into an aneurysmal sac, act as a scaffold for endothelization at the neck of an aneurysm, and degrade after successful dissolution of aneurysm and remodeling of blood vessel. This BFDD and associated fabrication method have the following features: (1) This is a non-braided FDD. The pore shapes, sizes, architectures (especially at the inlet and outlet of the pores), pore densities and porosities can be controlled for the optimum performance depending on the blood vessel and aneurysmal morphologies from patient MRI images, (2) BFDD is developed on a rotary arm with programmable variable speed and diameter in conjunction with a micromotion stage (3) Fabrication system can take any material including blended/composite biomaterials by adjusting temperature of the electro-melt extruder/needle and (4) Fabrication system is compatible with CAM (computer aided manufacturing) software and able to operate based on the adapted G-code.

PROCESS FOR THE MANUFACTURING OF MICROSCALE HOLLOW METAL BODIES

NºPublicación:  US20260060925A1 05/03/2026
Solicitante: 
MAX PLANCK INSTITUT FUER NACHHALTIGE MAT GESELLSCHAFT MIT BESCHRAENKTER HAFTUNG [DE]
Max-Planck-Institut f\u00FCr Nachhaltige Materialien Gesellschaft mit beschr\u00E4nkter Haftung
US_20260060925_PA

Resumen de: US20260060925A1

A hollow body has a bottom, an upper end wall, and side walls extending between the bottom and the upper end wall. The upper end wall and side walls are made of metal. The cavity within the hollow body has a volume in the range between 1 picoliter to 1,000 picoliter. The upper end wall comprises at least one opening. The hollow body is suitable for encapsulating small amounts of liquid, or a small micro-electromechanical system, and may be used for the controlled release of pharmaceutical components.

METHOD FOR OBTAINING A POROUS INJECTABLE SCAFFOLD BASED ON SIMILAR BIOPOLYMERS, BUT WITH DIFFERENT MELTING TEMPERATURES

NºPublicación:  US20260061094A1 05/03/2026
Solicitante: 
CELLS FOR CELLS S A [CL]
CELLS FOR CELLS S.A
US_20260061094_PA

Resumen de: US20260061094A1

Method for generating a porous injectable scaffold that includes providing a liquid composition of 2 phases at a temperature below 25° C., of Newtonian behavior, where the composition comprises: a liquid dispersant phase at room temperature formed by a gelatin with a low melting point, less than 15° C., functionalized with methacryloyl or methacrylamide groups; and a photoinitiator;and a dispersed phase, of microdroplets or beads in solid state, of a gelatin solution with a melting point greater than 25° C.; initiating the polymerization of the dispersing phase by light radiation; raising the temperature to 35-40° C. and allowing melting of the dispersed phase; and obtaining a porous scaffold. The formed porous scaffold and its use as a biological support for tissue regeneration/generation; as a biological matrix as a support for cells, for cell invasion; as an acellular biological matrix, a biological matrix as a mechanical support and/or a biological matrix for active components.

WIRELESS MICROFLUIDIC SMART BANDAGE FOR EFFICIENT WOUND EXUDATE MANAGEMENT AND ANALYSIS IN HUMAN SUBJECTS

NºPublicación:  US20260060845A1 05/03/2026
Solicitante: 
CALIFORNIA INSTITUTE OF TECH [US]
CALIFORNIA INSTITUTE OF TECHNOLOGY
US_20260060845_PA

Resumen de: US20260060845A1

A wearable wound management system integrating a flexible microfluidic assembly and real-time electrochemical sensing to autonomously sample, transport, and analyze wound exudate. A Janus membrane, formed by selective deposition of perfluoroalkyl-functionalized silica nanoparticles and O2 plasma etching on a PET film, may collect fluid via its superhydrophobic wound-facing side and deliver it to a curved, wedge-shaped microfluidic channel that enhances capillary flow. Downstream, a graded PDMS micropillar array refreshes a sensing region by unidirectional fluid movement. A drop-on-demand inkjet-printed, CO2 laser-patterned flexible sensor patch may measure nitric oxide, oxygen, hydrogen peroxide, pH, temperature, and other relevant metrics. An encapsulated wireless electronic module may transmit health data for wireless monitoring. This system, combined with machine-learning analytics, may enable continuous, in situ monitoring and predictive wound classification, supporting proactive and personalized chronic wound care.

Resektionsschablone und Verfahren zum Rekonstruieren einer knöchernen Anatomie mit einer solchen Resektionsschablone

NºPublicación:  DE102024125227A1 05/03/2026
Solicitante: 
KARL LEIBINGER ASSET MAN GMBH & CO KG [DE]
Karl Leibinger Asset Management GmbH & Co. KG

Resumen de: DE102024125227A1

Resektionsschablone (1) zum Rekonstruieren einer knöchernen Anatomie aus einem Transplantat (2), mit zumindest einem Segment (10), und mit zumindest einem Einsatz (12), welcher jeweils mindestens eine Bohrhülse (13) zum Vorgeben einer Position einer Bohrung im Transplantat (2) aufweisen; das zumindest eine Segment (10) einen Hauptkörper (HK), mindestens zwei im Hauptkörper (HK) angeordnete Löcher (14), und im Hauptkörper (HK) ausgebildete erste und zweite Aussparungen (15) aufweist, wobei die Aussparungen (15) zum Einsetzen von dem zumindest einem Einsatz (12) an einer vorgegebenen Position im Segment (10) vorgesehen sind, sowie Verfahren zum Rekonstruieren einer knöchernen Anatomiemit einer solchen Resektionsschablone (1).

SYSTEMS AND METHODS FOR FABRICATING HYDROGELS WITH INTRINSIC VASCULAR CHANNELS FOR LIVER TISSUE ENGINEERING

NºPublicación:  WO2026050767A2 05/03/2026
Solicitante: 
3D BIOLABS LLC [US]
3D BIOLABS, LLC
WO_2026050767_A2

Resumen de: WO2026050767A2

Disclosed are implantable devices, systems, and methods of fabricating, testing, optimizing, and/or implanting such devices. An implantable device includes a body, a first intrinsic channel network formed in the body and configured to receive cells, and a second intrinsic channel network formed in the body and configured to allow for active flow of a fluid to support viability and/or function of the cells in the first intrinsic channel network. The first intrinsic channel network comprises a first channel and the second intrinsic channel network comprises a second channel, with at least segments of the first and second channels parallel to and spaced apart from each other. Cells may be suspended in a collagen matrix and introduced to the first intrinsic channel network.

METHOD FOR PRODUCING A DENTAL ARCH MODEL, DENTAL ARCH MODEL, AND ARRANGEMENT

NºPublicación:  WO2026046865A1 05/03/2026
Solicitante: 
MUEHLBAUER TECH GMBH [DE]
M\u00DCHLBAUER TECHNOLOGY GMBH
WO_2026046865_PA

Resumen de: WO2026046865A1

The invention relates to a method for producing a dental arch model (100) intended to be detachably arranged on an articulator plate (300) of an articulator (1), and to a corresponding dental arch model (100) and to an arrangement comprising such a dental arch model (100). The dental arch model (100) is manufactured by 3D printing and comprises a model base plate (200) formed in one piece therewith, wherein the model base plate (200) has a number of recesses (220) which each have a bearing surface (225) in the form of a concave spherical-segment surface and which correspond to a number of projections (320) that are provided on the upper side of the articulator plate (300) and each have a bearing surface (325) in the form of a convex spherical-segment surface, and the recesses (220) on the model base plate (200) are designed such that the produced dental arch model (100), when arranged on the articulator plate (300), rests exclusively with the bearing surfaces (225) in the form of a concave spherical segment surface on the bearing surfaces (325) in the form of a convex spherical segment surface at the articulator plate (300), and the model base plate (200) and the articulator plate (300) are otherwise spaced apart from one another.

3D MANUFACTURING METHOD OF DENTURE AND DENTURE BASE INCLUDING THE SAME

NºPublicación:  KR102934175B1 05/03/2026
Solicitante: 
주식회사디맥스

Resumen de: KR102934175B1

본 발명은 광학계 3D 프린터를 활용하여 보다 신속하고 정밀하게 크라운을 제조하고, 특히 단일 색상의 제품으로 출력할 수밖에 없는 광학계 3D 프린터의 기술적 제약에서 벗어나, 레진액의 공급방식을 적극 개선함으로써 자연치의 그라데이션 색상과 일치하는 다양한 색상의 레이어 층을 형성시킬 수 있는 등 기존과 차별화된 구조로부터 비롯되는 취급과 사용, 유지 및 관리 보수의 용이함 등으로 인해 사용의 편의성 내지 효율성이 극대화 유도되는 광학계 3D 프린터의 레진액 용기 교체를 활용한 멀티레이어 크라운의 제조방법 및 이에 의해 제조된 멀티레이어 크라운에 관한 것으로, 광학계 3D 프린터를 이용하여 크라운을 경화시키는 과정에서 자연치의 그라데이션 색상에 대응하여 레진액이 수용된 용기를 다른 색상의 레진액이 수용된 용기로 순차 교체함에 따라 멀티레이어가 형성된 크라운이 생성되는 것이 특징이다.

PATIENT-SPECIFIC NEURAL IMPLANTS ENGINEERED VIA 3D PRINTING TECHNOLOGY

NºPublicación:  WO2026049910A1 05/03/2026
Solicitante: 
THE PENN STATE RES FOUNDATION [US]
THE PENN STATE RESEARCH FOUNDATION
WO_2026049910_PA

Resumen de: WO2026049910A1

Embodiments relate to bioelectrodes designed to accommodate patient specific gyral patterns, and to methods of making and using thereof. A bioelectrode may be manufactured by obtaining a three-dimensional scan of at least a portion of a brain; identifying a target region of the brain; designing a bioelectrode model configured to fit the target region; and printing the bioelectrode based on the bioelectrode model. The bioelectrode is printed to include a top layer, a bottom layer, and an electrode layer positioned between the top layer and the bottom layer such that the top layer and bottom layer encapsulate the electrode layer. The bioelectrode may have a Young's modulus between 0.1 and 10 kPa to better mechanically match brain tissue.

Membran und Membrankontaktor

NºPublicación:  DE102024125325A1 05/03/2026
Solicitante: 
RHEINISCH WESTFAELISCHE TECHNISCHE HOCHSCHULE AACHEN ABGEKUERZT RWTH AACHEN KOERPERSCHAFT DES OEFFEN [DE]
Rheinisch-Westf\u00E4lische Technische Hochschule Aachen, abgek\u00FCrzt RWTH Aachen, K\u00F6rperschaft des \u00F6ffentlichen Rechts

Resumen de: DE102024125325A1

1. Die Erfindung betrifft eine Membran (1) für einen Membrankontaktor (2), die als eine zu einer Mittelebene (ME) spiegelsymmetrische hohle Röhrenstruktur aus verzweigten Röhren (3, 3', 3", 3''', 3'''') mit beidseits der Mittelebene (ME) mehreren zur Mittelebene (ME) parallelen Verzweigungsebenen (VE) ausgebildet ist, wobei die Wandungen der Röhrenstruktur stoffpermeabel und/oder energiepermeabel sind und wobei im Bereich (B) jeder Verzweigungsebene (VE) jede in Richtung zur Mittelebene (ME) erstreckte Röhre (3, 3', 3'', 3''') in mehrere zur Mittelebene (ME) erstreckte Röhren (3', 3'', 3''', 3'''') verzweigt und die von beiden Seite der Mittelebene (ME) von der jeweils letzten Verzweigungsebene (VE) zur Mittelebene (ME) erstreckten Röhren (3'''') im Bereich (ÜB) der Mittelebene (ME) ineinander übergehen. Die Erfindung betrifft weiterhin einen Membrankontaktor (2) mit einer solchen Membran und ein Verfahren zur Herstellung einer hohlen Membran (1).

A predictable and precise laminate manufacturing method through synthetic resin laminate productio

NºPublicación:  KR20260029152A 04/03/2026
Solicitante: 
이현정

Resumen de: KR20260029152A

본 발명 합성수지 라미네이트 제조를 통한 예측가능하고 정확한 라미네이트 기공물 제조방법은 치아 일부를 삭제한 후 세라믹 소재의 기공물을 삭제된 치아에 부착하는 방식으로 이루어지는 치과시술 시에 피시술자의 만족도를 향상시키고 빠르고 정확하게 라미네이트 치과시술을 실시할 수 있는 라미네이트 기공물 제작 방법에 관한 것으로, 피시술자의 삭제된 치아를 포함하는 구강 내의 3D 스캔 정보를 취득하는 구강 3D 스캔 데이터 획득 단계와, 치과용 3D 디자인 프로그램을 통하여 다수의 기공물을 디자인하여 다수의 기공물 출력데이터를 생성하는 다수의 기공물 출력데이터 생성 단계와, 합성수지 소재 출력 치과용 3D 프린터를 이용하여 다수의 합성수지 기공물을 출력하는 단계와, 합성수지 기공물 핏팅 과정을 통해 선택된 어느 하나의 합성수지 기공물의 기공물 출력데이터를 세라믹 기공물 출력데이터로 결정하는 세라믹 기공물 출력데이터 결정 단계와, 세라믹 소재 출력 치과용 3D 프린터를 이용하여 세라믹 소재의 기공물을 제작하는 세라믹 기공물 제작 단계를 포함하는 것을 특징으로 하여, 다수의 기공물 핏팅 과정을 통해 선택된 디자인의 세라믹 소재의 기공물을 제작함에 따라 피시술자의 불만족에 따른 디�

3D 3D Printing Temporary Crown Resin and Temporary Crown Manufactured Using the Resin

NºPublicación:  KR20260029070A 04/03/2026
Solicitante: 
주덴바이오

Resumen de: KR20260029070A

본 발명은 3D 프린팅용 임시치관 레진에 관한 것으로서, 보다 구체적으로는 환자의 치아 색상과 같이 자연스러운 색상을 가지며 내구성이 우수한 임시치관을 정밀하고 빠르게 제작할 수 있는 3D 프린팅용 임시치관 레진 및 그 임시치관 레진으로 제조한 임시치관의 제조방법에 관한 것이다.

METHOD OF DESIGNING AND MANUFACTURING A CUSTOMIZED HAND PROSTHESIS

NºPublicación:  EP4701583A1 04/03/2026
Solicitante: 
UNIV CAMPUS BIO MEDICO DI ROMA [IT]
INAIL CENTRO PROTESI [IT]
Universit\u00E0 Campus Bio-Medico di Roma,
Inail - Centro Protesi
WO_2024224174_PA

Resumen de: WO2024224174A1

A method for designing a functional prosthesis of customized hand, for patients amputated at trans-radial level, implemented with additive manufacturing technology. The method flow for designing and developing the devices consists of the following steps: i) kinematic analysis and 3D scan of the limb contralateral to the amputated one; ii) kinematic synthesis of the planar mechanism at one active degree of freedom (GdL), modular for each finger, and optimization of the same through a global performance index (GPI); iii) prototyping of the assembly of five fingers.

METHOD FOR PRODUCING A COLLAGEN AND SILK POLYPEPTIDE COMPOSITE STRUCTURE

NºPublicación:  EP4701675A1 04/03/2026
Solicitante: 
AMSILK GMBH [DE]
AMSilk GmbH
WO_2024223794_A1

Resumen de: WO2024223794A1

The present invention relates to a method for producing a collagen and silk polypeptide composite structure. In addition, the present invention relates to a collagen and silk polypeptide composite structure and uses thereof.

BAND WRAPPING DEVICE

Nº publicación: EP4701861A1 04/03/2026

Solicitante:

BRADY WORLDWIDE INC [US]
Brady Worldwide, Inc

WO_2024226028_PA

Resumen de: WO2024226028A1

A band wrapping device forms a length of band material into a loop for automatically applying the band to a limb (e.g., wrist) of a user. The band wrapping device may receive the length of band material from a cassette receivable in the band wrapping device and can include a band transport mechanism for transporting the band material, a sealer module for sealing the band material to itself and cutting the band material to a length, and/or a ring module for reception of the limb of the user for band application. The device and its constituent components can help reduce the contact between the individual requiring a band and those applying the band, can help reduce waste by using a more precise amount of band material sized to the limb, and can help reduce the staffing requirements in areas in which the bands are to be applied.

traducir