Ministerio de Industria, Turismo y Comercio LogoMinisterior
 

Alerta

Resultados 355 resultados
LastUpdate Última actualización 01/05/2026 [08:11:00]
pdfxls
Solicitudes publicadas en los últimos 30 días / Applications published in the last 30 days
previousPage Resultados 125 a 150 de 355 nextPage  

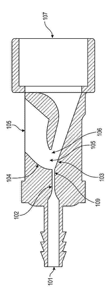
METHOD FOR CALIBRATING AND VERIFYING IMPLANTABLE DETECTING DEVICE, IMPLANTABLE DETECTING DEVICE, APPARATUS, AND ELECTRONIC DEVICE

NºPublicación:  US20260102090A1 16/04/2026
Solicitante: 
SHENZHEN GOOOIX TECH CO LTD [CN]
SHENZHEN GOODIX TECH CO LTD [CN]
CN_119073976_PA

Resumen de: US20260102090A1

0000 A method for calibrating and/or verifying an implantable detecting device, an implantable detecting device, an apparatus, and an electronic device are provided. The method includes: outputting a square wave signal to an implantable detecting device that has been implanted into a subject, where the implantable detecting device is configured to detect a concentration of an analyte in the subject, and a potential of the square wave signal increases incrementally over time; receiving a first current signal produced by the implantable detecting device in response to the square wave signal; generating a calibration curve based on a correspondence between the first current signal and the square wave signal; and performing calibration and/or functional verification on the implantable detecting device based on the calibration curve.

TWO-WAY COMMUNICATION IN A MEDICAL DEVICE

NºPublicación:  US20260102576A1 16/04/2026
Solicitante: 
RESMED PTY LTD [AU]
US_20260102576_A1

Resumen de: US20260102576A1

A respiratory therapy system for providing continuous positive air pressure (CPAP) to a patient may include a flow generator for generating a supply of breathable gas, a sensor to measure a physical quantity while the breathable gas is supplied, and a computing device. The computing device may be configured to: receive sensor data that is based on measured physical property of the supply of breathable gas; control the flow generator to adjust a property of the supply of breathable gas; display a question and a plurality of selectable responses; receive a first input selecting one of the selectable responses; and display a coaching response corresponding to the selected response.

VOICE CONTROL IN A HEALTHCARE FACILITY

NºPublicación:  US20260105916A1 16/04/2026
Solicitante: 
HILL ROM SERVICES INC [US]
US_20260105916_A1

Resumen de: US20260105916A1

0000 ice control of medical devices in a healthcare facility are disclosed herein. The systems employ continuous speech processing software, voice recognition software, natural language processing software, and other software to permit voice control of the medical devices. Systems are also provided for distinguishing which medical device from among multiple medical devices in a patient room is the particular medical device to be controlled by voice input from a caregiver or a patient.

MOBILE DEFIBRILLATOR

NºPublicación:  US20260102624A1 16/04/2026
Solicitante: 
DEFIBRIO AS [NO]
US_20260102624_A1

Resumen de: US20260102624A1

0000 Systems and methods for controlling a mobile defibrillator (AED) unit are provided.

眼科用レンズ及び型内変性によるそれらの製造

NºPublicación:  JP2026512375A 16/04/2026
Solicitante: 
ジョンソン・アンド・ジョンソン・ビジョン・ケア・インコーポレイテッド
JP_2026512375_A

Resumen de: WO2024194792A1

A method for forming an ophthalmic lens including providing a mold assembly including base and front curve molds each having a surface profile and defining and enclosing a cavity therebetween having a reactive monomer mixture for making the lens and a first polymerization initiator that is activated at a first wavelength. A light transmissive one of the molds is exposed to a source of substantially uniform actinic radiation at the first wavelength according to a predetermined exposure pattern including at least one exposure portion and at least one non- exposure portion to initiate polymerization of the reactive monomer mixture within the mold at said at least one exposure portion. The lens is fully cured at the exposure portions and unreacted or non-gelled portions remain within the lens adjacent to the front and base mold halves, which are extracted following removal from the mold assembly, leaving one or more predetermined geometric indentations in the front and back surfaces of the lens such that the surface profile of the lens deviates from the surface profile of the respective front and back mold halves at the locations of the geometric indentations.

EXAMINING VISIBLE SKIN CONDITIONS

NºPublicación:  AU2025234210A1 16/04/2026
Solicitante: 
SCANSENSOR LTD
AU_2025234210_A1

Resumen de: AU2025234210A1

A method for examining visible skin conditions is shown. A housing (101) is located at a region of a visible skin condition and image data of the skin over this region is captured. Electric fields (2001, 2002) are generated that penetrate the skin over the region, such that an application of the apparatus produces both image-related signals and electric field related signals for the same skin condition. Depth of skin penetration of the visible skin condition may be assessed by calculating the surface area of the visible skin condition from the image data and determining the volume of the visible skin condition from the electric field related signals and processing the calculated surface area in combination with the determined indication of volume to assess the depth of skin penetration. The electric field generating device may comprise a first dielectric substrate (301) having a hole (302) and the capturing step may be performed by a camera (501) viewing the visible skin condition through this hole. A method for examining visible skin conditions is shown. A housing (101) is located at a region of a visible skin condition and image data of the skin over this region is captured. Electric fields (2001, 2002) are generated that penetrate the skin over the region, such that an application of the apparatus produces both image-related signals and electric field related signals for the same skin condition. Depth of skin penetration of the visible skin condition may be assessed by cal

COATING FOR METAL ALLOY

NºPublicación:  US20260103781A1 16/04/2026
Solicitante: 
MIRUS LLC [US]
US_20260103781_A1

Resumen de: US20260103781A1

0000 A metal alloy that includes an enhancement coating material. The metal alloy includes rhenium and one or more additives. The enhancement coating is at least partially applied to the metal alloy by a physical vapor deposition (PVD) process, a chemical vapor deposition (CVD) process, an atomic layer deposition (ALD) process, a plasma-enhanced chemical vapor deposition (PE-CVD) process, ion implantation, direct energy deposition (DED), and/or thermal spray techniques like plasma arc spraying, flame spraying, high velocity oxy fuel spraying (HVOF). The enhancement coating is formed of a) 35-95 wt. % zirconium and wherein said enhancement coating includes ZrN, ZrNC, ZrOC or a combination of ZrN and ZrO2, b) 20-85 wt. % titanium and one or more of carbon, nitrogen, oxygen, rhenium, and silicon, c) 40-85 wt. % chromium and one or more of carbon, nitrogen, oxygen, rhenium, and silicon, or d) at least 60 wt. % carbon.

HEART RHYTHM DETERMINATION USING MACHINE LEARNING

NºPublicación:  US20260102139A1 16/04/2026
Solicitante: 
CAPTION HEALTH INC [US]
US_20260102139_A1

Resumen de: US20260102139A1

0000 Circuitless heart rhythm determination can include capturing a video clip of one or more image frames of a target organ through an ultrasound imaging device and submitting the frames to a classifier that has been trained with an annotated set of images, each of a corresponding heart muscle captured at a specified phase of a heart rhythm with a ground truth indication of the specified phase of the heart rhythm drawn from a separately recorded cycle graph of an electrical signal measured over time for the corresponding heart muscle. In response to the submission, a classification can be received of different portions of the submitted frames according to corresponding phases of the heart rhythm. Finally, a contemporaneous phase of the heart rhythm can be determined in the device without sensing electrical signals by way of a closed-loop sensor circuit affixed proximately to the target heart muscle.

SLIDING ELEMENT, METHOD FOR PRODUCING THE SLIDING ELEMENT AND USE OF THE SLIDING ELEMENT

NºPublicación:  WO2026076477A1 16/04/2026
Solicitante: 
AC2T RES GMBH [AT]
WO_2026076477_A1

Resumen de: WO2026076477A1

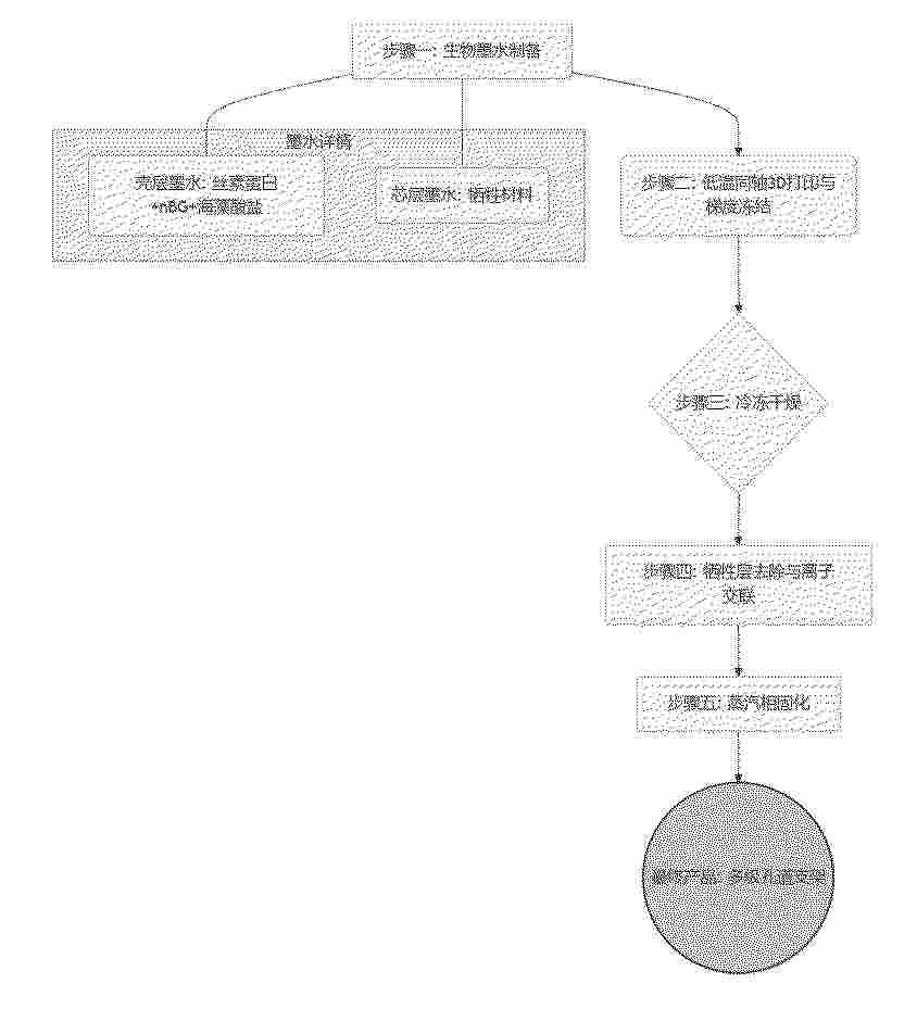
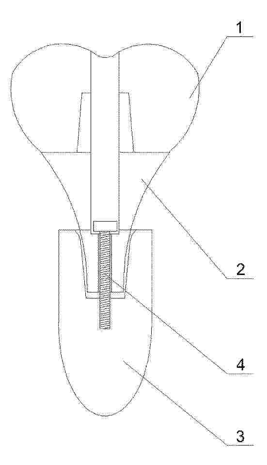
The invention relates to a sliding element (1), in particular for medical components for use in implantology, comprising a substrate (3) and a biomaterial (2) applied to the substrate (3), which biomaterial provides a sliding layer (1a) on its side facing away from the substrate (3), wherein the substrate (3) has multiple cavities (7) on a connection surface (4) facing the biomaterial (2), wherein the cavities (7) are open in the direction of the sliding layer (1a) and at least 50% of the cavities (7) have an undercut (7a) in the direction of the interior of the substrate (3), wherein the substrate (3), in a first profile depth (a) of at least 0.6 μm, has a round-ridged roughness profile with an areal roughness characteristic Sa of less than 0.05 μm, wherein the substrate (3) has the multiple cavities (7) between the first profile depth (a) and a second profile depth (b), and wherein the second profile depth (b) measures at least 200 μm, preferably at least 350 μm.

METHOD FOR PROVIDING USER INTERFACE FOR MANUFACTURING PROSTHESIS, AND COMPUTER-READABLE RECORDING MEDIUM IN WHICH PROGRAM FOR EXECUTING SAME METHOD ON COMPUTER IS RECORDED

NºPublicación:  WO2026079533A1 16/04/2026
Solicitante: 
IMAGOWORKS INC [KR]
\uC774\uB9C8\uACE0\uC6CD\uC2A4 \uC8FC\uC2DD\uD68C\uC0AC
WO_2026079533_A1

Resumen de: WO2026079533A1

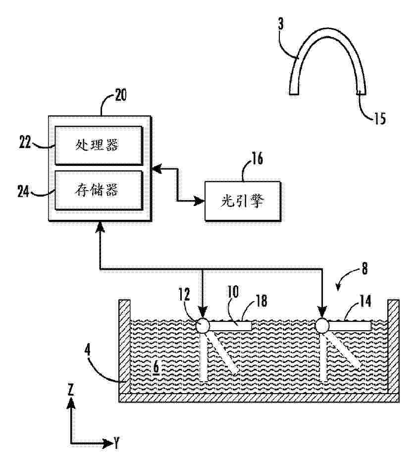
This method for providing a user interface for manufacturing a prosthesis comprises: providing a guide image visualizing the inner surface of a prosthesis to be put on a prepared tooth; providing a parameter adjusting unit for adjusting a plurality of parameters for generating the prosthesis; displaying, on the guide image, a selected parameter image for explaining a parameter selected by a user from among the plurality of parameters; and generating a 3-dimensional image of the prosthesis on the basis of data set by the parameter adjusting unit.

MINIMALLY INVASIVE AND ENDOSCOPIC IN-VIVO BIOPRINTING SYSTEMS AND METHODS

NºPublicación:  AU2025215643A1 16/04/2026
Solicitante: 
PHOSPRINT P C
AU_2025215643_PA

Resumen de: AU2025215643A1

A system (100) may include a donor supply sub-system (110) configured to supply donor material (102) to a donor substrate (104). The system may include a material transfer sub-system (108) comprising a laser (200) configured to illuminate the donor substrate via a transfer beam (202). The system may include an instrument head (302) of a medical instrument (300) configured to house the donor substrate, wherein upon an illumination of the donor substrate, the donor material is transferred to receiver material in vivo.

DENTAL APPLIANCE, SYSTEM, AND METHOD

NºPublicación:  US20260102223A1 16/04/2026
Solicitante: 
SOLVENTUM INTELLECTUAL PROPERTIES COMPANY [US]
US_20260102223_A1

Resumen de: US20260102223A1

A dental appliance for a patient includes a body including a first surface and a second surface opposite to the first surface. The second surface defines a channel for receiving a plurality of teeth of the patient. The dental appliance further includes an arrangement of a plurality of features disposed on the first surface of the body. Each of the plurality of features includes a protrusion extending from the first surface opposite to the second surface; a depression extending partially from the first surface wards the second surface; or a through-hole extending from the first surface to the second surface. The arrangement of the plurality of features encodes a feature data representative of a dental appliance information of the dental appliance or a patient information of the patient.

METHOD AND APPARATUS FOR NON-INVASIVELY MESAURING BLOOD CIRCULATORY HEMOGLOBIN

NºPublicación:  US20260102066A1 16/04/2026
Solicitante: 
BECTON DICKINSON CO [US]
US_20260102066_A1

Resumen de: US20260102066A1

A method and system for non-invasively determining continuous total hemoglobin data is provided. The method includes a) using a near infra-red spectrophotometric (NIRS) sensing device on a continuous basis to sense a subject's tissue, the sensing producing NIRS signals; and b) determining continuous total hemoglobin (THb) using the produced NIRS signals.

APPARATUS AND METHOD FOR 24-HOUR AMBULATORY BLOOD PRESSURE MONITORING WITH COMPENSATION BASED ON POSTURE AND/OR ACTIVITY DETECTION

NºPublicación:  US20260102067A1 16/04/2026
Solicitante: 
CARDIAI TECH LTD [CA]
US_20260102067_A1

Resumen de: US20260102067A1

0000 An apparatus for monitoring a person's health conditions. The apparatus has one or more biometric sensors for periodically measuring the person's biometric data, one or more activity sensors for periodically measuring the person's activities, and a circuit functionally coupled to the one or more biometric sensors and the one or more activity sensors, the circuit having an artificial intelligence (AI) engine configured for using a trained AI model for analyzing the person's health condition based on the measurement data collected from the one or more biometric sensors and the one or more activity sensors.

SYSTEMS, APPARATUSES, AND METHODS FOR CREATING TISSUE INTERFACES

NºPublicación:  US20260102288A1 16/04/2026
Solicitante: 
SOLVENTUM INTELLECTUAL PROPERTIES COMPANY [US]
US_20260102288_A1

Resumen de: US20260102288A1

A system for creating a tissue interface. The system includes a scanner, at least one processor, and a memory. The scanner is configured to scan a tissue site and generate a signal corresponding to a topography of the tissue site. The at least one processor is configured to receive the signal corresponding to the topography of the tissue site and to receive user input at a user interface identifying a therapy to be applied at the tissue site. The memory is coupled to the at least one processor and is configured to store instructions that when executed by the at least one processor in response to receiving the signal corresponding to the topography of the tissue site cause the system to transform the signal corresponding to the topography of the tissue site into a model site surface and generate a model tissue interface.

OCULAR PHOTO-BIO-STIMULATION OPTICS

NºPublicación:  AU2024337161A1 16/04/2026
Solicitante: 
NEURORAYS LLC
AU_2024337161_PA

Resumen de: AU2024337161A1

A device providing ocular photo-bio-stimulation therapy, a biological technique to control or influence the activity of neurons or other cell types in, on or about the eye with light. As used herein ocular photo-bio-stimulation is an umbrella category of which photobiomodulation, optogenetics and phototherapy are forms thereof. The current invention relates, in part, to photobiomodulation therapy, which includes the utilization of nonionizing electromagnetic energy to trigger photochemical changes within cellular structures. The current invention relates, in part, to optogenetics. Optogenetics is a biological technique to control the activity of neurons or other cell types with light. The current invention relates, in part, to phototherapy, also known as light therapy or bright light therapy, which is a treatment that uses controlled exposure to artificial or natural light to treat medical conditions.

APPARATUS FOR MONITORING, REGULATING, OR CONTROLLING FLUID FLOW

NºPublicación:  US20260102555A1 16/04/2026
Solicitante: 
DEKA PRODUCTS LP [US]
US_20260102555_A1

Resumen de: US20260102555A1

An apparatus, system and method for regulating fluid flow are disclosed. An apparatus for infusing fluid into a patient includes a housing, a tube-contact member, a rotating arm, and a tube-retention cover. The housing has an opening on a front side of the housing. The opening is sized to receive a drip chamber having an inlet tube and an outlet tube. The tube-contact member contacts one of the inlet tube and the output tube of the drip chamber when inserted into the opening. The rotating arm is coupled to the tube-contact member and is configured to rotate along an axis. The tube-retention cover is configured to close when the drip chamber is initially loaded into the opening.

CONTINUOUS GLUCOSE MONITOR COMMUNICATION WITH MULTIPLE DISPLAY DEVICES

NºPublicación:  US20260104835A1 16/04/2026
Solicitante: 
DEXCOM INC [US]
US_20260104835_A1

Resumen de: US20260104835A1

0000 A continuous glucose monitor for wirelessly transmitting data relating to glucose value to a plurality of displays is disclosed, as well as systems and methods for limiting the number of display devices that can connect to a continuous glucose transmitter. In addition, security, including hashing techniques and a changing application key, can be used to provide secure communications between the continuous glucose transmitter and the displays. Also provided is a continuous glucose monitor and techniques for authenticating multiple displays, providing secure data transmissions to multiple displays, and coordinating the interaction of commands and data updates between multiple displays.

ARTIFICIAL-INTELLIGENCE TECHNIQUES FOR NEUROTOXICITY DETECTION

NºPublicación:  US20260106042A1 16/04/2026
Solicitante: 
NEUROVIGIL INC [US]
US_20260106042_A1

Resumen de: US20260106042A1

Detecting neurotoxicity associated abnormalities due to certain medication therapies can be significant for identifying various neurological disorders. The present disclosure relates to detection of neurotoxicity related disorders by leveraging an interface including one or more sets of queries and a set of components to receive a set of responses corresponding to the sets of queries. The techniques, as disclosed herein, may use one or more attributes of the set of responses including consistency, complexity, grammar and spelling correctness, and time taken during the responses. The disclosed technique may preprocess the responses, extract features and generate one or more metrics corresponding to the one or more attributes of the one or more responses provided by the subject during a session with the interface. The generated metrics over a baseline session and subsequent sessions may be used to determine trends in the metrics which may be used to estimate the extent of neurotoxicity developed by a subject and may trigger an alert about a potential neurotoxicity or a preventative measure to reduce a likelihood of further neurotoxicity.

TREATMENT PLANNING FOR TUMOR TREATING FIELDS

NºPublicación:  US20260102612A1 16/04/2026
Solicitante: 
NOVOCURE GMBH [CH]
US_20260102612_A1

Resumen de: US20260102612A1

A method for generating a transducer layout for delivering tumor treating fields includes storing medical images of a subject, identifying one of the medical images as an anchor medical image, and registering computed tomography medical images with magnetic resonance imaging medical images. The method further includes segmenting abnormal tissue in the medical images from other tissue types and defining a region of interest (ROI) in the medical images. The method further includes creating a 3D model of the subject. The method further includes generating a plurality of transducer layouts for application of tumor treating fields to the subject, selecting at least two of the transducer layouts as recommended transducer layouts, presenting the recommended transducer layouts, receiving a user selection of at least one recommended transducer layout, and providing a report for the selected recommended transducer layout(s).

PREDICTION FUNNEL FOR GENERATION OF HYPO- AND HYPER-GLYCEMIC ALERTS BASED ON CONTINUOUS GLUCOSE MONITORING DATA

NºPublicación:  US20260102124A1 16/04/2026
Solicitante: 
DEXCOM INC [US]
US_20260102124_A1

Resumen de: US20260102124A1

0000 Certain aspects of the present disclosure relate to methods and systems for providing decision support around glucose management for patients with diabetes. Time-varying inputs including blood glucose, meal intake information, and amount of infused insulin are processed using a machine learning model to obtain predicted glucose levels for a plurality of prediction horizons and uncertainties for the predictions. A confidence interval is generated for each prediction and the confidence intervals are compared to hypo- and hyperglycemic thresholds. If a confidence interval is entirely below or entirely above the hypo- and hyperglycemic thresholds, respectively, then a decision support output is provided.

3D METHOD DEVICE SYSTEM AND COMPUTER PROGRAM FOR MANUFACTURING THROUGH 3D MODELING OF CUSTOMIZED ORAL DEVICE FOR SLEEP DISORDER IMPROVEMENT

NºPublicación:  KR20260050994A 15/04/2026
Solicitante: 
주식회사더슬립팩토리
KR_20260050994_PA

Resumen de: KR20260050994A

0001a 본 발명의 다양한 실시예에 따른 수면 장애 개선을 위한 맞춤형 구강 장치의 3D 모델링 방법이 개시된다. 상기 방법은, 상악 모델 및 하악 모델을 포함하는 치아 모델을 생성하는 단계, 상기 치아 모델에 기초하여 윤곽 정보를 생성하는 단계, 상기 윤곽 정보에 기초하여 복수 개의 파츠 모델을 생성하는 단계 및 상기 복수 개의 파츠 모델을 통합하여 구강 장치 모델을 생성하는 단계를 포함할 수 있다.

原発性骨腫瘍の診断支援システム、診断支援方法及び診断支援プログラム

NºPublicación:  JP2026065297A 15/04/2026
Solicitante: 
国立大学法人岡山大学
JP_2026065297_A

Resumen de: JP2026065297A

0001 【課題】より精度の高い原発性骨腫瘍の診断支援の実現を提供する。 【解決手段】X線画像による原発性骨腫瘍の診断支援システムであって、前記X線画像を入力した際に畳み込みニューラルネットワークによって骨腫瘍であるかの判定結果を出力する処理手段を備え、前記畳み込みニューラルネットワークが、骨外腫瘍、骨皮質部及び骨内腫瘍の3クラスとして腫瘍存在範囲をアノテーションされた確定診断X線画像を教師データとして学習処理されたものであることを特徴とする、原発性骨腫瘍の診断支援システム。 【選択図】図1

COMPUTER IMPLEMENTED METHODS AND SYSTEMS FOR GENERATING MODELS OF BONES, AND FOR ADDITIVE MANUFACTURING OF BONES

NºPublicación:  EP4725455A1 15/04/2026
Solicitante: 
FUNDACIO PRIVADA ELISAVA ESCOLA UNIV [ES]
UNIV AUT\u00D2NOMA DE BARCELONA [ES]
FUNDACIO UNIV BALMES UNIV DE VIC UNIV CENTRAL DE CATALUNYA [ES]
FUNDACIO INST DE RECERCA I INNOVACIO EN CIENCIES DE LA VIDA I LA SALUT A LA CATALUNYA CENTRAL [ES]
EP_4725455_A1

Resumen de: EP4725455A1

The present disclosure relates to computer-implemented methods (100) for generating a virtual model of a first section of bone tissue including cortical bone tissue. The method comprises (104) obtaining microstructural cortical parameters including an indication of a number of osteons (210) and of a cross-sectional area of the osteons, a number of lamellae (212) forming the osteons, an indication of locations of osteons in the section of bone tissue and of dominance of the osteons. The method further comprises generating a virtual model using a generative design algorithm comprising (1061) defining a geometric space, (1062) generating a cortical cloud of points, (1064) segmenting the geometric space into substantially circular regions, defining an outer surface of the osteons. The method further comprises (1065) forming consecutive substantially concentric surfaces corresponding to the lamellae until the obtained virtual model satisfies boundary conditions formed by the microstructural cortical parameters.

METHOD FOR PRODUCING A REMOVABLE DENTAL PROSTHESIS, AND REMOVABLE DENTAL PROSTHESIS PRODUCED ACCORDING TO THE METHOD

Nº publicación: EP4724007A1 15/04/2026

Solicitante:

FIDENTIS GMBH [DE]

WO_2024251724_PA

Resumen de: WO2024251724A1

The invention relates to a method for producing a first connection element of a removable dental prosthesis, said connection element being suitable for a sliding connection between a first fit surface of the first connection element and a second fit surface of a second connection element of the removable dental prosthesis. The invention is characterized in that the first connection element is produced by connecting a stability-granting material and a ductile material which forms the first fit surface in an additive multi-material manufacturing method.

traducir