Ministerio de Industria, Turismo y Comercio LogoMinisterior
 

Alerta

Resultados 355 resultados
LastUpdate Última actualización 01/05/2026 [08:11:00]
pdfxls
Solicitudes publicadas en los últimos 30 días / Applications published in the last 30 days
previousPage Resultados 50 a 75 de 355 nextPage  

INFUSION VOLUME DETECTION SYSTEM AND METHOD

NºPublicación:  US20260108673A1 23/04/2026
Solicitante: 
CAREFUSION 303 INC [US]
US_20260108673_A1

Resumen de: US20260108673A1

A vision-enabled fluid flow rate detection system is disclosed. The system includes an image sensing device that images an infusion container supplying a fluid to an infusion pump and a pattern of markings associated with a surface of the container, and identifies a visual difference in the pattern from a default state of the pattern to determine a volume of fluid infused from the infusion container, and used to calculate a volume of fluid in the container and a flow rate of the fluid. When the amount of fluid, as determined by the vision system, differs from the amount reported by the pump, the pump's motor may be adjusted to correct the expected volume or flow rate, as needed. When a severe infusion inaccuracy is detected, an alarm or other indication may be provided, or the infusion terminated.

System for creating a composite map

NºPublicación:  AU2026202533A1 23/04/2026
Solicitante: 
ENCHANNEL MEDICAL LTD
AU_2026202533_A1

Resumen de: AU2026202533A1

22549546_1 (GHMatters) P117197.AU.1 Provided herein are systems for modeling a patient’s cardiac electrical activity data, including at least one diagnostic catheter for insertion into the heart of the patient and a processing unit. The at least one diagnostic catheter includes at least one recording element to record patient data over multiple cardiac cycles. The patient data includes biopotential data and localization data of the at least one recording element. The processing unit includes a clustering routine that: receives the recorded patient data; segments the recorded patient data by cardiac cycle to produce segmented patient data; groups the segments based on one or more characteristics of the segments to produce segmented data groups; and combines the segmented patient data within each segmented data group to produce one or more composite recordings. The systems create one or more models of cardiac electrical activity of the patient based on the one or more composite recordings. pr p r

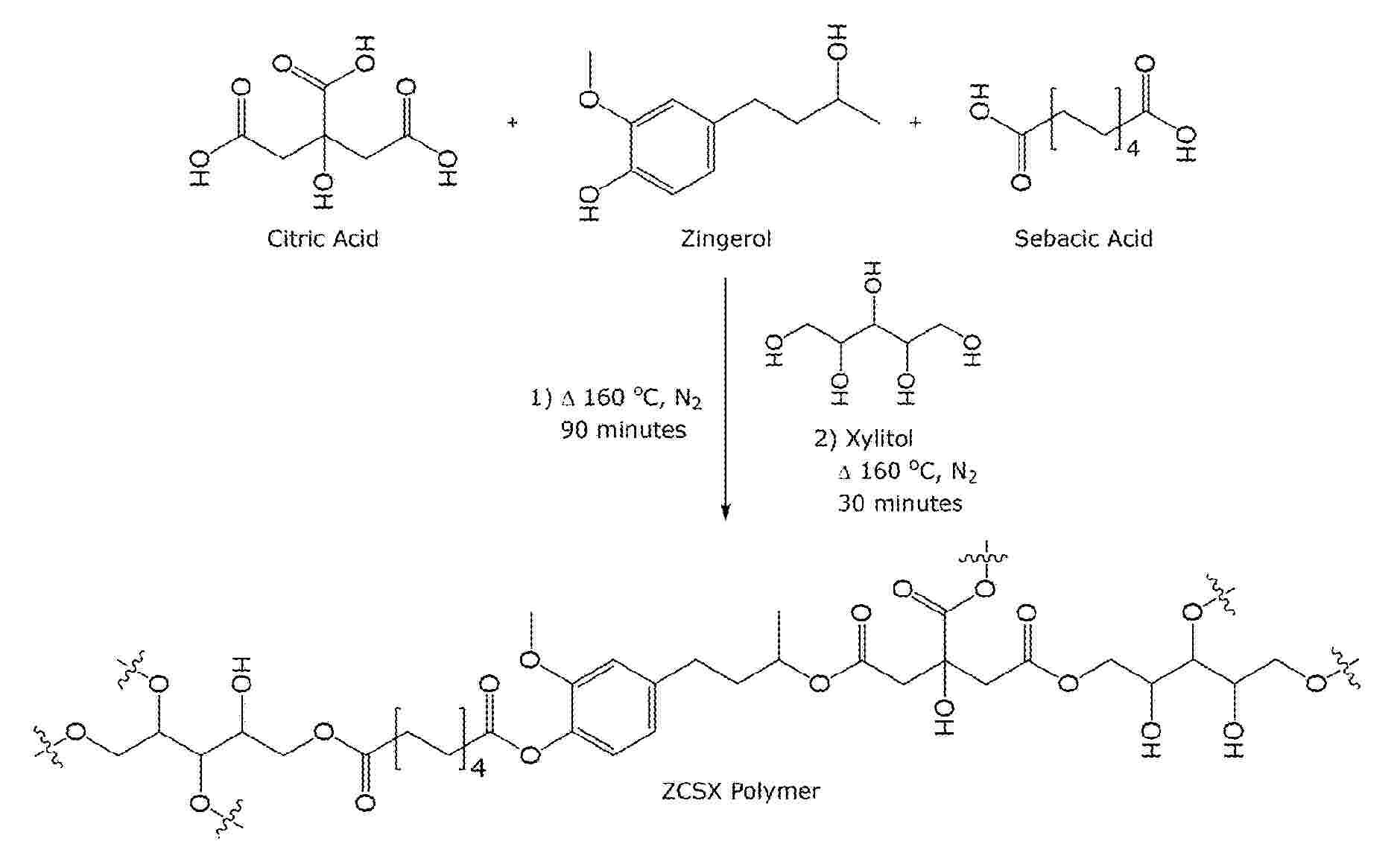
THREE-DIMENSIONAL PRINTED STRUCTURAL SILOXANES HAVING CONTROLLED DRUG RELEASE

NºPublicación:  US20260108468A1 23/04/2026
Solicitante: 
LAWRENCE LIVERMORE NAT SECURITY LLC [US]
US_20260108468_A1

Resumen de: US20260108468A1

0000 A product of additive manufacturing with a silicone-based ink having core-shell microspheres, where the product has a plurality of continuous filaments. The product includes a plurality of core-shell microspheres. Each core-shell microsphere includes a polyorganosiloxane shell and one or more cores inside the shell, at least one of the cores having a carrier and at least one component configured to be released post processing. An average diameter of the cores of the plurality of core-shell microspheres is in a range of greater than 2 μm to less than about 100 μm.

MICROCURRENT-STIMULATION-THERAPY APPARATUS AND METHOD

NºPublicación:  US20260108739A1 23/04/2026
Solicitante: 
I LUMEN SCIENT INC [US]
US_20260108739_A1

Resumen de: US20260108739A1

0000 A system and method for applying stimulation therapy to a patient, the system including a first stimulation strip that includes a first elongated portion configured to be placed on the upper eyelid of the first eye of the patient and a second elongated portion configured to be placed on the lower eyelid of the first eye of the patient, wherein the first stimulation strip includes: a first plurality of individually controlled electrodes configured to deliver a microcurrent stimulation therapy to the patient, a first plurality of individually controlled light emitters configured to deliver light stimulation therapy to the patient, and a first plurality of individually controlled heat sources configured to deliver heat therapy to the patient; and a controller operatively coupled to the first stimulation strip and configured to control delivery of the microcurrent stimulation therapy, the light stimulation therapy, and the heat therapy.

MATERIAL AND METHOD FOR PRODUCING CELL RECEIVING SCAFFOLD

NºPublicación:  US20260109952A1 23/04/2026
Solicitante: 
LUNG BIOTECHNOLOGY PBC [US]
US_20260109952_A1

Resumen de: US20260109952A1

A printable composition for the manufacture of cell-receiving scaffolds comprising about 0.3 wt % to about 3.0 wt % of one or more collagens; about 5.0 wt % to about 40.0 wt % of one or more monomers; about 0.5 wt % to about 2.0 wt % of a photo initiator; and 0 wt % to about 75 wt % of a vehicle comprising a protic solvent, by weight of the printable composition; wherein the printable composition has a resolution of about 100 microns or less when printed, a photo speed (Dp/Ec) of about 0.1-5 mm (Dp) and about 10-100 mJ/cm2 (Ec) when printed, and a green strength of at least about 5 kPa after drying. The present technology further includes methods of manufacturing a three-dimensional cell-receiving scaffold using the printable composition.

COLLAGEN DROPLET-BASED 3D CELL SPHEROIDS AS 3D PRINTABLE BIO-INK

NºPublicación:  US20260108889A1 23/04/2026
Solicitante: 
UNIV OF FLORIDA RESEARCH FOUNDATION INCORPORATED [US]
US_20260108889_A1

Resumen de: US20260108889A1

Described herein is microfluidic droplet generation device for producing multicellular collagen encapsulated spheroids. The multicellular collagen encapsulated spheroids can be used as bio-ink comprising multicellular collagen encapsulated spheroids and a scaffold which can be used to 3D bio-print in vivo-like 3D tumor models. When combined together the 3D multicellular collagen encapsulated spheroid generation platform is adjustable, can be used for high-throughput generation of 3D multicellular collagen encapsulated spheroids and 3D tumor models, and can be used to produce 3D multicellular collagen encapsulated spheroids and 3D tumor models at large scale.

NERVE CONDUIT

NºPublicación:  US20260108247A1 23/04/2026
Solicitante: 
TISSIUM S A [FR]
US_20260108247_A1

Resumen de: US20260108247A1

0000 A nerve conduit for supporting repair of a nerve lesion and motor control and/or reducing risk of the development of a neuroma at the lesioned nerve end. The nerve conduit includes an elongate body formed by a wall and including a central portion defining an inner cavity and end portions defining a respective opening to the inner cavity and arranged adjacent to the central portion and at longitudinally opposing ends of the elongate body. One end portion is configured as an insertion portion configured for inserting a respective nerve end. The other end portion is configured as a nerve end outlet portion, an outer diameter of the wall defining the outlet portion is larger than an outer diameter of the wall defining the central portion.

Spinal Implants With Custom Density And 3-D Printing Of Spinal Implants

NºPublicación:  US20260108359A1 23/04/2026
Solicitante: 
K2M INC [US]
US_20260108359_A1

Resumen de: US20260108359A1

In some embodiments, a spinal implant (10, 110, 210, 310, 400) is provided and includes a body portion defining a longitudinal axis. The body portion includes a distal end portion, a proximal end portion, opposed side surfaces that extend between the distal and proximal end portions, and top and bottom surfaces configured and adapted to engage vertebral bodies. The top and bottom surfaces have a surface roughness between 3-4 μm. A cavity extends through the top and bottom surfaces defining a surface area that is at least 25% of a surface area of the top surface or the bottom surface. First orifices (24, 124, 224, 324, 426a) are defined through the top surface and second orifices (34, 134, 234, 334, 426b) are defined through the bottom surface. The second orifices are connected to the first orifices by a plurality of channels.

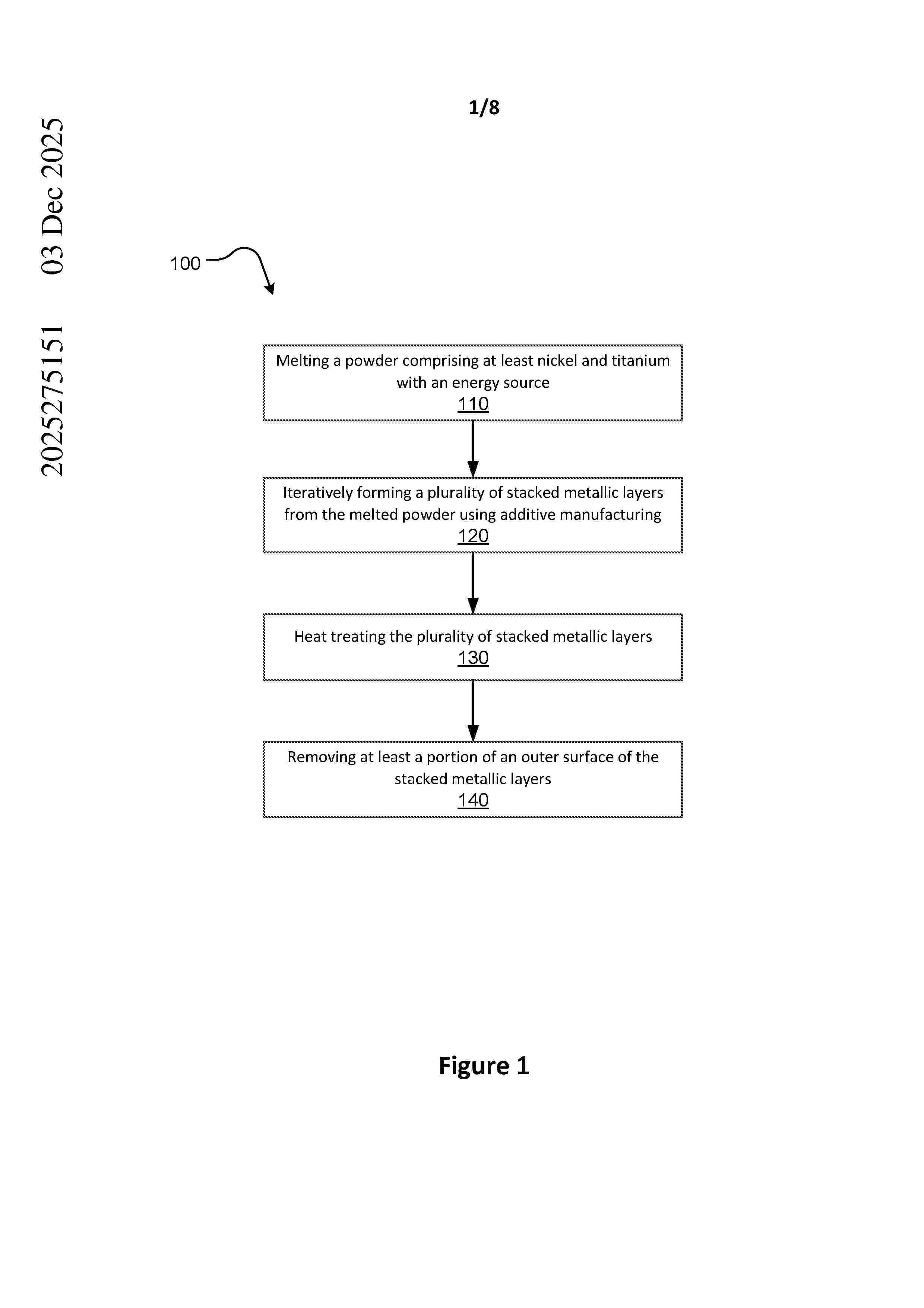
METHOD FOR SMART ENERGY DEVICE INFRASTRUCTURE

NºPublicación:  US20260108134A1 23/04/2026
Solicitante: 
CILAG GMBH INT [CH]
US_20260108134_A1

Resumen de: US20260108134A1

A method for characterizing a state of an end effector of an ultrasonic device is disclosed. The ultrasonic device including an electromechanical ultrasonic system defined by a predetermined resonant frequency. The electromechanical ultrasonic system further including an ultrasonic transducer coupled to an ultrasonic blade. The method including applying, by an energy source, a power level to the ultrasonic transducer; measuring, by a control circuit coupled to a memory, an impedance value of the ultrasonic transducer; comparing, by the control circuit, the impedance value to a reference impedance value stored in the memory; classifying, by the control circuit, the impedance value based on the comparison; characterizing, by the control circuit, the state of the electromechanical ultrasonic system based on the classification of the impedance value; and adjusting, by the control circuit, the power level applied to the ultrasonic transducer based on the characterization of the state of the end effector.

BIOPRINTING ROBOTIC SYSTEM, DEVICE, AND METHOD

NºPublicación:  US20260108314A1 23/04/2026
Solicitante: 
BOARD OF REGENTS THE UNIV OF TEXAS SYSTEM [US]
TERASAKI INST FOR BIOMEDICAL INNOVATION [US]
US_20260108314_A1

Resumen de: US20260108314A1

A bioprinting robotic system comprises a robotic manipulator, a bioprinting instrument configured as an end effector of the robotic manipulator further configured to print bioink, a head mounted display (HMD), an optical tracking system, and a computing system communicatively connected to the robotic manipulator, bioprinting instrument, HMD and optical tracking system. A bioprinting instrument comprises a housing, a distance measurement sensor, a light source, 3D point cloud camera, and a co-axial nozzle positioned on a one degree of freedom (DoF) linear height control mechanism. A bioprinting method comprises providing the bioprinting robotic system above, obtaining a high-resolution volumetric geometry of an injury via the 3D point cloud camera, designing a desired 3D printing geometry and corresponding printing trajectories, calibrating and registering the bioprinting robotic system, displaying on the HMD the desired printing trajectory, and printing along the desired printing trajectory via a surgeon manipulating the bioprinting instrument.

Smart Pack System for Medicines

NºPublicación:  US20260108427A1 23/04/2026
Solicitante: 
SWYFT INC [US]
US_20260108427_A1

Resumen de: US20260108427A1

Disclosed is a blister pack smart dispensing package that has an overlay with conductors located over blister pack pockets that are broken when a user retrieves a solid medication, such as a pill, from the blister pack. The date and time that the user retrieved the solid medication from the smart pack is recorded by an electronics and communications package on the smart pack. A local communications device then receives this adherence data and transmits this data to a server, which generates a data structure containing adherence data. A blister pack overlay can be used which changes colors to indicate that the medication is about to expire, or has expired.

SYSTEMS AND METHODS TO MEASURE, PREDICT AND OPTIMIZE BRAIN FUNCTION

NºPublicación:  US20260112487A1 23/04/2026
Solicitante: 
HORIZON NEUROSCIENCES LLC [US]
US_20260112487_A1

Resumen de: US20260112487A1

Methods and apparatus for changing a brain state of a person from an initial brain state to a target brain state are described. The method includes receiving information characterizing the initial brain state, the information including a structural composition and a functional architecture of the brain, estimating based, at least in part, on the received information, a potential for the brain to change from the initial brain state to the target brain state, determining based, at least in part, on the received information and the estimated potential for the brain to change from the initial brain state to the target brain state, a non-invasive brain stimulation protocol, and controlling at least one non-invasive brain stimulation device to stimulate the brain according to the non-invasive brain stimulation protocol. The method also includes using brain information to inform the design of computational general artificial intelligence agents.

USING BIOMARKER INFORMATION FOR HEART FAILURE RISK COMPUTATION

NºPublicación:  US20260108216A1 23/04/2026
Solicitante: 
MEDTRONIC INC [US]
US_20260108216_A1

Resumen de: US20260108216A1

0000 Provided is a method, system and/or apparatus for determining prospective heart failure event risk. Acquired from a device memory are a heart failure patient's current and preceding risk assessment periods. Counting detected data observations in the current risk assessment period for a current risk assessment total amount and counting detected data observations in the preceding risk assessment period for a preceding risk assessment period total amount. Associating the current risk assessment and preceding risk assessment total amounts with a lookup table to acquire prospective risk of heart failure (HF) event for the preceding risk assessment period and the current risk assessment period. Employing weighted sums of the prospective risk of the HF event for the preceding risk assessment period and the current risk assessment period to calculate a weighted prospective risk of the HF event for a patient. Displaying on a graphical user interface the weighted prospective risk of the HF event for the patient.

SYSTEM FOR DISPLAYING MEDICAL MONITORING DATA

NºPublicación:  US20260108218A1 23/04/2026
Solicitante: 
MASIMO CORP [US]
US_20260108218_A1

Resumen de: US20260108218A1

0000 A first medical device can receive a physiological parameter value from a second medical device. The second physiological parameter value may be formatted according to a protocol not used by the first medical device such that the first medical device is not able to process the second physiological parameter value to produce a displayable output value. The first medical device can pass the physiological parameter data from the first medical device to a separate translation module and receive translated parameter data from the translation module at the first medical device. The translated parameter data can be processed for display by the first medical device. The first medical device can output a value from the translated parameter data for display on the first medical device or an auxiliary device.

Method and System for Planning Implant Component Position

NºPublicación:  US20260111096A1 23/04/2026
Solicitante: 
ORTOMA AB [SE]
US_20260111096_A1

Resumen de: US20260111096A1

0000 A method for planning an orthopedic procedure including positioning a virtual implant component relative to a 3D volume of scan data of a patient using multiple 2D views of the scan data generated from the 3D volume at different view angles is disclosed. Positional information is developed using the generated 2D views with 3D positional information for the virtual implant component relative the 3D volume of scan data provided based on positional information developed relative to the 2D views.

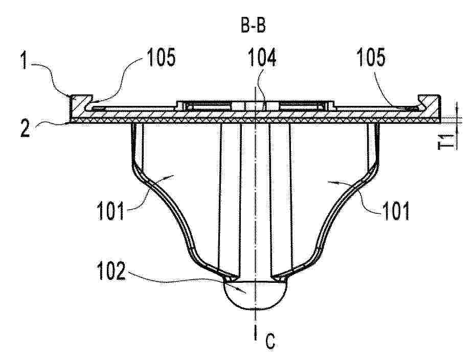
3D PRINTED OR OTHER ANATOMICAL AND CIRCULAR GINGIVAL HEALING CUFFS FOR USE WITH ABUTMENTS

NºPublicación:  US20260108327A1 23/04/2026
Solicitante: 
ESTHETIC IMPLANT SOLUTIONS LLC [US]
US_20260108327_A1

Resumen de: US20260108327A1

An assembly comprising an abutment and gingival healing cuff. The gingival healing cuff fits and mates over the abutment, wherein the cuff includes internal surfaces (e.g., at least one flat face, and at least one curved face) corresponding to the external surfaces of the abutment, so as to mate with one another. The gingival healing cuff can further include a rectangular box or other timing alignment structure positioned apical to a buccal alignment body, which serves as a buccal alignment marker once the buccal alignment body is removed, and which can aid in helping the practitioner know where the implant platform and abutment platform are located (even when hidden). Flowable composite, e.g., of a different color, can be placed into the rectangular box or other timing alignment structure to aid in identification of the buccal surface of the cuff and proper rotational alignment (“timing”) of the abutment with the implant.

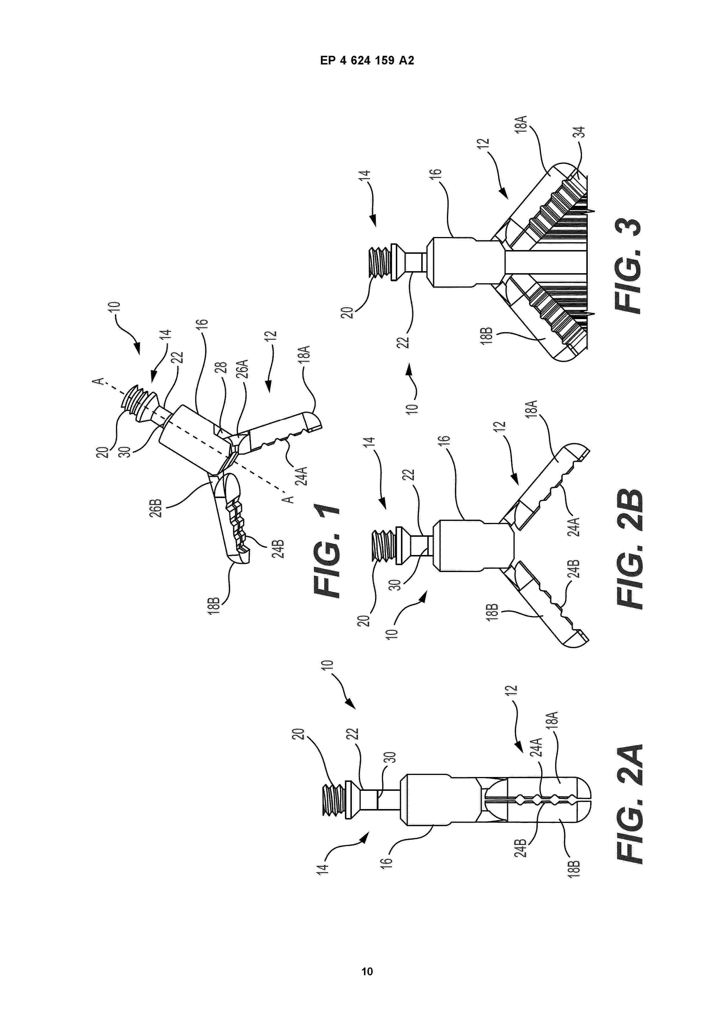
IMPLANTS FOR FRACTURE REPAIR

NºPublicación:  EP4729006A1 22/04/2026
Solicitante: 
HOWMEDICA OSTEONICS CORP [US]
EP_4729006_PA

Resumen de: EP4729006A1

An implant system including a bone plate and a flexible implant attachment. The bone plate having a first arm and a second arm extending from a body of the bone plate. The flexible implant having a plurality of links chained together by a plurality of connectors. Each link of the plurality of links includes a core and a set of connectors. The set of connectors of the plurality of connectors extending laterally away from the core. Each connector of the set of connectors defines an opening positioned along a plane that intersects the longitudinal axis of the core at an oblique angle. Each connector of the set of connectors is linked to another connector of the plurality of connectors extending from another link of the plurality of links.

IMPLANTS WITH NAVIGATION FIDUCIALS

NºPublicación:  EP4729300A2 22/04/2026
Solicitante: 
MAT NV [BE]
EP_4729300_PA

Resumen de: EP4729300A2

A method for providing a bending mold for an off-the-shelf implant, the method comprising obtaining information about a bony anatomy of a patient from one or more medical images; developing a virtual three-dimensional model of the bony anatomy based on the information about the bony anatomy, selecting an off-the-shelf implant, simulating a bending of the off-the-shelf implant using a three-dimensional model of the selected off-the-shelf implant and the virtual three-dimensional model of the bony anatomy to obtain a virtually bent implant having a first, bone-facing, surface and a second surface opposite the first surface, using the virtually bent implant, designing a bending mold mating with the first or the second surface, and based on the design of the bending mold, manufacturing the bending mold using additive manufacturing.

SYSTEM AND METHOD FOR REMOTE ECG DATA STREAMING IN REAL-TIME

NºPublicación:  EP4730182A2 22/04/2026
Solicitante: 
BARDY DIAGNOSTICS INC [US]
EP_4730182_A2

Resumen de: EP4730182A2

A system (320) and method for remote ECG data streaming in real-time is provided. ECG data is encrypted on a physiological monitor (322) placed on a patient (321) via a near-field communication chip on the physiological monitor (322). A continuous connection is established between the physiological monitor (322) and a cloud-based server (326) via a wireless transceiver on the physiological monitor (322). The encrypted ECG data is transmitted from the physiological monitor (322) to the cloud-based server (326). The ECG data is then transmitted from the cloud-based server (326) to a device (327) associated with a medical professional in real-time.

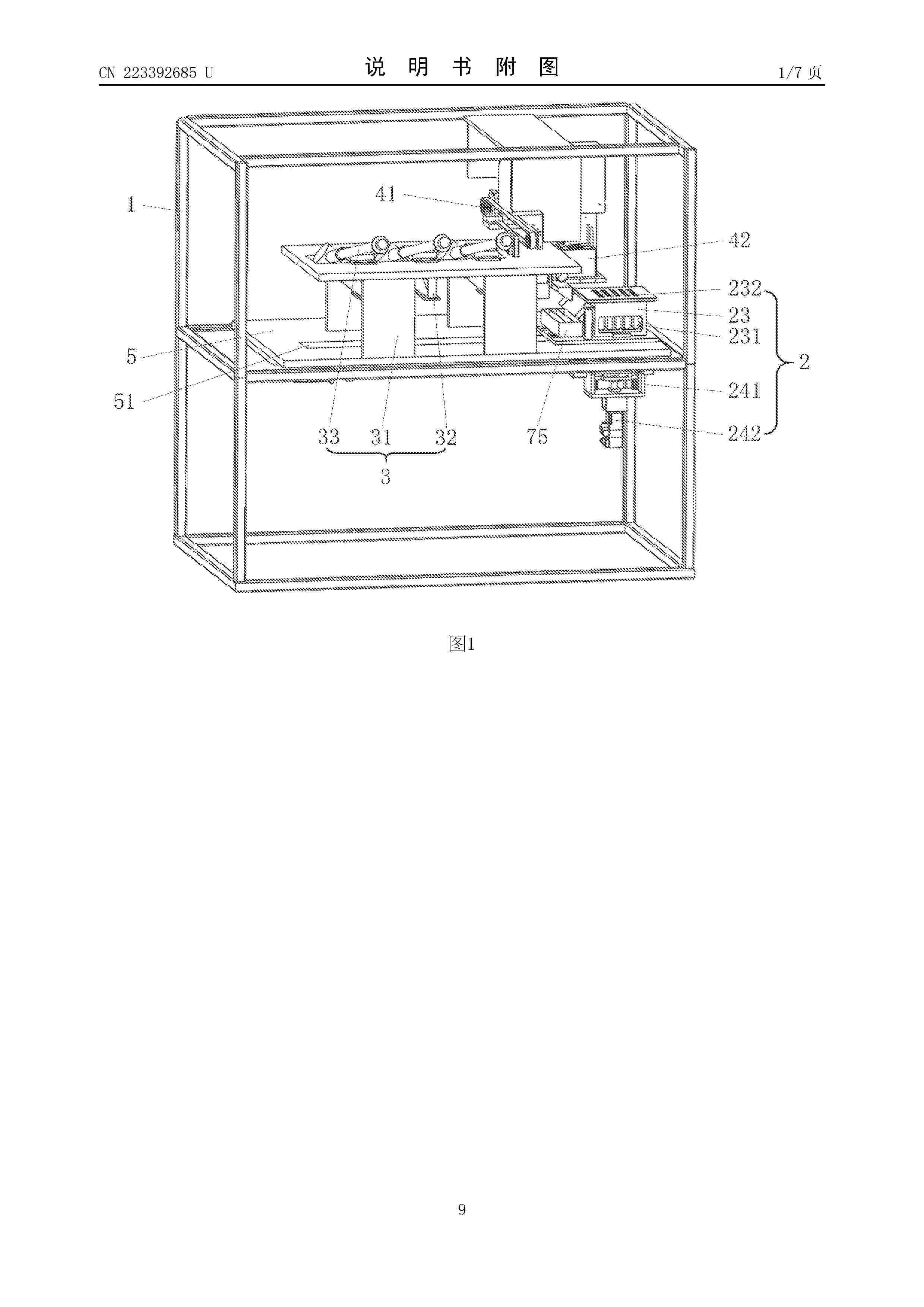
DEVICE FOR PRODUCING A DENTAL SPLINT

NºPublicación:  EP4727754A1 22/04/2026
Solicitante: 
DENTAL MFG UNIT GMBH [AT]
WO_2024254624_PA

Resumen de: WO2024254624A1

A device for producing a dental splint is described, comprising a computing unit (1), a thermoforming station (2) for a film on a denture model (3), and a laser cutting system (4) for cutting out the dental splint from the film. In order to configure a device of the type depicted at the outset in such a way as to enable a manufacturing process of dental splints which is as fully automated and rapid as possible, wherein, in particular, the space requirement of the required devices is minimized and complicated robotics systems for transporting the dental splints are intended to be dispensed with, it is proposed that a plurality of workstations are provided which comprise at least one 3D printer (5) for producing the denture model (3) on a workpiece carrier (10), the thermoforming station (2), a severing device (6) for severing the thermoformed film from the denture model (3), and the laser cutting system (4), wherein the workstations are arranged along a transport system (7) which comprises a guide (8) and a transport means (9) which is arranged movably along the guide (8) for loading and unloading the workstations with the workpiece carrier (10).

BREAST PUMP SYSTEM

NºPublicación:  EP4729083A2 22/04/2026
Solicitante: 
WILLOW BLOSSOM HOLDCO LTD [GB]
EP_4729083_PA

Resumen de: EP4729083A2

The disclosure relates to a breast pump device that is configured as a self-contained, in-bra wearable device, the breast pump device comprising: a housing that includes (a) a battery, and (b) a pump powered by the battery and configured to generate a negative air pressure; (ii) a breast shield; and (iii) a milk container that is removable from the housing.

IMPLANT COMPRISING BIODEGRADABLE POLYMER, MANUFACTURING METHOD THEREFOR, AND COMPOSITION THEREFOR

NºPublicación:  EP4729079A1 22/04/2026
Solicitante: 
CJ CHEILJEDANG CORP [KR]
EP_4729079_A1

Resumen de: EP4729079A1

Provided is an implant comprising a first biodegradable polymer and a second biodegradable polymer, wherein the first biodegradable polymer comprises copolymerized polyhydroxyalkanoate (PHA), and the copolymerized PHA comprises, on the basis of the total weight of the copolymerized PHA, 0.1-50 wt% of a repeating unit derived from 4-hydroxybutyrate (4-HB).

METHOD TO MODIFY ALIGNER BY MODIFYING TOOTH POSITION

NºPublicación:  EP4729022A2 22/04/2026
Solicitante: 
ALIGN TECHNOLOGY INC [US]
EP_4729022_PA

Resumen de: EP4729022A2

Polymeric shell appliances are provided in which the polymeric shell appliances are configured to provide one or more activation forces to facilitate tooth movement. In many embodiments, the activation forces are arranged to provide force in a direction opposite to an intended direction of tooth movement. The polymeric shell appliances may comprise one or more tooth receiving cavities, in which each of the plurality of tooth receiving cavities is shaped and arranged to provide a counter moment of each of the plurality of teeth.

DEVICE, METHOD, AND SYSTEM FOR ACCURATE DELIVERY OF FLUSH INFUSION

NºPublicación:  EP4729090A2 22/04/2026
Solicitante: 
CAREFUSION 303 INC [US]
EP_4729090_PA

Resumen de: EP4729090A2

A syringe pump determines, upon receiving a new syringe, that at least a first portion of a predetermined amount of a first fluid was previously delivered by the syringe pump according to a first fluid delivery order before the new syringe was loaded into the syringe pump, and determines a second portion of the first fluid remaining to be delivered to complete the predetermined amount of the first fluid for the first fluid delivery order. A delivery of a second fluid is initiated by the syringe pump and, when an amount of the second fluid delivered from the new syringe satisfies the second portion of the first fluid remaining to be delivered, the pump automatically, without user intervention, indicates the first fluid delivery order as being complete, de-associates the first fluid delivery order from the syringe pump, and associates the syringe pump with the second fluid delivery order.

ELECTRIC COMPONENTS INCLUDING COILS AND METHODS TO FABRICATE THE SAME BY 3D PRINTING

Nº publicación: EP4730368A2 22/04/2026

Solicitante:

BIOSENSE WEBSTER ISRAEL LTD [IL]

EP_4730368_A2

Resumen de: EP4730368A2

0001 Electric components including coils and methods to fabricate the same by 3D-printing are disclosed. The method includes: 3D printing a magnetic material to form a magnetic channel comprising a magnetic core of the coil device; 3D printing a conductive material to form a conductive channel, including conductive windings of the coil device with turns surrounding the magnetic core; and 3D printing a non-magnetic electrically insulating material to form electrical insulation between the turns of the conductive windings of the coil device. In some embodiments functional structures of the electric component, including the turns of the conductive windings of the coil and the electrical insulation between the turns, are each printed with minimal in-layer feature size of at least two voxels of the 3D-printing. Some embodiments facilitate 3D-printing of flattened coil devices having low aspect ratio between their lengths along their magnetic axes and their widths perpendicular thereto.

traducir