Ministerio de Industria, Turismo y Comercio LogoMinisterior
 

Alerta

Resultados 947 resultados
LastUpdate Última actualización 18/03/2026 [07:08:00]
pdfxls
Publicaciones de solicitudes de patente de los últimos 60 días/Applications published in the last 60 days
previousPage Resultados 825 a 850 de 947 nextPage  

过渡金属催化剂及其制备方法与应用

NºPublicación:  CN121381063A 23/01/2026
Solicitante: 
蚌埠学院
CN_121381063_PA

Resumen de: CN121381063A

本发明公开了一种过渡金属催化剂及其制备方法与应用,所述过渡金属催化剂具有纳米花结构,制作方法为:先配置铁盐、镍盐、尿素混合溶液,通过水热反应形成铁镍氢氧化物Fe‑Ni(OH)2,所述镍盐、铁盐的摩尔比为5~25:1,所述镍盐、尿素的摩尔比例为1.4~3.5:1;然后以Fe‑Ni(OH)2为原料,含磷化合物或磷粉作为磷源,通过化学气相沉积法,制备Fe‑NiP过渡金属催化剂,Fe‑NiP过渡金属催化剂过电位降低。本发明还进一步用气相沉积法引入硫源,在催化剂表面实现S掺杂,制备得到Fe,S‑NiP催化剂。这种方法引入的硫元素,不仅能够优化催化性能,还能够避免硫元素毒害磷化物、腐蚀基底,提升催化稳定性,本发明制得的催化剂在电催化制氢应用中具有广泛的工业应用前景。

氢氧化钴电极及其制备方法与应用

NºPublicación:  CN121381027A 23/01/2026
Solicitante: 
浙江理工大学
CN_121381027_PA

Resumen de: CN121381027A

本申请公开了一种氢氧化钴电极,所述氢氧化钴电极为泡沫镍负载的氢氧化钴,所述氢氧化钴为非晶相氢氧化钴,所述氢氧化钴的微观结构为纳米针。本申请所得电极具有催化活性较高和反应动力学较强的特点。本申请还公开了氢氧化钴电极的制备方法与应用。

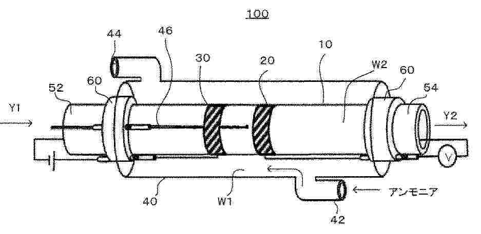
水素の分離回収装置、および、該装置を使用した水素を分離回収する方法

NºPublicación:  JP2026011065A 23/01/2026
Solicitante: 
国立大学法人秋田大学
JP_2026011065_PA

Resumen de: JP2026011065A

【課題】高収率で高純度の水素の分離回収が可能であり、膜劣化の問題が生じず長期間の使用が可能である、水素の分離回収装置を提供する。【手段】プロトン伝導体からなる筒状体、アンモニア分解手段、および、水素ポンプを備え、アンモニア分解手段は、プロトン伝導体からなる筒状体の外部空間を通るアンモニアを、水素と窒素に分解する電極を備え、水素ポンプは、水素を前記プロトン伝導体からなる筒状体の内部空間に通過させる電極を備える、水素の分離回収装置。【選択図】図1

System and method for preparing green alcohol by coupling green hydrogen with green carbon

NºPublicación:  CN121372246A 23/01/2026
Solicitante: 
GUANGDONG NEW ENERGY STORAGE NATIONAL RES INSTITUTE CO LTD
\u5E7F\u4E1C\u65B0\u578B\u50A8\u80FD\u56FD\u5BB6\u7814\u7A76\u9662\u6709\u9650\u516C\u53F8
CN_121372246_PA

Resumen de: CN121372246A

The invention discloses a system and a method for preparing green alcohol by coupling green hydrogen with green carbon. The system comprises an electrolytic hydrogen production device, an oxygen-enriched combustion and carbon capture device, a synthesis gas preparation device, a methanol synthesis device and a methanol rectification device, the electrolytic hydrogen production device is used for producing hydrogen and oxygen by electrolyzing water; the synthesis gas preparation device is used for producing synthesis gas through biomass gasification; the oxygen-enriched combustion and carbon capture device is used for producing carbon dioxide through oxygen-enriched combustion, flue gas recirculation and flue gas carbon capture; the methanol synthesis device is connected with the electrolytic hydrogen production device, the oxygen-enriched combustion and carbon capture device and the synthesis gas preparation device to produce crude methanol; and the methanol rectification device is connected with the methanol synthesis device to produce refined methanol. According to the invention, a low-carbon and high-efficiency renewable energy system can be constructed, and the large-scale development and utilization efficiency of wind and light resources can be effectively improved.

Hydrogen embrittlement resistant beta-type titanium alloy and application thereof

NºPublicación:  CN121380673A 23/01/2026
Solicitante: 
INSTITUTE OF METAL RES CHINESE ACADEMY OF SCIENCES
\u4E2D\u56FD\u79D1\u5B66\u9662\u91D1\u5C5E\u7814\u7A76\u6240
CN_121380673_PA

Resumen de: CN121380673A

The invention belongs to the field of titanium alloy materials, particularly relates to a hydrogen embrittlement-resistant beta-type titanium alloy and application thereof, and is expected to be applied to the fields of deep sea engineering, hydrogen energy and the like which bear extreme hydrogen environments. The hydrogen embrittlement-resistant beta-type titanium alloy comprises the following elements in percentage by mass: 8-28% of one or a mixture of Mo and V, 0-5% of one or a mixture of more than two of Al, Cr, Fe, Sn and Zr, and the balance of titanium, wherein the total mass fraction of the Mo and the V is 8-28%, and the total mass fraction of the Al, the Cr, the Fe, the Sn and the Zr is 0-5%. The alloy is metastable beta titanium alloy or beta single-phase titanium alloy, has high hydrogen solid solubility and inhibits brittle hydride transformation, main alloying elements are Mo and V elements, high corrosion resistance and hydrogen permeation resistance of the material are guaranteed, and other alloy elements are combined to optimize the comprehensive mechanical property of the alloy. The hydrogen embrittlement resistant beta-type titanium alloy material is reasonable in design, the preparation method is simple and controllable, and large-scale industrial application is facilitated.

一种Ru-NiCoP/NF自支撑电极及其制备方法和应用

NºPublicación:  CN121381047A 23/01/2026
Solicitante: 
许继集团有限公司西安交通大学
CN_121381047_PA

Resumen de: CN121381047A

本发明提供一种Ru‑NiCoP/NF自支撑电极及其制备方法和应用。所述Ru‑NiCoP/NF自支撑电极以泡沫镍为基体,以负载在泡沫镍上的钌掺杂的磷化镍钴为活性组份,钌掺杂的磷化镍钴是具有海胆状形貌的三维复合纳米结构,钌掺杂的磷化镍钴中Ru包含Ru3+和Ru0两种价态,Ni以Ni2+的价态存在,Co包含Co2+和Co3+两种价态。所述Ru‑NiCoP/NF自支撑电极,在析氢反应与析氧反应过程中具有良好的催化活性,可用于电解水。

一种用于低压环境下高活性超亲水疏气电极及其制备方法和应用

NºPublicación:  CN121373806A 23/01/2026
Solicitante: 
浙江大学
CN_121373806_PA

Resumen de: CN121373806A

本发明公开了一种用于低压环境下高活性超亲水疏气电极及其制备方法和应用,涉及电催化领域。制备方法包括以下步骤:取镍纤维毡清洗、干燥后,组装三电极系统,采用循环伏安法进行线性扫描,清洗、干燥得前驱体;采用飞秒激光加工设备进行扫描刻蚀,扫描间距为25‑300μm,形成周期性的纳米级和/或微米级结构,制备得到电极。本申请通过飞秒激光诱导亲水微纳米物理结构,进行表面重构,并通过优化扫描间距寻求高效传质和高活性位点的平衡,提高了OER反应催化活性以及高电流密度下的稳定性。具有制备工艺简便、机械强度高、传质效率优等显著优势,有利于电解水制氢设备在高海拔低气压的极端环境中稳定运行。

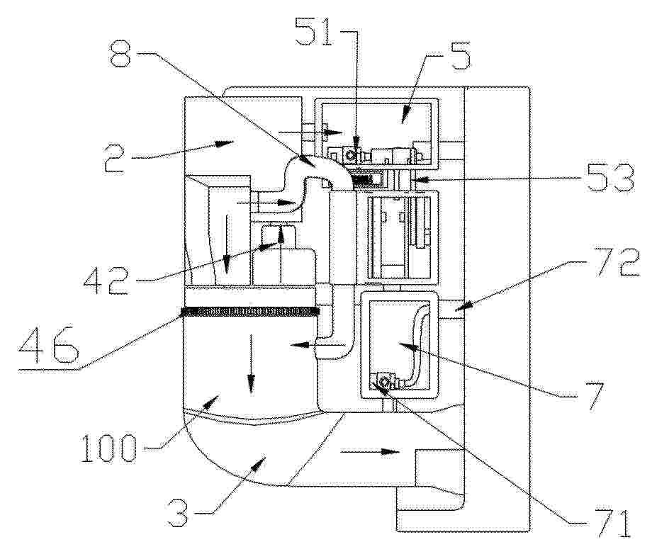
一种一体式双极板的制备方法及PEM电解槽结构

NºPublicación:  CN121381014A 23/01/2026
Solicitante: 
西部宝德科技股份有限公司
CN_121381014_PA

Resumen de: CN121381014A

本发明公开一种一体式双极板的制备方法及PEM电解槽结构,涉及电解水制氢的技术领域,该方法包括:对金属钛粉进行连续轧制处理,形成具有孔隙率和机械强度的多孔钛板生胚;依次在多孔钛板生胚上叠加铺设钛网、致密钛板以及钛网,形成复合叠层结构;钛网包括编织网、拉伸网和冲孔网,铺设层数为一层或多层;对复合叠层结构进行升温加压烧结,得到一体式双极板。本发明克服了现有的PEM电解槽结构在装配过程中存在的接触电阻大、电子传输效率低、组件错配率高等缺陷,显著提升了PEM电解槽的装配效率和电子传输效率。

一种光电磁场耦合制备四氧化三钴的方法

NºPublicación:  CN121381125A 23/01/2026
Solicitante: 
武汉理工大学
CN_121381125_A

Resumen de: CN121381125A

本发明公开了一种光电磁场耦合制备四氧化三钴的方法,包括如下步骤:1)在三电极体系中,引入钴源溶液,在光照和外加磁场条件下,在半导体光催化材料上电沉积,生长氢氧化钴材料;2)将所得复合材料进行退火处理,得四氧化三钴纳米片材料。本发明采用光电磁场耦合的方法在半导体光阳极材料表面生长四氧化三钴助催化剂,所得四氧化三钴材料在半导体材料表面分布均匀、尺寸可调,并有利于在四氧化三钴内部形成定向电子转移路径,催化性能优异;所需沉积电压较小,沉积时间短,可大规模制备;将所得四氧化三钴材料用作助催化剂,在中性电解液甚至海水中,仍可表现出较优异的光电催化水分解性能,适用性广。

一种水下制氢系统

NºPublicación:  CN121372244A 23/01/2026
Solicitante: 
北京航空航天大学
CN_121372244_PA

Resumen de: CN121372244A

本发明涉及水下制氢技术领域,尤其涉及一种水下制氢系统,包括料舱和反应釜,料舱的出料口与反应釜的进料口连通,反应釜设置有进水口和排渣口,料舱的内腔设置有推料机构,料舱上设置有用于储存氢气和驱动推料机构运动的中间舱,中间舱设置有出气口,反应釜的出气口通过气体输送管与中间舱的进气口连通。本发明能够将反应后的氢气储存在中间舱中,同时推料机构能够利用中间舱中储存的氢气,利用氢气的压力作为动力,将料舱中的活性铝推送到反应釜中,而且,将反应釜排渣口的控制阀关闭后,也能够使反应釜内部的压力升高,利用内外压差将反应釜中的渣液从排渣口排出,整个过程无需外接额外动力源即可自动送料和排渣,有效节约了能源。

一种基于金属锑的解耦水电解制氢装置及其应用

NºPublicación:  CN121380990A 23/01/2026
Solicitante: 
南京信息工程大学
CN_121380990_PA

Resumen de: CN121380990A

本发明公开了一种基于金属锑的解耦水电解制氢装置及其应用,属于制氢技术领域。该装置,包括析氢电极、析氧电极、Sb/C电极、电解液、电解槽和外部电源;其中,析氢电极用于产氢,析氧电极用于产氧,Sb/C电极用于解耦,所述析氢电极、析氧电极、Sb/C电极位于同一电解槽中。本发明利用金属锑作为可逆的固态氧化还原介质,有效实现了析氢反应(HER)与析氧反应(OER)的时间与空间解耦。相比传统水电解体系,本发明可实现无膜条件下的分步制氢,大幅提高能量转化效率,同时降低系统复杂度与整体电解成本。

一种用于PEM交换膜电解水制氢系统的高效集成组件及其应用

NºPublicación:  CN121381024A 23/01/2026
Solicitante: 
浙江大学
CN_121381024_PA

Resumen de: CN121381024A

本发明涉及PEM电解水制氢系统的高效集成组件领域,公开了一种用于PEM交换膜电解水制氢系统的高效集成组件,集成组件中的阳极电极单元包括钌基高熵金属氧化物电催化剂,钌基高熵金属氧化物电催化剂包括钌、锡、锰、铬和钽元素;钌基高熵金属氧化物电催化剂的制备方法:将固体无机钌盐、锡盐、锰盐、铬盐、钽盐和氯化钠进行研磨获得金属盐混合物;再进行球磨获得高熵金属氧化物前驱体;将前驱体进行热处理和水洗处理,获得钌基高熵金属氧化物电催化剂。本发明还公开了上述电催化剂在酸性溶液中电解水析氧反应和在PEM质子交换膜电解水制氢反应中的应用,展现出优异的电催化活性。

一种用于水分解的Mxene/Fe:CuO光电极薄膜及其制备方法

NºPublicación:  CN121381017A 23/01/2026
Solicitante: 
辽宁大学
CN_121381017_PA

Resumen de: CN121381017A

本发明属于光电化学技术领域,具体涉及一种用于水分解的Mxene/Fe:CuO光电极薄膜及其制备方法。本发明采用两步电沉积法制备Mxene/Fe:CuO光电极薄膜,首先将CuCl2·2H2O和KCl溶于去离子水中再加入少量的FeCl3·6H2O制备成电沉积液,随后使用电化学工作站进行电沉积,随后在马弗炉中空气气氛下退火,得到Fe:CuO光电极薄膜,在Fe:CuO薄膜基础上再次电沉积负载Mxene得到Mxene/Fe:CuO光电极薄膜。本发明采用Fe掺杂以及表面负载Mxene的方法来改善CuO光电极薄膜的光电催化活性,显著提高了CuO光电极薄膜的分解水能力。

一种高性能Ce和Ag共掺杂的ZnIn2S4光电极薄膜及其制备方法和应用

NºPublicación:  CN121377560A 23/01/2026
Solicitante: 
辽宁大学
CN_121377560_PA

Resumen de: CN121377560A

本发明属于光电化学技术领域,提供了一种高性能Ce和Ag共掺杂的ZnIn2S4光电极薄膜及其制备方法和应用。采用水热法,首先将Ce(NO3)36H2O和AgNO3分别融于去离子水中制备成溶液,然后将CH4N2S、ZnCl2和InCl3加入到去离子水与无水乙醇的混合溶液中制备成前驱体溶液,并在反应釜中提前放置清洗完毕的FTO导电玻璃,将溶液置于反应釜中在烘箱中加热,得到产物Ce‑Ag:ZnIn2S4。最后在马弗炉中空气气氛下高温煅烧,得到Ce‑Ag:ZnIn2S4光电极薄膜。本发明采用Ce和Ag共掺杂的方式来改善ZnIn2S4光电极薄膜的光电催化活性,显著提高ZnIn2S4光电极薄膜的PEC性能。

一种用于光热催化甲醇水蒸气制氢的三元金属氧化物及其制备方法与应用

NºPublicación:  CN121372421A 23/01/2026
Solicitante: 
福州大学
CN_121372421_PA

Resumen de: CN121372421A

本发明公开了一种用于光热催化甲醇水蒸气制氢的三元金属氧化物及其制备方法与应用。其制备方法为:首先,通过共沉淀法制备含有具有特定比例的铜镍铟三元金属作为前驱体,然后在高温下采用空烧的方式对三元前驱体进行氧化处理,得到铜镍铟三元金属氧化物材料CuO‑NiO‑In2O3。该方法制备所得的CuO‑NiO‑In2O3材料具有优异的光热催化甲醇水蒸气制取氢气活性,在较低的温度下发挥出较高的产氢速率,并取得了很高的二氧化碳选择性,同时在加较低太阳光的条件下,产氢速率有了质的提高,可以实现低温加低太阳光强驱动的甲醇水蒸气制氢气的高效率转化。

一种高效析氢复合电极材料及其制备方法和应用

NºPublicación:  CN121381055A 23/01/2026
Solicitante: 
天津大学
CN_121381055_PA

Resumen de: CN121381055A

本发明属于材料化学技术领域,公开了一种高效析氢复合电极材料及其制备方法和应用,制备方法包括以下步骤:包括以下步骤:步骤1,清洗活化泡沫镍;步骤2,采用恒电流电沉积法,在泡沫镍的三维骨道上原位沉积W‑V基非晶前驱体薄膜,得到W‑V基非晶前驱体;步骤3将步骤2得到的所述W‑V基非晶前驱体浸入水热反应溶液进行水热反应,洗涤后得到钨钒铁铬钴共掺杂的氢氧化物FeCrCoFWV(OH)F/NF前驱体;步骤4,将FeCrCoFWV(OH)F/NF前驱体与固态磷源NaH2PO2·H2O共同置于管式炉中,在保护气氛下程序升温热处理进行磷化反应,得到钨钒铁铬钴共掺杂的磷化钴镍基复合电极材料FeCrCoWV/NF。本发明的氢复合电极材料成本低、催化活性高,易于规模化生产。

一种自交联型聚(芳基哌啶)阴离子交换膜材料及其制备方法和应用

NºPublicación:  CN121378623A 23/01/2026
Solicitante: 
华东理工大学
CN_121378623_A

Resumen de: CN121378623A

本发明属于电解水制氢用高性能阴离子交换膜技术领域,具体公开了一种自交联型聚(芳基哌啶)阴离子交换膜材料及其制备方法和应用。聚(芳基哌啶)聚合物选为不含醚键主链,环状哌啶鎓选为阳离子基团可以有效提高膜材料的化学稳定性,其次通过在聚合物结构单元中引入弯曲构象的间三联苯单体,提高膜材料内部的自由体积,有利于离子传输,再引入自交联网络进一步促进离子传导高速通道的形成,同时限制了膜的过度溶胀,从而提高膜的离子传导率和机械稳定性。所制备的阴离子交换膜可应用于电解水制氢中。

一种用于全pH环境电催化制氢的Ni2P@CoCH/CFP异质结纳米材料及制备方法

NºPublicación:  CN121381045A 23/01/2026
Solicitante: 
广西民族大学
CN_121381045_PA

Resumen de: CN121381045A

本发明公开了一种用于全pH环境电催化制氢的Ni2P@CoCH/CFP异质结纳米材料及制备方法。本发明所述材料以六水合硝酸钴、六水合硝酸镍、尿素、氟化铵、碳纤维纸(CF P)为原料,通过以下步骤制备:1)水热法制备Co(CO3)0.5(OH)0.11H2O/CFP(简称CoCH/C FP)前驱体:一次水热在碳纤维纸(CFP)上垂直生长出Co(CO3)0.5(OH)0.11H2O纳米针阵列(简称CoCH),得到CoCH/CFP前驱体;2)水热法制备Ni‑LDHs@CoCH/CFP前驱体:二次水热在CoCH纳米针上生长Ni‑LDHs纳米片,得到Ni‑LDHs@CoCH/CFP前驱体;3)热处理法制备Ni2P@CoCH/CFP异质结纳米材料:在氩气的保护下将Ni‑LDHs@CoCH/CFP前驱体进行低温磷化,得到Ni2P@CoCH/CFP异质结纳米材料。本发明制备的纳米材料可用于全pH环境下电解水制氢,并且能在工业安培级电流密度下稳定制氢100h。

从水和铁制取氢气和磁铁矿的方法

NºPublicación:  CN121399056A 23/01/2026
Solicitante: 
KS IPR \u5C0F\u578B\u6709\u9650\u8D23\u4EFB\u516C\u53F8
CN_121399056_PA

Resumen de: WO2025008146A1

The present invention relates to a method for producing hydrogen and magnetite from water and iron in the presence of an iron(II) salt catalyst. The invention also relates to the use of the iron obtained as an indirect hydrogen store.

水电解单元用电极、水电解单元、水电解装置和水电解单元用电极的制造方法

NºPublicación:  CN121399299A 23/01/2026
Solicitante: 
松下知识产权经营株式会社
CN_121399299_PA

Resumen de: WO2024262045A1

The water electrolysis cell electrode 1 comprises a conductive substrate 10, a first layer 11, and a second layer 12. The conductive substrate 10 includes a transition metal. The first layer 11 is disposed on the conductive substrate 10 and includes two or more transition metals and oxygen. The second layer 12 is disposed on the first layer 11 and includes a layered double hydroxide (LDH) that has two or more transition metals. The first layer 11 is disposed between the conductive substrate 10 and the second layer 12 in the thickness direction of the first layer 11. The first layer 11 includes a first transition metal and a second transition metal, wherein the first transition metal is the same kind as the transition metal included in the conductive substrate 10, and the second transition metal is the same kind as the transition metal included in the second layer 12 and is different from the first transition metal. The concentration of the first transition metal in the first layer 11 is higher than the concentration of the first transition metal in the second layer 12.

一种钒掺杂磷化钴异质复合材料的制备方法及应用

NºPublicación:  CN121381066A 23/01/2026
Solicitante: 
广西师范大学
CN_121381066_PA

Resumen de: CN121381066A

本发明属于电催化材料技术领域,更具体的说是涉及一种钒掺杂磷化钴异质复合材料的制备方法及应用。首先通过浸渍法在碳布上生长ZIF‑67前驱体,得到ZIF‑67/CC;再将ZIF‑67/CC浸泡于偏钒酸钠溶液中进行刻蚀,形成Co3V2O8/CC中间体;最后通过低温气相磷化处理,得到钒掺杂磷化钴异质复合材料,该材料在碱性的条件下具有优异的电催化析氧性能和良好的全水分解性能,并表现出优异的导电性和良好的稳定性,可作为电催化析氧反应的优良催化剂,具有一定的实际应用潜力,制备方法简单,流程短,便于商业推广。

Optical hydrogen storage system power control method, optical hydrogen storage system and storage medium

NºPublicación:  CN121395250A 23/01/2026
Solicitante: 
SHENZHEN POWEROAK NEW ENERGY CO LTD
\u6DF1\u5733\u5E02\u5FB7\u5170\u660E\u6D77\u65B0\u80FD\u6E90\u80A1\u4EFD\u6709\u9650\u516C\u53F8
CN_121395250_PA

Resumen de: CN121395250A

The embodiment of the invention relates to the technical field of photovoltaic hydrogen production, in particular to a light hydrogen storage system power control method, a light hydrogen storage system and a storage medium. According to the embodiment of the invention, the output power of the photovoltaic module is subjected to smooth filtering to obtain the photovoltaic power generation power, and the working power regulation value of the electrolytic cell is determined according to the charge state value of the energy storage battery and the expected charge interval; therefore, the smooth and stable target working power value of the electrolytic cell is determined according to the photovoltaic power generation power and the working power adjustment value, the working power of the electrolytic cell can be smoothly and stably adjusted according to the target working power value of the electrolytic cell, and the situation that power fluctuation is large in the electrolytic cell power control process is reduced or avoided. The service life of the electrolytic bath is prolonged, a high-performance super capacitor and an energy storage battery do not need to be configured, the system cost and complexity are reduced, and the system operation efficiency is improved.

一种集装箱式固体氧化物高温电解装置

NºPublicación:  CN121380991A 23/01/2026
Solicitante: 
中国科学院大连化学物理研究所
CN_121380991_PA

Resumen de: CN121380991A

本发明提供一种集装箱式固体氧化物高温电解装置。包括集装箱箱体,所述集装箱箱体内部通过隔断划分为工艺设备区及控制辅助区;所述工艺设备区内设置有两台高温电解模块、连通各高温电解模块的辅助管路、氢气安全系统以及设置在集装箱箱体上的对外管路接口;所述控制辅助区内设置有配电柜、纯水机、制氢电源柜以及就地控制台;所述就地控制台内置控制系统,用于监控高温电解模块的运行状态,并根据用户用氢需求与外部电价信号,动态调整各高温电解模块的运行模式与工作点。本发明可根据用户用氢需求及峰谷电价,动态调整高温电解模块运行状态及工作点,具有模块化设计、操作灵活、工作可靠,易于安装扩展、效率高等特点。

一种大电流高稳定电解水镍基磷化物自支撑电极及其制备方法与应用

NºPublicación:  CN121381056A 23/01/2026
Solicitante: 
中国石油大学(北京)
CN_121381056_A

Resumen de: CN121381056A

本发明公开了一种大电流高稳定电解水镍基磷化物自支撑电极及其制备方法与应用。本发明一种泡沫镍@Fe‑MoNiP自支撑电极的制备方法,包括如下步骤:S1、采用以碳棒为对电极、泡沫镍为工作电极的两电极体系,以经预热的包含镍盐、磷源、钼源的水溶液为电沉积液,进行脉冲电流沉积,得到泡沫镍@MoNiP;S2、将所述泡沫镍@MoNiP浸渍在包含铁盐的溶液中,经干燥得到泡沫镍@Fe‑MoNiP自支撑电极。本发明仅需一步电沉积法,金属配比可精确调控,钼和铁元素优化磷化镍的氢结合能,并生成最佳OER活性相,从而实现活性位点催化性能的大大提高,大大提高了在大电流密度下材料的电解水稳定性。

一种阶梯进样光催化分解水制氢进样装置

Nº publicación: CN121372191A 23/01/2026

Solicitante:

东北电力大学

CN_121372191_PA

Resumen de: CN121372191A

本发明涉及可再生能源规模制备技术领域,尤其涉及了一种阶梯进样光催化分解水制氢进样装置,包括光催化进样器、进样器中空隔层、端口催化剂磁吸器皿、内腔,端口催化剂磁吸器皿内部设置磁力转子,光催化剂进样器外部包裹进样器外层聚光套,光催化剂进样器内部设置进样器中空隔层,中空隔层与内腔之间设置钢化玻璃,阶梯双轨道为侧壁横开的双轨道,内部设有缓压端口。本发明用于光催化制氢进样系统,在光催化剂进样器内设阶梯双轨道,增大光催化剂通过进样器进入反应器速率,降低了催化剂损耗,促使进样器内腔与催化剂磁吸器皿之间出现压力差,将光催化剂在进样阶段均匀分散,提高光催化剂利用效率,节省运行费用,减少进样器损耗。

traducir