Ministerio de Industria, Turismo y Comercio LogoMinisterior
 

Alerta

Resultados 947 resultados
LastUpdate Última actualización 18/03/2026 [07:08:00]
pdfxls
Publicaciones de solicitudes de patente de los últimos 60 días/Applications published in the last 60 days
previousPage Resultados 800 a 825 de 947 nextPage  

电解水制氢电解槽用极框及电解槽

NºPublicación:  CN121381005A 23/01/2026
Solicitante: 
天际装备科技(苏州)有限公司博天环境集团股份有限公司
CN_121381005_PA

Resumen de: CN121381005A

本发明公开一种电解水制氢电解槽用极框及电解槽,属于水电解制氢领域。所述的电解水制氢电解槽用极框,中下部开设有碱液入口、第一碱液分散口、第二碱液分散口,极框中上部开设有氢侧气液口、氧侧气液口,极框的一面设有阳极台阶,另一面设有阴极台阶和隔膜台阶,所述的第一碱液分散口、氢侧气液口内分别嵌有第一衬套,第二碱液分散口、氧侧气液口内分别嵌有第二衬套,碱液入口内嵌有第三衬套,第一衬套、第二衬套、第三衬套均呈中空筒状,分别与极框上对应的开口形状相匹配。本发明提供的极框,能够达到避免短路、提高电解效率的效果。

一种光热耦合增强电解水的方法及装置

NºPublicación:  CN121381009A 23/01/2026
Solicitante: 
中国科学院金属研究所
CN_121381009_PA

Resumen de: CN121381009A

本发明涉及能量转换技术领域,具体为一种光热耦合增强电解水的方法及装置。该方法以具有高光热转换能力和高催化电解水性能的单壁碳纳米管复合膜作为电解水的双功能一体化膜电极,设计调控膜电极为上层疏水的光热转换层,下层为亲水的负载了高活性催化电解水活性成分的亲水电解水层。层间通过单壁碳纳米管网络连接,使膜电极具有高热/电传输效率和优异的力学性能。亲疏水层设计使一体化膜电极可漂浮在电解质表面,通过光热耦合提高电解水效率。该方法可通过设计扁平状的电解池以提升光热增强电解水的效率,特别是在光照充足、低气温的极端环境中,具有良好应用前景。

一种多元复合析氧电催化剂的制备与应用

NºPublicación:  CN121381049A 23/01/2026
Solicitante: 
福州大学
CN_121381049_PA

Resumen de: CN121381049A

本发明公开了一种Fe3O4‑CoFe2O4/MoS2复合析氧电催化剂的制备与应用,属于催化技术领域。本发明采用简单的溶剂热方式将MoS2复合到NF支撑的Fe3O4‑CoFe2O4中,以制备高效的阳极析氧电催化剂。本发明制备的催化剂兼具高效电子传输通道与稳定活性界面的复合体系,在碱性条件下展现出优异的催化活性和长久的稳定性,因而具有大规模应用的潜力。

Preparation method of functional composite diaphragm

NºPublicación:  CN121381075A 23/01/2026
Solicitante: 
CARBON ENERGY TECH BEIJING CO LTD
\u78B3\u80FD\u79D1\u6280\uFF08\u5317\u4EAC\uFF09\u6709\u9650\u516C\u53F8
CN_121381075_PA

Resumen de: CN121381075A

The invention discloses a preparation method of a functional composite diaphragm, and relates to the technical field of hydrogen production through water electrolysis. The preparation method comprises the following steps: preparation of a membrane casting solution: mixing a polymer and a solvent, heating and dispersing to prepare a uniform polymer solution; the method comprises the following steps: mixing zirconium oxide, a coupling agent and a solvent, and performing ultrasonic dispersion to obtain an inorganic material dispersion liquid containing the coupling agent; under a stirring condition, adding the dispersion liquid into the polymer solution, and continuously stirring to obtain a uniform membrane casting solution; base membrane forming: coating a polyphenylene sulfide supporting net with the membrane casting solution, standing at room temperature, and drying in a drying oven to obtain a composite base membrane; and surface modification: sequentially dipping the composite base membrane in a first organic alkali solution and a second organic alkali solution, washing with a solvent after each dipping, and obtaining the functional composite diaphragm after washing.

一种碱性电解水制氢阵列自适应优化运行方法和装置

NºPublicación:  CN121381080A 23/01/2026
Solicitante: 
华电电力科学研究院有限公司
CN_121381080_PA

Resumen de: CN121381080A

本发明涉及电解水制氢技术领域,公开了一种碱性电解水制氢阵列自适应优化运行方法和装置,本发明通过实时获取并分析各电解槽的运行参数,系统能够动态生成精确的健康状态值,实现了对电解槽性能衰减的实时感知与量化评估;在此基础上,结合风光预测功率与系统需求所确定的总功率,以及基于安全运行边界确定的阵列目标工况,系统能够依据各电解槽的健康度进行前瞻性的运行状态调配。这不仅将运维模式从“故障后被动处理”转变为“衰退前预见性维护”,还有效规避了非健康槽的过载运行风险,同时优化了健康槽的负载分配,从而在保障系统安全稳定、延长电解槽整体寿命的同时,显著提升了制氢阵列的运行效率与经济性。

一种仿生叶脉式PEM电解池极板及方法

NºPublicación:  CN121381002A 23/01/2026
Solicitante: 
中国科学院长春应用化学研究所
CN_121381002_PA

Resumen de: CN121381002A

本发明提供了一种仿生叶脉式PEM电解池极板及方法,涉及PEM电解水制氢技术领域,电解池极板包括极板、主脉通道、侧脉通道、毛细脉通道、进水管和出水管,通过主脉通道、侧脉通道和毛细脉通道的平滑过渡、分级传输结构设计,使主脉通道承担主流体输送,侧脉通道实现二次分流,毛细脉通道延伸至极板全域,有效面积利用率≥95%,从原理上适配流体运动规律,降低转向阻力与涡流损耗,提升有效面积利用率,同时仿生分级结构使最大静压损失较传统蛇形流道降低40%以上,达到了低阻力的目的,流体在成对的极板中相对形成的闭合流道内的流速分布均匀,解决了现有流道结构存在流道阻力大、传质均匀性差、有效面积利用率低的技术问题。

一种基于Ce-FeCo-LDH/NF的电催化分解水催化剂的制备方法

NºPublicación:  CN121381037A 23/01/2026
Solicitante: 
南昌航空大学
CN_121381037_PA

Resumen de: CN121381037A

本发明公开了一种基于Ce‑FeCo‑LDH/NF的电催化分解水催化剂的制备方法,所述制备方法以泡沫镍(NF)为基底,通过原位生长得到Ce‑FeCo‑LDH/NF,本发明所制备的Ce‑FeCo‑LDH/NF催化剂可以高效地进行电催化分解水反应并且制备方法简单,成本低,适用大面积推广应用。

Crackless alloy capable of achieving double homogenization through 3D printing and preparation method and application of crack-free alloy

NºPublicación:  CN121380626A 23/01/2026
Solicitante: 
NORTHWESTERN POLYTECHNICAL UNIV
RESEARCH & DEVELOPMENT INSTITUTE OF NORTHWESTERN POLYTECHNICAL UNIV IN SHENZHEN
\u897F\u5317\u5DE5\u4E1A\u5927\u5B66,
\u897F\u5317\u5DE5\u4E1A\u5927\u5B66\u6DF1\u5733\u7814\u7A76\u9662
CN_121380626_PA

Resumen de: CN121380626A

The invention relates to the technical field of 3D printing, in particular to a crack-free alloy for achieving double homogenization through 3D printing and a preparation method and application of the crack-free alloy. The method comprises the steps that a metal salt precursor and a photosensitive resin solution are prepared; uniformly mixing the metal salt precursor with the photosensitive resin solution to form resin ink; a 3D printing structure is obtained based on resin ink and by means of the digital light processing 3D printing technology; sequentially sintering the 3D printing structure according to a preset temperature gradient to obtain a metal oxide; the metal oxide is treated for 4-8 h at the temperature of 800-1200 DEG C, mixed gas of hydrogen and argon is introduced, heat preservation is conducted for 5-10 h at the temperature of 400-800 DEG C, and the crack-free alloy is obtained. According to the method, the cracking phenomenon in the sintering process is reduced, and the sintered alloy structure is smooth and flat in surface and compact in microstructure.

一种316L不锈钢基NiFe催化剂、其制备方法及用途

NºPublicación:  CN121381053A 23/01/2026
Solicitante: 
宿迁绿能氢创科技有限公司
CN_121381053_A

Resumen de: CN121381053A

本发明提供一种316L不锈钢基NiFe催化剂、其制备方法及用途,所述316L不锈钢基NiFe催化剂的制备方法包括以下步骤:配置硝酸镍、硝酸铁和草酸的混合水溶液;将洁净的316L不锈钢基底浸入含有硝酸镍、硝酸铁和草酸的混合水溶液中;维持体系在60‑90℃常压条件下反应6‑12小时;反应结束后,取出产品,经去离子水、乙醇超声洗涤后,25‑80℃真空干燥,得到316L不锈钢基NiFe催化剂。本发明通过一步低温常压浸渍法在316L不锈钢基底上原位生长高性能NiFe(C2O4)2(OH)催化剂,该催化剂适用于工业级绿氢制备系统的阳极析氧反应。

一种碱水电解制氢隔膜及其制备方法

NºPublicación:  CN121381077A 23/01/2026
Solicitante: 
天津工业大学
CN_121381077_PA

Resumen de: CN121381077A

本发明公开一种碱水电解制氢隔膜及其制备方法,属于隔膜制备技术领域。包括以下步骤:将聚砜与聚苯并咪唑溶解于N,N‑二甲基乙酰胺中,在室温下搅拌、消泡,得到均相铸膜液;将所得铸膜液均匀倾倒于洁净干燥玻璃板前端,刮涂,形成液态膜;液态膜在空气中暴露后,转移至异丙醇与去离子水的混合凝固浴中发生相转化,剥离固化隔膜,依次经去离子水浸泡除残余溶剂、30wt%的KOH溶液离子溶剂化,得到西瓜皮仿生多孔复合膜,即碱水电解制氢隔膜。本发明通过创新设计制备工艺与结构,突破现有碱性电解制氢隔膜“高离子传导性与高耐久性难以兼顾”的技术瓶颈,在结构性能、电化学效能、环境适应性及长期服役稳定性等方面展现多维度优势。

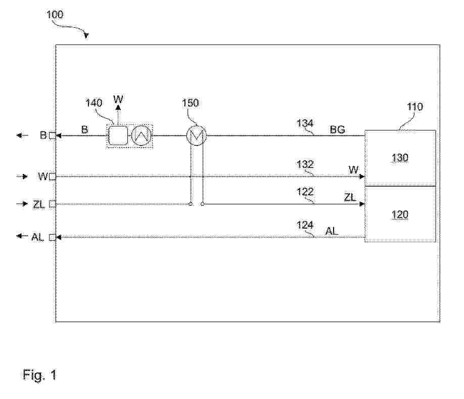
水电解用电极、水电解用阳极、水电解用阴极、水电解单元和水电解装置

NºPublicación:  CN121399297A 23/01/2026
Solicitante: 
松下知识产权经营株式会社
CN_121399297_PA

Resumen de: WO2024262443A1

This electrode 1 for water electrolysis comprises a conductive base material 10 and a layered double hydroxide layer 20. The catalyst layer 20 is provided on the surface of the conductive base material 10. The layered double hydroxide layer 20 comprises a roughness layer 20r. With respect to the layered double hydroxide layer 20, the ratio Ptr of the thickness t20r of the roughness layer 20r to the thickness t20 of the layered double hydroxide layer 20 is 4.8% or more.

电化学反应堆和用于这样的反应堆的装配组件

NºPublicación:  CN121399743A 23/01/2026
Solicitante: 
罗伯特·博世有限公司
KR_20260002996_PA

Resumen de: WO2024223362A1

The invention provides an electrochemical stack (1) comprising a plurality of electrochemical cells (2) oriented horizontally and arranged between a top plate (4) and a bottom plate (3) of the stack (1), wherein the top plate (4) and the bottom plate (3) are braced relative to one another by a bracing means (5). At least one connection for supplying gaseous and/or liquid media to or removing them from the electrochemical cells (2) is provided on the top plate (4). The top plate (4) has suspension means (17) configured to fasten the electrochemical stack (1) to a frame (15), wherein the bottom plate (3) is free-floating. The mounting assembly for mounting the electrochemical stack comprises a frame (15), on which the electrochemical stack (1) rests with its suspension means (17) such that the bottom plate (3) is free-floating and the electrochemical cells (2) are oriented horizontally.

一种具有近红外光响应的多形貌钛酸锶光催化剂及其制备方法与产氢应用

NºPublicación:  CN121372384A 23/01/2026
Solicitante: 
淄博职业技术大学

Resumen de: CN121372384A

本发明公开了一种具有近红外光响应的多形貌钛酸锶光催化剂及其制备方法与产氢应用,通过水热法合成不同形貌的钛酸锶前驱体,将钛酸锶前驱体在保护性气氛下进行热处理,实现表面碳化,得到具有近红外光响应的多形貌钛酸锶光催化剂。本发明通过选择不同钛源与反应条件,可定向合成介孔微球、立方相、树枝状等多种形貌的钛酸锶,满足了不同应用场景对催化剂结构的需求。表面碳化处理在SrTiO3表面引入了缺陷和新的能级,使其光响应范围成功拓展至近红外区,能高效利用近红外光进行光解水制氢,具有广阔的应用前景。

一种NiFePS/Co-ZIF-67电催化剂及制备方法和应用

NºPublicación:  CN121381071A 23/01/2026
Solicitante: 
许继集团有限公司西安交通大学

Resumen de: CN121381071A

本发明提供一种NiFePS/Co‑ZIF‑67电催化剂及制备方法和应用,所述NiFePS/Co‑ZIF‑67电催化剂是原位生长于泡沫镍上的Co‑ZIF‑67纳米片堆叠NiFePS纳米球的三维复合纳米结构。所述NiFePS/Co‑ZIF‑67电催化剂被用作双功能电催化剂全解水时展现优异的双功能全解水性能,在HER、OER、全解水的条件下,具备良好的催化稳定性。

耐高压差及抗波动运行的碱性电解水制氢系统及实现方法

NºPublicación:  CN121380977A 23/01/2026
Solicitante: 
山东海氢能源科技有限公司

Resumen de: CN121380977A

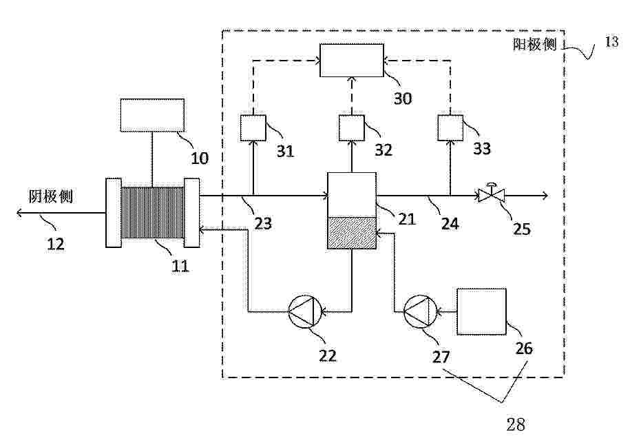
本申请公开了一种耐高压差及抗波动运行的碱性电解水制氢系统,包括氢分离器、氧分离器,氢分离器和氧分离器之间设有电解槽;所述碱性电解水制氢系统还包括碱液循环单元,碱液循环单元包括相互独立的氢侧循环回路和氧侧循环回路,氢侧循环回路连接氢分离器和电解槽,氧侧循环回路连接氧分离器和电解槽。具有以下优点:以解决传统系统压差容忍度低、负载响应能力不足的问题,显著提升系统在波动工况下的运行稳定性和安全性。

铂-镍基氧化物-碳化钨复合自支撑电极制备方法及应用

NºPublicación:  CN121381039A 23/01/2026
Solicitante: 
浙江工业大学

Resumen de: CN121381039A

本发明提供一种铂‑镍基氧化物‑碳化钨复合自支撑电极,以钨片与铂片并联作为阳极,以镍片作为阴极,阳极与阴极间距为2~3cm,以盐酸水溶液为电解液,在恒定电压15~25V、温度40~60℃的条件下进行电化学阳极氧化和阴极电沉积耦合反应3~5h,在阴极沉积得到所述的铂‑镍基氧化物‑碳化钨复合自支撑电极的前驱体,将前驱体置于氢气与甲烷的混合气体氛围下,在500~800℃温度下进行高温还原碳化反应0.5~5h,得到铂‑镍基氧化物‑碳化钨复合自支撑电极;本发明制备工艺简单、操作安全,铂负载量低,经济效益高,易于通过控制电化学反应条件和烧炉条件来实现催化剂结构、组成和粒径的调控,从而提高复合自支撑电极的电催化活性和稳定性,具有广阔的工业化应用前景。

一种Ni/NiO@RE2O3/C纳米催化剂及其百克级制备方法和应用

NºPublicación:  CN121372429A 23/01/2026
Solicitante: 
厦门大学
CN_121372429_PA

Resumen de: CN121372429A

本发明属于AEMWE催化应用领域,具体涉及一种Ni/NiO@RE2O3/C纳米催化剂及其百克级制备方法和应用。本发明提供的Ni/NiO@RE2O3/C纳米催化剂的百克级制备方法包括将乙酰丙酮镍和稀土醋酸盐以及碳载体于溶剂中超声分散均匀,再将所得分散液加热搅拌至蒸干后研磨,之后将研磨物于含氢气体中煅烧,以使得乙酰丙酮镍转变成Ni和NiO,且稀土醋酸盐转变为稀土氧化物。采用该方法可以实现Ni/NiO@RE2O3/C纳米催化剂的百克级规模制备,且所得Ni/NiO@RE2O3/C纳米催化剂可以显著提升碱性HER产氢效率,在AEMWE的MEA上展现出优异的电催化性能。

Electricity-heat-hydrogen comprehensive energy system based on thermochemical energy storage

NºPublicación:  CN121382357A 23/01/2026
Solicitante: 
XIAN THERMAL POWER RES INSTITUTE CO LTD
HUANENG WUHAN POWER GENERATION CO LTD
\u897F\u5B89\u70ED\u5DE5\u7814\u7A76\u9662\u6709\u9650\u516C\u53F8,
\u534E\u80FD\u6B66\u6C49\u53D1\u7535\u6709\u9650\u8D23\u4EFB\u516C\u53F8
CN_121382357_PA

Resumen de: CN121382357A

The invention discloses an electricity-heat-hydrogen comprehensive energy system based on thermochemical energy storage, which is characterized in that an outlet of a thermodynamic cycle system is communicated with an inlet of a steam turbine, a steam extraction opening of the steam turbine is communicated with a shell side inlet of a thermochemical reactor, a shell side outlet of the thermochemical reactor is communicated with an inlet of a solid oxide electrolytic tank, and a shell side outlet of the solid oxide electrolytic tank is communicated with a shell side outlet of the steam turbine; a hydrogen outlet of the solid oxide electrolytic tank is communicated with an inlet of the hydrogen storage tank, an oxygen outlet of the solid oxide electrolytic tank is communicated with an inlet of the oxygen storage tank, an outlet of the hydrogen storage tank is communicated with an inlet of the combustion chamber, an outlet of the oxygen storage tank is communicated with an inlet of the combustion chamber, and an outlet of the combustion chamber is communicated with an inlet of the steam turbine. By means of the system, a unit can better absorb new energy for power generation, and stable operation of a power grid is kept.

Nanoparticles, use thereof and method for producing metal nanoparticles

NºPublicación:  CN121398905A 23/01/2026
Solicitante: 
UNIV OF HELSINKI
\u8D6B\u5C14\u8F9B\u57FA\u5927\u5B66
CN_121398905_PA

Resumen de: CN121398905A

In the present invention, there is provided a nanoparticle comprising a plasmon metal and a catalytic metal, characterized in that: both the plasmon metal and the catalytic metal exist on the surface of the nanoparticle; wherein the nanoparticles comprise from 0.1 wt% to 5 wt% of the catalytic metal; and wherein the catalytic metal is capable of catalyzing a hydrogen evolution reaction. The invention also relates to a preparation method and application of the nanoparticles.

一种PtNiCo纳米颗粒负载的碳纤维自支撑高效析氢催化材料

NºPublicación:  CN121381035A 23/01/2026
Solicitante: 
浙江理工大学

Resumen de: CN121381035A

本发明公开了一种PtNiCo纳米颗粒负载的碳纤维自支撑高效析氢催化材料,采用静电纺丝、滴定和焦耳热冲击技术制备得到,将PtNiCo纳米颗粒均匀分散到高导电性的NiCo/CNFs上,这两者之间的界面电荷重分配诱导的电子金属‑载体相互作用,优化了合金部位的氢解吸动力学,引发了氢溢出效应,从而促进了氢的析出。本发明制备的催化材料在减少贵金属的同时也能显著催化性能提升,在碱性电解质中具有优异的HER的催化活性,以及具有良好的稳定性和耐久性。

基于1,4,7,10-四氮杂环十二烷的镍配合物及应用

NºPublicación:  CN121378352A 23/01/2026
Solicitante: 
华南理工大学
CN_117050116_PA

Resumen de: CN117050116A

The invention relates to the technical field of catalysis of tetraazacyclo nickel complexes, and particularly discloses a nickel complex based on 1, 4, 7, 10-tetraazacyclo dodecane and application of the nickel complex in catalytic hydrogen production. According to the invention, a mononuclear nickel complex Ni (cyen) Cl Cl, a binuclear nickel complex Ni (cyen) Cl2Ni (cyen) Cl and a tetranuclear nickel complex Ni (cyen) (SCN) 3Ni2 (SCN) 3Ni (cyen) are synthesized; under the condition that the overpotential (OP) is 837.6 mV, NiL1, Ni2L2 and Ni4L3 electro-catalyze hydrogen evolution of neutral water at the turnover frequencies (TOF) of 956.44, 1989.45 and 2675.25 mol per mole of catalyst per hour (mol H2/mol catalyst/h) respectively. The result shows that Ni4L3 has higher H2 generation activity than Ni2L2 and NiL1. Electrochemical testing and analysis are carried out on the catalyst, and the hydrogen production catalysis mechanism of the catalyst is researched.

一种Pt@TpBTTBpy-COF复合材料的制备及光催化全解水性能研究

NºPublicación:  CN121372493A 23/01/2026
Solicitante: 
哈尔滨理工大学

Resumen de: CN121372493A

本发明涉及一种Pt@TpBTTBpy‑COF复合材料的制备及其光催化全解水性能应用。本发明的目的是为了解决普通的二组分COFs光催化剂存在的光生电子‑空穴复合,太阳光利用率低等问题,因此提供了三个单体构成的三组分COFs材料的制备方法:首先将含有Pt NPs的正丁醇溶液,1,3,5‑三醛基间苯三酚,苯并1,2‑B:3,4‑B':5,6‑B'三噻吩‑2,5,8‑三醛,5,5‑二氨基‑2,2‑联吡啶与邻二氯苯、正丁醇和醋酸混合均匀,超声处理后,在液氮浴中进行三次冻融循环脱气,密封后于120℃中加热72h,过滤并用四氢呋喃洗涤数次,干燥得到Pt@TpBTTBpy‑COF材料。本发明的制备过程简单有效,单体和溶剂比例恰到好处;且本发明提供的光催化剂能够有效提高太阳光利用率,增强光催化全解水的效率和稳定性。实验表明该复合材料具有优异的光催化全解水性能,在可见光照射下全解水产氢速率可达到286.4μmol·h‑1·g‑1,产氧速率可达到143.2μmol·h‑1·g‑1。

一种紫叶李叶提取物在抑制活泼金属粉尘遇水产氢中的应用

NºPublicación:  CN121376907A 23/01/2026
Solicitante: 
东北大学

Resumen de: CN121376907A

本发明涉及一种紫叶李叶提取物在抑制活泼金属粉尘遇水产氢中的应用,属于湿式除尘系统金属制氢爆炸防治领域。本发明以可再生植物资源紫叶李叶为原料,通过简易水基萃取工艺开发出高效、无毒、低成本的工业级氢气惰化剂,其能够有效抑制湿式除尘系统中活泼金属粉尘的遇水产氢行为,防止系统中因氢气积聚而产生气体爆炸。本发明提供的紫叶李叶提取物作为湿式除尘系统氢气爆炸惰化剂具有经济性、环保性和可降解性的特点。

手性过渡金属氢氧化物自旋催化剂及其制备方法和应用

NºPublicación:  CN121381022A 23/01/2026
Solicitante: 
北京科技大学

Resumen de: CN121381022A

本发明公开一种手性过渡金属氢氧化物自旋催化剂及其制备方法和应用,属于无机非金属能源材料技术领域。制备方法包括将过渡金属元素源和手性诱导剂溶于去离子水中,搅拌后缓慢加入碱液调节pH值,得浸渍液;将预处理的载体浸入浸渍液中,进行水热反应,冷却至室温,取出载体,依次用去离子水和无水乙醇洗涤,干燥,得手性过渡金属氢氧化物自旋催化剂。本发明提供的手性过渡金属氢氧化物自旋催化剂作为电极材料在电催化氧析出反应中的应用。本发明提供的手性过渡金属氢氧化物自旋催化剂具有优异的自旋选择性和高电催化析氧活性,对开发高效电解水制氢催化剂、提升清洁能源转化效率意义重大。

Electrochemical energy storage collaborative storage method, device and equipment of integrated energy system

Nº publicación: CN121395470A 23/01/2026

Solicitante:

HUADIAN ELECTRIC POWER RES INSTITUTE CO LTD
TSINGHUA SHENZHEN INT GRADUATE SCHOOL
\u534E\u7535\u7535\u529B\u79D1\u5B66\u7814\u7A76\u9662\u6709\u9650\u516C\u53F8,
\u6E05\u534E\u5927\u5B66\u6DF1\u5733\u56FD\u9645\u7814\u7A76\u751F\u9662

CN_121395470_PA

Resumen de: CN121395470A

The invention discloses an electrochemical energy storage collaborative storage method, device and equipment for an integrated energy system, and relates to the technical field of energy collaborative control, and the method comprises the steps: obtaining a parameter value of a measurement parameter for switching electrochemical energy storage to hydrogen production operation; identifying the parameter type of the acquired measurement parameter, wherein the parameter type comprises the residual electric quantity generated by electrochemical energy storage, the net income of transmitting the residual electric quantity from an electric quantity production place to an electric quantity supply place for selling, and the hydrogen production efficiency of converting the residual electric quantity into hydrogen; in combination with the three parameter types mentioned above, when the obtained parameter values meet the triggering conditions of one and/or multiple parameter types of the three parameter types, electrochemical energy storage is switched into hydrogen production operation, so that the specific parameter values can be obtained, and the hydrogen production efficiency can be improved. The specific numerical value of the parameter value of the measurement parameter is determined, so that the electrochemical energy storage operation is switched into the hydrogen production operation under different specific triggering conditions.

traducir