Ministerio de Industria, Turismo y Comercio LogoMinisterior
 

Alerta

Resultados 947 resultados
LastUpdate Última actualización 18/03/2026 [07:08:00]
pdfxls
Publicaciones de solicitudes de patente de los últimos 60 días/Applications published in the last 60 days
previousPage Resultados 775 a 800 de 947 nextPage  

Multi-energy collaborative optimization method for fusion of offshore wind power plant cluster collection system

NºPublicación:  CN121395348A 23/01/2026
Solicitante: 
GUANGZHOU INST OF ENERGY CONVERSION CHINESE ACADEMY OF SCIENCES
\u4E2D\u56FD\u79D1\u5B66\u9662\u5E7F\u5DDE\u80FD\u6E90\u7814\u7A76\u6240
CN_121395348_PA

Resumen de: CN121395348A

The invention discloses a multi-energy collaborative optimization method for an offshore wind plant cluster collection system, and the method comprises the steps: building a corresponding energy storage equipment model, a hydrogen load matching strategy, a hydrogen energy income model, and a wind power-controllable load collaborative model through the fusion of multi-energy equipment, and taking a multi-energy coupling model as a new optimization variable. Constructing a collaborative optimization mechanism for the collection system, wherein the collaborative optimization mechanism comprises a power collaborative distribution mechanism and an equipment capacity and collection system matching mechanism; taking the comprehensive benefit of the power transmission line as an optimization target of the collection system, establishing a collection system constraint and a multi-energy equipment constraint, and forming an optimization target system; and finally, based on the optimization target system, solving the optimal collaborative topology of the collection system by adopting an improved genetic algorithm based on a dynamic variable weight minimum spanning tree. An offshore wind power cluster collection system is combined with multi-energy equipment, the optimal collaborative topology of the system is solved, and the wind curtailment cost is further reduced and the comprehensive benefits of the system are improved by stabilizing residual fluctuation through energy storage and ab

一种非贵金属Ni基析氧催化剂的制备方法及应用

NºPublicación:  CN121381062A 23/01/2026
Solicitante: 
河南科技大学
CN_121381062_PA

Resumen de: CN121381062A

本发明公开了一种非贵金属Ni基析氧催化剂的制备方法及应用。本发明所提供的催化剂包括硒化镍纳米颗粒和负载于所述硒化镍纳米颗粒表面的石墨烯量子点;其中,所述石墨烯量子点和所述硒化镍纳米颗粒的质量比为(1~8):50。本发明通过简单的水热反应便可在硒化镍表面负载石墨烯量子点,不但制备方法简便,而且制得的催化剂在降低成本的同时能够大幅度的降低析氧反应的过电位,在阴离子交换膜电解槽中具有较高的电化学性能和稳定性,具有广阔的应用前景。

一种PEM电解水制氢过程中的关键参数监测及预警方法

NºPublicación:  CN121385502A 23/01/2026
Solicitante: 
华电重工机械有限公司
CN_121385502_PA

Resumen de: CN121385502A

本发明涉及制氢系统的电性能测试技术领域,公开了一种PEM电解水制氢过程中的关键参数监测及预警方法。该方法包括:向电解槽注入复合激励信号,其振幅与实时工作电流密度、平均温度相关;采集多维度运行参数,对电压响应信号进行时频域联合处理得到时频谱图;基于时频谱图提取实时谐波失真特征向量及阻抗变化量,计算与基准向量的频谱偏移量,结合频段能量比判定故障倾向类型及区域;拼接特征向量经轻量化人工智能模型推理输出故障概率分布,执行分级预警。本发明通过多信号激励与多维参数融合分析,提升故障识别的及时性与准确性,实现电解槽运行状态的精准监测与分级预警,保障制氢过程稳定可靠。

AEMWE电解槽用共晶高熵合金基气体扩散层及制备方法

NºPublicación:  CN121373468A 23/01/2026
Solicitante: 
天津理工大学
CN_121373468_PA

Resumen de: CN121373468A

本发明属于电解水制氢技术领域,公开了一种AEMWE电解槽用共晶高熵合金基气体扩散层及制备方法,该方法采用气雾化法制备成分为AlFeCoCrNi2.1的共晶高熵合金球形粉末;通过SLM工艺在优化参数下建立具有三维仿晶格超结构的模型;采用选区激光熔化技术,将共晶高熵合金球形粉末根据所述模型一体化成形为气体扩散层构件后进行热处理和电化学脱合金处理,以在表面形成三维双连续纳米多孔结构。本发明将新颖的高熵合金、先进的SLM增材制造技术、结构设计理念以及系统的后处理工艺相结合,成功地创造出性能优异、结构可控、制备可靠的新型EHEA基气体扩散层,推动了高性能电解水装置的发展,为产业化应用奠定了坚实的基础。

一种用于PEM膜电极的铱合金催化剂及其制备方法

NºPublicación:  CN121381032A 23/01/2026
Solicitante: 
山海氢(上海)新能源科技有限公司
CN_121381032_PA

Resumen de: CN121381032A

本发明属于水电解制氢技术领域,具体涉及一种用于PEM膜电极的铱合金催化剂及其制备方法。制备方法包括:将氯铱酸、非贵过渡金属或镧系元素的可溶性盐、熔盐研磨混合均匀,在空气气氛下煅烧,经冷却、水洗后得到铱合金催化剂。本发明显著缩短了合成周期,且能够获得性能优异且稳定的PEM阳极催化材料。

氢载体存储容器和副产物存储容器

NºPublicación:  CN121399032A 23/01/2026
Solicitante: 
佳能株式会社
CN_121399032_PA

Resumen de: JP2025004800A

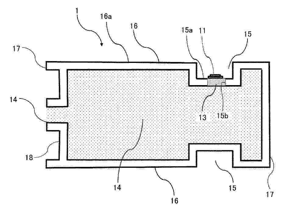
To provide a configuration that can suppress a rise in the pressure inside a storage container 1 for storing a hydrogen carrier or a by-product, even if keeping storage containers 1 in a manner of stacking them in the vertical direction or lay out them in the horizontal direction or the front-rear direction.SOLUTION: A pair of plane parts 16 are provided on two opposite outer wall surfaces of a storage container 1 in at least either of the vertical direction, the horizontal direction, and the front-rear direction in an installation state of the storage container 1. A recessed portion 15 is formed in a portion of at least one 16 of the pair of plane parts 16, and is formed so as to be recessed inward from another portions 16a of the plane part 16, and such that at least a part of the recessed portion is in communication with the outside of the plane part 16 in a direction along the plane part 16. A relief valve 11 is provided in the recessed portion 15, and automatically opens when the pressure inside a storage part 14 for storing a hydrogen carrier exceeds a predetermined value to release a gas inside the storage part 14 to the outside.SELECTED DRAWING: Figure 2

一种用于海水电解的NiMoW阴极材料及其制备方法

NºPublicación:  CN121381016A 23/01/2026
Solicitante: 
湘潭大学
CN_121381016_PA

Resumen de: CN121381016A

本发明公开了一种用于海水电解的高稳定性NiMoW多孔块体电极材料的制备方法,属于电催化材料技术领域。该方法以镍、钼、钨粉末为原料,采用高能湿式球磨法进行充分混合与合金化处理,随后通过真空烧结工艺获得NiMoW电极材料。所制得的电极具有不规则的多级孔隙分布,显著提升了在海水电解条件下的电化学催化活性和稳定性。实验结果表明,该电极在1 M KOH+1 M NaCl溶液中表现出较低的氢析出过电位,在100 mA/cm²电流密度下的过电位不超过290mV,适用于高效率海水电解制氢系统。

Intelligent regulation and control system for photoelectric flexible hydrogen production

NºPublicación:  CN121395525A 23/01/2026
Solicitante: 
SINOPEC STAR CO LTD
HANGZHOU HOLLYSYS AUTOMATION CO LTD
\u4E2D\u56FD\u77F3\u5316\u96C6\u56E2\u65B0\u661F\u77F3\u6CB9\u6709\u9650\u8D23\u4EFB\u516C\u53F8,
\u676D\u5DDE\u548C\u5229\u65F6\u81EA\u52A8\u5316\u6709\u9650\u516C\u53F8
CN_121395525_PA

Resumen de: CN121395525A

The invention provides an intelligent regulation and control system for photoelectric flexible hydrogen production. The system puts forward a multi-energy flow cooperative control concept in a breakthrough manner, constructs a multi-time scale and multi-space granularity source, network, load, storage and use cooperative optimization control model, carries out unified scheduling on new energy power generation power, electrolysis power, hydrogen storage pressure and hydrogen transmission flow, and ensures electric power balance and hydrogen balance. The system also fully considers the dynamic coupling characteristics of each process, avoids the problems of supply and demand imbalance and frequent adjustment of traditional single-process control, and realizes intelligent hydrogen production operation with high efficiency, low energy consumption and low cost.

嵌层锂/碳化钨纳米线复合材料及其制备方法与应用

NºPublicación:  CN121381048A 23/01/2026
Solicitante: 
河北大学
CN_121381048_A

Resumen de: CN121381048A

本发明提供了一种嵌层锂/碳化钨纳米线复合材料及其制备方法与应用。所述嵌层锂/碳化钨纳米线复合材料的结构是:锂离子嵌入碳化钨纳米线的内部晶格中。其制备方法是:首先在基底表面通过水热反应生长氧化钨纳米线前驱体;随后采用乙二胺作为碳化剂,将氧化钨纳米线转化为碳化钨纳米线结构;最后,将所得碳化钨纳米线置于含有六氟磷酸锂的电解液中,利用电化学锂调谐技术实现锂离子的嵌入,从而获得嵌层锂/碳化钨纳米线复合结构材料。本发明制备方法工艺流程简洁,安全性高,操作方便且成本低廉;所制备的复合结构在电催化性能方面表现优异,具有潜在的广泛应用价值。

一种基于仿生结构的氨裂解制氢膜反应器

NºPublicación:  CN121372295A 23/01/2026
Solicitante: 
吉林大学
CN_121372295_PA

Resumen de: CN121372295A

本发明适用于氨裂解制氢技术领域,提供了一种基于仿生结构的氨裂解制氢膜反应器,包括绝热外壳和设置于其内部的仿生反应器模块;所述仿生反应器模块包括主进气管道、中心管道以及多级反应支管,各级反应支管呈Y形分形拓扑结构,其内设有催化剂载体,并在分叉处连接有内置氢气选择性分离膜的氢气分离管道;反应支管外设有加热模块,分叉处布置有温度传感器、压力传感器及氢气浓度传感器。该装置通过仿生分形结构强化传热与反应,实现了反应‑分离一体化与过程智能调控,具有氨转化效率高、氢气回收率高、结构紧凑及运行稳定可靠等优点。

一种自适应电极配置优化方法及系统

NºPublicación:  CN121381011A 23/01/2026
Solicitante: 
东北电力大学
CN_121381011_A

Resumen de: CN121381011A

本发明公开了一种自适应电极配置优化方法及系统,其特征在于,包括以下步骤:1)将泡沫镍预处理;2)备Ru3+、Cu2+的第一溶液;3)将预处理后的泡沫镍多次浸泡在第一溶液中干燥煅烧,形成中间体1;4)将中间体1浸泡在Cu2+、Fe3+的第二溶液中;5)称取一定质量的尿素加入到第二溶液中,充分搅拌混合均匀,将其移入反应釜中,水热反应后,洗涤除杂,然后干燥整夜,形成中间体2;6)将中间体2置于马弗炉中,高温煅烧,得到自适应电极。本发明提出的分级多金属复合体系,兼具高分散活性位点、强基底结合力及可调电子结构特性,满足析氧/析氢双功能催化的自适应需求。

一种基于微区原电池的物相均一镍铁基析氧反应催化剂的制备方法

NºPublicación:  CN121381050A 23/01/2026
Solicitante: 
郅氢(上海)科技有限公司上海交通大学
CN_121381050_PA

Resumen de: CN121381050A

本发明涉及一种基于微区原电池的物相均一镍铁基析氧反应催化剂的制备方法。本发明将镍基金属基底放入铁盐溶液中浸泡,在镍基金属基底的表面生成羟基氧化铁,构筑微区原电池;再将铁盐溶液浸泡过的镍基金属基底置于包括螯合剂、镍盐、铁盐的混合溶液中,加热反应后取出干燥处理,即得物相均一镍铁基析氧反应催化剂。本发明利用三价铁盐水解在镍基金属基底上原位生成羟基氧化铁纳米颗粒,构建微区原电池体系,通过螯合剂精准调控三价铁离子水解速率,同步实现镍基底刻蚀与NiFe氢氧化物催化剂生成,合成物相均一、活性高、稳定性强的析氧反应(OER)催化剂,为高效电解水制氢提供低成本、绿色制备方案。

一种铱合金电解水催化剂及制备方法

NºPublicación:  CN121381033A 23/01/2026
Solicitante: 
中汽创智科技有限公司
CN_121381033_PA

Resumen de: CN121381033A

本发明公开了一种铱合金电解水催化剂及制备方法,将介孔碳载体与改性剂分散于第一溶剂中,混合并干燥,得到复合碳材料;在预设惰性气体气氛下,对所述复合碳材料进行第一热处理,冷却后得到改性碳材料;基于所述改性碳材料和铱合金前驱体溶液,得到所述铱合金电解水催化剂。本发明采用改性剂对介孔碳载体进行改性后,再负载铱合金,基于介孔碳空间限域效应耦合杂原子锚定效应的双效协同机制,能够有效提升铱合金电解水催化剂的电化学活性面积和催化活性,并降低制备成本。

一种外围紧固的碱性水电解槽

NºPublicación:  CN121381007A 23/01/2026
Solicitante: 
江苏双良氢能源科技有限公司
CN_121381007_PA

Resumen de: CN121381007A

本发明涉及碱性水制氢电解槽技术领域,具体涉及一种外围紧固的碱性水制氢电解槽,所述碱性水制氢电解槽包括由极板、中间极板、端极板、端压板、垫片、拉紧螺栓、碟簧、紧固螺母所组合而成,在碱性水制氢电解槽的本体外围增加设置有用于限制电解槽本体弯曲或扭曲变形从而保持电解槽本体平直度的刚性紧固加强结构。本发明通过对原有的电解槽增加外围刚性紧固加强结构,使电解槽在使用过程中因热胀冷缩产生的位移被强制限定在稳定的区域内,从而可以有效防止槽体发生弯曲、扭曲或错位,确保电解槽在整个运行过程中保持较高的平直度和结构完整性,由此提高了电解槽运行的可靠性。

金属镍/晶态金属氧化物析氢催化剂、制备方法及应用

NºPublicación:  CN121372431A 23/01/2026
Solicitante: 
上海氢阅科技有限公司
CN_121372431_PA

Resumen de: CN121372431A

本发明实施例公开了一种金属镍/晶态金属氧化物析氢催化剂、制备方法及应用,所述制备方法包括:将镍网的表面进行粗糙化处理得到第一中间产物;将镍铝合金喷涂于第一中间产物表面,并采用碱刻蚀的方式得到表面含有金属镍的镍网;将形成金属氧化物的前驱体盐溶解在溶剂中作为前驱体溶液,将表面含有金属镍的镍网放置在前驱体溶液中,通过水热合成的方式在金属镍表面生长金属氧化物,经过洗涤干燥后得到第二中间产物;将第二中间产物在惰性气体的气氛下进行热处理,再经过洗涤干燥后得到金属镍/晶态金属氧化物析氢催化剂。通过本发明实施例,可以解决现有催化剂催化活性差、稳定性低的问题。

一种光热蒸发-光催化产氢复合材料及其制备方法与应用

NºPublicación:  CN121372464A 23/01/2026
Solicitante: 
山东大学
CN_121372464_PA

Resumen de: CN121372464A

本发明提供了一种光热蒸发‑光催化产氢的系统,利用本发明提供的光热蒸发‑光催化产氢复合材料能够实现海水淡化的同时进行产氢,其中碳化木(表面碳化处理的木材)能够实现光热转化,蒸发海水获得水蒸气;水蒸气作为反应原料在光催化产氢催化剂表面参与产氢反应。本发明提供的光热蒸发‑光催化产氢复合材料不仅仅能够拓宽光谱吸收,将太阳光光谱的吸收波长扩展到了可见光和近红外区域;同时还减小了界面反应电阻,并优化了电子‑空穴的分离和转移,从而提高了光能利用率,进而提升了氢气的产量。

Coupling system based on deep dry hot rock stratum hydrogen storage and geothermal energy development and working method thereof

NºPublicación:  CN121382148A 23/01/2026
Solicitante: 
NORTHEAST ELECTRIC POWER UNIV
\u4E1C\u5317\u7535\u529B\u5927\u5B66
CN_121382148_PA

Resumen de: CN121382148A

The invention relates to the technical field of new energy development and energy storage, and discloses a coupling system based on deep ground dry hot rock stratum hydrogen storage and geothermal energy development and a working method thereof.The coupling system comprises a ground surface subsystem, a shaft subsystem and a dry hot rock reservoir; the earth surface subsystem comprises a hydrogen production unit, a hydrogen compression and injection module, a power generation combined heat and power supply unit, a gas separation and purification module and a central control system; the gas separation and purification module is connected with a power grid; the shaft subsystem comprises underground extraction equipment, a shaft conveying system and a ground wellhead device; the shaft conveying system comprises an injection well and a production well, the hot dry rock reservoir comprises a plurality of artificial fracture networks which are communicated with one another, and monitoring modules are installed in the artificial fracture networks. Large-scale hydrogen storage and hot dry rock development are combined, hydrogen storage and efficient geothermal extraction and conversion are synchronously achieved by means of the space, the high-temperature environment and the sealing performance of a hot dry rock reservoir, and the development problem of a hydrogen storage and enhanced geothermal system is solved.

一种基于裂纹诱导自钝化机制的镍钼阳极电极及其制备方法

NºPublicación:  CN121381064A 23/01/2026
Solicitante: 
哈尔滨工业大学
CN_121381064_PA

Resumen de: CN121381064A

本发明涉及一种基于裂纹诱导自钝化机制的镍钼阳极电极及其制备方法,该方法包括如下步骤:步骤一、将基底浸入A溶液中1min~25min后取出;步骤二、再将经过步骤一处理后的基底浸入B溶液中浸泡10min,得到前驱体;步骤三、将前驱体放入焦耳超快加热装置中,在空气或惰性气氛下,以大于等于100℃/min加热速率加热到380℃~450℃,并保温一定时间,冷却,得到镍钼阳极电极。该方法通过短时化学浸泡对泡沫镍三维骨架无结构性破坏,完美保留其原有的高孔隙率与互连网络,比表面积损失率降低。制备出的镍钼阳极电极利用裂纹边缘的自钝化效应与厚层的组分储备功能,将Mo溶解速率降低一个数量级,能实现低电流密度下千小时级稳定运行。

Hydrogen storage equipment for hydrogen production and hydrogenation all-in-one machine

NºPublicación:  CN121383092A 23/01/2026
Solicitante: 
GUANGZHOU POWER SUPPLY BUREAU GUANGDONG POWER GRID CO LTD
\u5E7F\u4E1C\u7535\u7F51\u6709\u9650\u8D23\u4EFB\u516C\u53F8\u5E7F\u5DDE\u4F9B\u7535\u5C40
CN_121383092_PA

Resumen de: CN121383092A

The invention relates to the technical field of hydrogen energy preparation, in particular to hydrogen storage equipment for a hydrogen production and hydrogenation all-in-one machine, which comprises a machine body, a hydrogen production machine module and a hydrogen storage module, the hydrogen storage module is fixed in the machine body, and the hydrogen storage module is composed of a plurality of gas storage tanks; the hydrogenation module is arranged at the top of the hydrogen storage module, the hydrogenation module is a filling pump, and the inlet end of the hydrogenation module is connected with the hydrogen storage module; the dynamic design that a rotating frame carries a multi-fan-shaped filter screen body is adopted in a filtering air inlet assembly of the hydrogen production machine module, efficient anti-blocking and continuous air inlet in the catkin season are achieved in combination with a brush disc cleaning structure of a cleaning assembly, the rotating frame drives a vertical rod to rotate through a driving motor, the filter screen body is driven to do circular motion through bevel gear transmission, and the filter screen body does circular motion; and meanwhile, the transverse rotating rod drives the brush disc to brush and sweep the surface of the filter screen in real time, it is guaranteed that holes are smooth, the air pump assembly stably sucks sufficient air so that the whole filling and storing equipment can normally operate, water electrolysis hy

一种非贵金属液体溶胶催化剂

NºPublicación:  CN121380978A 23/01/2026
Solicitante: 
厦门大学
CN_121380978_PA

Resumen de: CN121380978A

本发明涉及催化剂技术领域,具体公开了一种非贵金属液体溶胶催化剂,该催化剂通过三氟乙酰丙酮、环氧氯丙烷与特定离聚物PiperION‑A5的协同作用,实现了催化剂性能的显著提升,SAXS测试显示出了微观结构的独特优势,其利用TFA强吸电子能力带来的优异封端效应,成功将减小了初级粒子的平均粒径,并大幅减少聚集体占比,特定的离聚物通过分子间相互作用构建了离聚物‑催化剂桥联网络,这种桥联方式能够显著控制催化剂在浆料中的粒径大小、分散状态,这种显著优化的粒径控制和高度分散状态,使活性位点得以充分暴露,让本发明的催化剂表现出卓越的析氧反应(OER)催化性能,并在AEMWE工况测试中展现出明显的稳定性优势。

一种铋诱导的双层多金属氧化物电催化剂及含铋衍生副产物的制备方法和应用

NºPublicación:  CN121381059A 23/01/2026
Solicitante: 
新疆大学
CN_121381059_PA

Resumen de: CN121381059A

本发明公开了一种具有制备方法简单性能高,可稳定电解水制氢的电极材料同时公开了其衍生物用于制备净化废水光催化剂的制作方法,所述电催化剂的制备主要方法为利用稀盐酸刻蚀镍金属基底后,同时与铋源和钼酸盐一并溶于反应釜中进行水热合成,得到水热产物,将所得材料高温煅烧得到样品前驱体和部分副产物,最后重复一次反应得到具有高活性电极和相关副产物衍生物,将两个副产物混合高温煅烧研磨后得到第二段产物。本发明所制备的催化剂引入铋源作为添加剂,通过一步水热‑腐蚀‑生长法在NF基底上构建了NiMoO4/Fe2(MoO4)3复合薄膜层活性相,通过限域效应诱导活性相与NF骨架形成强界面结合,这不仅提高电子转移速率还通过降低活性相价带位置显著提升电极性能。制备流程操作简单,催化剂形貌可控,衍生副产物产生了更高的经济效益。

一种NiCo2S4-MoS2电化学催化剂及其制备方法和在碱性析氧反应中的应用

NºPublicación:  CN121381060A 23/01/2026
Solicitante: 
广东工业大学
CN_121381060_PA

Resumen de: CN121381060A

本发明属于电催化材料技术领域,公开了一种NiCo2S4‑MoS2电化学催化剂及其制备方法和在碱性析氧反应中的应用,该电化学催化剂是将Ni的前驱体、Co的前驱体、络合剂和CH4N2S混合在100~250℃反应,经清洗和真空干燥处理得到NiCo2S4;将Na2MoO4·2H2O、CH4N2S和还原剂加入去离子水制得混合溶液;再将混合溶液和NiCo2S4混合经超声,在120~250℃水热反应,经离心、洗净和干燥处理制得。本发明的电化学催化剂具有优异的电催化性能,仅需265~272 mV的过电位就可达到10 mA cm‑2的电流密度,在1 A的大电流下持续工作160 h,可应用在碱性析氧反应领域。

一种Co2P/RuP4@C复合电催化剂的制备方法及应用

NºPublicación:  CN121381054A 23/01/2026
Solicitante: 
聊城大学
CN_121381054_PA

Resumen de: CN121381054A

本发明公开了一种Co2P/RuP4@C复合电催化剂的制备方法,步骤如下:S1. 将有机膦酸BHMTPMPA、硝酸钴和尿素混合,溶于乙醇与水的混合溶液中,搅拌均匀;S2. 将上述混合溶液置于反应釜中,在140℃下反应24 h,冷却干燥后得到前驱体有机膦酸钴;S3. 将前驱体与不同体积的0.1M RuCl3·3H2O溶液混合,搅拌、洗涤、干燥;S4. 将上述产物与NaH2PO2·H2O在氮气气氛下进行高温磷化处理,得到Co2P/RuP4@C复合材料。该工艺简单、条件温和、重复性好。通过简单调控RuCl3溶液的加入量,即可有效调控催化性能,这种可控性对于工业化生产至关重要。该催化剂具有介孔与大孔并存的多级孔道结构,能提供较高比表面积和丰富活性位点的同时,还能缓解传质限制并促进气体释放,电催化析氢和析氧性能优异。

水电解用电极、水电解用阳极、水电解用阴极、水电解单元和水电解装置

NºPublicación:  CN121399298A 23/01/2026
Solicitante: 
松下知识产权经营株式会社
CN_121399298_PA

Resumen de: WO2024262442A1

A water electrolysis electrode 1 comprises a conductive substrate 10 and a layered double hydroxide layer 20. The conductive substrate 10 contains Ni. The layered double hydroxide layer 20 is provided on a surface of the conductive substrate 10. The layered double hydroxide layer 20 contains Ni. In an XRD pattern of the grazing incidence X-ray diffraction of the water electrolysis electrode 1, the ratio P003/P111 of the intensity P003 of the diffraction peak of the (003) plane of the layered double hydroxide to the intensity P111 of the diffraction peak of the (111) plane of Ni is 0.025 or less.

一种La掺杂两相异质结催化剂及其制备方法与应用

Nº publicación: CN121381052A 23/01/2026

Solicitante:

浙江理工大学

CN_121381052_PA

Resumen de: CN121381052A

本申请一实施例公开了一种La掺杂两相异质结催化剂,所述催化剂包括前驱体和非晶包覆层,所述非晶包覆层包裹所述前驱体的至少部分,所述前驱体为晶体相的La掺杂的Ni3S2,所述非晶包覆层为FeOOH。本申请具有良好的析氧性能。本发明还公开了La掺杂两相异质结催化剂的制备方法与应用。

traducir