Ministerio de Industria, Turismo y Comercio LogoMinisterior
 

Alerta

Resultados 902 resultados
LastUpdate Última actualización 04/11/2025 [06:56:00]
pdfxls
Publicaciones de solicitudes de patente de los últimos 60 días/Applications published in the last 60 days
previousPage Resultados 600 a 625 de 902 nextPage  

Livestock and poultry breeding wastewater treatment device based on dynamic bacterial-algae biological membrane and method and application of livestock and poultry breeding wastewater treatment device

NºPublicación:  CN120441104A 08/08/2025
Solicitante: 
ZHU YUNQIANG
YANTAI INSTITUTE OF COASTAL ZONE RES CHINESE ACADEMY OF SCIENCES
\u6731\u4E91\u5F3A,
\u4E2D\u56FD\u79D1\u5B66\u9662\u70DF\u53F0\u6D77\u5CB8\u5E26\u7814\u7A76\u6240
CN_120441104_PA

Resumen de: CN120441104A

The invention discloses a livestock and poultry breeding wastewater treatment device based on a dynamic bacterial-algae biological membrane and a method and application thereof, and relates to the field of livestock and poultry breeding tail water treatment. According to the biological treatment membrane bed unit, biological treatment and evaporation processes are creatively combined, and the system stability and the wastewater purification efficiency are remarkably improved. The unit is high in environmental adaptability and free of emission and peculiar smell during operation, the wastewater volume is effectively reduced, and the limitation of resource utilization of aquaculture wastewater is broken through. The biological membrane contains a plurality of microorganisms, including high-efficiency microorganisms added at the early stage and microorganisms captured from the environment, so that the operation and maintenance cost of equipment is reduced. Microalgae cells grow in the form of a biological membrane and are easy and convenient to harvest, and automatic continuous production is realized. According to the technology, organic waste in the breeding wastewater is recycled, the product is widely applied to multiple fields, the biological carbon sequestration function is achieved, and the carbon trapping device is low in cost, high in output value, green and environmentally friendly and assists in constructing a sustainable technical system and a circular economy mode.

High-yield glucose-secreting cyanobacteria and application thereof

NºPublicación:  CN120442677A 08/08/2025
Solicitante: 
QINGDAO INSTITUTE OF BIOENERGY AND BIOPROCESS TECH CHINESE ACADEMY OF SCIENCES
\u4E2D\u56FD\u79D1\u5B66\u9662\u9752\u5C9B\u751F\u7269\u80FD\u6E90\u4E0E\u8FC7\u7A0B\u7814\u7A76\u6240
CN_120442677_PA

Resumen de: CN120442677A

The invention relates to application of a cyanobacteria glucokinase inactivating agent in preparation of cyanobacteria with a glucose secretion function or high glucose yield. The invention further relates to cyanobacteria with a high glucose secretion function or high glucose yield and application of the cyanobacteria. Glucokinase in the cyanobacteria loses functions. According to the invention, glucokinase of cyanobacteria is knocked out, the mutant strain accidentally obtains the capacity of mass production of glucose and secretion of glucose to the outside of cells, the yield of glucose is increased by hundreds of times, the mutant strain provides possibility for subsequent industrial production of glucose by using cyanobacteria, and the mutant strain can be used for constructing a biological photovoltaic device, and has a wide application prospect. And glucose is continuously provided for the cathode cell and is used for being matched with a glucose oxidation electron transfer chain displayed extracellularly to generate reducing power and electrons, so that the light energy conversion efficiency is improved, and efficient transmembrane transfer of energy substances is realized.

Methods And Materials For Producing Recombinant Viruses In Eukaryotic Microalgae

NºPublicación:  AU2025203546A1 07/08/2025
Solicitante: 
RES INSTITUTE AT NATIONWIDE CHILDRENS HOSPITAL
Research Institute at Nationwide Children's Hospital
US_2024368528_A1

Resumen de: AU2025203546A1

The present invention is directed to methods and materials for producing recombinant viruses. In particular, methods and materials are provided for producing recombinant viruses in eukaryotic microalgae such as Chlamydomonas reinhardtii. Recombinant adeno- associated viruses are examples of recombinant viruses produced according to the invention. The present invention is directed to methods and materials for producing recombinant viruses. In particular, methods and materials are provided for producing recombinant viruses in eukaryotic microalgae such as Chlamydomonas reinhardtii. Recombinant adeno- associated viruses are examples of recombinant viruses produced according to the invention. ay h e p r e s e n t i n v e n t i o n i s d i r e c t e d t o m e t h o d s a n d m a t e r i a l s f o r p r o d u c i n g r e c o m b i n a n t v i r u s e s n a y p a r t i c u l a r , m e t h o d s a n d m a t e r i a l s a r e p r o v i d e d f o r p r o d u c i n g r e c o m b i n a n t v i r u s e s i n e u k a r y o t i c m i c r o a l g a e s u c h a s h l a m y d o m o n a s r e i n h a r d t i i e c o m b i n a n t a d e n o - a s s o c i a t e d v i r u s e s a r e e x a m p l e s o f r e c o m b i n a n t v i r u s e s p r o d u c e d a c c o r d i n g t o t h e i n v e n t i o n

ENCAPSULATION OF MICROALGAE IN HYDROGEL POLYMER AND HIGH-DENSITY ALGAL BIOMASS

NºPublicación:  WO2025166275A1 07/08/2025
Solicitante: 
UNIV OF WYOMING [US]
UNIVERSITY OF WYOMING
WO_2025166275_A1

Resumen de: WO2025166275A1

Aspects of the present disclosure generally relate to a new class of compositions that include microalgae encapsulated within a polymerized hydrogel. Aspects of the present disclosure also generally relate to high density algal biomass and to new processes for growing algal biomass. In an aspect is provided a composition that includes an encapsulant comprising a polymerized hydrogel, and microalgae encapsulated within the encapsulant. In another aspect, a process for encapsulating algae is provided. The process includes: introducing, to a device, a stream of core fluid comprising microalgae and a hydrogel precursor; contacting the stream of core fluid with two streams of a focusing fluid to form a thinner stream of core fluid comprising the microalgae and the hydrogel precursors, the focusing fluid having a different viscosity than the core fluid; and exposing the thinner stream of the core fluid to UV light to form a composition described herein.

NOVEL MICROALGAE AND USE FOR SAME

NºPublicación:  US2025250533A1 07/08/2025
Solicitante: 
JAPAN SCIENCE AND TECH AGENCY [JP]
JAPAN SCIENCE AND TECHNOLOGY AGENCY
US_2025243450_PA

Resumen de: US2025250533A1

Provided is an alga belonging to Cyanidiophyceae having a diploid cell and a haploid cell form. Also provided is a nutrient composition containing an alga belonging to Cyanidiophyceae or an extract thereof.

A METHOD FOR PREPARING AND SELECTING A POLYMERIC FLOCCULANT FOR USE IN HARVESTING MICROALGAE

NºPublicación:  EP4594369A1 06/08/2025
Solicitante: 
UNIV SYDNEY TECHNOLOGY [AU]
University of Technology Sydney
AU_2023350703_A1

Resumen de: AU2023350703A1

The present invention relates to a method for harvesting microalgae, the method comprising (i) mixing one or more monomers, a photoinitiator, water and a deoxygenation system to form a mixture; (ii) exposing the mixture to UV light so as to form an aqueous solution of one or more polymers; (iii) introducing the aqueous solution of one or more polymers to a suspension comprising microalgae in an amount sufficient to produce flocculated microalgae; and (iv) harvesting the flocculated microalgae. The present invention also relates to a method for preparing and selecting a polymeric flocculant for use in harvesting microalgae and a related apparatus.

PHOTOBIOREACTOR AND METHOD FOR GROWING MICROALGAL-TYPE BIOLOGICAL ORGANISMS

NºPublicación:  EP4594460A1 06/08/2025
Solicitante: 
IDPOC [FR]
IDPOC
WO_2024068658_PA

Resumen de: WO2024068658A1

The invention relates to a photobioreactor (1) for growing microalgal-type biological organisms, the growth being based on autotrophy under light that is essentially, or even exclusively, artificial, wherein the organisms grow in a nutrient-rich liquid substrate circulating in the photobioreactor, the photobioreactor comprising at least one cell (3) referred to as an illuminated cell, the photobioreactor (1) being characterized in that the illuminated cell (3) comprises at least one spiral-shaped transparent pipe and in that the illuminated cell (3) comprises at least two sections referred to as lighting sections which are associated with the transparent pipe and arranged on either side of the transparent pipe.

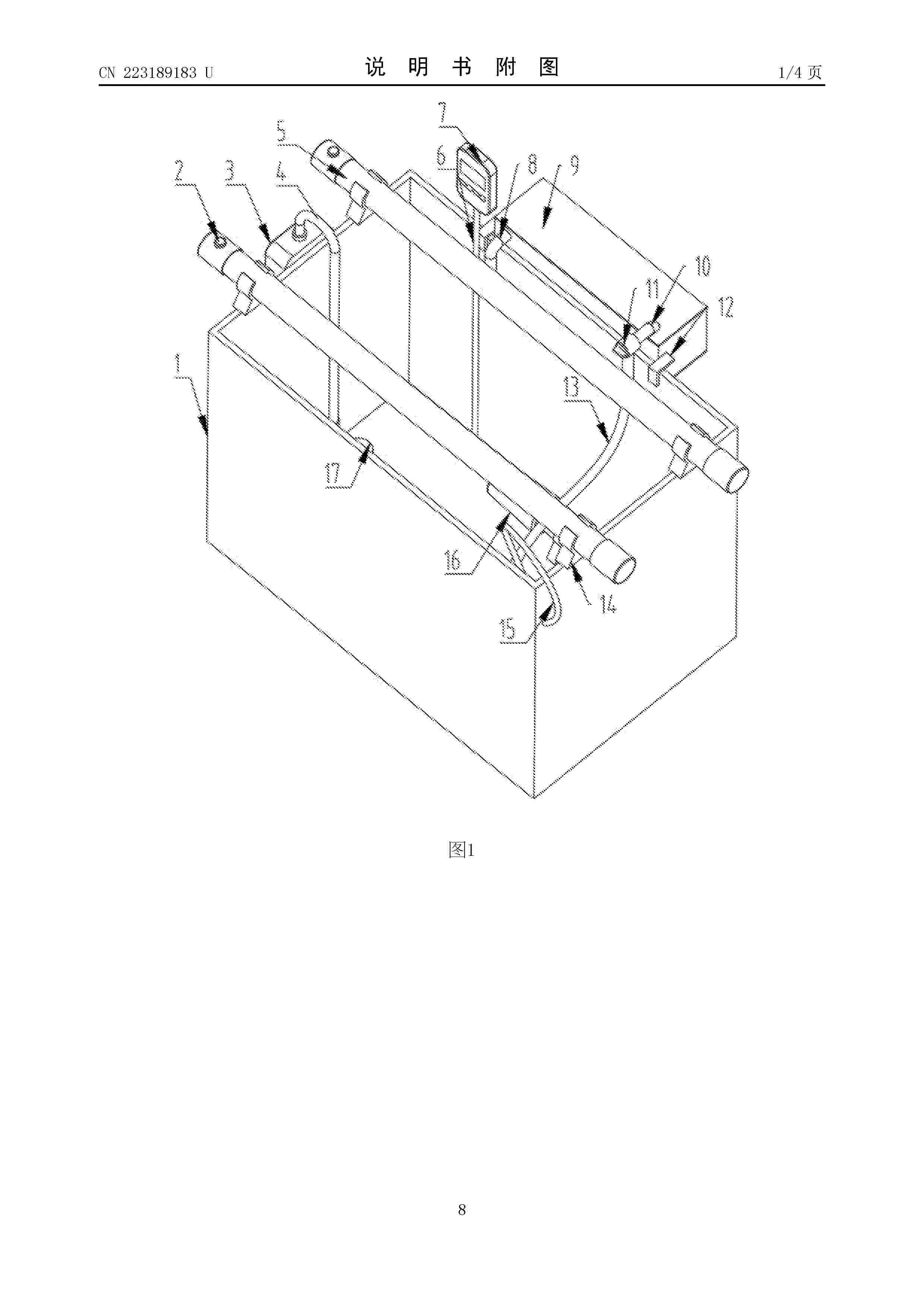
Indoor microalgae culture device

NºPublicación:  CN223189183U 05/08/2025
Solicitante: 
SHENZHEN ANDI NEW MATERIAL TECH CO LTD
\u6DF1\u5733\u5B89\u8FEA\u4E0A\u79D1\u65B0\u6750\u6599\u79D1\u6280\u6709\u9650\u516C\u53F8
CN_223189183_U

Resumen de: CN223189183U

The utility model discloses an indoor microalgae culture device, which belongs to the technical field of culture devices and comprises a box body for microalgae culture, the box body is of a square open structure, a light source structure is arranged at the top of the box body and comprises light wavelength adjusting buttons, a lamp tube and a fixer, and the light wavelength adjusting buttons are mounted at two ends of the lamp tube. The light wavelength adjusting button and the lamp tube are fixedly connected through a fixing device, and the lamp tube is fixed at the top end of the box body through the fixing device; the box body is provided with an aeration device, a temperature control device, a pH monitoring device and a water body circulating device, the growth conditions of microalgae can be accurately controlled and optimized, the wavelength of light generated by a lamp tube arranged on the device can be adjusted in a wide range, the optimal wavelength suitable for microalgae growth can be conveniently set, and the microalgae growth efficiency is improved. The design of the cuboid box body and the growth environment parameter adjusting system can realize water-saving culture of microalgae and promote formation of a microalgae biological membrane.

Functional unannotated protein CpsA and application thereof

NºPublicación:  CN120424182A 05/08/2025
Solicitante: 
SHANDONG NORMAL UNIV
\u5C71\u4E1C\u5E08\u8303\u5927\u5B66
CN_120424182_PA

Resumen de: CN120424182A

The invention discloses a function unannotated protein CpsA and application thereof, and belongs to the technical field of biochemistry. The CpsA protein provided by the invention is a thylakoid membrane protein which is coded by synpcc79421022 in synechococcus slender PCC 7942, and the function of the thylakoid membrane protein is not annotated. The protein can be specifically combined with an early PSII assembly factor Psb28, formation and stability of a PSII final oxygen evolution complex are promoted, and the assembly efficiency of a light system II and formation of a functional complex are remarkably improved. In addition, the CpsA protein is highly conserved in cyanobacteria, microalgae and land plants, and has wide application potential.

3 Carbon dioxide reduction device comprising three-dimensional porous hydrogel structures and microalgae and manufacturing method thereof

NºPublicación:  KR20250116963A 04/08/2025
Solicitante: 
경희대학교산학협력단
KR_20250116963_PA

Resumen de: KR20250116963A

본 발명은 3차원 다공성 하이드로겔 구조체 및 미세조류를 포함하는 이산화탄소 저감 장치 및 이의 제조방법에 관한 것으로, 이산화탄소를 흡수하고 산소 및 유기물을 생산할 수 있는 미세조류를 3차원 다공성 하이드로겔 구조체에 포함시킬 경우, 미세조류가 공기 중의 이산화탄소; 및 태양광에 노출되는 표면적이 증가하여 미세조류의 이산화탄소 흡수 속도가 증가하는 것을 확인함으로써, 이산화탄소 저감 장치로써 유용하게 활용될 수 있다.

WET TYPE AIR CLEANERS USING PHOTOSYNTHETIC MICROALGAE

NºPublicación:  KR20250116443A 01/08/2025
Solicitante: 
김산

Resumen de: KR20250116443A

광합성 미세조류를 이용한 습식 공기 청정기가 개시된다. 본 발명에 따른 광합성 미세조류를 이용한 습식 공기 청정기는, 광합성 미세조류를 포함하는 배양액을 수용하도록 구성되고, 한쪽에 제1 공기 유입구와 제1 공기 유출구가 구분되어 마련되며, 내측 상부에 상기 제1 공기 유입구와 상기 제1 공기 유출구를 구분하기 위한 격막이 마련된 빛 투과재질로 된 배양액 용기; 하부에 광촉매 필터를 구비한 거름부가 마련되고 일측 측벽에는 상기 제1 공기 유입구 및 상기 제1 공기 유출구에 각각 대응되는 제2 공기 유입구 및 제2 공기 유출구가 각각 마련되고, 일측면에는 상기 제2 공기 유입구와 연통되는 제3 공기 유입구가 마련되며, 타측면에는 상기 제2 공기 유출구와 연통되는 제3 공기 유출구가 마련되는 하우징; 및 상기 제3 공기 유입구로부터 유입되는 외부공기를 필터로 여과한 후 버블 발생기를 통하여 상기 제2 공기 유입구로 미세 버블을 공급하도록 구성되어 상기 하우징의 내부에 마련되는 공기 공급기를 포함하고, 외부공기가 상기 버블 발생기를 통하여 상기 배양액을 통과할 때 상기 광합성 미세조류의 광합성으로 이산화탄소가 소비되고, 미세조류의 광합성으로 생성된 산소가 배양액을 통과한 공기와 함께 상기 제3

System and method for scalable production of cyanobacteria biomass

NºPublicación:  IL321624A 01/08/2025
Solicitante: 
ALGAECORE TECH LTD [IL]
DACH BARUCH [IL]
SHAUDER LIOR [IL]
ALGAECORE TECHNOLOGIES LTD,
DACH Baruch,
SHAUDER Lior
IL_321624_A

Resumen de: WO2024134649A1

Method and system for producing edible filamentous fresh cyanobacteria biomass. A rotary drum filtration unit filters a cultivated cyanobacteria in a primary filtration to obtain a filtrated cyanobacteria biomass. The filtration unit includes a rotatable filtering drum including a filtration basket including a thermally coupled mesh netting, configured for retaining particles above a selected size when filtering drum is rotated. The filtrated cyanobacteria biomass is washed and neutralized using a solution introduced to the filtration unit during or after primary filtration. A pressing unit applies a pressing to the biomass to concentrate the solid content. Cultivated cyanobacteria may undergo initial microfiltration to remove large impurities prior to primary filtration. Cultivated cyanobacteria may initially be pumped from a cultivation vessel using a low-shear pump. Cyanobacteria biomass may undergo cooling prior to primary filtration. Pressed biomass may be packaged and frozen to produce a cyanobacteria product for edible consumption.

Method for improving astaxanthin produced by haematococcus pluvialis

NºPublicación:  CN120400290A 01/08/2025
Solicitante: 
TIANJIN UNIV OF SCIENCE & TECHNOLOGY
\u5929\u6D25\u79D1\u6280\u5927\u5B66
CN_120400290_PA

Resumen de: CN120400290A

The invention belongs to the field of industrial application of microalgae, and provides a method for improving astaxanthin produced by haematococcus pluvialis. Comprising the following steps: 1, culturing haematococcus pluvialis to a logarithmic phase; 2, the haematococcus pluvialis is diluted to a proper concentration, and a seed solution for producing astaxanthin from the haematococcus pluvialis is prepared; 3, respectively adding six pre-prepared inducers including creatine, glycine, 6-aminocaproic acid, glutamic acid, L-hydroxyproline and L-cysteine into the prepared haematococcus pluvialis liquid for induction; and 4, continuously filling sterile air into the haematococcus pluvialis liquid added with the inducer in a photobioreactor, culturing, and inducing haematococcus pluvialis cells to accumulate astaxanthin. The invention discloses a method for improving astaxanthin produced by haematococcus pluvialis. The haematococcus pluvialis can be promoted to accumulate a large amount of astaxanthin, and the production cycle of the astaxanthin is shortened. The method is easy to operate, high in efficiency, low in cost and completely suitable for industrial culture of haematococcus pluvialis.

Floating type offshore comprehensive utilization platform

NºPublicación:  CN120397179A 01/08/2025
Solicitante: 
HUANENG YANTAI NEW ENERGY CO LTD
HUANENG CLEAN ENERGY RES INSTITUTE
\u534E\u80FD\u70DF\u53F0\u65B0\u80FD\u6E90\u6709\u9650\u516C\u53F8,
\u4E2D\u56FD\u534E\u80FD\u96C6\u56E2\u6E05\u6D01\u80FD\u6E90\u6280\u672F\u7814\u7A76\u9662\u6709\u9650\u516C\u53F8
CN_120397179_PA

Resumen de: CN120397179A

The invention provides a floating type offshore comprehensive utilization platform. The floating type offshore comprehensive utilization platform comprises a floating body platform, a buoy, a supporting unit, a photovoltaic module, a microalgae culture bin, a circulating water tank and a rough machining tank, a plurality of buoys extending below the sea level are arranged at the bottom of the floating body platform, and supporting units are arranged between the buoys and the floating body platform; the microalgae cultivation bin is arranged below the sea level, and the microalgae cultivation bin is fixed to the supporting unit; the circulating water tank and the rough machining tank are both arranged on the floating body platform, the first output end of the circulating water tank is connected with one end of the microalgae cultivation bin, and the first input end of the circulating water tank is connected with the other end of the microalgae cultivation bin through the rough machining tank. The method has the technical effects that the integration of offshore power generation and offshore high-value microalgae culture is realized, and the total income is increased; a marine photovoltaic floating body platform is fully utilized, a culture space and an equipment platform are provided for microalgae culture, and the photovoltaic module has the advantage of self-energy supply.

AN ON-SITE MODULAR SYSTEM FOR PROCESSING AND TRANSFORMING ANIMAL WASTE AND A PROCESS AND USES THEREOF

NºPublicación:  WO2025158072A1 31/07/2025
Solicitante: 
WORLDPATHOL GLOBAL UNITED S A [ES]
GALINDO CARDIEL IVAN JOSE [ES]
WORLDPATHOL GLOBAL UNITED, S.A,
GALINDO CARDIEL, Iv\u00E1n Jos\u00E9
WO_2025158072_A1

Resumen de: WO2025158072A1

AN ON-SITE MODULAR SYSTEM FOR PROCESSING AND TRANSFORMING ANIMAL WASTE AND A PROCESS AND USES THEREOF The present invention relates to an on-site modular system for processing and transforming animal waste. The present invention also relates to a process for transforming animal waste in situ using said on-site modular system. The present invention further relates to the uses and derived advantages in terms of farm greenhouse gas emissions management and agricultural or natural soil amendments of a processed rich-nutrients biologically absorbable nitrogen-rich phosphorus-rich potassium-rich liquid microalgae culture fraction obtained with the process of the invention. Besides, the invention further relates to the uses as recycler of toxic or contaminants in animal waste farm and/or for animal feed of a processed rich-carbon solid inactivated microalgae culture fraction obtained with the process of the invention.

NOVEL MICROALGAE AND USE FOR SAME

NºPublicación:  US2025243450A1 31/07/2025
Solicitante: 
JAPAN SCIENCE AND TECH AGENCY [JP]
JAPAN SCIENCE AND TECHNOLOGY AGENCY
JP_2023120242_A

Resumen de: US2025243450A1

Provided is an alga belonging to Cyanidiophyceae having a diploid cell and a haploid cell form. Also provided is a nutrient composition containing an alga belonging to Cyanidiophyceae or an extract thereof.

NOVEL MICROALGAE AND USE FOR SAME

NºPublicación:  US2025243449A1 31/07/2025
Solicitante: 
JAPAN SCIENCE AND TECH AGENCY [JP]
JAPAN SCIENCE AND TECHNOLOGY AGENCY
JP_2023120242_A

Resumen de: US2025243449A1

Provided is an alga belonging to Cyanidiophyceae having a diploid cell and a haploid cell form. Also provided is a nutrient composition containing an alga belonging to Cyanidiophyceae or an extract thereof.

COSMETIC USES OF A HYDROLYSATE OF AN EXTRACTION CO-PRODUCT OF THE MICROALGA PHAEODACTYLUM TRICORNUTUM

NºPublicación:  EP4590267A1 30/07/2025
Solicitante: 
MICROPHYT [FR]
Microphyt
WO_2024062193_A1

Resumen de: WO2024062193A1

The invention relates to the cosmetic or nutraceutical use of a hydrolysate of an extraction co-product of the microalga Phaeodactylum tricornutum for exfoliating the skin and/or reducing the microrelief of the skin. The invention also relates to a cosmetic skincare method comprising the topical application of a hydrolysate of an extraction co-product of the microalga P. tricornutum or of a composition comprising same for exfoliating the skin and/or reducing the microrelief of the skin.

AN ON-SITE MODULAR SYSTEM FOR PROCESSING AND TRANSFORMING ANIMAL WASTE AND A PROCESS AND USES THEREOF

NºPublicación:  EP4592257A1 30/07/2025
Solicitante: 
WORLDPATHOL GLOBAL UNITED S A [ES]
GALINDO CARDIEL IVAN JOSE [ES]
Worldpathol Global United, S.A,
Galindo Cardiel, Iv\u00E1n Jos\u00E9
EP_4592257_A1

Resumen de: EP4592257A1

The present invention relates to an on-site modular system for processing and transforming animal waste. The present invention also relates to a process for transforming animal waste in situ using said on-site modular system. The present invention further relates to the uses and derived advantages in terms of farm greenhouse gas emissions management and agricultural or natural soil amendments of a processed rich-nutrients biologically absorbable nitrogen-rich phosphorus-rich potassium-rich liquid microalgae culture fraction obtained with the process of the invention. Besides, the invention further relates to the uses as recycler of toxic or contaminants in animal waste farm and/or for animal feed of a processed rich-carbon solid inactivated microalgae culture fraction obtained with the process of the invention.

Algicidal bacterium and application thereof

NºPublicación:  CN120384021A 29/07/2025
Solicitante: 
FUYANG NORMAL UNIV
\u961C\u9633\u5E08\u8303\u5927\u5B66
CN_120384021_PA

Resumen de: CN120384021A

The invention discloses an algicidal bacterium and application thereof, the algicidal bacterium is named as Bacillus sp.L1.3, and is preserved in China Center for Type Culture Collection on March 31, 2025, the preservation address is Wuhan University, Wuhan, China, and the preservation number is CCTCC NO: M 2025629. The nucleotide sequence of the 16S rRNA gene of the strain is as shown in SEQ ID NO: 1. The invention also provides application of the algicidal bacteria in treatment of water bloom of freshwater cyanobacteria, and the freshwater cyanobacteria is microcystis aeruginosa. Fermentation liquor of the strain L1.3 has a strong inhibition effect on growth of microcystis aeruginosa, secretions of the strain L1.3 can destroy cell walls, cell membranes, thylakoid and other structures of algae cells, inhibit photosynthesis of algae and cause irreversible damage to the algae, and the strain L1.3 has wide-range temperature stability and can be used for preparing the microcystis aeruginosa strain L1.3. The bacterial strain is suitable for being prepared into an algicidal bacterial agent to be applied to the field of biological control of freshwater cyanobacterial bloom.

Microalgae-based phosphogypsum low-carbon phosphorus extraction method

NºPublicación:  CN120384112A 29/07/2025
Solicitante: 
WUHAN UNIV OF TECHNOLOGY
\u6B66\u6C49\u7406\u5DE5\u5927\u5B66
CN_120384112_PA

Resumen de: CN120384112A

The invention provides a low-carbon phosphorus extraction method for phosphogypsum based on microalgae. Wastewater which is high in phosphorus concentration content and harmless to microalgae growth is obtained by optimizing phosphogypsum pretreatment, a microalgae culture system is constructed by controlling the concentration of the phosphorus-containing wastewater and the ratio of the phosphorus-containing wastewater to a culture medium BG-11, the purposes of low carbon and phosphorus extraction are achieved by controlling culture conditions, CO2 fixation and high-added-value biomass production are achieved at the same time, and the method is green, efficient and suitable for industrial production. The method has a wide application prospect in treating phosphogypsum solid waste and efficiently recovering phosphorus elements.

Application of microalgae in killing fecal escherichia coli in wastewater

NºPublicación:  CN120364866A 25/07/2025
Solicitante: 
NANCHANG HANGKONG UNIV
\u5357\u660C\u822A\u7A7A\u5927\u5B66
CN_120364866_PA

Resumen de: CN120364866A

The invention belongs to the technical field of water body disinfection, and particularly relates to application of microalgae in killing fecal escherichia coli in wastewater, and the microalgae is one or more of Pediastrum and Chlorella. The application reveals that pH and dissolved oxygen improved by microalgae metabolism can synergistically inactivate fecal escherichia coli for the first time, and a disinfection effect is achieved. In practical application, the removal rate of fecal escherichia coli can reach 100%, removal of pollutants such as TP and TN meets the emission standard, the microalgae can independently treat the polluted water body, pollutants do not need to be removed through a conventional activated sludge method in advance, additional structures do not need to be used for killing microorganisms in the water body, and the method has the advantages of being environmentally friendly and free of pollution. And the construction cost and the operation cost are saved.

Monascus microalgae GLY-1 and application thereof

NºPublicación:  CN120366067A 25/07/2025
Solicitante: 
HAINAN NORMAL UNIV
\u6D77\u5357\u5E08\u8303\u5927\u5B66
CN_120366067_PA

Resumen de: CN120366067A

The invention discloses monolith microalgae GLY-1 and application thereof, and belongs to the technical field of microalgae biology. According to the invention, a microalga GLY-1 in the genus of monolith is separated from a fresh water river, is determined to be a new species of the genus of monolith through morphological and molecular biological identification, is named as Coelastra haikouensis. GLY-1 in taxonomy, is preserved in China Center for Type Culture Collection on March 24, 2025, and has a preservation number of CCTCC No: M2025579. According to the method, the algae fertilizer prepared by using the microalgae GLY-1 is applied when water spinach seedlings grow, so that water spinach plants can grow higher and thicker, and the yield and quality of the water spinach are remarkably improved. The microalgae GLY-1 is proved to have application potential in the aspects of promoting the growth of crops and increasing the yield and quality of the crops.

Double-layer microalgae hydrogel for removing two drugs as well as preparation method and application of double-layer microalgae hydrogel

NºPublicación:  CN120366064A 25/07/2025
Solicitante: 
HEFEI INST OF PHYSICAL SCIENCE CHINESE ACADEMY OF SCIENCES
\u4E2D\u56FD\u79D1\u5B66\u9662\u5408\u80A5\u7269\u8D28\u79D1\u5B66\u7814\u7A76\u9662
CN_120366064_PA

Resumen de: CN120366064A

The invention discloses double-layer microalgae hydrogel for removing two drugs as well as a preparation method and application of the double-layer microalgae hydrogel, and belongs to the technical field of microorganism application. The invention provides a strain of chlorella sp. Ch-SI50, and the preservation number of the chlorella sp. Ch-SI50 is CCTCC (China Center For Type Culture Collection) NO: M2024223. The double-layer microalgae hydrogel is prepared from the chlorella and hydrogel. The method has the beneficial effects that the microalgae-hydrogel can prevent microalgae from overflowing and polluting the original water environment while removing pollutants, and the method is a sewage purification scheme integrating physical adsorption and microalgae degradation. Therefore, the microalgae-hydrogel can be applied to typical polluted water containing drug wastewater to remove drug pollutants, protect water quality and maintain ecological balance.

Microalgae culture equipment in optical fiber light guide mode

Nº publicación: CN223150564U 25/07/2025

Solicitante:

XINGHAN GREEN ENERGY CO LTD
\u661F\u701A\u7EFF\u80FD\u80A1\u4EFD\u6709\u9650\u516C\u53F8

CN_223150564_U

Resumen de: CN223150564U

The utility model discloses microalgae culture equipment in an optical fiber light guide mode. The microalgae culture equipment comprises an indoor culture space; the light source unit comprises a preset number of sun-tracking light guide lighting devices, and each sun-tracking light guide lighting device is composed of a sun-tracking module, one or more light guide optical fiber tubes, one or more sunlight collecting modules and a light source projection mounting bracket; the microalgae culture unit consists of a culture container mounting bracket, a microalgae culture container, an automatic electrical box, a culture solution circulating module, a nutrient supplementing module, an air CO2 supply module, a culture solution recycling module and an environment monitoring module; and the power supply unit is used for supplying power required by the light source unit, the microalgae culture unit and other units. According to the utility model, the advantages of outdoor sunshine culture and indoor artificial illumination culture are integrated, natural sunlight is obtained as a growth light source through sun-tracking light guide optical fiber illumination, and an indoor mode which is easy to obtain in a culture place is adopted, so that energy conservation and convenience are realized, and a greater contribution is made to net zero carbon reduction.

traducir