Ministerio de Industria, Turismo y Comercio LogoMinisterior
 

Alerta

Resultados 934 resultados
LastUpdate Última actualización 17/03/2026 [06:59:00]
pdfxls
Publicaciones de solicitudes de patente de los últimos 60 días/Applications published in the last 60 days
previousPage Resultados 575 a 600 de 934 nextPage  

一种海水全解水RuSe2-MoSe2/NF异质结双功能催化剂及其制备方法和应用

NºPublicación:  CN121428600A 30/01/2026
Solicitante: 
海南大学
CN_121428600_PA

Resumen de: CN121428600A

本申请涉及一种海水全解水RuSe2‑MoSe2/NF异质结双功能催化剂及其制备方法和应用,属于电解海水电催化技术领域。本申请的双功能催化剂的制备方法,包括以下步骤:(1)将去离子水与无水乙醇混合,磁力搅拌,得到混合溶剂;然后向混合溶剂中加入硼氢化钠与硒粉,搅拌至完全分散,得到混合溶液;再向混合溶液中加入二水合钼酸钠与三氯化钌,通入高纯氮气,置换空气后继续磁力搅拌,得到深棕色前驱体混合液;(2)将预处理后的泡沫镍NF完全浸没于前驱体混合液中,进行水热反应,反应后冷却至室温,取出泡沫镍NF,先去离子水冲洗3~5次,然后用无水乙醇冲洗3~5次,烘干后即得。本申请所提供的双功能催化剂可同时高效催化海水中的析氢反应与析氧反应。

镍钼催化剂及其制备方法

NºPublicación:  CN121443774A 30/01/2026
Solicitante: 
洛桑联邦理工学院
CN_121443774_A

Resumen de: WO2024231574A1

The present invention relates to method for the synthesis of a transition metal catalyst consisting of electrodeposition on a substrate electrode from an electrolyte solution comprising at least one transition metal precursor, wherein the electrodeposition takes places at a deposition current density of 500 to 2000 mA/cm2. The present invention further relates to a transition metal catalyst <b>characterised in that</b> it is stable for at least 30 minutes at a current density of at least 400 mA/cm2 on the substrate electrode.

一种金修饰的铜铋硫基半导体薄膜光电催化水分解光阴极及其制备方法

NºPublicación:  CN121428590A 30/01/2026
Solicitante: 
电子科技大学长三角研究院(湖州)
CN_121428590_PA

Resumen de: CN121428590A

本发明公开了一种金修饰的Cu3BiS3基半导体薄膜光电化学水分解光阴极及其制备方法,属于光电化学制氢领域。该光阴极由Mo导电衬底、Cu3BiS3吸收层、CdS缓冲层、TiO2保护层、Au纳米颗粒层及Pt析氢助催化剂依次组成。通过引入具局域表面等离激元效应的Au纳米颗粒,与Cu3BiS3吸收层、宽禁带TiO2及CdS缓冲层协同作用,显著扩大光吸收范围、增强光电流密度并提升光电转换效率,从而提高整体光解水产氢性能。该结构制备工艺简便、可规模化生产,Au用量极低、成本可控,具有优异的稳定性与环境友好性,在光电化学水分解制氢应用中具有广阔的商业化前景。

一种光热裂解制氢反应器

NºPublicación:  CN121426053A 30/01/2026
Solicitante: 
杭州英洛威能源技术有限公司
CN_121426053_PA

Resumen de: CN121426053A

本发明涉及制氢设备技术领域,公开了一种光热裂解制氢反应器,包括壳体、反应腔,壳体的前端设有透光板,反应腔内设有金属氧化物催化组件;壳体的侧面设有进水管,壳体的后端设有排气管;当反应腔内处于还原反应温度状态时,所述金属氧化物催化组件发生还原反应析出氧气并通过排气管排出氧气;当反应腔内处于氧化反应温度状态时,进水管处向反应腔内注入定量的水,水与还原反应后的金属氧化物催化组件发生氧化反应析出氢气并通过排气管排出氢气。通过该种装置分两步反应制氢,金属氧化物催化组件无消耗,可持续使用。

一种亚铁氰根/铁氰根循环辅助的低电耗解耦式电解水制氢及循环方法

NºPublicación:  CN121428571A 30/01/2026
Solicitante: 
哈尔滨工业大学中国大唐集团科技创新有限公司
CN_121428571_PA

Resumen de: CN121428571A

一种亚铁氰根/铁氰根循环辅助的低电耗解耦式电解水制氢及循环方法,属于电解水制氢领域。所述方法为:在阳极电解液储罐中加入亚铁氰化物溶液,并对阳极石墨毡进行预处理,使亚铁氰根在阳极发生氧化反应;在阳极电解液储罐中加入还原催化剂,并通过加热条件实现铁氰根向亚铁氰根的热催化再生,使再生后的亚铁氰根重新进入阳极室参与反应,从而在体系内构建铁氰根/亚铁氰根的闭环循环。本方法以铁氰根/亚铁氰根氧化还原电对为媒介,解耦电解水过程,实现析氢析氧反应的空间分离,显著降低氢气渗透引起的氧中氢含量升高风险。由于亚铁氰根氧化反应的理论电位远低于传统析氧反应,与阴极析氢半反应耦合可有效降低整体电解能耗。

一种基于ZnIn2S4/CoP2的光催化分解水催化剂的制备方法

NºPublicación:  CN121422994A 30/01/2026
Solicitante: 
南昌航空大学
CN_121422994_PA

Resumen de: CN121422994A

本发明公开了一种基于ZnIn2S4/CoP2的光催化分解水催化剂的制备方法,所述制备方法首先制备得到CoP2,再通过在CoP2加入Zn源、In源和S源,进一步转化得到ZnIn2S4/CoP2,从而得到基于ZnIn2S4/CoP2的催化剂;本发明所制备的ZnIn2S4/CoP2催化剂可以高效地进行光催化分解水产氢,并且制备方法简单,成本低,适用大面积推广应用。

一种浮空器氢气发生器

NºPublicación:  CN121425469A 30/01/2026
Solicitante: 
湘潭大学
CN_121425469_PA

Resumen de: CN121425469A

本发明公开了一种浮空器氢气发生器,该浮空器氢气发生器包括具有腔室的壳体、以及导热装置,导热装置包括隔板、导热体,隔板将腔室分隔成相互独立的加热隔室和氢气发生隔室,导热体被隔板分割成两部分,其中一部分位于加热隔室,另一部分位于氢气发生隔室,加热隔室内放置有热量发生物质,氢气发生隔室内放置有氢气发生物质,导热装置将热量发生物质在加热隔室内产生的热量导入至氢气发生隔室,氢气发生物质吸收热量后释放氢气。本发明公开的浮空器氢气发生器通过隔板将壳体内的腔室分割成独立的两个隔室,热量发生物质产生的热量通过导热装置导入至氢气发生隔室中,氢气发生物质受热而产生氢气,氢气形成的速度快,所适用的工况范围大。

Intelligent foot health repair system

NºPublicación:  CN121422377A 30/01/2026
Solicitante: 
ZHEJIANG JIANTELI ELECTRONIC CO LTD
\u6D59\u6C5F\u5065\u7279\u529B\u7535\u5B50\u6709\u9650\u516C\u53F8
CN_121422377_PA

Resumen de: CN121422377A

The invention provides an intelligent foot health repair system, and belongs to the technical field of foot disinfection and repair. An intelligent foot health repair system is characterized by comprising a gas generation system, a control system and a control system, the gas generation system comprises an ozone generator and a hydrogen generator, and the ozone generator and the hydrogen generator can respectively or simultaneously generate ozone and hydrogen; the gas mixing system can control and mix ozone and hydrogen to generate mixed gas with preset concentration; the gas conveying system can convey the mixed gas to a foot disinfection and repair area; and the control system can control the operation of the gas generation system, the gas mixing system and the gas conveying system and adjust the concentration and the conveying rate of the mixed gas. The device has the advantages that ozone and hydrogen are generated through electrolytic reaction with water, the ozone has the effects of sterilization, disinfection, inflammation diminishing and infection resistance, the hydrogen has the effects of oxidation reduction, aging resistance and cell repair, the gas mixing system controls and mixes the ozone and the hydrogen to generate mixed gas with preset concentration, the effect of treating dermatophytosis is achieved, and the device is suitable for popularization and application. Operation is convenient, and popularization and use of common people are facilitated.

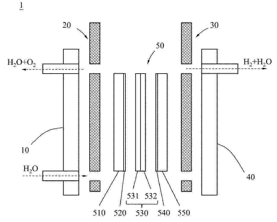
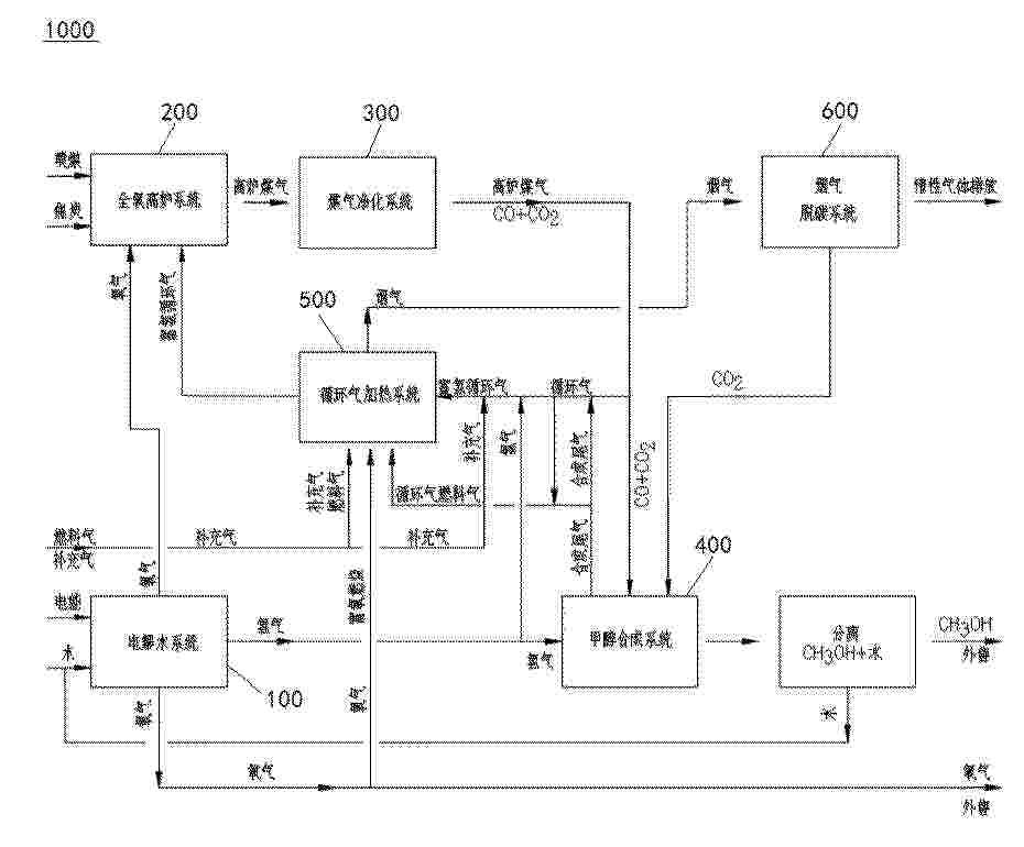
一种电解水与全氧高炉耦合的低碳钢化联产系统

NºPublicación:  CN121428196A 30/01/2026
Solicitante: 
中冶东方工程技术有限公司
CN_121428196_PA

Resumen de: CN121428196A

本发明属于碳中和技术领域,公开了一种协同高效且低碳的电解水与全氧高炉耦合的低碳钢化联产系统。包括电解水系统;全氧高炉系统,其鼓风气体入口与电解水系统的氧气出口连接,用于接收氧气以产生富含一氧化碳和二氧化碳的顶部循环煤气;煤气净化系统,其入口与全氧高炉系统的循环煤气出口连接;甲醇合成系统,其第一入口与电解水系统的氢气出口连接,第二入口与煤气净化系统的净化气出口连接,用于接收氢气和净化后的循环煤气以生成甲醇;循环气加热系统,设置于煤气净化系统与全氧高炉系统之间的循环气路中,用于加热返回高炉的循环煤气;烟气脱碳系统,其入口与循环气加热系统的燃烧烟气出口连接,用于将烟气中的二氧化碳输送至第二入口。

一种葫芦脲6衍生的S掺杂Ru2P/Ru双功能电催化剂及其制备方法和应用

NºPublicación:  CN121428593A 30/01/2026
Solicitante: 
辽宁大学
CN_121428593_PA

Resumen de: CN121428593A

本发明公开一种葫芦脲6衍生的S掺杂Ru2P/Ru双功能电催化剂及其制备方法和应用。属于HER催化剂技术领域。葫芦脲6衍生的S掺杂Ru2P/Ru双功能电催化剂,是以葫芦脲6作为载体,通过引入RuCl3,4,4’‑磺基二苯酚和六氯环三磷腈作为构筑单元,原位在葫芦脲6表面生长聚(环三磷腈‑co‑4,4’‑磺酰二酚)聚合物涂层,经热解后得到的双功能电催化剂Ru2P/Ru‑S‑CBC。本发明制备的电催化剂在碱性电解质中表现出优异的电催化HER和肼氧化活性,为HzOR反应代替析氧反应提供了前提,同时也实现了低能耗,高稳定的电化学制氢。

电解制氢压力平衡控制装置、使用方法及电解制氢系统

NºPublicación:  CN121428606A 30/01/2026
Solicitante: 
北京怀柔实验室
CN_121428606_PA

Resumen de: CN121428606A

一种电解制氢压力平衡控制装置、使用方法及电解制氢系统,属于电解制氢领域。电解制氢压力平衡控制装置包括舱体和柔性内管。舱体具有内部空间,在舱体上设有至少一个与内部空间连通的舱体管口,舱体管口可供第一气体进出内部空间;柔性内管设置于舱体内,其两端分别设有可供第二气体由舱体外部流入和流出柔性内管的内管入口和内管出口,柔性内管至少部分区段为由柔性材料制成的柔性可变体积段,该柔性可变体积段的内流道的最小横截面处的截面积不大于内管入口或内管出口中的内流道截面积较小者的1%;第一气体和第二气体的气压不同时,能够使柔性可变体积段发生形变,通过体积变化使柔性内管和舱体内的气体趋于平衡。

低电导率PEM电解制氢系统及控制方法

NºPublicación:  CN121428583A 30/01/2026
Solicitante: 
北京怀柔实验室
CN_121428583_PA

Resumen de: CN121428583A

一种低电导率PEM电解制氢系统及控制方法,属于电解水制氢技术领域。低电导率PEM电解制氢系统包括水电解单元以及与该水电解单元连接通过氧侧水循环回路连接的氧侧气液分离装置,还包括换热装置,接收所述氧侧气液分离装置中的水并对水降温;水处理装置,内部具有去离子树脂,所述水处理装置接收换热装置中的降温后的水并吸收水中的离子;水缓冲装置,接收并存储所述水处理装置处理后的水;控制装置,控制所述水缓冲装置中的水供应至所述氧侧水循环回路,以调节所述水电解单元内的水温。本发明延长了去离子树脂的寿命,减少能源消耗,且提高电解用原料水的质量。

Electromagnetic Field Assisted Electrolysis System Powered by Renewable Energy for the Production of Green Hydrogen from Seawater

NºPublicación:  MA66611A1 30/01/2026
Solicitante: 
UNIV CHOUAIB DOUKKALI [MA]
UNIVERSITE CHOUAIB DOUKKALI
MA_66611_A1

Resumen de: MA66611A1

An innovative method for producing green hydrogen from seawater combines electromagnetic field-assisted electrolysis with renewable energy. This efficient approach reduces reliance on fossil fuels while improving the kinetics of chemical reactions through the use of a specific electromagnetic field. The saline residue is desalinated to produce fresh water, while the purified hydrogen is stored as a clean energy source, offering significant benefits for industry, transportation, and the environment.

고체 고분자형 연료 전지용 전해질막, 막전극 접합체, 고체 고분자형 연료 전지와 이들의 제조 방법, 및 고체 고분자형 수전해용 전해질막

NºPublicación:  KR20260014547A 30/01/2026
Solicitante: 
UNIV YAMAGATA NAT UNIV CORP [JP]
OJI HOLDINGS CORP [JP]
\uAD6D\uB9BD\uB300\uD559\uBC95\uC778 \uC57C\uB9C8\uAC00\uD0C0\uB300\uD559,
\uC624\uC9C0 \uD640\uB529\uC2A4 \uAC00\uBD80\uC2DC\uD0A4\uAC00\uC774\uC0E4
KR_20260014547_PA

Resumen de: CN121127989A

The purpose of the present invention is to provide: Provided are: an electrolyte membrane for a solid polymer fuel cell, which has excellent proton conductivity; a membrane-electrode assembly comprising the electrolyte membrane for a solid polymer fuel cell; a solid polymer fuel cell comprising the membrane-electrode assembly; and an electrolyte membrane for a solid polymer fuel cell. Various methods for producing a membrane electrode assembly and a solid polymer fuel cell; and an electrolyte membrane for solid polymer water electrolysis. This electrolyte membrane for a solid polymer fuel cell contains a woody or herbaceous microfibrous cellulose, the average fiber width of the woody or herbaceous microfibrous cellulose being 50 nm or less, and the microfibrous cellulose having a phosphorus oxyacid group.

Método para confinar un aparato generador de hidrógeno y oxígeno en un recinto y recinto adaptado para un aparato generador de hidrógeno y oxígeno.

NºPublicación:  CL2025002667A1 30/01/2026
Solicitante: 
THYSSENKRUPP NUCERA AG & CO KGAA [DE]
THYSSENKRUPP NUCERA AG & CO. KGAA
KR_20260002650_PA

Resumen de: US20260002270A1

An enclosure adapted for a hydrogen and oxygen generating apparatus arranged in a movable has an interior and an interior surface and an exterior surface whereby the hydrogen and oxygen generating apparatus comprises at least one electrolyser stack adapted for electrolysing water to hydrogen product gas and oxygen product gas and accompanying gas and electrolyte handling equipment. The exterior surface of the enclosure comprises at least a heat insulating, flexible polymer cover element which is attached to a metal frame.

一种碱性电解水制氢系统的泄漏防护方法及装置

NºPublicación:  CN121430933A 30/01/2026
Solicitante: 
内蒙古绿氢科技有限公司
CN_121430933_PA

Resumen de: CN121430933A

本发明涉及碱性电解制氢安全防护技术领域,具体公开了一种碱性电解水制氢系统的泄漏防护方法及装置,包括首先获取关键点氢气传感信息与泄漏点氢气感应信息并生成第一泄露监控信息;再基于关键点信息确定泄漏率、泄漏加速度以生成动态风险评估结果,同时确定热点因子并结合动态风险评估结果生成第二泄露监控信息;最终基于双监控信息生成泄露防护结果。本发明解决传统防护依赖静态评估、单一监测导致的误报漏报、响应滞后问题,通过多源信息融合与动态分级控制,提升泄漏防护精准性与及时性,保障碱性电解制氢系统安全高效运行。

Water electrolysis hydrogen production system, cascade cold start control method, equipment and medium

NºPublicación:  CN121428589A 30/01/2026
Solicitante: 
BEIJING HUAIROU LABORATORY
\u5317\u4EAC\u6000\u67D4\u5B9E\u9A8C\u5BA4
CN_121428589_PA

Resumen de: CN121428589A

The invention discloses a water electrolysis hydrogen production system, a cascade cold start control method, equipment and a medium, and belongs to the technical field of water electrolysis hydrogen production. The hydrogen production system comprises a plurality of electrolytic bath groups which are communicated with one another, a plurality of electrolytic baths are arranged in each electrolytic bath group, and a plurality of electrolytic bath groups in the plurality of electrolytic bath groups are provided with corresponding electrolyte storage tanks; at least one mixer is arranged between every two adjacent electrolytic cell groups, at least one control valve is arranged at an outlet of each electrolytic cell group, and the outlet of each electrolytic cell group is communicated with the at least one mixer through the control valve; and the control valve is used for controlling the self-circulation temperature rise of the electrolyte in the self electrolytic bath group or the temperature rise of the electrolyte mixed with the electrolyte in other electrolytic bath groups through the mixer. According to the cascade cold start method, the differentiated configuration method is adopted, configuration of the electrolyte storage tank is reduced, and cascade cold start can be achieved by efficiently utilizing waste heat through the method that cold electrolyte and hot electrolyte are mixed for direct heat exchange.

一种碱性电解水制氢系统低负荷状态下控制氧中氢含量的系统和方法

NºPublicación:  CN121428577A 30/01/2026
Solicitante: 
国家能源投资集团有限责任公司北京低碳清洁能源研究院
CN_121428577_PA

Resumen de: CN121428577A

本发明涉及一种碱性电解水制氢系统低负荷状态下控制氧中氢含量的系统和方法,该系统包括依次连接的电解水单元、气液分离单元、气体纯化单元、储氧缓冲单元、三通控制单元、补气流量控制单元和循环升压单元;所述循环升压单元连接至所述电解水单元,所述三通控制单元还连接有氧气副产品放空单元。本发明系统通过各单元之间的配合可有效降低电解水制氢系统内氧中氢含量,确保电解水制氢系统在较低负荷运行,拓宽了电解水制氢设备的负荷范围。

离子传导膜、制造此类膜的方法、包括此类膜的电化学电解槽以及包括此类电解槽的设备

NºPublicación:  CN121443778A 30/01/2026
Solicitante: 
根吉立方公司
CN_121443778_PA

Resumen de: AU2024305585A1

The invention relates to an ion-conducting membrane (10) for an electrochemical device, said membrane comprising a layer of a material comprising: - 5% to 30% by weight of a polymer binder and - 70% to 95% by weight of a powdered ceramic, the powdered ceramic comprising ceramic doped with yttrium oxide and/or ceramic doped with cerium oxide. The invention can be used to produce a non-porous membrane for low-temperature electrolysis (0°C to 150°C).

Electro-thermal catalytic coupling reforming method for CO2-rich natural gas

NºPublicación:  CN121428572A 30/01/2026
Solicitante: 
DALIAN INST OF CHEMICAL PHYSICS CHINESE ACADEMY OF SCIENCES
\u4E2D\u56FD\u79D1\u5B66\u9662\u5927\u8FDE\u5316\u5B66\u7269\u7406\u7814\u7A76\u6240
CN_121428572_PA

Resumen de: CN121428572A

The invention discloses a CO2-rich natural gas electro-thermal catalytic coupling reforming method. Methane and excessive carbon dioxide (CO2/CH4gt; the mixed gas obtained in the step (1) is introduced into a cathode of a solid oxide electrolytic tank, and series coupling of three reactions of methane dry reforming, reverse water vapor shift and water electrolysis on the cathode side can be realized by applying external current, so that high CH4 conversion rate, high CO2 conversion rate and high H2 selectivity are obtained. According to the method, the natural gas with high CO2 content is completely converted into the synthesis gas in one step in a single reactor, a high-energy-consumption separation process is avoided, the problems of low CO2 utilization rate, low H2 selectivity, complex process, greenhouse gas emission and the like of a traditional carbon-rich natural gas conversion technology are solved, and the method has the advantages of high efficiency, economy, environmental protection and the like and is suitable for industrial production. The method has a wide application prospect in the fields of conversion and utilization of natural gas and storage of renewable electric energy.

一种粒径可控的PEM电解水制氢用铂黑催化剂的制备方法

NºPublicación:  CN121423629A 30/01/2026
Solicitante: 
云南贵金属实验室有限公司贵研新能源科技(上海)有限公司昆明贵研新材料科技有限公司
CN_121423629_PA

Resumen de: CN121423629A

本发明涉及催化材料技术领域,提供了一种粒径可控的PEM电解水制氢用铂黑催化剂的制备方法。本发明将铂前驱体、溴化物、水和醇混合,得到前驱体混合液;将前驱体混合液和碱溶液混合,得到碱性混合液;然后将碱性混合液在微波条件下进行还原反应,得到所述铂黑催化剂。本发明提供的方法能够实现对铂黑催化剂粒径的有效控制,所得铂黑催化剂粒径均匀,分散性好,活性高,并且操作简单,重复性好,能够实现均一批量化制备。实施例结果表明,将本发明制备的铂黑催化剂作为PEM电解槽膜电极阴极,采用商业氧化铱催化剂作为阳极,在60℃下,电流密度为2A cm‑2时电解电压仅需1.78V,远低于目前商用铂黑和铂碳催化剂。

一种磷化镍表面外延生长非晶镍钴铁层状双氢氧化物电极的制备和电解海水应用

NºPublicación:  CN121428597A 30/01/2026
Solicitante: 
南昌航空大学
CN_121428597_PA

Resumen de: CN121428597A

本发明公开了一种磷化镍表面外延生长非晶镍钴铁层状双氢氧化物电极的制备和电解海水应用,属于电催化技术领域。该电极由表层NiCoFe‑LDH、中间层NiPx和底层Ni组成的多层结构,其制备方法为先用水热法对泡沫镍进行磷化合成NP电极,再对NP电极进行电沉积制备得到NP‑NCF电极。在OER过程中,中间层NiPx通过孔隙大量释放POxn‑到NiCoFe‑LDH层表面形成的富阴离子保护层,实现了电极对Cl‑的排斥。因此,NP‑NCF电极在碱性海水电解中显示出了优异的析氧选择性及稳定性。

CATALYST AND PROCESS

NºPublicación:  WO2026022489A1 29/01/2026
Solicitante: 
JOHNSON MATTHEY HYDROGEN TECHNOLOGIES LTD [GB]
JOHNSON MATTHEY HYDROGEN TECHNOLOGIES LIMITED
WO_2026022489_A1

Resumen de: WO2026022489A1

An oxygen evolution reaction (OER) catalyst material is provided. The OER catalyst material comprises an iridium-containing compound on a particulate catalyst support and has the following characteristics: a BET surface area in the range of and including 35 to 55 m2/g; an iridium content in the range of and including 25 to 45 wt% with the proviso that if the BET surface area is greater than 45 m2/g the iridium content is at least 35 wt%; a Tmax in the temperature-programmed reduction profile of the OER catalyst material of less than 135 °C.

PROCESS AND MEMBRANE

NºPublicación:  US20260031366A1 29/01/2026
Solicitante: 
JOHNSON MATTHEY HYDROGEN TECH LIMITED [GB]
JOHNSON MATTHEY HYDROGEN TECHNOLOGIES LIMITED
US_20260031366_PA

Resumen de: US20260031366A1

A process for producing an ion-conducting membrane comprising a recombination catalyst-containing membrane layer. The membrane layer if fabricated from an ink comprising a stabilised dispersion of recombination catalyst nanoparticles. Also provided are ion-conducting membranes for electrochemical devices, such as fuel cells or water electrolysers, with a recombination catalyst-containing membrane layer comprising dispersed recombination catalyst nanoparticles, a nanoparticle stabilising agent, and an ion-conducting polymer.

WATER ELECTROLYSIS DEVICE AND A SYSTEM COMPRISING SUCH A WATER ELECTROLYSIS DEVICE

Nº publicación: WO2026021999A1 29/01/2026

Solicitante:

EPINOVATECH AB [SE]
EPINOVATECH AB

WO_2026021999_PA

Resumen de: WO2026021999A1

The present invention relates to a water electrolysis device comprising a plurality of nanopillars. Each nanopillar has a vertical extension in relation to a plane of extension of a substrate supporting the nanopillars. Further, each nanopillar comprises a plurality of quantum dot segments of InxGa1-xN alloy, wherein each quantum dot segment is interposed along the vertical extension between barrier segments of GaN, wherein each quantum dot segment has a thickness of less than or equal to 20 nm along the vertical extension. Moreover, each nanopillar comprises a p-side portion constituting a photoanode and an n-side portion constituting a photocathode, wherein the photoanode comprises at least one quantum dot segment and the photocathode comprises at least one quantum dot segment, wherein the photoanode and the photocathode are separated by a depletion portion comprising GaN. A system for water electrolysis comprising such a water electrolysis device is also presented.

traducir