Ministerio de Industria, Turismo y Comercio LogoMinisterior
 

Alerta

Resultados 949 resultados
LastUpdate Última actualización 03/11/2025 [06:56:00]
pdfxls
Publicaciones de solicitudes de patente de los últimos 60 días/Applications published in the last 60 days
previousPage Resultados 525 a 550 de 949 nextPage  

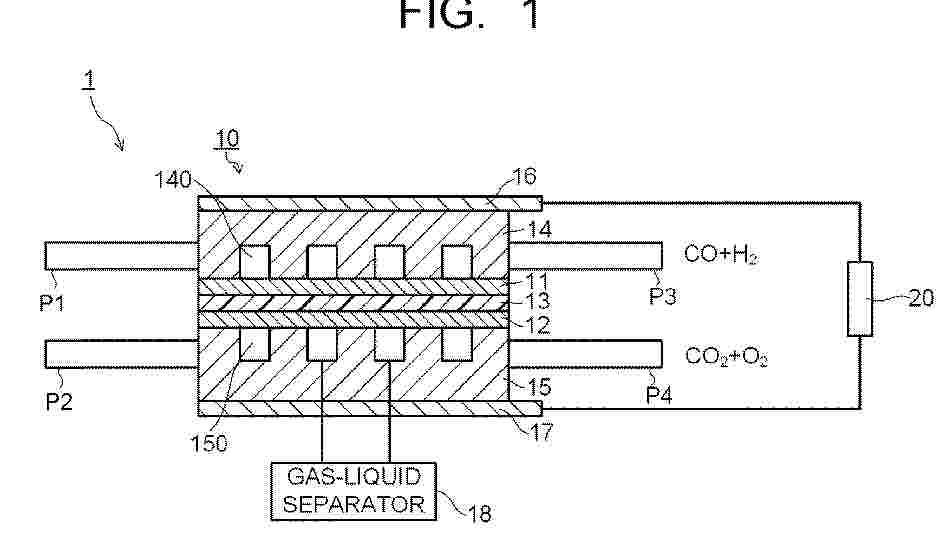
GREEN ENERGY TRANSPORTATION SYSTEM AND TRANSPORTATION METHOD USING GREEN HYDROGEN

NºPublicación:  US2025296837A1 25/09/2025
Solicitante: 
KIKKAWA YOSHITSUGI [JP]
Kikkawa Yoshitsugi
US_2025296837_PA

Resumen de: US2025296837A1

There is provided a transportation system that can efficiently transport renewable energy from power generation facilities in remote locations to hydrogen energy consumption areas with low environmental impact. The system includes a power generator that generates and stores electricity using renewable energy, a water electrolyzer that generates hydrogen by electrolyzing water using the electricity generated by the power generator, a methane synthesizer that generates methane using the hydrogen generated and recycled CO2 as raw materials through the Sabatier reaction, a methane transportation means that transports the generated methane to the hydrogen energy consumption site without emitting CO2 into the atmosphere, a hydrogen production and carbon capture unit that produces hydrogen by autothermal reforming method using the transported methane and separately prepared oxygen as raw materials, and a CO2 transportation means that transports the recycled CO2 without emitting CO2 into the atmosphere to the site where the methane synthesizer is installed.

METHOD FOR GENERATING AND TREATING A TWO-PHASE OUTFLOW FROM ONE OR MORE PRESSURIZED ELECTROLYSER STACKS AND ELECTROLYSER SYSTEM COMPRISING ONE OR MORE INDIVIDUAL PRESSURIZED ELECTROLYSER STACKS

NºPublicación:  AU2024237545A1 25/09/2025
Solicitante: 
THYSSENKRUPP NUCERA AG & CO KGAA
THYSSENKRUPP NUCERA AG & CO. KGAA
AU_2024237545_PA

Resumen de: AU2024237545A1

A method for generating and treating a two-phase outflow from one or more pressurised electrolyser stacks which are adapted to electrolyse water into hydrogen and oxygen, whereby a pump supplies a catholytic fluid flow from one first gas liquid gravitational separator vessel to the electrolyser stacks and whereby a further pump supplies an anolytic fluid flow from one second gas liquid gravitational separator vessel to the electrolyser stacks, and whereby at least one cyclone type gas liquid separator receives combined outflows from the catholytic chambers and/or receives combined outflows from anolytic chambers respectively inside corresponding gravitational gas liquid separator vessel whereby further, the at least one cyclone type gas liquid separator separates the gas from the liquid along a generally horizontal cyclonic rotation axis inside the gas liquid gravitational separator vessel. An electrolyser system is also provided.

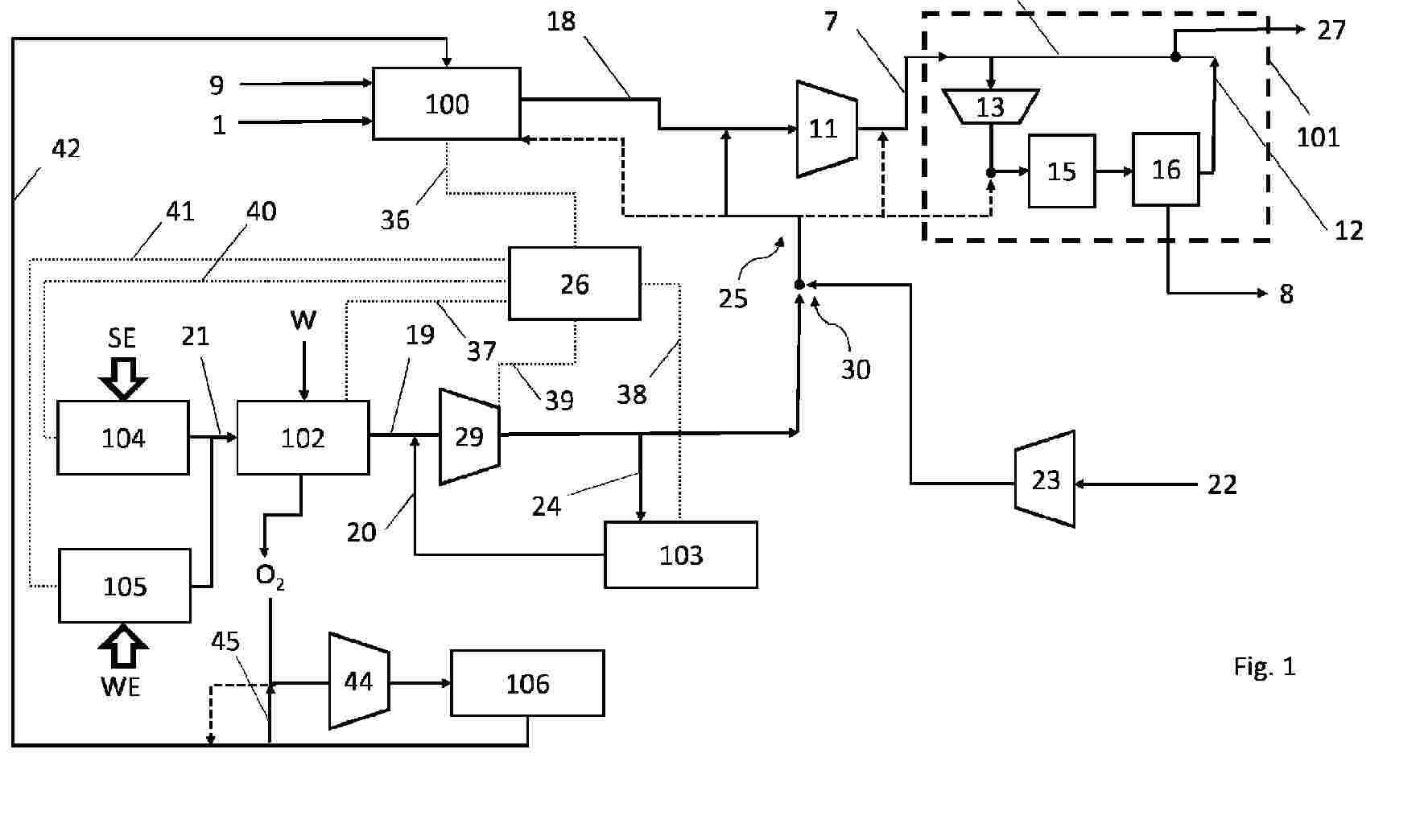
PROCESS FOR AMMONIA SYNTHESIS USING GREEN HYDROGEN AND METHOD FOR REVAMPING AN AMMONIA PLANT

NºPublicación:  AU2024257970A1 25/09/2025
Solicitante: 
CASALE SA
CASALE SA
AU_2024257970_PA

Resumen de: AU2024257970A1

Process for synthesis of ammonia wherein: ammonia make-up gas (7) containing hydrogen and nitrogen is reacted in an ammonia converter (15) under ammonia forming conditions thus obtaining an ammonia-containing effluent (8); a first hydrogen portion contained in the ammonia make-up gas (7) is produced by reforming a hydrocarbon source (1) in a reforming process (100); a second hydrogen portion (19) contained in the ammonia make-up gas (7) is produced separately from said reforming process (100), by using at least a renewable energy source (SE, WE); a part of said hydrogen (19) produced in step (c) is stored in a hydrogen storage (103); hydrogen (20) from said hydrogen storage (103) is used to fully or partially replace said second hydrogen portion (19) when said renewable energy source (SE, WE) is fully or partially unavailable. Said process comprising the steps of: assessing an expected flow rate of the hydrogen (19) produced in step (c); adjusting a flow rate of the hydrocarbon source (1) so that a flow rate of the first hydrogen portion in said ammonia make- up gas (7) is in a desired ratio with respect to said expected flow rate; detecting an actual amount, e.g., a filling level, of said hydrogen in said hydrogen storage (103); detecting an actual flow rate of hydrogen produced using the renewable energy source (SE, WE), and adjusting a flow rate of the hydrogen (20) from said hydrogen storage (103) depending on said actual amount detected in said hydrogen storage (103) and

METHOD TO ENCLOSE A HYDROGEN AND OXYGEN GENERATING APPARATUS IN AN ENCLOSURE AND ENCLOSURE ADAPTED FOR A HYDROGEN AND OXYGEN GENERATING APPARATUS

NºPublicación:  AU2024228415A1 25/09/2025
Solicitante: 
GREEN HYDROGEN SYSTEMS AS
GREEN HYDROGEN SYSTEMS A/S
AU_2024228415_PA

Resumen de: AU2024228415A1

Enclosure adapted for a hydrogen and oxygen generating apparatus arranged in a movable has an interior and an interior surface and an exterior surface whereby the hydrogen and oxygen generating apparatus comprises at least one electrolyser stack adapted for electrolysing water to hydrogen product gas and oxygen product gas and accompanying gas and electrolyte handling equipment. The exterior surface of the enclosure comprises at least a heat insulating, flexible polymer cover element which is attached to a metal frame.

ELECTROLYSER SYSTEM

NºPublicación:  AU2024237817A1 25/09/2025
Solicitante: 
CERES INTELLECTUAL PROPERTY COMPANY LTD
CERES INTELLECTUAL PROPERTY COMPANY LIMITED
AU_2024237817_PA

Resumen de: AU2024237817A1

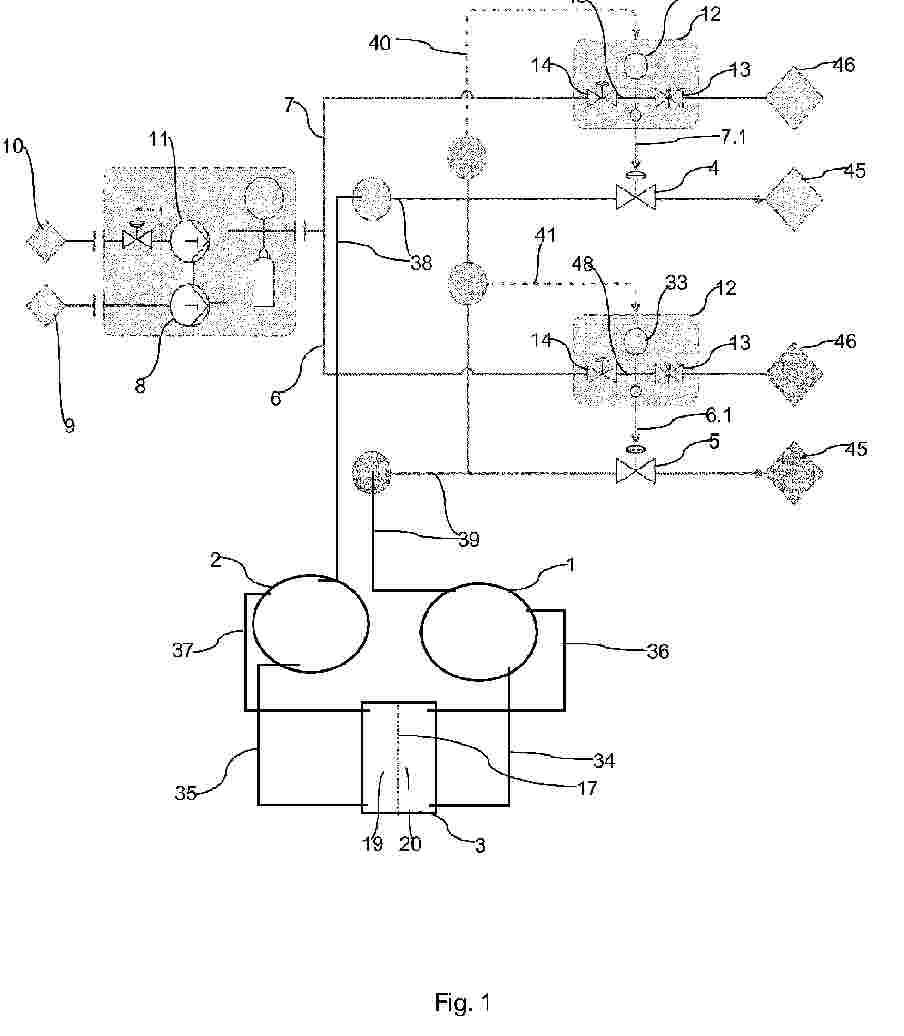
The present invention relates to an electrolyser system (10) comprising at least one electrolyser (20), the electrolyser (20) comprising at least one steam inlet (41) and at least one off-gas outlet (38; 39), and a turbocharger (62) for compressing off-gas from the electrolyser (20). The turbocharger (62) comprises a drive fluid inlet, a drive fluid outlet, a compression fluid inlet, a compressed fluid outlet, a compressor (13) and a turbine (12). The turbine (12) is configured to drive the compressor (13). The drive fluid outlet of the turbocharger (62) is fluidically connected to the at least one steam inlet (41) of the electrolyser (20). The at least one off-gas outlet (38; 39) of the electrolyser (20) is fluidically connected to the compression fluid inlet of the turbocharger (62). The system (10) can further can comprise a steam source fluidically connected to the drive fluid inlet of the turbocharger (62) for powering the turbine (12) using pressurised steam.

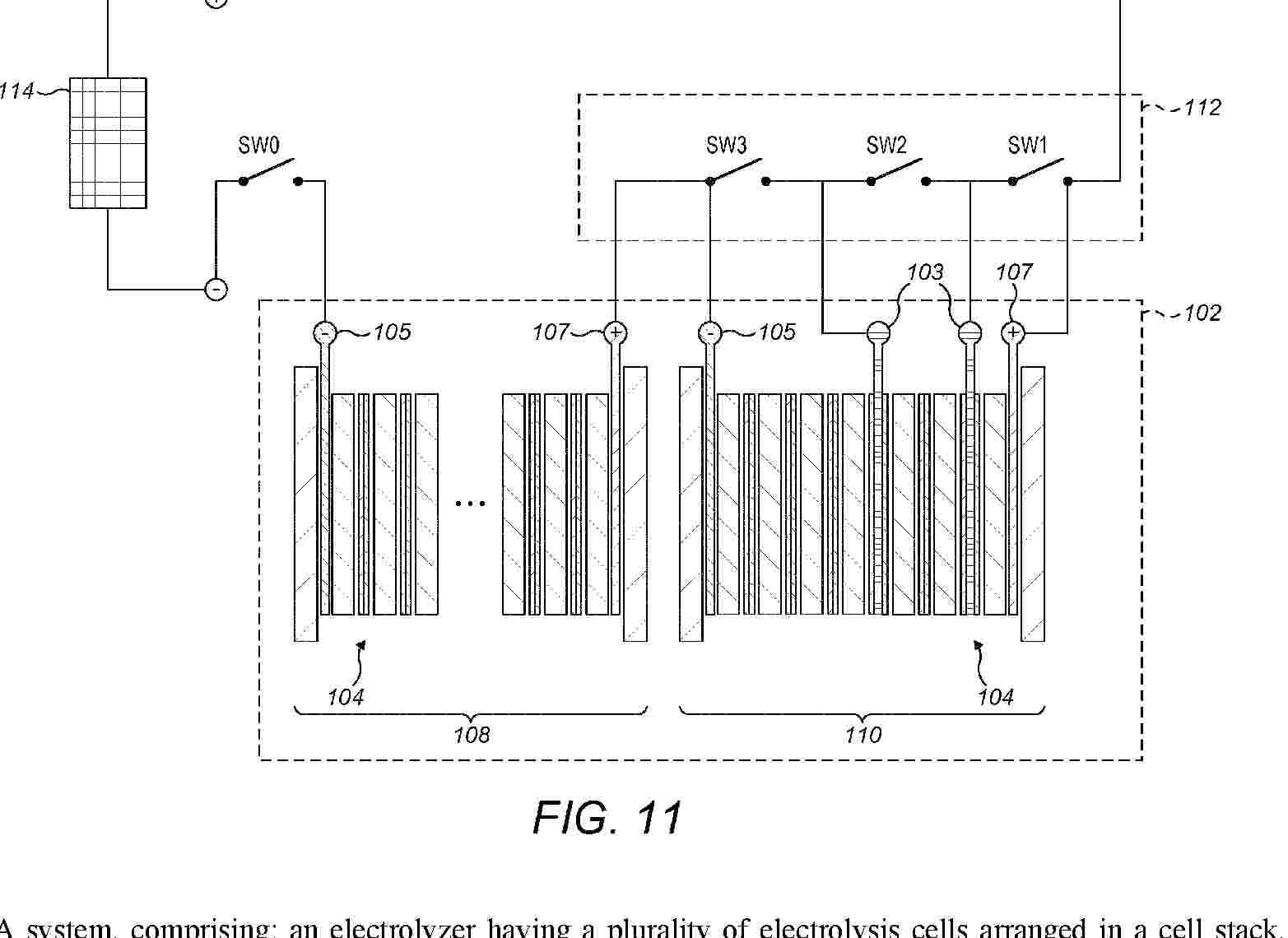
ELECTROLYZER WITH VARIABLE NUMBER OF ACTIVE ELECTROLYSIS CELLS

NºPublicación:  AU2024222987A1 25/09/2025
Solicitante: 
HYDROGEN WAVES LTD
HYDROGEN WAVES LTD
AU_2024222987_PA

Resumen de: AU2024222987A1

A system, comprising: an electrolyzer having a plurality of electrolysis cells arranged in a cell stack, wherein the electrolysis cells are electrically connected in series and grouped into two or more cell groups, each cell group having an electrical contact at either end; an electrical circuit having one or more switches, each switch coupled between the electrical contacts of a respective one of the cell groups and configured to selectively disconnect the cell group from the cell stack by electrically bypassing the cell group via a lower resistance path, to thereby vary the number of active electrolysis cells in the cell stack; and a controller configured to determine the number of active electrolysis cells based on a variable amount of direct current (DC) electrical energy supplied to the cell stack by an electrical energy source, and to control the one or more switches based on the determination.

GAS PRESSURE BALANCE METHOD IN AN ELECTROLYSER SYSTEM AND ELECTROLYSER SYSTEM WITH A PRESSURE BALANCE VALVE SYSTEM

NºPublicación:  AU2024224224A1 25/09/2025
Solicitante: 
GREEN HYDROGEN SYSTEMS AS
GREEN HYDROGEN SYSTEMS A/S
AU_2024224224_PA

Resumen de: AU2024224224A1

In a gas pressure balance method in an electrolyser system a predefined pressure difference between pressures in an oxygen gas separation tank and a hydrogen gas separation tank is maintained by controlled release of gases through an oxygen back pressure valve and a hydrogen back pressure valve. in a first step, for each of the oxygen back pressure valves and the hydrogen back pressure valves, a predefined, calibrated pilot gas pressure is generated and in a second step, the predefined, calibrated pilot gas pressures are forwarded to the respective back pressure valves and in a third step, hydrogen and oxygen gasses are released whenever the gas pressures in the hydrogen and oxygen separation tanks exceeds the predefined, calibrated pilot pressure in the respective pilot gas streams.

ELECTROLYSER UNIT COMPRISING A PLURALITY OF INDIVIDUAL ELECTROLYSER STACKS AND METHOD FOR CONNECTING ELECTROLYSER STACKS TO FORM UNITS

NºPublicación:  AU2024221020A1 25/09/2025
Solicitante: 
GREEN HYDROGEN SYSTEMS AS
GREEN HYDROGEN SYSTEMS A/S
AU_2024221020_PA

Resumen de: AU2024221020A1

The invention comprises a method for connecting a pair of electrolyser stacks with electrolyte, electric current and gas drain piping. Accordingly, each pair of stacks of the electrolyser: - through interconnection endplates are supplied with alkaline electrolyte at elevated pressure by common electrolyte supply pipes and further, - through the interconnection endplate drain off oxygen gas containing electrolyte, and hydrogen gas containing electrolyte, to common gas separation vessels for oxygen and hydrogen respectively, - pull first electrically interconnected current injection electrodes adjacent to interconnection endplates to zero electrical potential through a zero potential conductor, and - supply second current injection electrodes placed adjacent to distal endplates with electric current at potentials equally higher and lower respectively than the zero potential at the first electrodes.

CATALYST FOR HYDROGEN PRODUCTION

NºPublicación:  US2025297387A1 25/09/2025
Solicitante: 
THE UNIV OF MEMPHIS RESEARCH FOUNDATION [US]
The University of Memphis Research Foundation

Resumen de: US2025297387A1

Provided herein are catalysts for producing hydrogen via the hydrogen evolution reaction (HER) during water splitting, methods of producing hydrogen via photocatalytic water splitting using the catalysts, and compositions for use in photocatalytic water splitting that include the catalysts. In some embodiments, a catalyst hereof is a metal complex of Formula I,M(L1)(L2)A   Formula Iwherein M is a transition metal, L1 and L2 are both ligands independently forming one or more coordinate bonds with the metal M, and A is an anion, andwherein L1 is a tetrapyridyl-amine (Py4N) having four pyridyl groups and an amine group each forming a coordinate bond with the metal M.

ELECTROLYZER FOR PRODUCING HYDROGEN AND METHOD FOR THE PRODUCTION OF HYDROGEN, AND USE OF THE ELECTROLYSER

NºPublicación:  US2025297380A1 25/09/2025
Solicitante: 
FINOW AUTOMOTIVE EBERSWALDE GMBH [DE]
Finow Automotive Eberswalde GmbH

Resumen de: US2025297380A1

An electrolyzer for producing hydrogen and a method for the production of hydrogen. The electrolyzer for producing hydrogen comprises a plurality of electrolysis cells arranged in a plurality of planes, each having at least one anode and one cathode and a proton exchange membrane between the anode and the cathode. The proton exchange membranes forming respective active area regions. At least one electrolysis cell has a plurality of active area regions arranged substantially in a plane.

METHOD FOR OPERATING AN AMMONIA SYNTHESIS PROCESS AT PARTIAL LOAD, AND PARTIAL-LOAD-CAPABLE AMMONIA SYNTHESIS PROCESS

NºPublicación:  WO2025195683A1 25/09/2025
Solicitante: 
LINDE GMBH [DE]
LINDE GMBH
EP_4620914_PA

Resumen de: WO2025195683A1

The invention relates to a method and a device for synthesizing ammonia (8), wherein a gas mixture (make-up gas) (1), which comprises hydrogen and nitrogen and is supplied with a temporally fluctuating flow rate, is provided after being compressed in a first compressor (make-up gas compressor) (V1) in order to form an ammonia synthesis gas (3) that is compressed with the aid of a second compressor (recycle compressor) (V2) and is then reacted in an ammonia reactor (R) in order to form an ammonia-containing synthesis product (5), from which a recycled gas (2) comprising hydrogen and nitrogen is separated in order to be recirculated in order to form the ammonia synthesis gas (3). The flow rate of the recycled gas (2) is controlled via the recycle compressor (V2), which is integrated into a control circuit as an actuator and the conveying capacity of which can be set independently of the conveying capacity of the make-up gas compressor (V1). The invention is characterized in that the control circuit is designed with a higher-level control system which outputs a control signal that is based on the load of the ammonia reactor in order to change the conveying capacity of the recycle compressor (V2), said control signal being corrected by a PID control circuit in such a way that the pressure in the ammonia reactor (R) is always within a specified value range.

STATE DIAGNOSIS SYSTEM, STATE DIAGNOSIS METHOD, AND ELECTROLYSIS SYSTEM

NºPublicación:  EP4621108A1 24/09/2025
Solicitante: 
TOSHIBA KK [JP]
Kabushiki Kaisha Toshiba
EP_4621108_PA

Resumen de: EP4621108A1

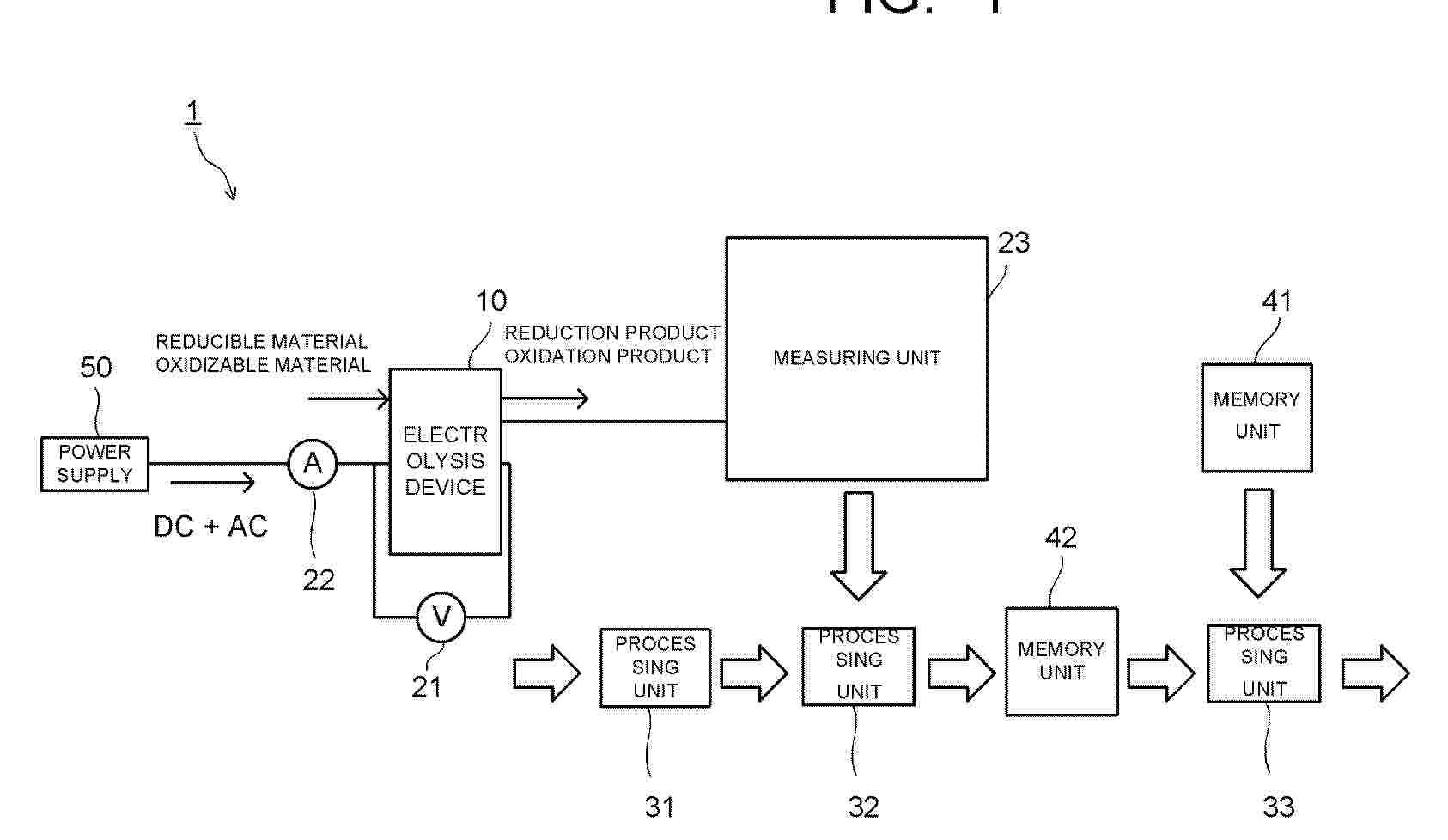
A diagnosis system of an electrolysis device, includes: a device to output an impedance data indicating a measurement result of a complex impedance; a first memory unit to store prior data including a relation data indicating a relation between state of the device and a diagnosis result of a state of the device; a first processing unit to analyze the impedance data, judge validity of an analysis result, and output an analysis data indicating the analysis result in which data indicating at least a part of a frequency region of the measurement result is determined valid; a second processing unit to output a state data indicating the state based on first data including the analysis data; a second memory unit to store second data including the state data; and a third processing unit to output a diagnosis data based on data including the prior data and the second data.

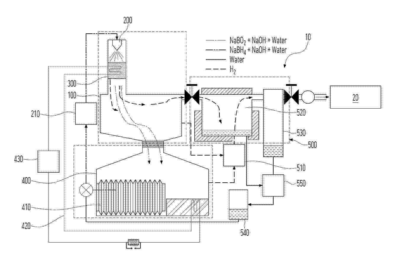
HYDROGEN GENERATION SYSTEM

NºPublicación:  KR20250139936A 24/09/2025
Solicitante: 
주식회사케이티
KR_20250139936_PA

Resumen de: KR20250139936A

본 발명의 일 실시예에 따른 수소 발생 시스템은 NaBH₄를 활용한 수소 발생 시스템에 있어서, 내부에서 수소 발생 반응이 발생하는 반응 용기; 상기 반응 용기의 상부에 배치되고, 제 1 펌프와 연결되어 하부로 NaBH₄ 수용액을 분사시키는 노즐; 상기 노즐을 통해 분사되는 NaBH₄ 수용액에 대응되는 위치에 배치되고 상기 NaBH₄ 수용액의 수소 발생 반응속도를 촉진시키는 촉매부; 상기 반응 용기의 하부에 결합되고, 상기 수소를 제외한 생성물을 저장하는 저장 용기; 및 상기 반응 용기와 연결되고, 상기 수소를 제 2 펌프를 통해 연료 전지로 공급하는 공급부를 포함할 수 있다.

PROCESS FOR PRODUCING HYDROGEN GAS FROM THE CATALYTIC CRACKING OF AMMONIA

NºPublicación:  EP4619339A1 24/09/2025
Solicitante: 
JOHNSON MATTHEY PLC [GB]
Johnson Matthey Public Limited Company
JP_2025532364_PA

Resumen de: CN119998228A

Process A: a process for producing hydrogen from catalytic cracking of ammonia. The method includes the step of supplying a hydrogen-containing recycle gas taken downstream of an ammonia cracking reactor to one or more catalyst-containing reaction tubes disposed within the ammonia cracking reactor. The invention can be used to provide hydrogen as a carbon-free fuel.

CELL FRAME FOR PRESSURIZED ELECTROLYSER CELL STACK AND ELECTROLYSER CELL STACK COMPRISING A NUMBER OF SUCH CELL FRAMES

NºPublicación:  EP4619569A2 24/09/2025
Solicitante: 
GREEN HYDROGEN SYSTEMS AS [DK]
Green Hydrogen Systems A/S
AU_2023381476_PA

Resumen de: AU2023381476A1

A cell frame adapted for use in a pressurised electrolyser cell stack is provided. From an inner circumferential rim of the cell frame, a circumferential radial shelf with inwardly tapering thickness is provided, such that an annular space between a circumferential radial shelf and a neighbouring circumferential radial shelf is provided when cell frames are stacked in alignment with each other, and that outwardly of the circumferential radial shelf, a mobility link is provided which connects the radial shelf to the remaining cell frame.

SOLID ELECTROCHEMICAL CELL STACK

NºPublicación:  EP4620046A1 24/09/2025
Solicitante: 
TNO [NL]
Nederlandse Organisatie voor Toegepast-Natuurwetenschappelijk Onderzoek TNO
KR_20250115387_PA

Resumen de: CN120226171A

The present disclosure relates to an electrochemical cell stack comprising solid state electrochemical cells (20), an electrically conductive separator (30); and a sealing element (40). The separator comprises: a central portion (31) having an oppositely recessed support surface (32) supporting the solid oxide cell, and a contact surface (34) opposite the recessed support surface contacting an adjacent solid state electrochemical cell; and a boundary portion (36) providing a relatively elevated top (37) and upstanding side walls (38). A sealing element (40) extends between an elevated top surface of the boundary portion and an opposing support surface (39) of an adjacent bulkhead. The spacing distance between the concave support surface and the contact surface of the adjacent separator, defined by the combined height of the sealing element and the upstanding side wall, is matched to the thickness of the solid state electrochemical cell.

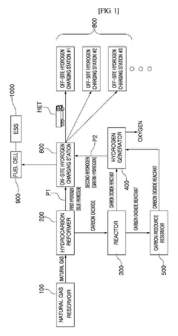
CLEAN ENERGY CONVERGENCE CENTER USING BLUE AND GREEN HYDROGEN

NºPublicación:  EP4621699A1 24/09/2025
Solicitante: 
LOWCARBON CO LTD [KR]
Lowcarbon Co., Ltd
EP_4621699_PA

Resumen de: EP4621699A1

The present invention relates to a clean energy convergence center using blue and green hydrogen. According to an embodiment of the present invention, the clean energy convergence center comprises: a clean hydrogen production base for producing blue and green hydrogen through the capture, storage, and recycling of carbon dioxide generated during methane reforming; and at least one clean hydrogen node that is supplied with the blue and green hydrogen produced from the clean hydrogen production base. The clean hydrogen nodes are distributed in large numbers throughout the country in consideration of factors including the area and population of each of regions and the distance to the clean hydrogen production base. The clean hydrogen production base and the clean hydrogen nodes are connected, and infrastructure including logistics, rest facilities, offices, and restaurants is expanded around each of the distributed clean hydrogen nodes.

ELECTROLYSIS SYSTEM AND ELECTROLYSIS DEVICE

NºPublicación:  EP4621106A1 24/09/2025
Solicitante: 
ENEOS CORP [JP]
ENEOS Corporation
EP_4621106_PA

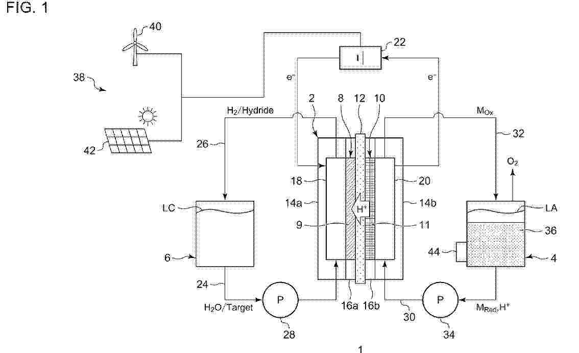
Resumen de: EP4621106A1

An electrolysis system (1) includes: an electrolysis cell (2); and a mediator reduction tank (4). The electrolysis cell (2) has: an anode electrode (10) that electrochemically oxidizes a reduced form (MRed) of a mediator; and a cathode electrode (8) that performs at least one of generation of hydrogen by electrochemical reduction of protons or water and generation of an organic hydride by electrochemical reduction of a hydrogenation target substance. The mediator reduction tank (4) non-photochemically reduces an oxidized form (MOx) of the mediator generated in the electrolysis cell (2).

WATER ELECTROLYSIS DEVICE AND METHOD FOR OPERATING WATER ELECTROLYSIS DEVICE

NºPublicación:  EP4621107A1 24/09/2025
Solicitante: 
PANASONIC IP MAN CO LTD [JP]
Panasonic Intellectual Property Management Co., Ltd
EP_4621107_PA

Resumen de: EP4621107A1

A water electrolyzer includes a water electrolysis cell, a voltage applicator, a pressure regulating valve, and a controller. The water electrolysis cell includes a diaphragm or an electrolyte membrane, an anode, and a cathode. The anode is provided in one of two spaces separated by the diaphragm, or on one of two main surfaces of the electrolyte membrane. The cathode is provided in the other space separated by the diaphragm, or on the other main surface of the electrolyte membrane. The voltage applicator applies voltage between the anode and the cathode. In start-up of the water electrolyzer, the controller controls the voltage applicator to increase current flowing through the water electrolysis cell, and then controls the pressure regulating valve to increase set pressure of the pressure regulating valve.

PREDICTIVE MAINTENANCE OF HYDROGEN-ENERGY SYSTEMS

NºPublicación:  EP4621890A1 24/09/2025
Solicitante: 
UNIV DE TECHNOLOGIE DE BELFORT MONTBELIARD [FR]
CENTRE NAT RECH SCIENT [FR]
UNIV FRANCHE COMTE [FR]
ECOLE NAT SUPERIEURE DE MECANIQUE ET DES MICROTECHNIQUES [FR]
Universit\u00E9 de Technologie de Belfort-Montb\u00E9liard,
Centre National de la Recherche Scientifique,
Universit\u00E9 de Franche-Comt\u00E9,
\u00C9cole Nationale Sup\u00E9rieure de M\u00E9canique et des Microtechniques
EP_4621890_PA

Resumen de: EP4621890A1

The disclosure notably relates to a computer-implemented method for predictive maintenance of a system. The system comprises a hydrogen energy component, a cooling circuit, at least one actuator of the cooling circuit and at least one sensor collecting operating data during an operating of the system. The method comprises, during the operating of the system, the following three steps. The method comprises a first step of obtaining the operating data collected by to the at least one sensor. The method comprises a second step of estimating that a current state of the system is the fault state. The method comprises a third step of predicting a future state of the system. Such a method forms an improved solution for predicting maintenance of the system comprising the hydrogen energy component.

ELECTROLYZER FOR PRODUCING HYDROGEN AND METHOD FOR THE PRODUCTION OF HYDROGEN

NºPublicación:  EP4621098A1 24/09/2025
Solicitante: 
FINOW AUTOMOTIVE EBERSWALDE GMBH [DE]
Finow Automotive Eberswalde GmbH
EP_4621098_PA

Resumen de: EP4621098A1

The present invention is related to an electrolyzer for producing hydrogen and to a method for the production of hydrogen.The electrolyzer for producing hydrogen (210) comprises a plurality of electrolysis cells (1) arranged in a plurality of planes (2), each having at least one anode (10) and one cathode (11) and a proton exchange membrane (3) between the anode (10) and the cathode (11), the proton exchange membranes (3) forming respective active area regions (30), wherein at least one electrolysis cell (1) has a plurality of active area regions (30) arranged substantially in a plane (2), wherein the electrolyzer comprises at least one tie rod (130) provided between active area regions (30) and extending perpendicular with regard to the planes (2).

ELECTROCHEMICAL REACTION DEVICE AND METHOD OF OPERATING ELECTROCHEMICAL REACTION DEVICE

NºPublicación:  EP4621100A2 24/09/2025
Solicitante: 
TOSHIBA KK [JP]
Kabushiki Kaisha Toshiba
EP_4621100_PA

Resumen de: EP4621100A2

An electrochemical reaction device includes: an electrochemical reaction structure including a cathode to reduce carbon dioxide to produce a carbon compound, an anode to oxidize water to produce oxygen, a diaphragm therebetween, a cathode flow path on the cathode, and an anode flow path on the anode; a first flow path through which a first fluid to the cathode flow path flows; a second flow path through which a second fluid to the anode flow path flows; a third flow path through which a third fluid from the cathode flow path flows; a fourth flow path through which a fourth fluid from the anode flow path flows; and a gas-liquid separator in or on the anode flow path and to separate a gas containing the oxygen from a fifth fluid containing the water and the oxygen through the anode flow path.

PROCESS AND APPARATUS FOR CRACKING AMMONIA

NºPublicación:  EP4620907A1 24/09/2025
Solicitante: 
AIR PROD & CHEM [US]
Air Products and Chemicals, Inc
EP_4620907_PA

Resumen de: EP4620907A1

In a process in which ammonia is cracked to form a hydrogen gas product and an offgas comprising nitrogen gas, residual hydrogen gas and residual ammonia gas, residual ammonia is recovered from the offgas from the hydrogen recovery process by partial condensation and phase separation, and hydrogen is recovered from the resultant ammonia-lean offgas by partial condensation and phase separation. The recovered ammonia may be recycled the cracking process and the recovered hydrogen may be recycled to the hydrogen recovery process to improve hydrogen recovery from the cracked gas. Overall hydrogen recovery from the ammonia may thereby be increased to over 99%.

HYDROGEN ADDITIVATION TO THE BURNERS OF MELTING FURNACES FOR METAL RECYCLING

NºPublicación:  EP4621082A1 24/09/2025
Solicitante: 
SALA MAURIZIO [IT]
Sala, Maurizio
EP_4621082_PA

Resumen de: EP4621082A1

Apparatus (1) for metal smelting, wherein the metals processed in the smelting furnace are recycled metals, preferably recycled aluminium, comprising:- a smelting furnace comprising one or more burners (5) fed with methane from the network and air supplied by an atmospheric air blower (6) for intended for combustion;- a water electrolyser (4) capable of producing a mixture of gaseous hydrogen and oxygen; such gases being immediately conveyed to the burner (5) without interposition of storage tanks;characterised in thatsaid water electrolyser (4) is powered by a solar panel (2),further comprising batteries for storing the electric energy generated by said solar panel (2).Such apparatus further comprises a system adjusting the supply of gaseous hydrogen and oxygen using sensor measuring the quantity of carbon dioxide, carbon monoxide, nitrogen oxides, particulate matter generated during furnace operation.

APPARATUS FOR PRODUCING HYDROGEN, FROM AN AMMONIA FEEDSTOCK STREAM

Nº publicación: EP4620904A1 24/09/2025

Solicitante:

AIR LIQUIDE [FR]
L'AIR LIQUIDE, SOCIETE ANONYME POUR L'ETUDE ET L'EXPLOITATION DES PROCEDES GEORGES CLAUDE

EP_4620904_PA

Resumen de: EP4620904A1

The invention relates to an apparatus (2) for producing hydrogen, from a feedstock stream (3) comprising ammonia, traces of water and oil contaminants, said apparatus (2) comprising:- a vaporizer (4) comprising a vaporization chamber (6) configured to receive the feedstock stream (3) and produce a vaporized purified ammonia stream (7), said vaporization chamber (6) comprising a blowdown outlet (8) configured to discharge a blowdown stream (10) comprising the traces of water and oil contaminants from said vaporization chamber (6);- an ammonia cracking reactor (12) for performing an endothermic reaction of said vaporized purified ammonia stream (7), thereby producing said hydrogen; and- a fired equipment (14);wherein said blowdown outlet (8) is connected to the fired equipment (14) for providing the blowdown stream (10) as an ammonia fuel stream to the fired equipment (14).

traducir