Ministerio de Industria, Turismo y Comercio LogoMinisterior
 

Alerta

Resultados 949 resultados
LastUpdate Última actualización 03/11/2025 [06:56:00]
pdfxls
Publicaciones de solicitudes de patente de los últimos 60 días/Applications published in the last 60 days
previousPage Resultados 500 a 525 de 949 nextPage  

RENEWABLE ENERGY UTILIZATION SYSTEM BASED ON NITROGEN-FREE COMBUSTION AND CARBON DIOXIDE RECYCLING

NºPublicación:  US2025297570A1 25/09/2025
Solicitante: 
UNIV TIANJIN [CN]
TIANJIN UNIVERSITY
US_2025297570_PA

Resumen de: US2025297570A1

The present disclosure provides a renewable energy utilization system based on nitrogen-free combustion and carbon dioxide recycling. The system includes: an electrolysis unit used to electrolyze water using renewable energy to obtain hydrogen and oxygen; a carbon dioxide collection unit used to collect carbon dioxide gas released during utilization of the renewable energy; a methanol synthesis unit used to synthesize methanol using the hydrogen and the carbon dioxide gas; an internal combustion engine generator set used to perform nitrogen-free combustion of the methanol and the oxygen to generate exhaust gas and electrical energy; and a methanol reforming reaction unit used to catalyze a reforming reaction of the methanol using residual heat of the exhaust gas to obtain synthesis gas, and input the synthesis gas into the internal combustion engine generator set as a fuel for the internal combustion engine generator set.

SURFACE MODIFICATION METHOD OF NICKEL-BASED CATALYTIC MATERIAL FOR WATER ELECTROLYSIS, AND CATALYTIC MATERIAL FOR WATER ELECTROLYSIS

NºPublicación:  US2025297385A1 25/09/2025
Solicitante: 
UNIV OF SCIENCE AND TECHNOLOGY BEIJING [CN]
University of Science and Technology Beijing
CN_118326434_PA

Resumen de: US2025297385A1

A surface modification method of a nickel-based catalytic material for water electrolysis, and a catalytic material for water electrolysis are provided. The method includes: immersing a nickel-based substrate material to be modified in a first solution including a transition metal cation to allow a first modification treatment, such that a layered double hydroxide (LDH) is produced on a surface of the nickel-based substrate material; conducting a plasma etching treatment for the LDH produced on the surface of the nickel-based substrate material after the first modification treatment to produce a cation/anion double vacancy-containing LDH; and immersing the cation/anion double vacancy-containing LDH produced after the plasma etching treatment in a second solution including a high-valent metal cation to allow a second modification treatment, such that a high-valent metal single atom-containing LDH is produced. The method has advantages such as simple process, low cost, and high stability.

PROCESSES FOR PREPARING HYDROXIDES AND OXIDES OF VARIOUS METALS AND DERIVATIVES THEREOF

NºPublicación:  US2025296852A1 25/09/2025
Solicitante: 
NEMASKA LITHIUM INC [CA]
NEMASKA LITHIUM INC
US_2022242746_A1

Resumen de: US2025296852A1

There are provided processes for preparing a metal hydroxide comprising (i) at least one metal chosen from nickel and cobalt and optionally (ii) at least one metal chosen from manganese, lithium, copper, magnesium and aluminum, the process comprising:reacting a metal sulfate comprising (i) at least one metal chosen from nickel and cobalt and optionally (ii) at least one metal chosen from manganese, lithium, copper, magnesium and aluminum with lithium hydroxide, sodium hydroxide and/or potassium hydroxide and optionally a chelating agent in order to obtain a solid comprising the metal hydroxide and a liquid comprising lithium sulfate, sodium sulfate and/or potassium sulfate;separating the liquid and the solid from one another to obtain the metal hydroxide;submitting the liquid comprising lithium sulfate, sodium sulfate and/or potassium sulfate to an electromembrane process for converting the lithium sulfate, sodium sulfate and/or potassium sulfate into lithium hydroxide, sodium hydroxide and/or potassium hydroxide respectively;reusing the sodium hydroxide obtained by the electromembrane process for reacting with the metal sulfate; andreusing the lithium hydroxide obtained by the electromembrane process for reacting with the metal sulfate and/or with the metal hydroxide.

APPARATUS FOR PERFORMING AN ENDOTHERMIC REACTION OF A GAS FEED

NºPublicación:  US2025296063A1 25/09/2025
Solicitante: 
LAIR LIQUIDE SA POUR LETUDE ET L\u2019EXPLOITATION DES PROCEDES GEORGES CLAUDE [FR]
L'Air Liquide, Societe Anonyme pour l'Etude et l\u2019Exploitation des Procedes Georges Claude
US_2025296063_PA

Resumen de: US2025296063A1

Apparatus for the endothermic reaction of a gas feed, the apparatus comprising: a pre-heater arranged for pre-heating the gas feed, —at least one reactor tube, —a furnace arranged for the radiation and/or convection heating of said at least one reactor tube, said at least one reactor tube being at least partially filled with a catalyst material configured for promoting the endothermic reaction, said at least one reactor tube comprising a tube inlet for said pre-heated gas feed, —a main reaction tube portion extending within said furnace and a pre-reaction tube portion extending outside of the furnace, said pre-reaction tube portion being arranged between the tube inlet and the main reaction tube portion, wherein part of the catalyst material is extending within the pre-reaction tube portion.

CARBON DIOXIDE PROCESS APPARATUS, CARBON DIOXIDE PROCESS METHOD, AND MANUFACTURING METHOD OF CARBON COMPOUND

NºPublicación:  US2025296047A1 25/09/2025
Solicitante: 
HONDA MOTOR CO LTD [JP]
HONDA MOTOR CO., LTD
CN_120662223_PA

Resumen de: US2025296047A1

A carbon dioxide process apparatus includes: a recovery device that includes a carbon dioxide absorption portion which dissolves carbon dioxide in an electrolytic solution of a strong alkali and absorbs the carbon dioxide; an electrochemical reaction device to which the electrolytic solution in which the carbon dioxide is dissolved by the carbon dioxide absorption portion is supplied and which electrochemically reduces the carbon dioxide; an anion exchange type fuel cell that supplies electric energy to the electrochemical reaction device; a carbon dioxide concentration gas supply passage that supplies a carbon dioxide concentration gas generated by the fuel cell to the electrolytic solution which is discharged from the recovery device and before being supplied to the electrochemical reaction device; and a hydrogen supply passage that supplies hydrogen generated by the electrochemical reaction device to the fuel cell.

CO2 CONVERSION METHOD

NºPublicación:  US2025297393A1 25/09/2025
Solicitante: 
HONDA MOTOR CO LTD [JP]
HONDA MOTOR CO., LTD

Resumen de: US2025297393A1

A CO2 conversion method includes: generating CO and H2O by a RWGS reaction from CO2 and H2; generating C2H4 and H2 by CO electrolysis from the CO and H2O; and using the H2 generated by the CO electrolysis as the H2 of the RWGS reaction.

WATER ELECTROLYSIS STACK

NºPublicación:  US2025297392A1 25/09/2025
Solicitante: 
HONDA MOTOR CO LTD [JP]
HONDA MOTOR CO., LTD
US_2025297392_PA

Resumen de: US2025297392A1

A water electrolysis stack includes: a membrane electrode assembly including an electrolyte membrane and a plate-shaped current collector provided on one of both sides of the electrolyte membrane in the thickness direction thereof; a water introduction unit for introducing water from the outside; a water flow path member disposed so as to face the current collector and provided with a water flow path for guiding, along the surface direction of the current collector, the water introduced into the water introduction unit; and a pumping unit for pumping the water to the water introduction unit. The pumping unit continuously changes the pumping amount of the water, thereby pulsating the water flowing through the water flow path along the surface direction of the current collector.

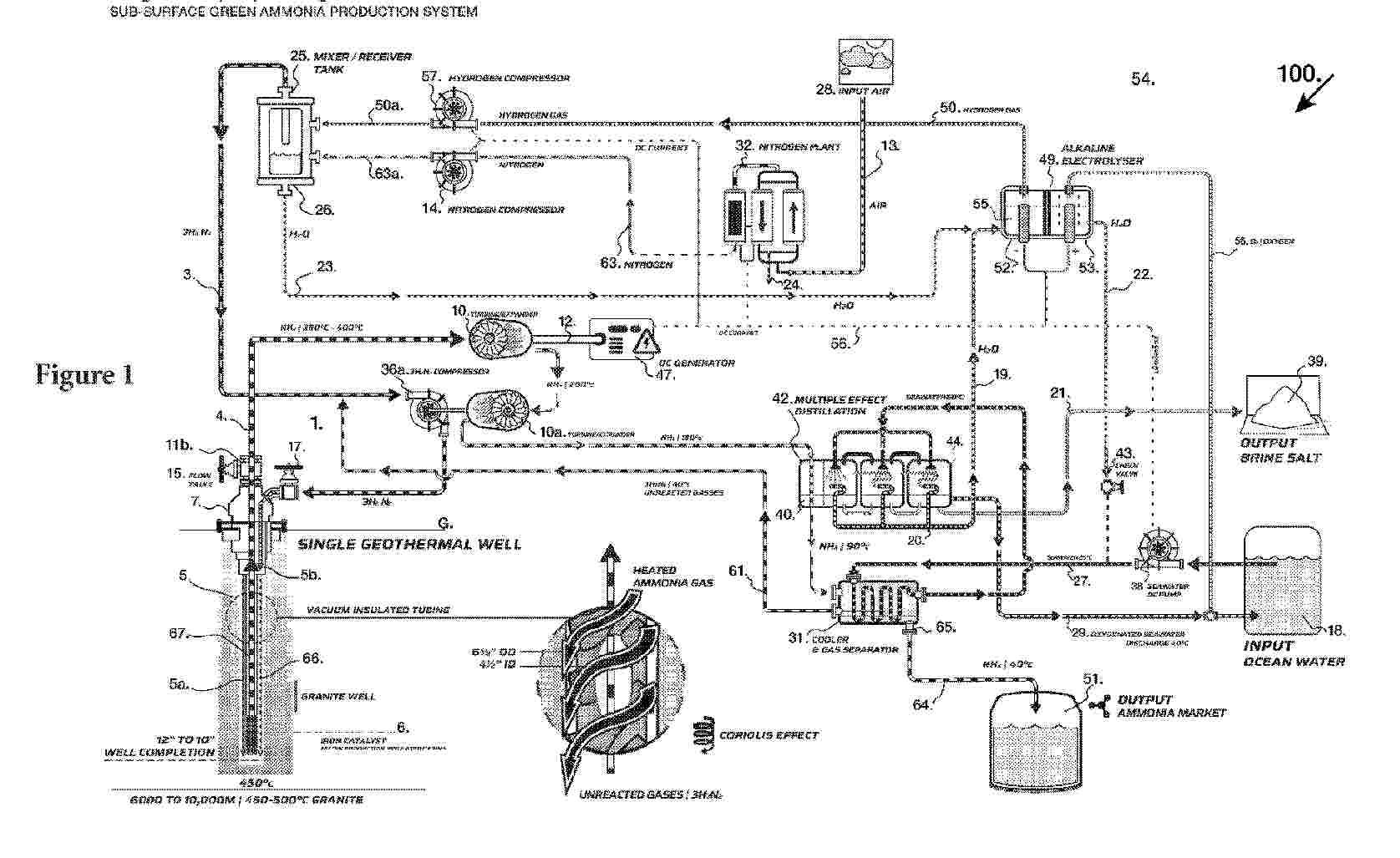
SUB-SURFACE GEOTHERMAL AMMONIA PRODUCTION SYSTEM

NºPublicación:  US2025296846A1 25/09/2025
Solicitante: 
GOOD WATER ENERGY LTD [AU]
GOOD WATER ENERGY LTD
WO_2023212775_PA

Resumen de: US2025296846A1

The present disclosure is directed to a sub-surface geothermal ammonia production system, comprising; a geothermal well having an inlet in fluid communication with an injection bore, and an outlet in fluid communication with a production bore, the inlet configured to receive a fluid mixture of hydrogen and nitrogen, and the outlet producing a fluid ammonia; and a catalyst disposed within the geothermal well, wherein the fluid mixture of hydrogen and nitrogen is drawn into the injection bore of the geothermal well absorbing thermal energy from geology surrounding the well before entering the production bore of the geothermal well, whereby the heated fluid mixture of hydrogen and nitrogen is drawn into contact with the catalyst to convert the fluid mixture of hydrogen and nitrogen into the fluid ammonia within the well.

DEVICE FOR PROVIDING HYDROGEN

NºPublicación:  US2025297602A1 25/09/2025
Solicitante: 
HOERBIGER WIEN GMBH [AT]
Hoerbiger Wien GmbH
JP_2025515763_PA

Resumen de: US2025297602A1

In order to provide a device for providing hydrogen by means of an electrolysis unit which allows the longest possible service life of the electrolysis unit even in case of fluctuating energy supplies to the electrolysis unit, a reciprocating piston compressor is provided to compress the hydrogen generated by the electrolysis unit, the reciprocating piston compressor having at least one automatic intake valve. A unloader is provided in order to hold the intake valve selectively in an open position, an electrically actuatable actuator is provided to activate the unloader, and a control unit is provided to control the actuator, the control unit being designed to actuate the actuator in such a way that an outlet pressure (p1) of the hydrogen at the outlet of the electrolysis unit, or a differential pressure (Δp) between an anode and a cathode of the electrolysis unit, is adjustable to a predefined target value (p1_target, Δp_target).

FUEL CELL SYSTEM, FUEL CELL PLANT AND PROCESS FOR PRODUCTION OF SYNTHESIS GAS

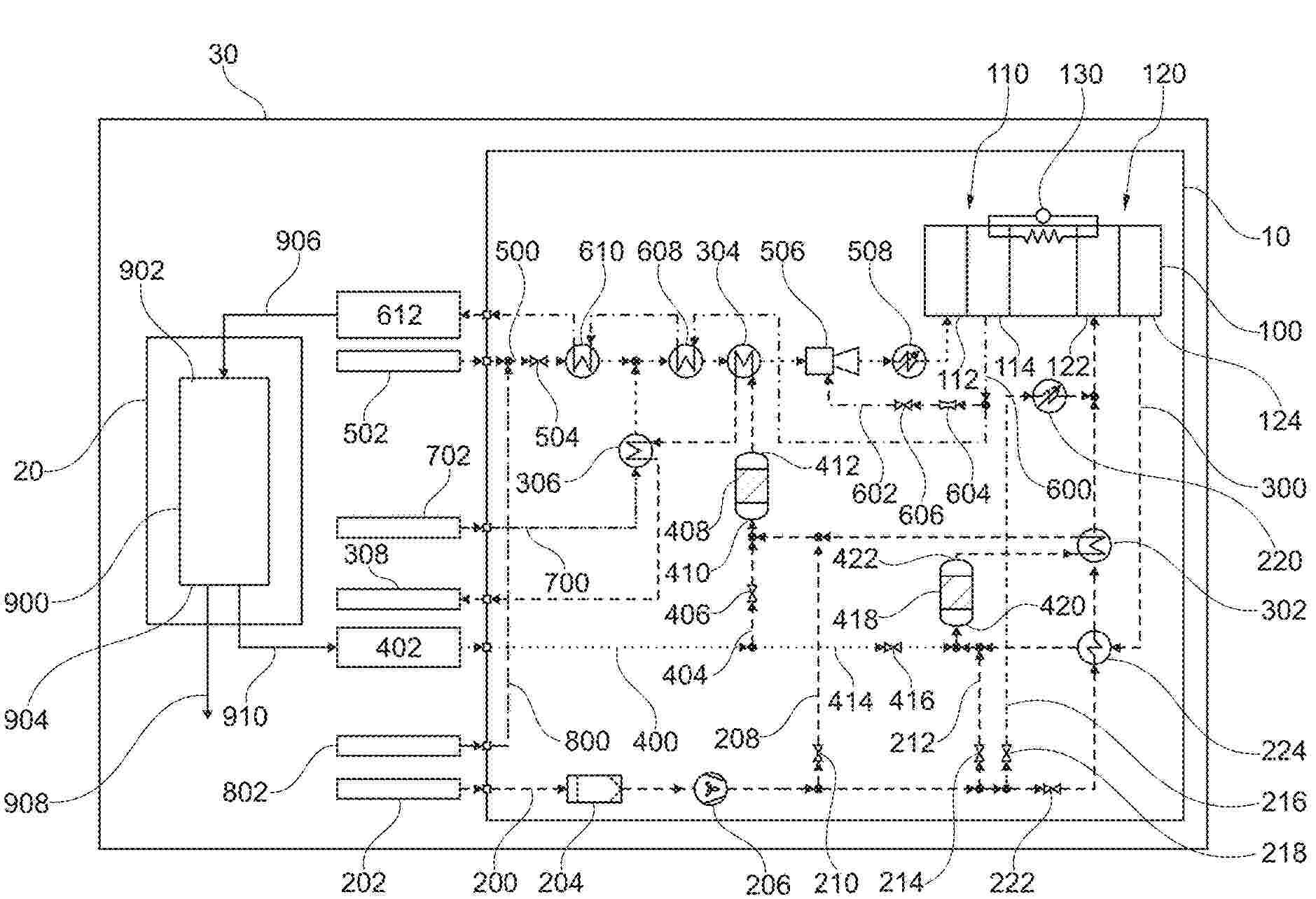
NºPublicación:  US2025297379A1 25/09/2025
Solicitante: 
AVL LIST GMBH [AT]
AVL List GmbH
US_2025297379_PA

Resumen de: US2025297379A1

The present invention relates to an electrolysis system (10), an electrolysis plant (30) with an electrolysis system (10) and a synthesis system (20) and a method (1000) for generating synthesis gas by means of the electrolysis system (10).

N---SEBS Anion exchange membranes comprising crosslinked polydibenzyl N-methyl piperidinium-pentafluoro-SEBS membrane and method thereof

NºPublicación:  KR20250140388A 25/09/2025
Solicitante: 
인천대학교산학협력단
KR_20250140388_PA

Resumen de: KR20250140388A

본 발명의 일 실시형태에 따르면, 폴리(다이벤질 N-메틸 피페리딘)(poly(dibenzyl N-methyl piperidine))과 펜타플루오로벤조일(pentafluorobenzoyl)기를 포함하는 브로모헥실 SEBS(bromohexyl SEBS) 간의 가교 결합에 의해 제조된 가교 폴리(다이벤질 N-메틸피페리디늄)-펜타플루오로-SEBS 막을 포함하는 음이온 교환막을 제공한다.

44'-3---SEBSx-PPBP-pTP-SEBS Anion exchange membranes comprising crosslinked 44'-bis3-phenylpropylbiphenyl-pTP-SEBS and method thereof

NºPublicación:  KR20250140369A 25/09/2025
Solicitante: 
인천대학교산학협력단
KR_20250140369_PA

Resumen de: KR20250140369A

본 발명은 4,4'-비스(3-페닐프로필)비페닐-파라터페닐(4,4'-bis(3-phenylpropyl)biphenyl-pTP, PPBP-pTP)과 브로모헥실 SEBS(bromohexyl SEBS) 간의 가교 결합에 의해 제조된 4,4'-비스(3-페닐프로필)비페닐-파라터페닐-SEBS(x-(PPBP-pTP)-SEBS) 가교결합막을 포함하는 음이온 교환막을 제공한다.

電解セルの製造方法

NºPublicación:  JP2025138153A 25/09/2025
Solicitante: 
本田技研工業株式会社
JP_2025138153_PA

Resumen de: US2025283230A1

A method for producing an electrolysis cell includes a joining step of joining a frame portion of a protective sheet member provided between a membrane electrode assembly and a fluid-supply-side current collector to a portion of the membrane electrode assembly on the outer side of the covered portion where an electrolyte membrane is covered with an electrode catalyst layer to form a joint, and a joined body stacking step of stacking the membrane electrode assembly and the protective sheet member joined together on the fluid-supply-side current collector with the protective sheet member facing the fluid-supply-side current collector.

膜・触媒層接合体および水電解装置

NºPublicación:  JP2025138161A 25/09/2025
Solicitante: 
株式会社SCREENホールディングス
JP_2025138161_PA

Resumen de: WO2025191937A1

In the present invention, a third catalyst that promotes the bonding of hydrogen and oxygen is disposed on the anode side of an electrolyte membrane (51). Even when hydrogen generated on the cathode side passes through the electrolyte membrane (51) and enters the anode side, the action of the third catalyst enables said hydrogen to bond with oxygen generated on the anode side, thereby converting into water. This makes it possible to reduce the concentration of hydrogen in the gas discharged from the anode side. Particles of the third catalyst have a hollow structure with a cavity therein. Therefore, the amount of the third catalyst used can be reduced while maintaining the surface area of the particles. Additionally, because the particles of the third catalyst have an opening, the movement of water, hydrogen, and oxygen at the anode side is less likely to be inhibited. Accordingly, reductions in the reaction rate of electrolysis on the anode side can be suppressed.

ELECTROREDUCTION OF CARBON DIOXIDE (CO2) TO MULTI-CARBON PRODUCTS ON ELECTROCATALYST COMPRISED OF MOLYBDENUM DIPHOSPHIDE (M0P2) AND ITS DOPED DERIVATIVES

NºPublicación:  WO2025199135A1 25/09/2025
Solicitante: 
RUTGERS THE STATE UNIV OF NEW JERSEY [US]
RUTGERS, THE STATE UNIVERSITY OF NEW JERSEY

Resumen de: WO2025199135A1

Disclosed are electrodes comprising a conductive support substrate having an electrocatalyst coating containing crystalline molybdenum phosphides (MoxPy) in size ranging from micro- to nano-particles. The conductive supporting substrate is capable of incorporating a material to be reduced, such as CO2 or CO. Also disclosed are electrochemical methods for generating oxyhydrocarbons from CO2 or CO using water as a source of hydrogen.

ENHANCED OXYGEN ELECTROCHEMISTRY IN FLEXIBLE RECHARGEABLE ZINC-AIR BATTERIES WITH F-DOPED CATALYST AND QUASI-SOLID STATE MEMBRANE

NºPublicación:  WO2025196817A1 25/09/2025
Solicitante: 
COUNCIL SCIENT IND RES [IN]
COUNCIL OF SCIENTIFIC AND INDUSTRIAL RESEARCH
WO_2025196817_PA

Resumen de: WO2025196817A1

The present invention generally relates to a field of advanced energy storage systems. Specifically, the present invention relates to a development of a synergistic F-doped catalyst and quasi-solid state electrolyte membrane for flexible and rechargeable zinc-air batteries. More particularly, the present invention relates to a bifunctional electrocatalyst including f- doped cubic nickel cobalt oxide (NiCoO2)-heteroatom doped mesoporous carbon composite and anion conducting polymer electrolyte membrane for zinc air battery application. Further, the resultant bifunctional electrocatalyst and quasi-solid state electrolyte membrane exhibit an enhanced bifunctional activity and significantly enhance the oxygen evolution reaction and/or hydrogen evolution reaction. In addition, considering the increasing interest in flexible electronics developing reliable anion exchange membranes for ZABs with ionic conductivity matching liquid electrolytes is also essential.

ALKALI-CONTAINING WASTEWATER ZERO DISCHARGE DEVICE AND METHOD FOR WATER ELECTROLYSIS-BASED HYDROGEN PRODUCTION

NºPublicación:  WO2025194821A1 25/09/2025
Solicitante: 
SHANGHAI HOTO ENG INC [CN]
\u4E0A\u6D77\u6CB3\u56FE\u5DE5\u7A0B\u80A1\u4EFD\u6709\u9650\u516C\u53F8
CN_118207588_PA

Resumen de: WO2025194821A1

Disclosed in the present application are an alkali-containing wastewater zero discharge device and method for water electrolysis-based hydrogen production. The device comprises a hydrogen-side water seal device, a hydrogen-side degassing device, a waste alkali collecting tank, a waste alkali pump, an oxygen-side water seal device, and an oxygen-side degassing device. A hydrogen-side liquid phase outlet pipeline of the hydrogen-side degassing device goes downhill and extends inwards to the waste alkali collecting tank; an oxygen-side liquid phase outlet pipeline of the oxygen-side degassing device goes downhill and extends inwards to the waste alkali collecting tank; an exhausting pipeline of the waste alkali collecting tank is communicated with the atmosphere; by means of an inlet pipeline, the waste alkali pump goes downhill and extends inwards to the waste alkali collecting tank, and an outlet of the waste alkali pump is communicated with any one of a water supplementing tank, an alkali blending tank or an alkali transporting tank vehicle. In the present invention, on the premise of ensuring safety and saving investment and an occupied space, alkali-containing wastewater is recycled to serve as a raw material, thereby realizing zero discharge of alkali-containing wastewater; in addition, a centralized alkali-containing wastewater collecting system is designed, so that hydrogen-side and oxygen-side alkali-containing wastewater respectively pass through respective water seal

CATALYST FOR HYDROGEN PRODUCTION

NºPublicación:  WO2025199193A1 25/09/2025
Solicitante: 
THE UNIV OF MEMPHIS RESEARCH FOUNDATION [US]
THE UNIVERSITY OF MEMPHIS RESEARCH FOUNDATION
US_2025297387_A1

Resumen de: WO2025199193A1

Provided herein are catalysts for producing hydrogen via the hydrogen evolution reaction (HER) during water splitting, methods of producing hydrogen via photocatalytic water splitting using the catalysts, and compositions for use m photocatalytic water splitting that include the catalysts. In some embodiments, a catalyst hereof is a metal complex of Formula (I): M(L1)( L2)A, wherein M is a transition metal, L1 and L2 are both ligands independently forming one or more coordinate bonds with the metal M, and A is an anion, and wherein L1 is a tetrapyridyl-amine (Py4N) having four pyridyl groups and an amine group each forming a coordinate bond with the metal M.

PROCESS AND SYSTEM FOR GENERATING HYDROGEN

NºPublicación:  KR20250140625A 25/09/2025
Solicitante: 
하이드로베피티와이엘티디
CN_119020426_PA

Resumen de: CN119020426A

Methods and systems for generating hydrogen from carbon dioxide are disclosed. Methods and systems for generating a hydrogen stream from a carbon dioxide gas stream include converting a first spent carbon dioxide gas stream to an organic feedstock using an algae source in a photosynthesis step. The organic feedstock is then converted into a hydrogen stream and gaseous by-products using organisms in a biological decomposition step. The generated hydrogen may then be collected.

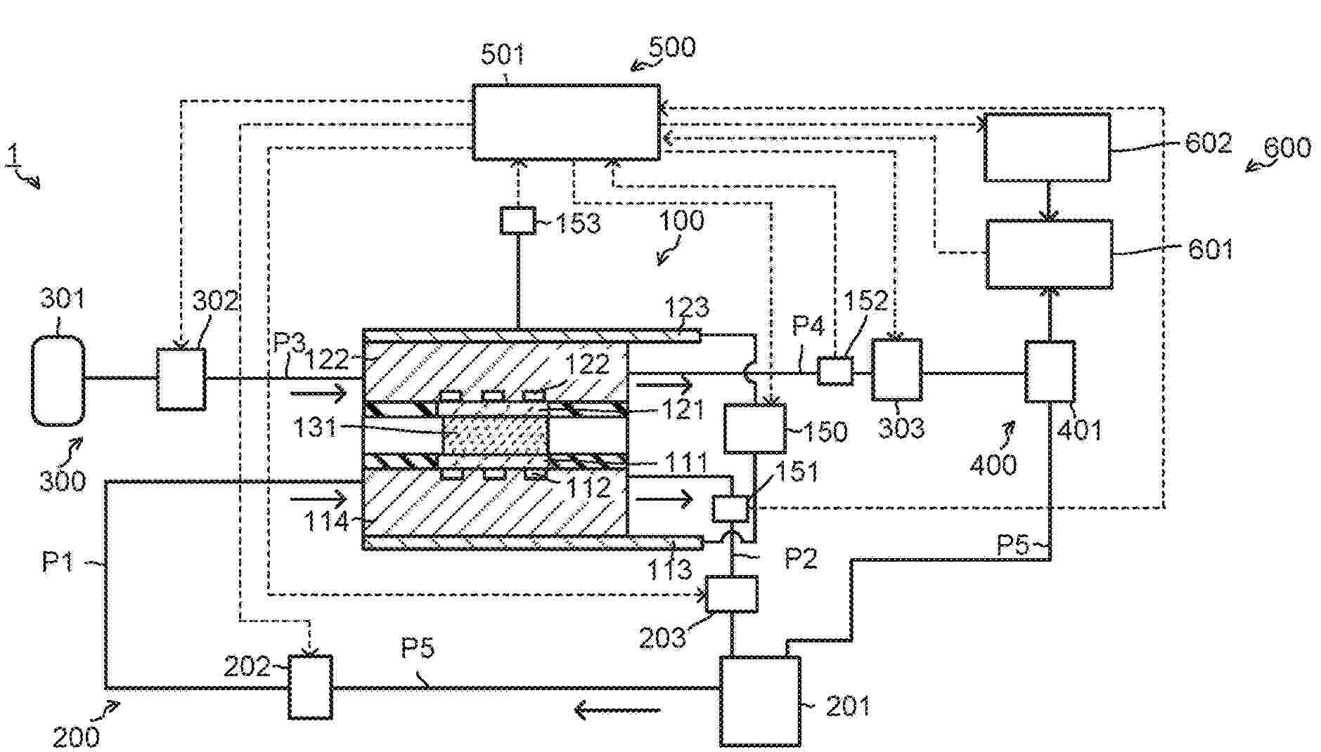
ELECTROLYSIS DEVICE AND ELECTROLYSIS METHOD

NºPublicación:  US2025297389A1 25/09/2025
Solicitante: 
KK TOSHIBA [JP]
KABUSHIKI KAISHA TOSHIBA
US_2025297389_PA

Resumen de: US2025297389A1

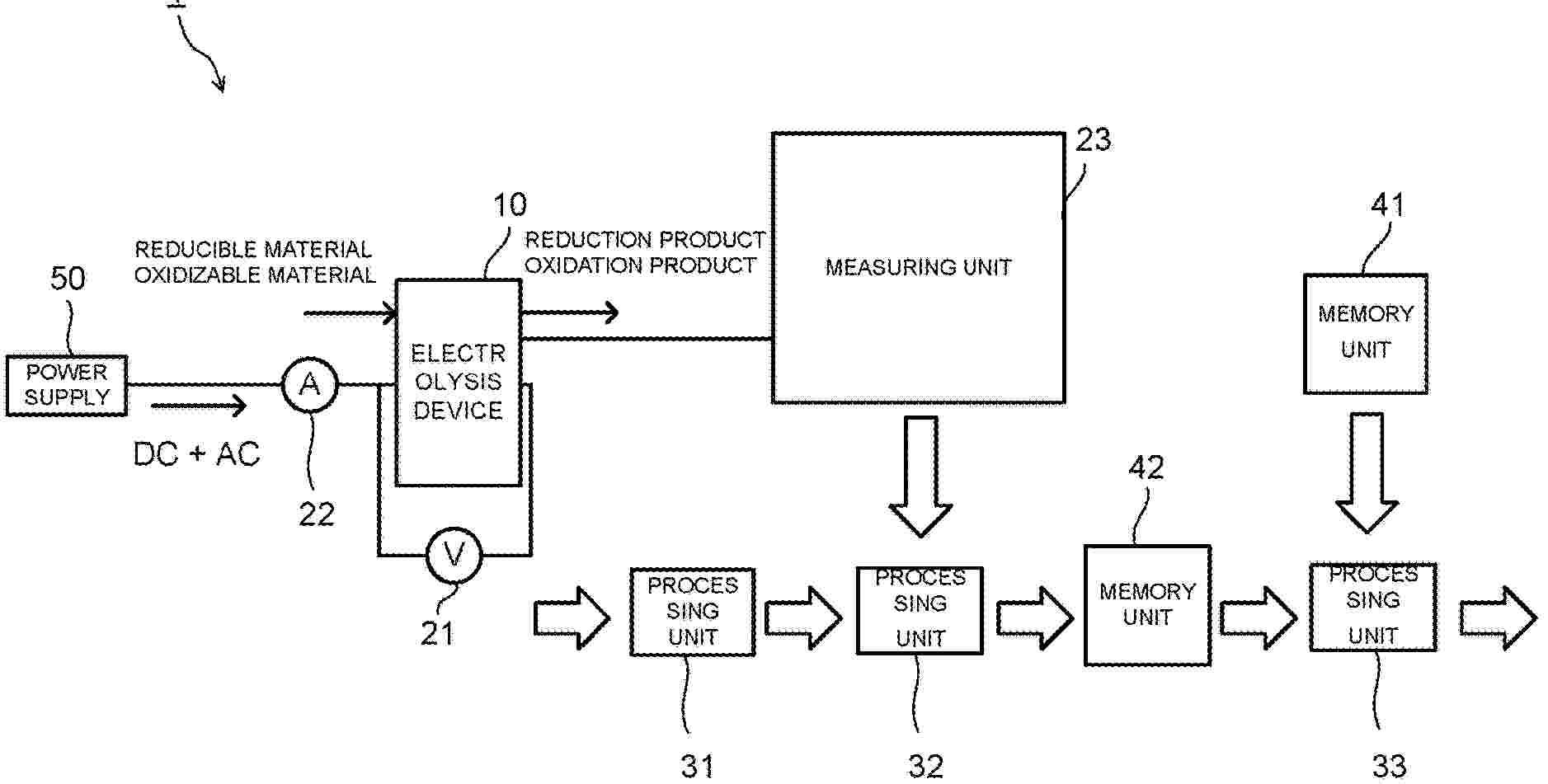
An electrolysis device includes: an electrolysis cell; a cathode supply flow path; an anode supply flow path; a cathode discharge flow path; an anode discharge flow path; a cathode flow rate regulator to adjust a flow rate A of a cathode supply fluid; an anode flow rate regulator to adjust a flow rate B of a anode supply fluid; a first flowmeter to measure a flow rate C of a cathode discharge fluid; a second flowmeter to measure a flow rate D of a anode discharge fluid; and a control device to estimate a Faraday efficiency according to a relational expression for approximating the Faraday efficiency to a function including the C and D, and control the cathode flow rate regulator according to the estimated Faraday efficiency to control the A.

STATE DIAGNOSIS SYSTEM, STATE DIAGNOSIS METHOD, AND ELECTROLYSIS SYSTEM

NºPublicación:  US2025297390A1 25/09/2025
Solicitante: 
TOSHIBA KK [JP]
KABUSHIKI KAISHA TOSHIBA
US_2025297390_PA

Resumen de: US2025297390A1

A diagnosis system of an electrolysis device, includes: a device to output an impedance data indicating a measurement result of a complex impedance; a first memory unit to store prior data including a relation data indicating a relation between state of the device and a diagnosis result of a state of the device; a first processing unit to analyze the impedance data, judge validity of an analysis result, and output an analysis data indicating the analysis result in which data indicating at least a part of a frequency region of the measurement result is determined valid; a second processing unit to output a state data indicating the state based on first data including the analysis data; a second memory unit to store second data including the state data; and a third processing unit to output a diagnosis data based on data including the prior data and the second data.

SOLID OXIDE ELECTROLYSIS UNIT

NºPublicación:  US2025297377A1 25/09/2025
Solicitante: 
TOPSOE AS [DK]
Topsoe A/S
JP_2025515916_PA

Resumen de: US2025297377A1

The present invention relates to a Solid Oxide Electrolysis unit for industrial hydrogen. carbon monoxide or syngas production comprising at least two Solid Oxide Electrolysis cores that each comprise several Solid Oxide Electrolysis stacks of Solid Oxide Electrolysis cells. a power supply to manage electrical power to the Solid Oxide Electrolysis cores and piping connected to the Solid Oxide Electrolysis cores. According to the invention. the Solid Oxide Electrolysis unit comprises a power supply module. which comprises a transformer and at least one power supply unit. and a piping module. which comprises piping headers and fluidic connections going to and from the Solid Oxide Electrolysis cores. wherein the power supply module and the piping module are arranged adjacent to each other and the Solid Oxide Electrolysis cores are arranged above the power supply module and/or the piping module.

ELECTROCHEMICAL REACTION DEVICE AND METHOD OF OPERATING ELECTROCHEMICAL REACTION DEVICE

NºPublicación:  US2025297375A1 25/09/2025
Solicitante: 
TOSHIBA KK [JP]
KABUSHIKI KAISHA TOSHIBA
US_2025297375_PA

Resumen de: US2025297375A1

An electrochemical reaction device includes: an electrochemical reaction structure including a cathode to reduce carbon dioxide to produce a carbon compound, an anode to oxidize water to produce oxygen, a diaphragm therebetween, a cathode flow path on the cathode, and an anode flow path on the anode; a first flow path through which a first fluid to the cathode flow path flows; a second flow path through which a second fluid to the anode flow path flows; a third flow path through which a third fluid from the cathode flow path flows; a fourth flow path through which a fourth fluid from the anode flow path flows; and a gas-liquid separator in or on the anode flow path and to separate a gas containing the oxygen from a fifth fluid containing the water and the oxygen through the anode flow path.

SYNTHETIC METHANOL HAVING LOW DEUTERIUM CONTENT FROM NON-FOSSIL RESOURCES

NºPublicación:  US2025296902A1 25/09/2025
Solicitante: 
BASF SE [DE]
BASF SE
JP_2025518473_A

Resumen de: US2025296902A1

A Process for making methanol having a deuterium content below 90 ppm, based on the total hydrogen content, comprising the steps: (a) providing hydrogen with a deuterium content below 90 ppm, based on the total hydrogen content, by water electrolysis using electrical power that is generated at least in part from non-fossil, renewable resources; (b) providing carbon dioxide; (c) reacting hydrogen and carbon dioxide in the presence of a catalyst to form methanol.

ULTRA-HIGH-CONCENTRATION SEAWATER DESALINATION PROCESS FOR VALUABLE MINERAL RECOVERY AND HIGH-PURITY FRESHWATER PRODUCTION

Nº publicación: US2025296862A1 25/09/2025

Solicitante:

KOREA INST OCEAN SCI & TECH [KR]
KOREA INSTITUTE OF OCEAN SCIENCE & TECHNOLOGY

US_2025296862_PA

Resumen de: US2025296862A1

Provided is an ultra-high-concentration seawater desalination process for valuable mineral recovery and high-purity freshwater production. The process includes introducing seawater through a seawater inlet; performing pre-treatment by deaerating the introduced seawater; introducing the pretreated seawater into a seawater concentrator; introducing the seawater concentrated in the seawater concentrator into a concentrated water crystallizer to extract/recover solids (valuable mineral salts); re-introducing the concentrated water produced in the concentrated water crystallizer into the seawater concentrator; and subjecting distilled water discharged from the seawater concentrator to electrolysis treatment (water electrolysis) to produce hydrogen (H2). The present invention provides an ultra-high-concentration seawater desalination process for valuable mineral recovery and high-purity freshwater production, which can minimize the amount of seawater intake, can reduce energy costs of recovering valuable minerals, and can produce high-purity freshwater even under ultra-high-concentration conditions and thus can be used for hydrogen production through a water electrolysis process.

traducir