Ministerio de Industria, Turismo y Comercio LogoMinisterior
 

Alerta

Resultados 959 resultados
LastUpdate Última actualización 02/11/2025 [06:56:00]
pdfxls
Publicaciones de solicitudes de patente de los últimos 60 días/Applications published in the last 60 days
previousPage Resultados 475 a 500 de 959 nextPage  

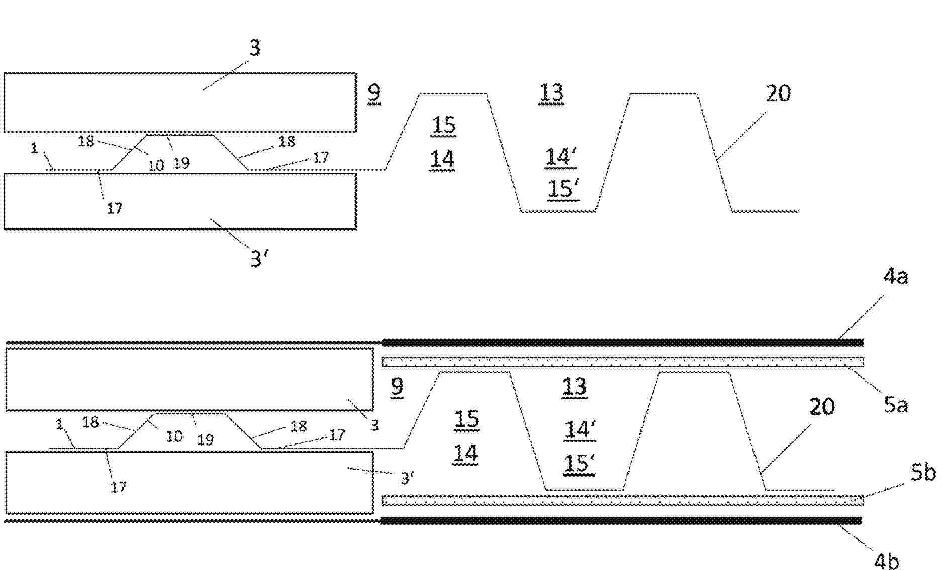
Pila de soc que comprende distribuidor del flujo y facilitador de contacto combinados

NºPublicación:  CL2025001837A1 26/09/2025
Solicitante: 
TOPSOE AS [DK]
TOPSOE A/S
KR_20250124826_PA

Resumen de: CN120476486A

A solid oxide cell stack has a combined flow distributor and contact enabler made of a pressed metal foil with diversion structures and contact regions between interconnect layers and cell layers in the stack.

Pila de soc que comprende distribuidor del flujo y facilitador de contacto combinados

NºPublicación:  CL2025001839A1 26/09/2025
Solicitante: 
TOPSOE AS [DK]
TOPSOE A/S
KR_20250124826_PA

Resumen de: CN120476486A

A solid oxide cell stack has a combined flow distributor and contact enabler made of a pressed metal foil with diversion structures and contact regions between interconnect layers and cell layers in the stack.

Conductive composite catalyst loaded metal oxide and method for manufacturing the same

NºPublicación:  KR20250140993A 26/09/2025
Solicitante: 
주식회사코렌스알티엑스
KR_20250140993_PA

Resumen de: KR20250140993A

본 발명은 금속 산화물이 담지된 전도성 복합 촉매 관한 것으로, 고 내구성의 연료전지 및 수전해 시스템용 촉매에 관한 것이다. 본 발명에 따른 금속산화물이 담지된 전도성 복합 촉매 제조방법은 전자빔 조사 환원법으로 탄소 지지체에 금속을 담지하고, 금속 열화 환원법으로 산소결함이 있는 금속 산화물 나노 입자를 형성하여 별도의 환원제의 첨가 없이 촉매를 제조할 수 있으며, 물 관리가 원활한 고출력, 고내구성 연료전지 촉매 및 고내구성의 수전해 촉매를 제공할 수 있다.

铱锑锡三元金属析氧催化剂及其制备方法

NºPublicación:  CN120700522A 26/09/2025
Solicitante: 
中国恩菲工程技术有限公司中国有色工程有限公司
CN_120700522_PA

Resumen de: CN120700522A

本发明提供了一种铱锑锡三元金属析氧催化剂及其制备方法。该铱锑锡三元金属析氧催化剂包括载体和负载于载体上的氧化铱,其中,载体为掺杂有氧化锡的氧化锑。在本申请中,一方面采用地壳中丰富的金属元素锑和锡的氧化物作为载体,降低了稀缺昂贵铱的用量,而铱的引入则进一步增强了这些位点对析氧反应的催化能力;另一方面,利用三种金属间协同作用,提供更多的催化活性位点,降低反应能垒,提高催化剂的本征活性与反应动力学;又一方面,催化剂中铱、锑和锡三金属产生协同作用,有助于形成更稳定的晶体结构和金属‑氧键,有效防止催化剂结构损坏。通过本申请的铱锑锡三元金属析氧催化剂提高了其析氧反应的活性、选择性和稳定性,降低了过电势。

一种具备析氢性能的ZnWO4@MXene复合光催化剂制备方法

NºPublicación:  CN120695860A 26/09/2025
Solicitante: 
宁夏大学
CN_120695860_PA

Resumen de: CN120695860A

本发明公开了一种具备析氢性能的ZnWO4@MXene复合光催化剂制备方法,包括:将Zn(NO3)2·6H2O和Na2WO4·2H2O分别溶解到去离子水中;将CTAB加入Zn(NO3)2·6H2O溶液中;水热反应得到ZnWO4;将Ti3AlC2利用LiF和HCl进行酸蚀刻,得到多层Ti3C2MXene纳米片;将ZWO纳米颗粒xg和MXene纳米片通过超声处理在水中散射混合,生成ZnWO4@MXene‑x。本发明ZWO负载量的优化,有效避免了团聚,保证了活性位点的利用,提高了催化效果;且ZWO的均匀吸附有助于调控电子结构,提高了电子‑空穴分离效率,减少复合,提升了光催化活性,实现了H2的高效生产。

一种路易斯酸型二氧化铈负载钌催化剂及其制备方法和应用

NºPublicación:  CN120700540A 26/09/2025
Solicitante: 
海南大学
CN_120700540_PA

Resumen de: CN120700540A

本申请涉及一种路易斯酸型二氧化铈负载钌催化剂及其制备方法和应用,属于电极材料制备技术领域。本申请的二氧化铈负载钌催化剂的制备方法,包括以下步骤:(1)将六水合硝酸铈和氢氧化钠溶于水中,剧烈搅拌后进行水热反应,洗涤、烘干后得到二氧化铈;(2)将所述二氧化铈和三水合三氯化钌溶于水中,剧烈搅拌后进行水热反应,洗涤、烘干后得到前驱体;(3)将所述前驱体进行退火处理,得到路易斯酸型二氧化铈负载钌催化剂。本申请采用水热负载和高温煅烧相结合的策略制备了二氧化铈负载钌催化剂,并将其运用于电解海水析氢反应中;该制备方法对于电催化有一定的应用前景,对于促进钌基催化剂在电解水中的工业化进程具有重要的研究意义。

一种氢氧化镍/硫化镉异质结的制备方法及其应用

NºPublicación:  CN120695849A 26/09/2025
Solicitante: 
北京化工大学
CN_120695849_PA

Resumen de: CN120695849A

本发明公开了一种氢氧化镍/硫化镉异质的制备方法及其应用,所述制备方法包括如下步骤:S1、将镉源、硫源和乙二胺混合搅拌,在一定温度和时间下进行水热反应,反应完成后进行过滤、洗涤和干燥,得到硫化镉纳米片;S2、将硫化镉纳米片分散于氢氧化钠溶液中得到悬浊液A,将镍源溶于去离子水中得到溶液B;S3、常温下将悬浊液A和溶液B泵入到超重力反应器进行复分解反应;S4、将S3得到的反应液经过滤、洗涤和干燥后,即得氢氧化镍/硫化镉异质结光催化剂。本发明制备的氢氧化镍/硫化镉异质结光催化剂具有较窄的禁带宽度(2.46eV)和优良的光电化学性能;在300W的氙灯下可实现≥33.46mmol/g/h的产氢效率。

一种基于晶体结构调控的中熵硫化物电解水催化剂制备方法及应用

NºPublicación:  CN120700524A 26/09/2025
Solicitante: 
胡星鑫
CN_120700524_PA

Resumen de: CN120700524A

本发明属于阴离子交换膜电解水催化剂制备技术领域,具体涉及一种基于晶体结构调控,电沉积制备中熵硫化物的方法和应用。制备方法包括:将氯化胆碱和乙二醇混合制备了离子液体(DEIL)。向DEIL中加入金属盐和硫脲,搅拌形成均匀溶液,在三电极体系中电沉积制备非晶中熵硫化物催化剂。该催化剂兼具非晶材料和中熵硫化物的催化优势,可显著提升电解水中的OER性能,具有重复性好、稳定性高、催化性能优异的优势。

一种PEM水电解催化剂、PEM水电解析氧电极及其制备方法和应用

NºPublicación:  CN120700528A 26/09/2025
Solicitante: 
中国科学院大连化学物理研究所
CN_120700528_PA

Resumen de: CN120700528A

本发明涉及电解水制氢技术领域,尤其涉及一种PEM水电解催化剂、PEM水电解析氧电极及其制备方法和应用。本发明的催化剂包括非晶态MnO2载体和IrO2,IrO2以晶体颗粒形式均匀分散在非晶态MnO2载体中。本发明的催化剂采用非晶态MnO2载体负载IrO2,有效降低了Ir载量,同时提高了Ir6+的含量,该催化剂展示出了极高的OER活性和稳定性。

EFFICIENT CATALYST FOR HYDROGEN GENERATION FROM AMMONIA

NºPublicación:  WO2025196629A1 25/09/2025
Solicitante: 
ECOLE POLYTECHNIQUE FED LAUSANNE EPFL [CH]
ECOLE POLYTECHNIQUE FEDERALE DE LAUSANNE (EPFL)

Resumen de: WO2025196629A1

This invention relates to a catalyst, in particular a catalyst for producing hydrogen from ammonia, catalyst comprising a ternary metal imide of formula (I): X2Y(NH)2, wherein X is a metal selected from a group consisting of alkali metals and alkaline earth metals, and Y is a metal selected from a group consisting of transition metals and lanthanides.

CATALYST FOR HYDROGEN PRODUCTION

NºPublicación:  US2025297387A1 25/09/2025
Solicitante: 
THE UNIV OF MEMPHIS RESEARCH FOUNDATION [US]
The University of Memphis Research Foundation

Resumen de: US2025297387A1

Provided herein are catalysts for producing hydrogen via the hydrogen evolution reaction (HER) during water splitting, methods of producing hydrogen via photocatalytic water splitting using the catalysts, and compositions for use in photocatalytic water splitting that include the catalysts. In some embodiments, a catalyst hereof is a metal complex of Formula I,M(L1)(L2)A   Formula Iwherein M is a transition metal, L1 and L2 are both ligands independently forming one or more coordinate bonds with the metal M, and A is an anion, andwherein L1 is a tetrapyridyl-amine (Py4N) having four pyridyl groups and an amine group each forming a coordinate bond with the metal M.

Verfahren zur Herstellung einer Elektrolysezelle sowie Elektrolysezelle

NºPublicación:  DE102024202623A1 25/09/2025
Solicitante: 
BOSCH GMBH ROBERT [DE]
Robert Bosch Gesellschaft mit beschr\u00E4nkter Haftung
DE_102024202623_PA

Resumen de: DE102024202623A1

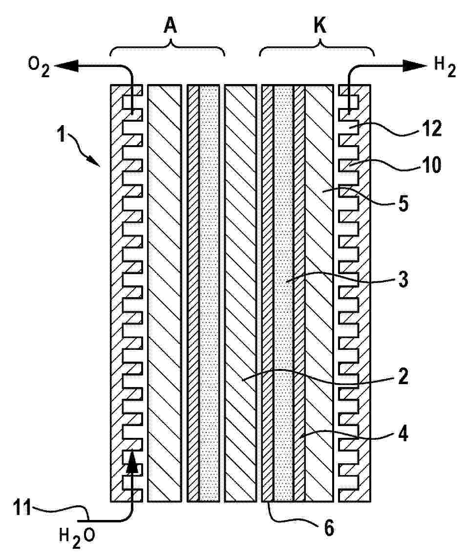
Die Erfindung betrifft ein Verfahren zur Herstellung einer Elektrolysezelle (1), aufweisend eine Membran (2) sowie beidseits der Membran (2) angeordnete Schichten und/oder Lagen (3, 4, 5, 6) zur Ausbildung einer Anode (A) und einer Kathode (K), wobei mindestens einer Schicht und/oder Lage (3, 4, 5, 6) die Funktion eines Nukleierungshilfsmittels aufgeprägt wird, indem- die Schicht und/oder Lage (3, 4, 5, 6) aus einem Nukleierungsmaterial hergestellt wird,- ein Nukleierungsmaterial in die Schicht und/oder Lage (3, 4, 5, 6) ein- oder aufgebracht wird,- eine Kavitäten (7) ausbildende Oberflächenstruktur in die Schicht und/oder Lage (3, 4, 5, 6) eingebracht wird und/oder- die Schicht und/oder Lage (3, 4, 5, 6) hydrophob eingestellt wird, vorzugsweise mit Hilfe eines Nukleierungsmaterials.Die Erfindung betrifft ferner eine Elektrolysezelle (1) für einen Elektrolyse-Stack zur Herstellung von Wasserstoff.

Elektrolysesystem und Verfahren zum Betreiben eines Elektrolysesystems

NºPublicación:  DE102024202622A1 25/09/2025
Solicitante: 
BOSCH GMBH ROBERT [DE]
Robert Bosch Gesellschaft mit beschr\u00E4nkter Haftung
DE_102024202622_PA

Resumen de: DE102024202622A1

Die vorgestellte Erfindung betrifft ein Verfahren (100) zum Betreiben eines Elektrolysesystems (200).Das vorgestellte Verfahren (100) umfasst das Verdampfen (101) eines Elektrolyten in einem Zellstapel (101) des Elektrolysesystems (200), um eine Temperatur einer Zelle (300) des Elektrolysesystems (200) einzustellen und das Kontrollieren (103) des Verdampfens des Elektrolyten durch Einbringen eines Gasmassenstroms in das Elektrolysesystem (200), um einen Dampfpartialdruck in dem Zellstapel (201) einzustellen.

APPARATUS FOR PRODUCING HYDROGEN, FROM A FEEDSTOCK STREAM

NºPublicación:  WO2025195698A1 25/09/2025
Solicitante: 
AIR LIQUIDE [FR]
L'AIR LIQUIDE, SOCIETE ANONYME POUR L'ETUDE ET L'EXPLOITATION DES PROCEDES GEORGES CLAUDE
EP_4620904_PA

Resumen de: WO2025195698A1

The invention relates to an apparatus (2) for producing hydrogen, from a feedstock stream (3) comprising ammonia, traces of water and oil contaminants, said apparatus (2) comprising: - a vaporizer (4) comprising a vaporization chamber (6) configured to receive the feedstock stream (3) and produce a vaporized purified ammonia stream (7), said vaporization chamber (6) comprising a blowdown outlet (8) configured to discharge a blowdown stream (10) comprising the traces of water and oil contaminants from said vaporization chamber (6); - an ammonia cracking reactor (12) for performing an endothermic reaction of said vaporized purified ammonia stream (7), thereby producing said hydrogen; and - a fired equipment (14); wherein said blowdown outlet (8) is connected to the fired equipment (14) for providing the blowdown stream (10) as an ammonia fuel stream to the fired equipment (14).

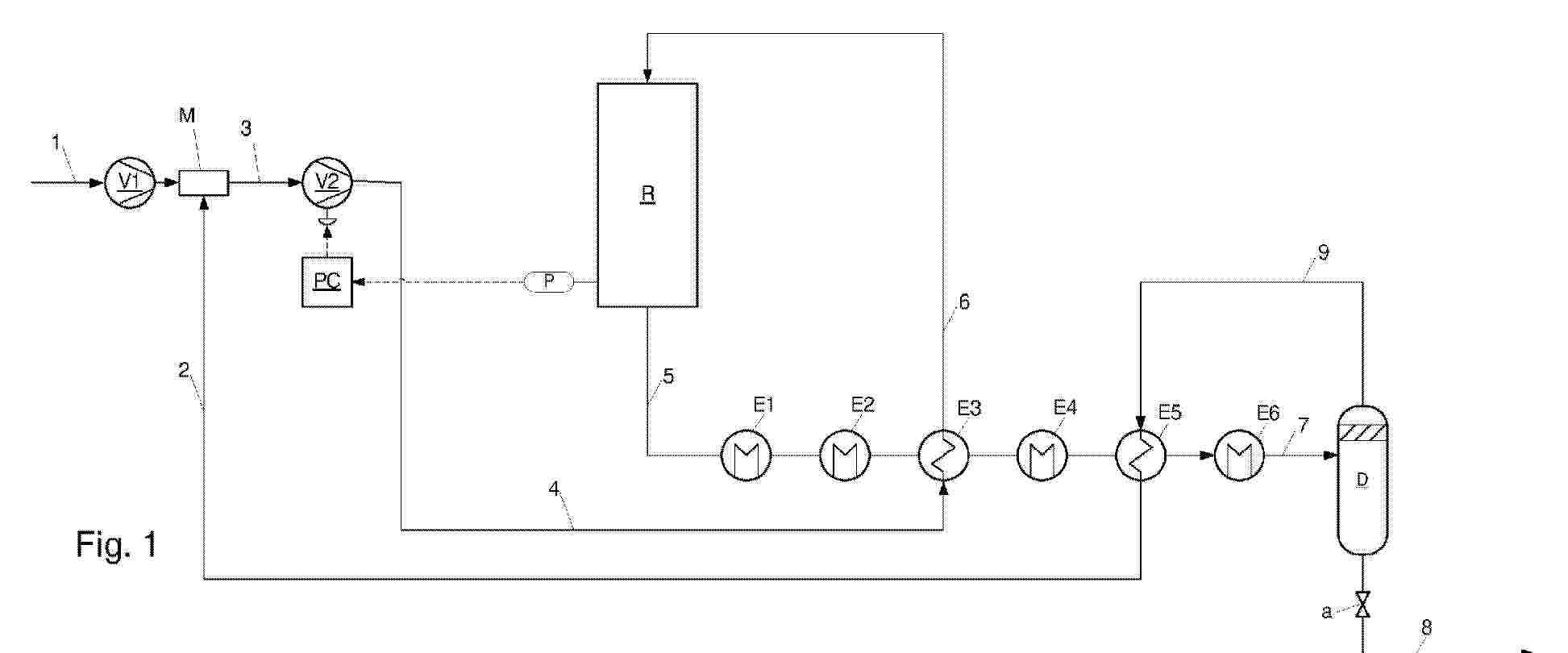
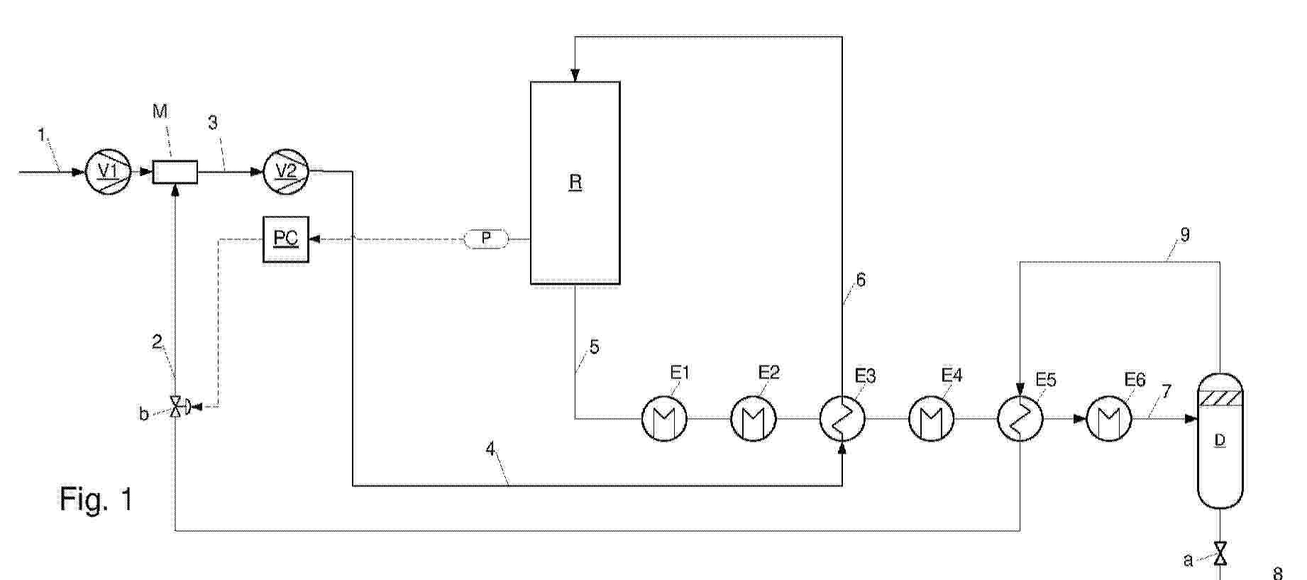
METHOD FOR OPERATING AN AMMONIA SYNTHESIS PROCESS AT PARTIAL LOAD, AND PARTIAL-LOAD-CAPABLE AMMONIA SYNTHESIS PROCESS

NºPublicación:  WO2025195683A1 25/09/2025
Solicitante: 
LINDE GMBH [DE]
LINDE GMBH
EP_4620914_PA

Resumen de: WO2025195683A1

The invention relates to a method and a device for synthesizing ammonia (8), wherein a gas mixture (make-up gas) (1), which comprises hydrogen and nitrogen and is supplied with a temporally fluctuating flow rate, is provided after being compressed in a first compressor (make-up gas compressor) (V1) in order to form an ammonia synthesis gas (3) that is compressed with the aid of a second compressor (recycle compressor) (V2) and is then reacted in an ammonia reactor (R) in order to form an ammonia-containing synthesis product (5), from which a recycled gas (2) comprising hydrogen and nitrogen is separated in order to be recirculated in order to form the ammonia synthesis gas (3). The flow rate of the recycled gas (2) is controlled via the recycle compressor (V2), which is integrated into a control circuit as an actuator and the conveying capacity of which can be set independently of the conveying capacity of the make-up gas compressor (V1). The invention is characterized in that the control circuit is designed with a higher-level control system which outputs a control signal that is based on the load of the ammonia reactor in order to change the conveying capacity of the recycle compressor (V2), said control signal being corrected by a PID control circuit in such a way that the pressure in the ammonia reactor (R) is always within a specified value range.

METHOD FOR OPERATING AN AMMONIA SYNTHESIS PROCESS AT PARTIAL LOAD, AND PARTIAL-LOAD-CAPABLE AMMONIA SYNTHESIS PROCESS

NºPublicación:  WO2025195682A1 25/09/2025
Solicitante: 
LINDE GMBH [DE]
LINDE GMBH
EP_4620913_PA

Resumen de: WO2025195682A1

The invention relates to a method and a device for synthesizing ammonia (8), wherein a gas mixture (1) comprising hydrogen and nitrogen is provided with a temporally fluctuating mass flow in order to form an ammonia synthesis gas (3), which is converted into an ammonia-containing synthesis product (5) in an ammonia reactor (R) after a compression step (V2) and from which a recycled gas (2) comprising hydrogen and nitrogen is separated in order to be returned via a return line in order to form the ammonia synthesis gas (3), the mass flow of the recycled gas (2) being controlled via an adjustable throttle device (b) which is provided in the return line (2) and is integrated into a control circuit as an actuator. The invention is characterized in that the control circuit is designed with a higher-level closed-loop control system that outputs an actuating signal, which is based on the load of the ammonia reactor, for changing the degree of opening of the throttle device (b), said actuating signal being corrected by a PID control circuit in such a way that the pressure in the ammonia reactor (R) is always within a specified value range.

METHOD OF PRODUCING HYDROGEN USING ALUMINIUM

NºPublicación:  WO2025196454A1 25/09/2025
Solicitante: 
UNIV BRUNEL [GB]
UNIV OXFORD BROOKES [GB]
UNIV GREENWICH [GB]
BRUNEL UNIVERSITY LONDON,
OXFORD BROOKES UNIVERSITY,
UNIVERSITY OF GREENWICH

Resumen de: WO2025196454A1

Disclosed is a method of producing hydrogen from the reaction of liquid aluminium or a liquid aluminium alloy with water vapour. The method includes the steps of: (a) providing liquid aluminium or liquid aluminium alloy, wherein said liquid has a surface; (b) reacting said liquid with water vapour in order to generate alumina and hydrogen, wherein if the reaction is carried out at a temperature range of 650 to 900 °C and a pressure range of 0.1 to 1 MPa, at least 50% of the hydrogen dissolves in the liquid, and wherein said reaction takes place at the surface and/or in the liquid; (c) extracting hydrogen in the form of gas from the liquid.

METHOD AND SYSTEM FOR PRODUCING A SYNTHETIC FUEL FROM BIOMASS

NºPublicación:  WO2025195703A1 25/09/2025
Solicitante: 
SIEMENS ENERGY GLOBAL GMBH & CO KG [DE]
SIEMENS ENERGY GLOBAL GMBH & CO. KG
DE_102024202675_PA

Resumen de: WO2025195703A1

The invention relates to a method for producing a synthetic fuel (F), comprising the steps (S1): carrying out a first reaction process, wherein the first reaction process creates a gas mixture of synthesis gas (SG) and carbon dioxide (CO2) with the addition of biomass (BM), oxygen (O2), wherein the synthesis gas (SG) contains carbon monoxide (CO) and hydrogen (H2); (S2): separating carbon dioxide (CO2) from the gas mixture and supplying hydrogen (H2) to separated carbon dioxide (CO2) for a second reaction process; (S3): carrying out a second reaction process, wherein in the second reaction process methanation is carried out using the reactants carbon dioxide (CO2) and hydrogen (H2), wherein methane (CH4) and water (H2O) are produced as an intermediate product; (S4): feeding back methane (CH4) and water (H2O) obtained from the second reaction process into the first reaction process, wherein a gas mixture containing synthesis gas (SG) is produced; and (S5): discharging synthesis gas (SG) and converting synthesis gas into a synthetic fuel (F). The invention further relates to a system (1) for producing a synthetic fuel (F), which is designed in particular to carry out the method.

ELECTROLYSIS OXYGEN FOR SUSTAINABLE ACETYLENE CHEMISTRY

NºPublicación:  WO2025196219A1 25/09/2025
Solicitante: 
BASF SE [DE]
BASF SE
EP_4620937_A1

Resumen de: WO2025196219A1

A process for preparing acetylene and/or synthesis gas by partial oxidation of hydrocarbons with an oxidizing agent, wherein the oxidizing agent comprises O2 and H2, wherein the oxidizing agent is obtained at least in part by water splitting, preferably by electrolysis, the water splitting, preferably the electrolysis, preferably using energy generated at least in part from non-fossil resources, a cracking gas stream obtainable by the process according to the present invention, acetylene obtainable by the process according to the present invention, acetylene having a low total cradle to gate product carbon footprint, synthesis gas obtainable by the process according to the present invention, synthesis gas comprising hydrogen, CO, CO2 and CH4, wherein the separated synthesis gas stream has a δ18O value of < 22 ‰, referred to the international standard VSMOW ((Vienna- Standard- Mean-Ocean- Water)), the use of an oxidizing agent comprising O2 and H2 for the preparation of acetylene and synthesis gas, the use of the inventive acetylene or the acetylene obtained by the inventive process for the preparation of butynediol, butanediol, butenediol, polybutylene terephthalate (PBT), polybutylene adipate terephthalate (PBAT), tetrahydrofurane (THF), polytetrahydrofurane (polyTHF), polyester-based thermoplastic polyurethanes (TPUs), polyether-based TPUs, gamma-butyrolactone, pyrrolidine, vinylyrrolidone, polyvinylpyrrolidone, N-methylpyrrolidone, vinyl ether, polyvinyl ether, terpenes

PREDICTIVE MAINTENANCE OF HYDROGEN-ENERGY SYSTEMS

NºPublicación:  WO2025196220A1 25/09/2025
Solicitante: 
UNIV DE TECHNOLOGIE DE BELFORT MONTBELIARD [FR]
CENTRE NATIONAL DE LA RECHERCHE SCIENT [FR]
UNIV MARIE ET LOUIS PASTEUR [FR]
ECOLE NAT SUPERIEURE DE MECANIQUE ET DES MICROTECHNIQUES [FR]
UNIVERSIT\u00C9 DE TECHNOLOGIE DE BELFORT-MONTB\u00C9LIARD,
CENTRE NATIONAL DE LA RECHERCHE SCIENTIFIQUE,
UNIVERSIT\u00C9 MARIE ET LOUIS PASTEUR,
ECOLE NATIONALE SUP\u00C9RIEURE DE M\u00C9CANIQUE ET DES MICROTECHNIQUES
EP_4621890_PA

Resumen de: WO2025196220A1

The disclosure notably relates to a computer-implemented method for predictive maintenance of a system. The system comprises a hydrogen energy component, a cooling circuit, at least one actuator of the cooling circuit and at least one sensor collecting operating data during an operating of the system. The method comprises, during the operating of the system, the following three steps. The method comprises a first step of obtaining the operating data collected by to the at least one sensor. The method comprises a second step of estimating that a current state of the system is the fault state. The method comprises a third step of predicting a future state of the system. Such a method forms an improved solution for predicting maintenance of the system comprising the hydrogen energy component.

SYSTEMS AND METHODS FOR PRODUCING HYDROGEN GAS BY REACTING SILICON AND WATER

NºPublicación:  WO2025195607A1 25/09/2025
Solicitante: 
ENERGY CARRIER SOLUTIONS SARL [CH]
ENERGY CARRIER SOLUTIONS S\u00C0RL

Resumen de: WO2025195607A1

A system for producing hydrogen gas by reacting silicon and water, comprises a reaction chamber, a water supply device, configured for supplying water to the reaction chamber, a silicon supply device, configured for supplying silicon to the reaction chamber, a hydrogen collection arrangement, configured for collecting hydrogen gas from the reaction chamber and supplying said hydrogen gas via a main output channel to an application hydrogen consumer, and a controller, configured to control at least one of the water supply device, the silicon supply device and the hydrogen collection arrangement. The disclosure provides a system and methods for producing hydrogen gas by reacting silicon and water. The disclosure further provides a vehicle comprising said system and a portable device comprising said system.

SYSTEMS AND METHODS FOR PRODUCING HYDROGEN GAS BY REACTING A METAL AND WATER

NºPublicación:  WO2025195608A1 25/09/2025
Solicitante: 
ENERGY CARRIER SOLUTIONS SARL [CH]
ENERGY CARRIER SOLUTIONS S\u00C0RL

Resumen de: WO2025195608A1

A system for producing hydrogen gas by reacting a metal selected from a group consisting of aluminum, magnesium, calcium, lithium, potassium and sodium and water, comprises a reaction chamber, a water supply device, configured for supplying water to the reaction chamber, a metal supply device, configured for supplying metal to the reaction chamber, a hydrogen collection arrangement, configured for collecting hydrogen gas from the reaction chamber and supplying said hydrogen gas via a main output channel to an application hydrogen consumer, and a controller, configured to control at least one of the water supply device, the metal supply device and the hydrogen collection arrangement. The disclosure provides a system and methods for producing hydrogen gas by reacting metal and water. The disclosure further provides a vehicle comprising said system and a portable device comprising said system.

ELECTROLYZER FOR PRODUCING HYDROGEN AND METHOD FOR THE PRODUCTION OF HYDROGEN, AND USE OF THE ELECTROLYSER

NºPublicación:  US2025297380A1 25/09/2025
Solicitante: 
FINOW AUTOMOTIVE EBERSWALDE GMBH [DE]
Finow Automotive Eberswalde GmbH

Resumen de: US2025297380A1

An electrolyzer for producing hydrogen and a method for the production of hydrogen. The electrolyzer for producing hydrogen comprises a plurality of electrolysis cells arranged in a plurality of planes, each having at least one anode and one cathode and a proton exchange membrane between the anode and the cathode. The proton exchange membranes forming respective active area regions. At least one electrolysis cell has a plurality of active area regions arranged substantially in a plane.

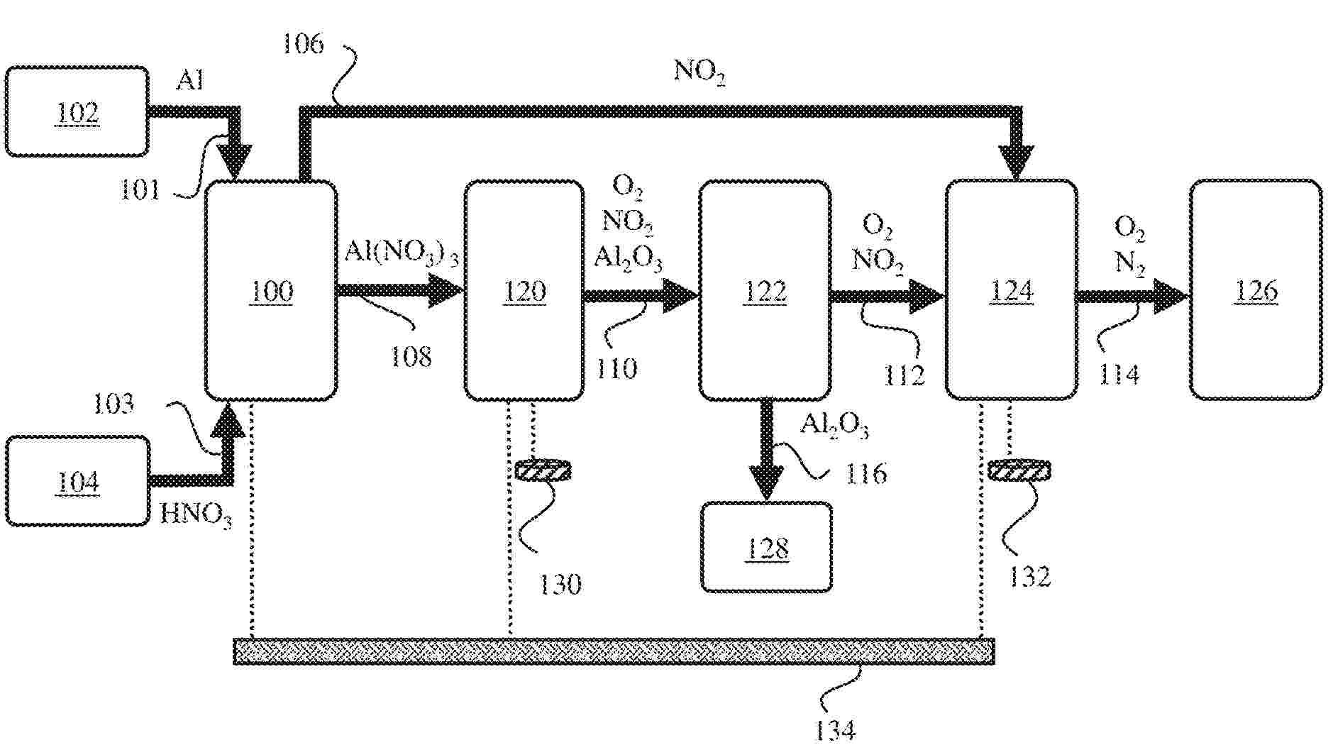
GENERATION OF OXYGEN FROM ACTIVATED ALUMINUM AND INORGANIC ACIDS

NºPublicación:  US2025296839A1 25/09/2025
Solicitante: 
MASSACHUSETTS INSTITUTE OF TECH [US]
Massachusetts Institute of Technology
US_2025296839_PA

Resumen de: US2025296839A1

Oxygen generators and methods related to the generation of oxygen using activated aluminum alloys and inorganic acids such as nitric acid are generally described. In some embodiments, aluminum nitrate is thermally decomposed to produce oxygen and nitrogen dioxide. The nitrogen dioxide may also optionally be used to produce oxygen gas. In some embodiments, a reaction between nitric acid and an activated aluminum alloy may be used to produce the aluminum nitrate. In other embodiments, a reaction between nitric acid and aluminum hydroxide may be used to produce the aluminum nitrate.

RENEWABLE ENERGY UTILIZATION SYSTEM BASED ON NITROGEN-FREE COMBUSTION AND CARBON DIOXIDE RECYCLING

Nº publicación: US2025297570A1 25/09/2025

Solicitante:

UNIV TIANJIN [CN]
TIANJIN UNIVERSITY

US_2025297570_PA

Resumen de: US2025297570A1

The present disclosure provides a renewable energy utilization system based on nitrogen-free combustion and carbon dioxide recycling. The system includes: an electrolysis unit used to electrolyze water using renewable energy to obtain hydrogen and oxygen; a carbon dioxide collection unit used to collect carbon dioxide gas released during utilization of the renewable energy; a methanol synthesis unit used to synthesize methanol using the hydrogen and the carbon dioxide gas; an internal combustion engine generator set used to perform nitrogen-free combustion of the methanol and the oxygen to generate exhaust gas and electrical energy; and a methanol reforming reaction unit used to catalyze a reforming reaction of the methanol using residual heat of the exhaust gas to obtain synthesis gas, and input the synthesis gas into the internal combustion engine generator set as a fuel for the internal combustion engine generator set.

traducir