Ministerio de Industria, Turismo y Comercio LogoMinisterior
 

Alerta

Resultados 561 resultados
LastUpdate Última actualización 13/12/2025 [07:08:00]
pdfxls
Publicaciones de solicitudes de patente de los últimos 60 días/Applications published in the last 60 days
previousPage Resultados 25 a 50 de 561 nextPage  

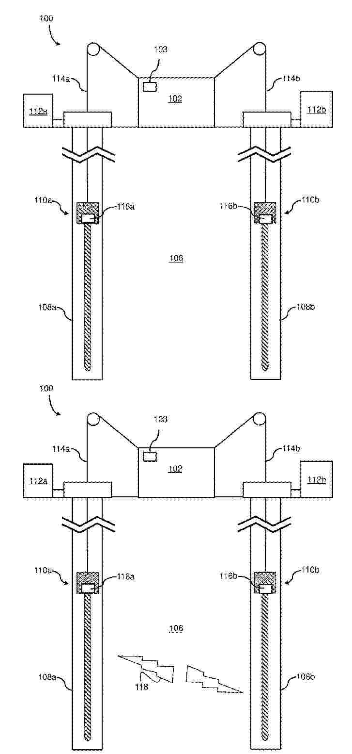
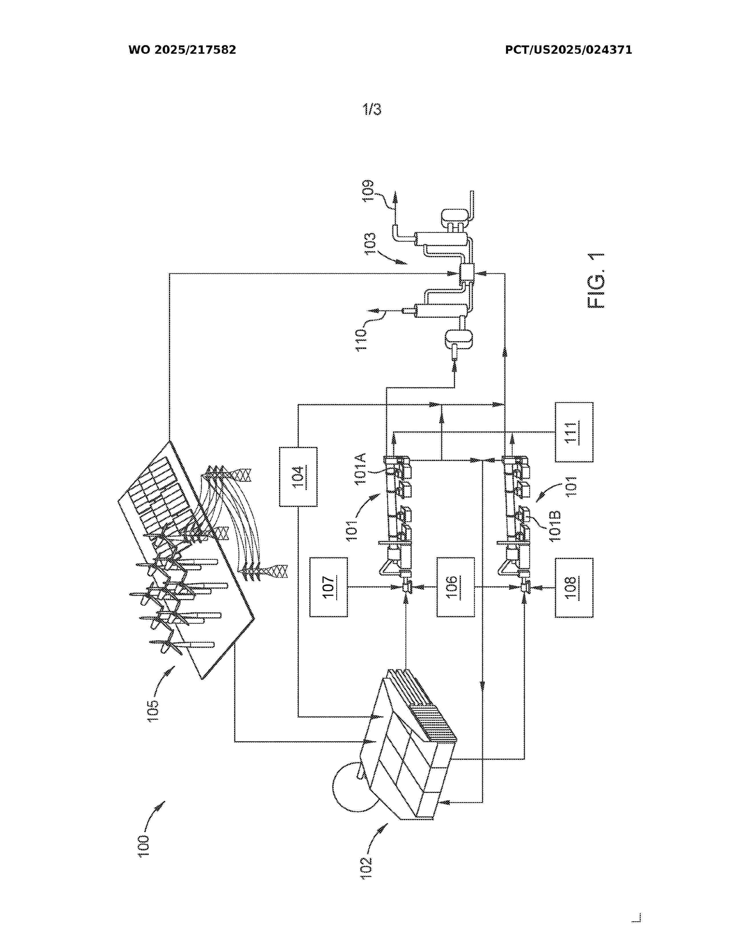
OXYGEN GENERATION SYSTEMS FOR LOW GRAVITY APPLICATIONS

NºPublicación:  US2025369137A1 04/12/2025
Solicitante: 
HAMILTON SUNDSTRAND SPACE SYS [US]
Hamilton Sundstrand Space Systems International, Inc
US_2025369137_PA

Resumen de: US2025369137A1

Oxygen generation systems for use in low-gravity environments include a cell stack with an anode-side phase separator and a cathode-side phase separator fluidly coupled to outlets of the cell stack. An anode-side flow controller and a cathode-side flow controller are arranged downstream from the respective phase separators. A pressure differential is induced upstream of the anode-side flow controller that is greater in pressure than a downstream side thereof. A pressure differential is induced upstream of the cathode-side flow controller that is greater in pressure than a downstream side thereof. An input flow controller is arranged upstream from the stack inlet, the input flow controller configured to cause a pressure differential such that an upstream side of the input flow controller is greater than a downstream side of the input flow controller.

LOW TEMPERATURE PRODUCTION OF HYDROGEN PEROXIDE

NºPublicación:  US2025369126A1 04/12/2025
Solicitante: 
HPNOW APS [DK]
HPNow ApS
WO_2025248075_PA

Resumen de: US2025369126A1

Embodiments for an apparatus for producing hydrogen peroxide are provided. The apparatus includes a heat exchanger configured to remove heat from deionized water prior to passing the deionized water through the anode passage of one or more cells. The apparatus is also configured to oxidize the deionized water in the anode passage of the one or more cells. The apparatus also includes a controller configured to control the heat exchanger and a first one or more temperature sensors electrically coupled to the controller. The first one or more temperature sensors are configured to provide a first temperature reading based on a temperature of the one or more cells, wherein the controller is configured to control the heat exchanger to maintain the first temperature reading at or below a first temperature threshold.

OXYGEN GENERATION SYSTEMS FOR LOW GRAVITY APPLICATIONS

NºPublicación:  US2025369139A1 04/12/2025
Solicitante: 
HAMILTON SUNDSTRAND CORP [US]
Hamilton Sundstrand Corporation

Resumen de: US2025369139A1

Oxygen generation systems for use in low-gravity environments include a cell stack having an anode and a cathode. An anode-side phase separator and a cathode-side phase separator are each fluidly coupled to outlets of the cell stack. The anode-side phase separator separates a mixture into liquid water and gaseous oxygen and the cathode-side phase separates a mixture int liquid water and gaseous hydrogen. A ducting system is configured to house the cell stack and the cathode-side phase separator, a hydrogen sensor is arranged at an outlet of the ducting system, and a controller is configured to stop oxygen generation at the cell stack when a concentration of hydrogen is detected at or above a threshold level at the hydrogen sensor at the outlet of the ducting system.

SYSTEM AND METHODS FOR THE PRODUCTION OF HYDROGEN GAS

NºPublicación:  US2025369125A1 04/12/2025
Solicitante: 
SCHANK JR WILLIAM H [US]
CARDONA STEVEN C [US]
SCHANK, JR. William H,
CARDONA Steven C

Resumen de: US2025369125A1

Methods and systems are disclosed for using industrial waste for the production of hydrogen gas. The method includes examining a pH level of the industrial waste, removing contaminate from the industrial waste, conditioning and concentrating the industrial waste to a proton-rich solution, and using the resulting proton-rich solution as the proton source in a hydrogenase catalyzed hydrogen production system.

METHOD FOR ONE-STEP SYNTHESIS OF SINGLE ATOMS AND NANOPARTICLES CO-DECORATED CARBON NANOTUBE ARRAYS

NºPublicación:  US2025369134A1 04/12/2025
Solicitante: 
CITY UNIV OF HONG KONG [CN]
City University of Hong Kong

Resumen de: US2025369134A1

A liquid-assisted chemical vapor deposition method for preparing hierarchical Ni/NiO@Ru—NC nanotube arrays includes forming Ni/NiO@Ru—NC on surfaces of the NF with single-atom Ru anchored on N-doped carbon (Ru—NC) nanotube and Janus Ni/NiO NPs encapsulated on the tips. The forming Ni/NiO@Ru—NC includes pretreating the NF; creating a CH3CN/RuCl3/Ar atmosphere in the tube furnace to in-situ grow the Ni/NiO@Ru—NC nanotube arrays on the pretreated NF. The bifunctional Ni/NiO@Ru—NC electrocatalyst exhibits overpotentials of 88 m V and 261 m V for hydrogen evolution reaction (HER) and oxygen evolution reaction (OER) at 100 mA cm−2 in alkaline solution, respectively. Meanwhile, the bifunctional Ni/NiO@Ru—NC can stably operate an anion-exchange membrane water electrolysis (AEMWE) system for 50 hours under 500 mA cm−2 at a voltage of 1.95±0.05 V in a 1.0 M KOH solution at room temperature. An overall water-splitting electrolyzer can be efficiently driven by a solar cell.

DEVELOPMENT OF AN EFFICIENT AND PRACTICAL SUSTAINABLE LOWER CARBON AVIATION FUEL (LCAF) FOR IMPROVING AVIATION SUSTAINABILITY

NºPublicación:  US2025368585A1 04/12/2025
Solicitante: 
HAMAD BIN KHALIFA UNIV [QA]
HAMAD BIN KHALIFA UNIVERSITY

Resumen de: US2025368585A1

A carbon closed-loop system and process are provided. The carbon closed-loop system and process can be utilized in an industrial operation for producing, for example, a Lower Carbon Aviation Fuel (LCAF). The LCAF is produced by decarbonizing, for example, industrial furnaces and boilers, such as fired heaters, through the carbon closed-loop system and process which integrates renewable energy-driven H2 generation, CO2 capture, and methanation technologies to substantially reduce the carbon footprint of the industrial operation.

PHOTOCATALYTIC PANEL AND METHODS FOR CONTINUOUS HYDROGEN PRODUCTION

NºPublicación:  US2025368503A1 04/12/2025
Solicitante: 
QDSOL LTD [IL]
TECHNION RES AND DEVELOPMENT FOUNDATION LTD [IL]
QDSol, LTD,
TECHNION RESEARCH AND DEVELOPMENT FOUNDATION, LTD
JP_2025524419_PA

Resumen de: US2025368503A1

The disclosure relates to systems and methods for continuous hydrogen production using photocatalysis. Specifically, the disclosure relates to systems and methods for continuous hydrogen production using photocatalysis of water utilizing semiconductor charge carriers immobilized on removable carriers in the presence of a reducing agent such as tertiary amines.

HYDROGEN PURIFICATION SYSTEM AND METHOD FOR PURIFYING HYDROGEN

NºPublicación:  WO2025249989A1 04/12/2025
Solicitante: 
POSCO HOLDINGS INC [KR]
\uD3EC\uC2A4\uCF54\uD640\uB529\uC2A4 \uC8FC\uC2DD\uD68C\uC0AC
WO_2025249989_PA

Resumen de: WO2025249989A1

According to exemplary embodiments of the present invention, provided are a hydrogen purification system and a method for purifying hydrogen, the hydrogen purification system comprising: a first reactor configured to produce a metal nitride and a hydrogen-rich gas by reacting a mixed gas containing hydrogen and nitrogen with a metal absorbent; and a second reactor configured to receive the metal nitride from the first reactor and regenerate same into the metal absorbent, wherein the pressure of the first reactor is 1-5 bar.

ELECTRODE FOR ALKALINE HYDROGEN EVOLUTION REACTION COMPRISING NAFION AND METAL-ORGANIC FRAMEWORK COMPOSITE AND MANUFACTURING METHOD THEREOF

NºPublicación:  WO2025249719A1 04/12/2025
Solicitante: 
POSTECH RES AND BUSINESS DEVELOPMENT FOUNDATION [KR]
\uD3EC\uD56D\uACF5\uACFC\uB300\uD559\uAD50 \uC0B0\uD559\uD611\uB825\uB2E8
WO_2025249719_PA

Resumen de: WO2025249719A1

The present invention relates to an electrode for a hydrogen evolution reaction of an alkaline water electrolysis cell, the electrode being characterized by comprising: a cocatalyst which is a composite comprising a Lewis acid-containing material and a metal-organic framework (MOF); and a catalyst surrounded by the cocatalyst. Therefore, according to the present invention, a water dissociation step of an alkaline hydrogen evolution reaction is promoted, hydrogen gas generated by the hydrogen evolution reaction is easily permeated, and Nafion is evenly dispersed by large pores generated by the MOF, thereby minimizing catalyst poisoning while implementing the effect of the cocatalyst on the entire surface.

ELECTROCHEMICAL CELL, SOLID OXIDE ELECTROLYSIS CELL, CELL STACK, HOT MODULE, AND HYDROGEN PRODUCTION DEVICE

NºPublicación:  WO2025249472A1 04/12/2025
Solicitante: 
NITERRA CO LTD [JP]
\u65E5\u672C\u7279\u6B8A\u9676\u696D\u682A\u5F0F\u4F1A\u793E
WO_2025249472_PA

Resumen de: WO2025249472A1

An electrolysis cell 21 comprises a solid electrolyte layer 211, a fuel electrode layer 213 stacked and arranged on one surface side of the solid electrolyte layer 211, and an air electrode layer 212 stacked and arranged on the other surface side of the solid electrolyte layer 211. The fuel electrode layer 213 includes a functional layer 213a, a support layer 213b positioned on the side farther from the solid electrolyte layer 211 than from the functional layer 213a, and a mutual diffusion layer 213c positioned between the functional layer 213a and the support layer 213b so as to be in contact with both of the functional layer 213a and the support layer 213b. The mutual diffusion layer 213c includes: a first element which is one element constituting the functional layer 213a; and a second element which is one element constituting the support layer 213b and is different from the first element. The thickness of the mutual diffusion layer 213c is 1.1 μm or more and 9.7 μm or less.

ELECTROCHEMICAL CELL, SOLID OXIDE ELECTROLYSIS CELL, CELL STACK, HOT MODULE, AND HYDROGEN PRODUCTION DEVICE

NºPublicación:  WO2025249470A1 04/12/2025
Solicitante: 
NITERRA CO LTD [JP]
\u65E5\u672C\u7279\u6B8A\u9676\u696D\u682A\u5F0F\u4F1A\u793E
WO_2025249470_PA

Resumen de: WO2025249470A1

An electrolysis cell 21 includes: a solid electrolyte layer 211; a fuel electrode layer 213 stacked and arranged on the rear surface 211A side of the solid electrolyte layer 211; and an air electrode layer 212 stacked and arranged on the front surface 211B side of the solid electrolyte layer 211. A mutual diffusion layer 214 in contact with both the solid electrolyte layer 211 and the fuel electrode layer 213 is formed between the solid electrolyte layer 211 and the fuel electrode layer 213. The mutual diffusion layer 214 includes: a first element which is one element constituting the solid electrolyte layer 211; and a second element which is one element constituting the fuel electrode layer 213 and is different from the first element. The thickness T1 of the mutual diffusion layer 214 falls within the range of 1.5 μm or more and 4.8 μm or less.

ELECTROCHEMICAL CELL, SOLID OXIDE ELECTROLYSIS CELL, CELL STACK, HOT MODULE, AND HYDROGEN PRODUCTION DEVICE

NºPublicación:  WO2025249471A1 04/12/2025
Solicitante: 
NITERRA CO LTD [JP]
\u65E5\u672C\u7279\u6B8A\u9676\u696D\u682A\u5F0F\u4F1A\u793E
WO_2025249471_PA

Resumen de: WO2025249471A1

An electrolysis cell 21 comprises: a solid electrolyte layer 211 including ion-conductive oxide particles; a fuel electrode layer 213 laminated on the back surface 211A side of the solid electrolyte layer 211; and an air electrode layer 212 laminated on the upper surface 211B side of the solid electrolyte layer 211. The average particle diameter of the ion-conductive oxide particles in the solid electrolyte layer 211 is 0.40-1.24 µm.

ELECTROCHEMICAL CELL, SOLID OXIDE ELECTROLYSIS CELL, CELL STACK, HOT MODULE, AND HYDROGEN PRODUCTION DEVICE

NºPublicación:  WO2025249474A1 04/12/2025
Solicitante: 
NITERRA CO LTD [JP]
\u65E5\u672C\u7279\u6B8A\u9676\u696D\u682A\u5F0F\u4F1A\u793E
WO_2025249474_PA

Resumen de: WO2025249474A1

An electrolysis cell 21 comprises: a solid electrolyte layer 211 that includes oxide particles containing Zr; a fuel electrode layer 213 that is stacked and arranged on one surface side of the solid electrolyte layer 211 and includes metal particles and oxide particles containing Ce; and an air electrode layer 212 that is stacked and arranged on the other surface side of the solid electrolyte layer 211. A Raman spectrum of Stokes scattered light of each of the solid electrolyte layer 211 and the fuel electrode layer 213 (213a) has a peak in a wave number region of 334 cm-1 or more and 531 cm-1 or less. When the half widths of the peaks of the Raman spectra of the solid electrolyte layer 211 and the fuel electrode layer 213 (213a) in the wave number region are defined as an electrolyte half width and a fuel electrode half width, respectively, the ratio of the electrolyte half width to the fuel electrode half width is 3.5 or more and 5.7 or less.

WATER ELECTROLYSIS DEVICE, GASKET, AND GASKET DEVICE

NºPublicación:  WO2025249562A1 04/12/2025
Solicitante: 
NOK CORP [JP]
\uFF2E\uFF2F\uFF2B\u682A\u5F0F\u4F1A\u793E
WO_2025249562_PA

Resumen de: WO2025249562A1

A water electrolysis device (5) is provided with gaskets (10). The gaskets (10) are configured to be used in a state where, with respect to one of the gaskets (10), another one of the gaskets (10) is reversed and overlayed. The gaskets (10) seal, in a cell (100), a space (S1) between a separator (101) and an electrolyte membrane (104) of a membrane assembly (103), and a space (S2) between a separator (102) and the electrolyte membrane (104). The gaskets (10) each have: a seal lateral surface (11) and a contact lateral surface (12) which form a pair; a first seal part (3) for sealing the space (S1) or the space (S2); and a second seal part (4) for sealing, on the outer peripheral side of the electrolyte membrane (104), a plurality of flow paths (2) between the separators (101, 102). The first seal part (3) is formed on the seal lateral surface (11) and the contact lateral surface (12), and the second seal part (4) is formed on the seal lateral surface (11) and the contact lateral surface (12).

METHOD FOR CONTROLLING WATER ELECTROLYSIS SYSTEM, AND WATER ELECTROLYSIS SYSTEM

NºPublicación:  WO2025249273A1 04/12/2025
Solicitante: 
HITACHI LTD [JP]
\u682A\u5F0F\u4F1A\u793E\u65E5\u7ACB\u88FD\u4F5C\u6240
WO_2025249273_PA

Resumen de: WO2025249273A1

Provided is a method for controlling a water electrolysis system with which operation states of a plurality of electrolysis stacks can be independently regulated highly responsively and highly efficiently. This method is for controlling a water electrolysis system which comprises: electrolysis stacks where water is electrolyzed to produce hydrogen and oxygen; a pure water feeder for feeding pure water to the electrolysis stacks; a first regulation part and a second regulation part, which are disposed between each electrolysis stack and the pure water feeder and are capable of regulating the operation state of the electrolysis stack; and an operation state regulation control unit which regulates the first regulation part and the second regulation part to regulate the operation states of the electrolysis stacks. The operation state regulation control unit, after receiving a command to change the operation state of an electrolysis stack, operates the first regulation part on the basis of the operation state and, when a predetermined requirement has been satisfied, operates the second regulation part simultaneously with the first regulation part on the basis of the operation state.

METHOD FOR ELECTROLYZING WATER, METHOD FOR PRODUCING HYDROGEN, AND METHOD FOR PRODUCING CELL OF PEM WATER ELECTROLYSIS DEVICE

NºPublicación:  WO2025248902A1 04/12/2025
Solicitante: 
TOHO TITANIUM CO LTD [JP]
\u6771\u90A6\u30C1\u30BF\u30CB\u30A6\u30E0\u682A\u5F0F\u4F1A\u793E
WO_2025248902_A1

Resumen de: WO2025248902A1

A method for electrolyzing water according to the present invention is a method for splitting water with the use of a PEM water electrolysis device which is provided with a cell in which a cathode, an electrolyte membrane, a porous transport layer, and an anode are stacked, wherein: the porous transport layer has a titanium porous body; in the electrolyte membrane-side surface of the titanium porous body, the average value of the areas of pores that open to the surface is 5 μm2 to 45 μm2 inclusive; the standard deviation value of the areas of the pores is 90 μm2 or less; the number of the pores that are present within a rectangular region that has an area of 22,000 μm2 and an aspect ratio of 4:3 is 120 or more; and the pressure applied in the stacking direction of the cathode, the electrolyte membrane, the porous transport layer, and the anode at the time of assembling the cell is set to 6 MPa or more.

COUPLING DEVICE FOR HYDROGEN GAS PRODUCTION AND CARBON DIOXIDE UTILIZATION

NºPublicación:  WO2025246521A1 04/12/2025
Solicitante: 
HUANENG CLEAN ENERGY RES INSTITUTE [CN]
\u4E2D\u56FD\u534E\u80FD\u96C6\u56E2\u6E05\u6D01\u80FD\u6E90\u6280\u672F\u7814\u7A76\u9662\u6709\u9650\u516C\u53F8
WO_2025246521_PA

Resumen de: WO2025246521A1

The present application provides a coupling device for hydrogen gas production and carbon dioxide utilization. The device comprises a spiral heat exchanger, a carbon dioxide collector, a steam generator, and an electrolytic cell, wherein the spiral heat exchanger inputs steam into the steam generator through a first pipe, the steam generator generates electric energy from the steam, the electric energy is transmitted to the electrolytic cell through a cable, and the steam is input into the electrolytic cell through a fourth pipe; the carbon dioxide collector is configured to collect carbon dioxide from flue gas produced by combustion and input the collected carbon dioxide into the spiral heat exchanger through a third pipe; the electrolytic cell is configured to produce hydrogen gas from the steam and the electric energy, and the produced hydrogen gas is introduced into the spiral heat exchanger through a second pipe; and the spiral heat exchanger is configured to promote a chemical reaction between the carbon dioxide and the hydrogen gas, and output a target compound.

ACTIVE WATER MOLECULE ELECTROLYSIS APPARATUS IN LIMITED SPACE, AND DEVICE

NºPublicación:  WO2025246212A1 04/12/2025
Solicitante: 
DELIGHTSTREAM ELECTRONIC TECH CHANGZHOU CO LTD [CN]
\u5E38\u5DDE\u6E90\u6B23\u7535\u5B50\u79D1\u6280\u6709\u9650\u516C\u53F8
WO_2025246212_PA

Resumen de: WO2025246212A1

Disclosed in the present invention is an active water molecule electrolysis apparatus in a limited space, comprising a housing having an airflow channel, wherein a membrane electrode assembly is disposed in the housing; the membrane electrode assembly divides the airflow channel into an air inlet end and an exhaust end, the air inlet end being provided with a continuous unidirectional moisture-permeable coating membrane, and the exhaust end being provided with an ePTFE microporous breathable protective membrane; and the housing is provided with an oxygen discharge channel that communicates the air inlet end with the outside. A device, comprising the active water molecule electrolysis apparatus, the internal space of the device being in communication with the air inlet end of the active water molecule electrolysis apparatus. In this way, the active water molecule electrolysis apparatus in a limited space and the device of the present invention utilize the difference in moisture permeability between the ePTFE microporous breathable protective membrane and the continuous unidirectional moisture-permeable coating membrane to realize continuous unidirectional discharge of water vapor from the inside to the outside environment, thereby effectively improving the efficiency of electrolytic dehumidification.

METAL OXIDE NANOTUBE ARRAY STRUCTURE CATALYST, AND PREPARATION METHOD THEREFOR AND USE THEREOF

NºPublicación:  WO2025246031A1 04/12/2025
Solicitante: 
NINGBO INSTITUTE OF MATERIALS TECH AND ENGINEERING CHINESE ACADEMY OF SCIENCES [CN]
\u4E2D\u56FD\u79D1\u5B66\u9662\u5B81\u6CE2\u6750\u6599\u6280\u672F\u4E0E\u5DE5\u7A0B\u7814\u7A76\u6240
WO_2025246031_PA

Resumen de: WO2025246031A1

A metal oxide nanotube array structure catalyst, and a preparation method therefor and a use thereof. The preparation method comprises the following steps: cleaning and polishing a metal sheet; immersing the polished metal sheet as an anode in an electrolyte solution to construct an electrochemical system and carrying out an anodic oxidation reaction to obtain a microporous template having a nanotube structure; immersing the microporous template into a metal salt sol for impregnation; taking out the impregnated microporous template, rinsing the surface of the impregnated microporous template with deionized water, then drying the impregnated microporous template, and calcining the impregnated microporous template at a high temperature to convert the metal salt sol into a metal oxide; and dissolving the microporous template with a dissolution solution to obtain the metal oxide nanotube array structure catalyst.

WATER ELECTROLYSIS MEMBRANE ELECTRODE, AND PREPARATION METHOD THEREFOR AND WATER ELECTROLYSER APPLYING SAME

NºPublicación:  WO2025246138A1 04/12/2025
Solicitante: 
EVE HYDROGEN ENERGY CO LTD [CN]
\u60E0\u5DDE\u4EBF\u7EAC\u6C22\u80FD\u6709\u9650\u516C\u53F8
WO_2025246138_A1

Resumen de: WO2025246138A1

A water electrolysis membrane electrode, and a preparation method therefor and a water electrolyser applying same. The water electrolysis membrane electrode comprises a cathode gas diffusion layer, a cathode catalytic layer, an anion exchange membrane, a hydrophobic anode catalytic layer and an anode gas diffusion layer. Raw materials for preparing the hydrophobic anode catalytic layer comprise an anode catalyst, a hydrophobic material and an anode ionomer, wherein calculated by mass, the ratio of the anode catalyst: the hydrophobic material: the anode ionomer is 10:1-3:1-3. The porosity of the hydrophobic anode catalytic layer is 10-40%.

SYSTEMS AND METHODS OF PROCESSING WASTE TO GENERATE ENERGY AND GREEN HYDROGEN

NºPublicación:  AU2024277487A1 04/12/2025
Solicitante: 
BERTRAM KAREN
BERTRAM, Karen
AU_2024277487_PA

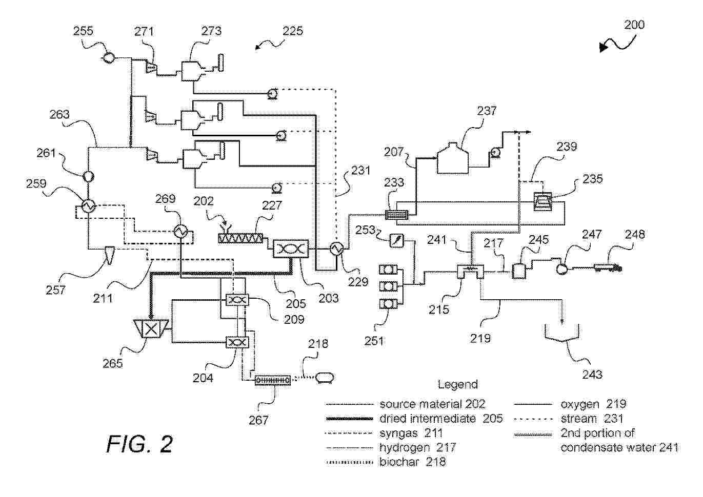
Resumen de: US2025320419A1

Systems and methods for producing green hydrogen from a source material (e.g., biowaste) are contemplated. The source material is at least partially dehydrated to produce a dried intermediate and recovered water. The dried intermediate is pyrolyzed to produce syngas and a char. The recovered water is electrolyzed to produce oxygen and green hydrogen.

System and method for stabilizing the operation of facilities using hydrogen produced by low carbon sources

NºPublicación:  AU2025203497A1 04/12/2025
Solicitante: 
KELLOGG BROWN & ROOT LLC
Kellogg Brown & Root LLC
AU_2025203497_A1

Resumen de: AU2025203497A1

A system and a method for stabilizing hydrogen flow to a downstream process in a facility determining a hydrogen density and pressure profiles in the hydrogen storage unit 5 for different target net hydrogen flows at different time intervals of a time horizon of a renewable power availability profile, determining an operating target net hydrogen flow of a hydrogen feed to the downstream process, determining a target direct hydrogen flow of a hydrogen feed and a target stored hydrogen flow of a hydrogen feed to the downstream process, and controlling the operation of the downstream process based on the operating 10 target hydrogen flows. A system and a method for stabilizing hydrogen flow to a downstream process in a 5 facility determining a hydrogen density and pressure profiles in the hydrogen storage unit for different target net hydrogen flows at different time intervals of a time horizon of a renewable power availability profile, determining an operating target net hydrogen flow of a hydrogen feed to the downstream process, determining a target direct hydrogen flow of a hydrogen feed and a target stored hydrogen flow of a hydrogen feed to the downstream 10 process, and controlling the operation of the downstream process based on the operating target hydrogen flows. ay a y

DEVICE FOR HYDROGEN PRODUCTION

NºPublicación:  AU2024296614A1 04/12/2025
Solicitante: 
AFC ENERGY PLC
AFC ENERGY PLC
AU_2024296614_PA

Resumen de: AU2024296614A1

A hydrogen production device for producing a hydrogen rich gas from ammonia comprising a first chamber comprising an inner wall and an outer wall defining an internal volume, wherein the first chamber contains an ammonia decomposition catalyst disposed between the inner wall and the outer wall, the first chamber having one or more ammonia gas inlets and one or more raw cracked gas outlets, wherein said one or more ammonia gas inlets and one or more raw cracked gas outlets are arranged such that the ammonia flows through the first chamber from the one or more ammonia gas inlets to the one or more raw cracked gas outlets and contacts the ammonia decomposition catalyst; and one or more heat sources for heating the ammonia decomposition catalyst; wherein the first chamber has one or more fins, said one or more fins disposed between the inner wall and the outer wall of the first chamber, wherein the first chamber has an internal surface area, wherein the internal volume is between 10 ml and 100 litres and wherein the ratio of the internal surface area in mm2 to the internal volume in mm3 is between approximately 1:2 and 1:6.

Water electrolysis cell, water electrolysis cell stack, and manufacturing method of water electrolysis cell

NºPublicación:  AU2025200173A1 04/12/2025
Solicitante: 
KK TOSHIBA
TOSHIBA ENERGY SYSTEMS & SOLUTIONS CORP
Kabushiki Kaisha Toshiba,
Toshiba Energy Systems & Solutions Corporation
AU_2025200173_A1

Resumen de: AU2025200173A1

A water electrolysis cell according to an embodiment includes: an anode electrode including an anode catalyst layer in which anode catalyst sheets are stacked via a gap, each anode catalyst sheet containing iridium oxide and being in the form of a nanosheet; a cathode electrode including a cathode catalyst layer in which cathode catalyst sheets are stacked via a gap, each cathode catalyst sheet containing platinum and being in the form of a nanosheet; and an electrolyte membrane containing a hydrocarbon-based material, placed between the anode electrode and the cathode electrode. A water electrolysis cell according to an embodiment includes: an anode electrode including an anode catalyst layer in 5 which anode catalyst sheets are stacked via a gap, each anode catalyst sheet containing iridium oxide and being in the form of a nanosheet; a cathode electrode including a cathode catalyst layer in which cathode catalyst sheets are stacked via a gap, each cathode catalyst sheet containing platinum and being in the form 10 of a nanosheet; and an electrolyte membrane containing a hydrocarbon-based material, placed between the anode electrode and the cathode electrode. an a n a n d t h e c a t h o d e e l e c t r o d e 36a 36b 36a34a 34b 34a 3/33/3 35 34 36 37 36a 34a 36b 34b 34a 36a an a n b b a a

DEVICE FOR PRODUCING HYDROGEN

Nº publicación: AU2024296183A1 04/12/2025

Solicitante:

AFC ENERGY PLC
AFC ENERGY PLC

AU_2024296183_PA

Resumen de: AU2024296183A1

The invention provides a device for producing hydrogen gas and a process therefor. It also provides a system for generating electrical energy from hydrogen gas. More particularly, the invention provides a device for producing hydrogen comprising an ammonia cracker having one or more raw cracked gas outlets in fluid communication with a common raw cracked gas flow conduit, one or more gas separators in fluid communication with the ammonia cracker via the common raw cracked gas flow conduit, and in fluid communication with a common partially purified cracked gas flow conduit; one or more filter assemblies, each having a first container having one or more walls, one or more partially purified cracked gas inlets and one or more purified cracked gas outlets, wherein the one or more partially purified cracked gas inlets are in fluid communication with the one or more gas separators via the common partially purified cracked gas flow conduit, the first container containing a single mass of adsorbent comprising silica gel, wherein the one or more partially purified cracked gas inlets and one or more purified cracked gas outlets are arranged such that a partially purified cracked gas flows through the single mass of adsorbent in use.

traducir