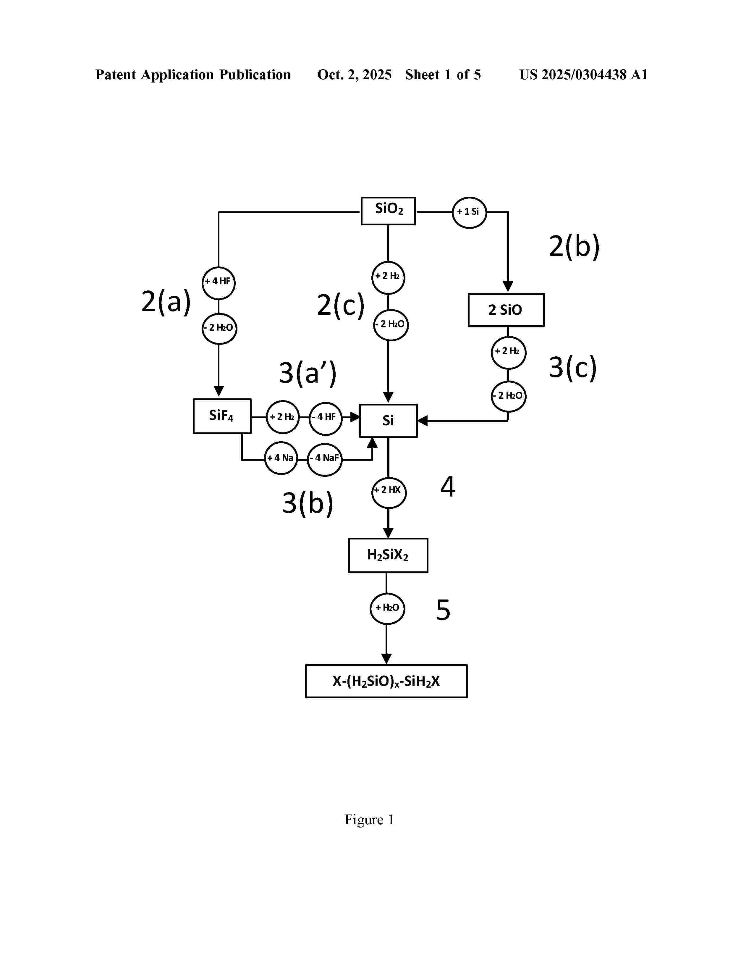
Resumen de: US2025304438A1
The present invention relates to siloxane hydrogen carrier compounds and to a method for producing hydrogen from said siloxane hydrogen carrier compounds.
Resumen de: US2025304439A1
A hydrogen generation apparatus includes a first liquid providing apparatus and a controller. The first liquid providing apparatus provides a liquid containing at least water to a solid hydrogen carrier. The controller controls an amount of the liquid that the first liquid providing apparatus provides to the hydrogen carrier.
Resumen de: US2025303356A1
Disclosed are a system and method for purifying hydrogen, and a system for producing hydrogen by water electrolysis. The system for purifying hydrogen includes three dryers, and the three dryers share one regeneration cycle module. This significantly reduces a quantity of regeneration cycle modules, and therefore, manufacturing cost of the system is relatively low. In addition, a first gas-gas heat exchanger (4) is arranged in a regeneration cycle system, so that heat exchange can be performed between low-temperature regeneration hydrogen before regeneration and high-temperature regeneration tail gas after regeneration. In this way, residual heat of the high-temperature regeneration tail gas can be fully utilized, and power consumption of a subsequent heater and regeneration cooler can be significantly reduced. Therefore, energy consumption of the system is relatively low.
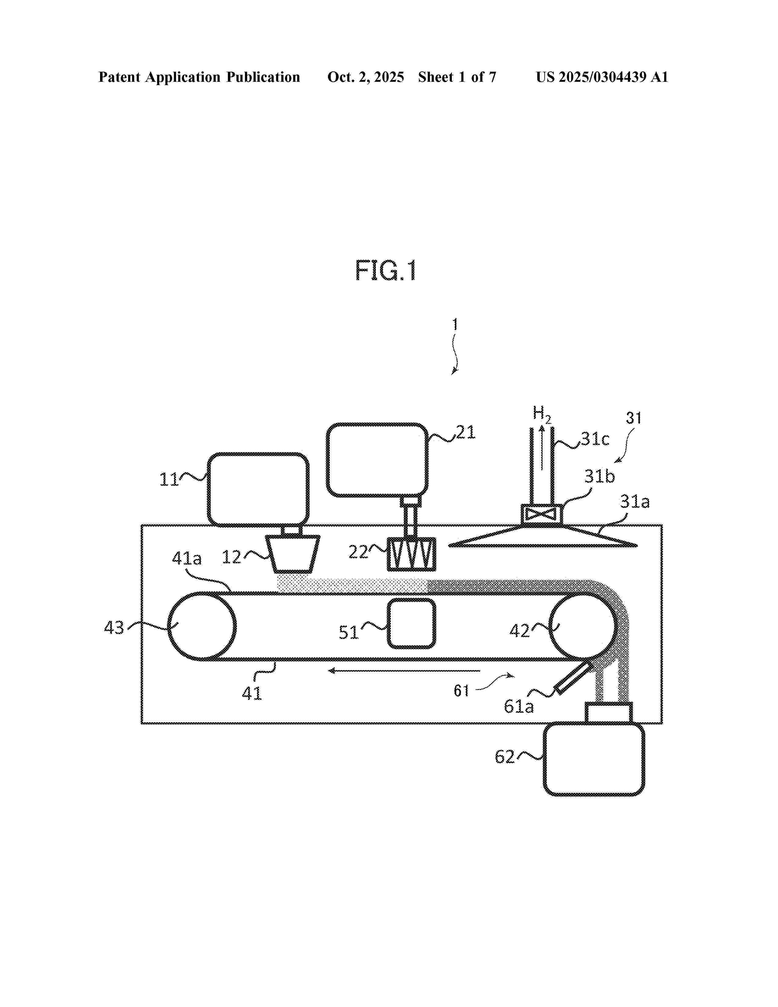
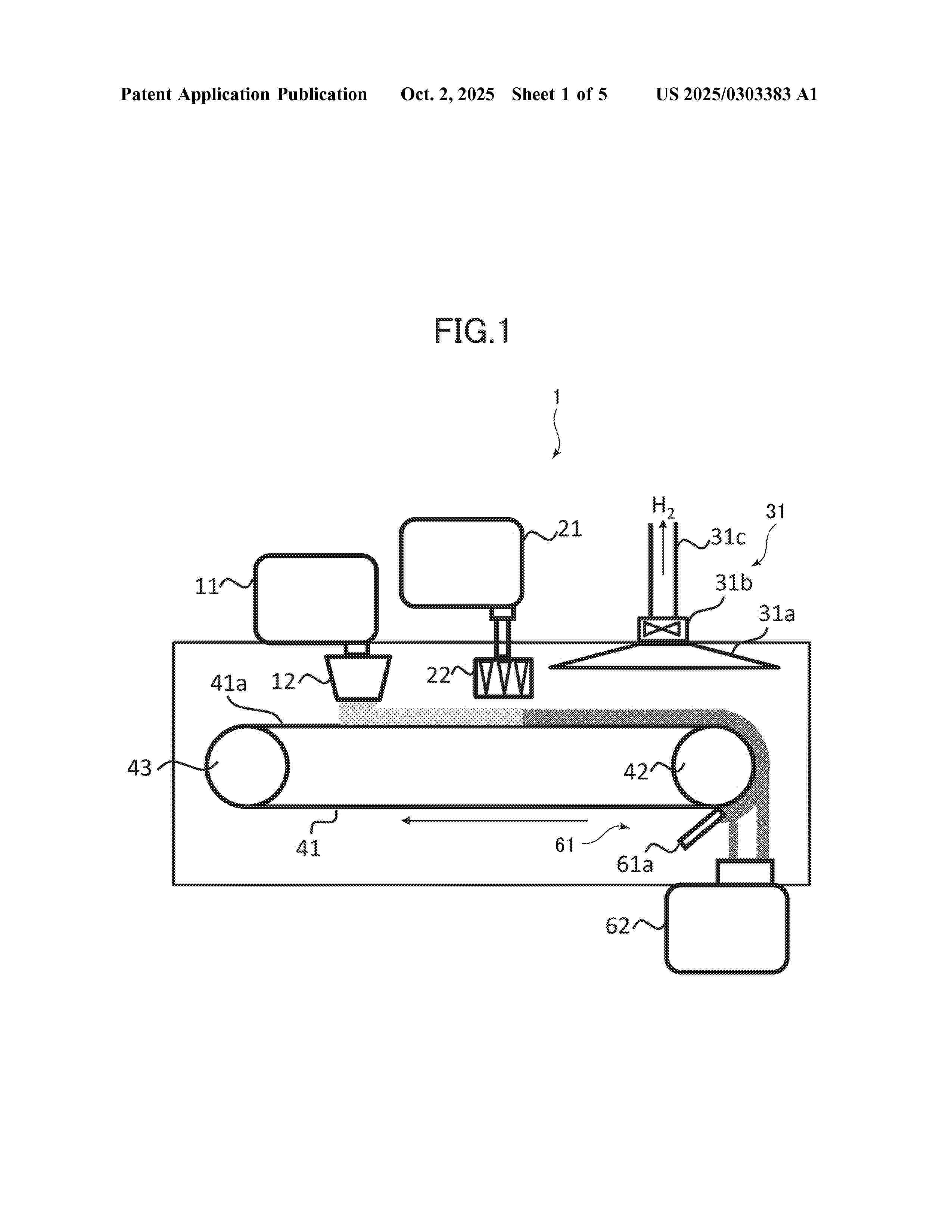
Resumen de: US2025303383A1
A hydrogen generation apparatus applies a solid hydrogen carrier on a surface of a conveyance member by an application apparatus, and ejects a solution containing water onto the hydrogen carrier applied on the surface by an ejection apparatus. Then, hydrogen generated by a reaction between the hydrogen carrier and the solution on the surface is collected by a hydrogen collection apparatus. A byproduct generated by the reaction between the hydrogen carrier and the solution on the surface is collected by a byproduct collection apparatus. A hydrogen carrier regulated amount maintaining portion adjusts the replenishment amount of the hydrogen carrier from a replenishment container to a storage portion of the application apparatus to maintain the hydrogen carrier in the storage portion within a predetermined range.
Resumen de: US2025309291A1
In a first stacked body providing step, a first stacked body, in which a first ionomer material having an ion exchange capacity of less than a predetermined value and a first electrode are stacked, is provided. In a second stacked body providing step, a second stacked body, in which a second ionomer material having an ion exchange capacity of equal to or greater than the predetermined value and a second electrode are stacked, is provided. In a substrate providing step, an electrolyte substrate is provided. In a swelling step, the first stacked body, the second stacked body, and the electrolyte substrate are caused to swell. In a joining step, the electrolyte substrate and the first ionomer material of the first stacked body are joined together, and the electrolyte substrate and the second ionomer material of the second stacked body are joined together.
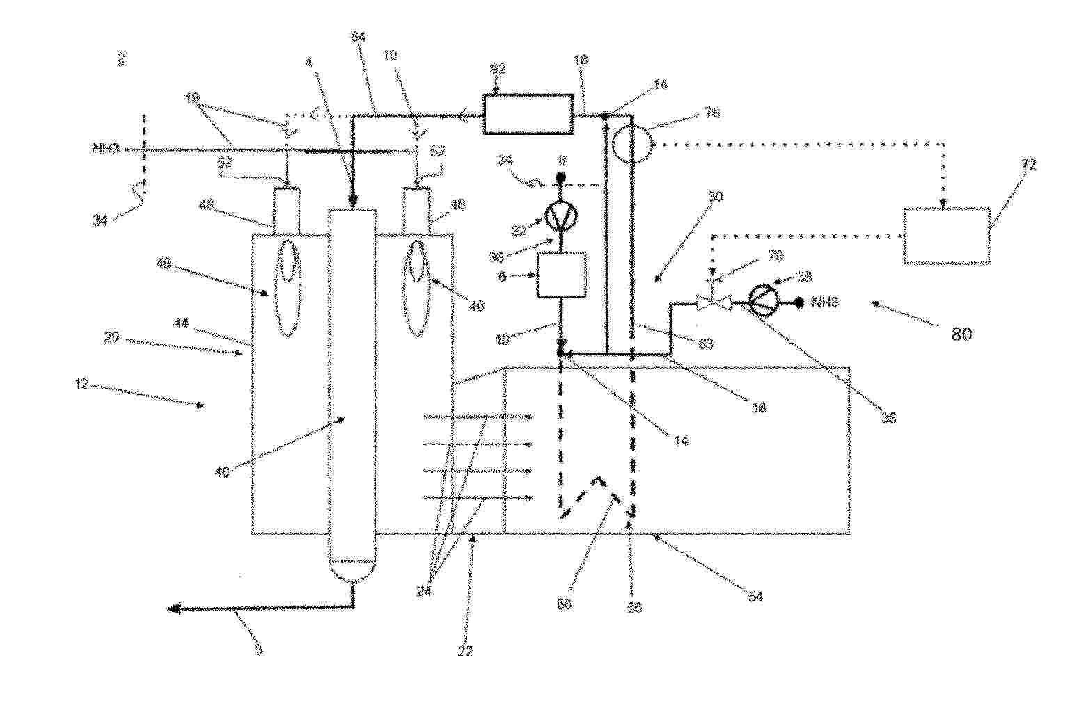
Resumen de: WO2025207369A1
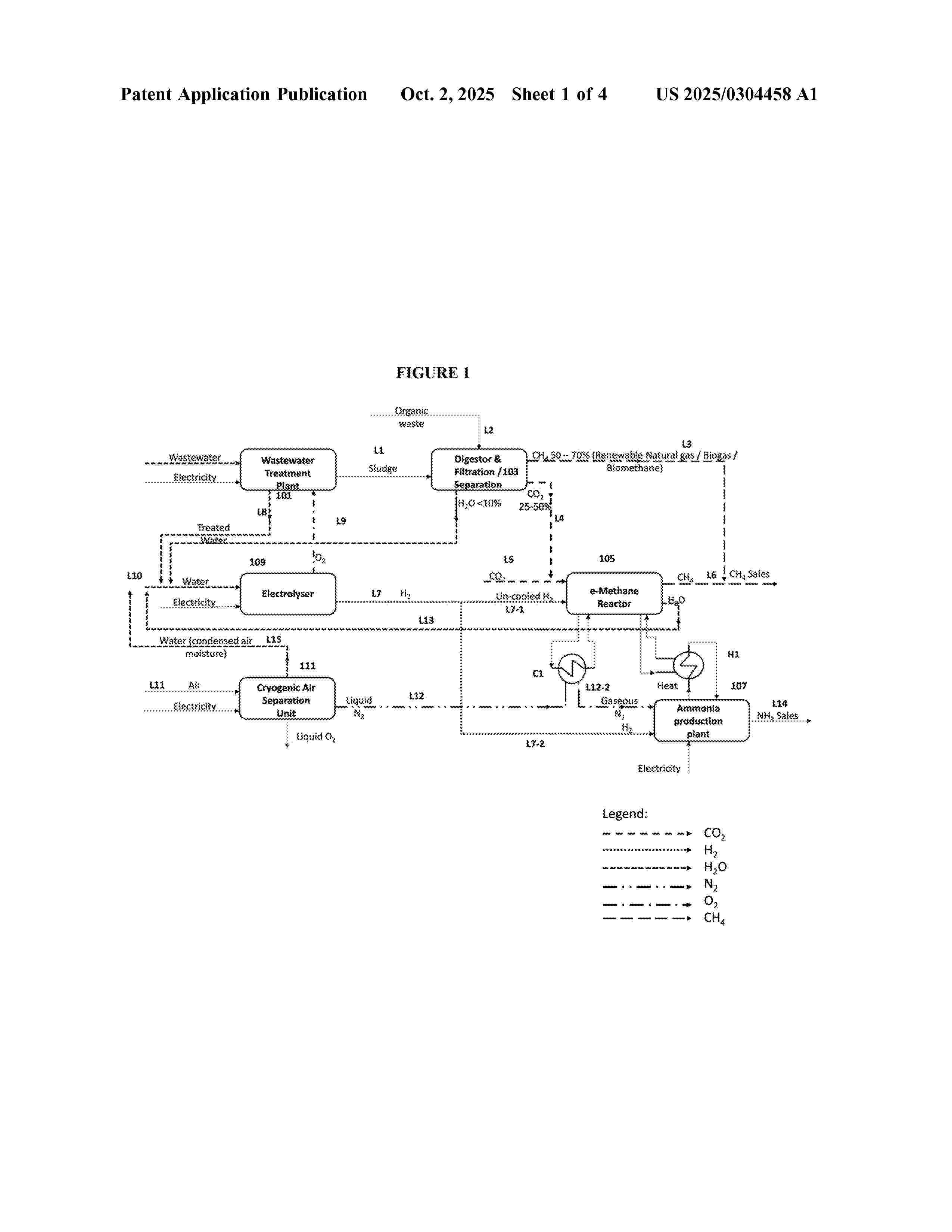
The disclosure presents an integrated system consisting of a wastewater production unit, e- methane reactor, an electrolyzer for producing hydrogen, a cryogenic separation unit and an ammonia production unit, where e-methane is produced by reaction of carbon dioxide obtained from direct air capture/biogenic CCh/captured industrial CO2 emissions/oxidized solid carbon, and from CO2 separated from biogas obtained from wastewater treatment, and hydrogen gas from electrolysis of water. The hydrogen gas is also reacted with nitrogen obtained from the cryogenic unit for the synthesis of ammonia, where heat from ammonia synthesis is transferred to e-methane reactor for energy efficiency. By integrating these units and reactors, the disclosure provides a system for efficient use of energy and by-products.
Resumen de: WO2025208136A1
A method and system for integrating tri-reforming and water or steam electrolysis includes reacting methane, CO2, H2O, and O2 in a methane tri-reformer to form syngas, which includes H2 and CO. The electrolysis of water or steam is performed in an electrolyzer to produce H2 at the cathode and O2 at the anode. The O2 generated by the electrolyzer is provided to the methane tri-reformer for use as a reactant to form the syngas. The system and method may also include additional processes such as hydroformylation, methanol synthesis, and oxy-combustion.
Resumen de: WO2025204163A1
Provided is a method for manufacturing a catalyst film for a water electrolysis cell, said method including: (1) a step for forming a metal-iridium-containing first film on a substrate by sputtering using a metal-iridium-containing target in a first space; and (2) a step for moving the substrate into a second space that contains oxygen plasma, oxidizing the first film, and forming an indium-oxide-containing first oxide film.
Resumen de: WO2025204109A1
The purpose of the present invention is to improve the energy efficiency of a hydrogen production system as a whole. A hydrogen production system (1) produces hydrogen. The hydrogen production system (1) is provided with: an SOEC (10) that is supplied with an oxidizing gas and steam and generates hydrogen by electrolyzing the supplied steam; a steam generation unit (20) that generates the steam supplied to the SOEC (10) by heating feed water; and a power supply device (40) that supplies power to the SOEC (10) so that the SOEC (10) operates at an operation point exceeding a thermal neutral point. The steam generation unit (20) uses heat generated in the SOEC (10) to heat the feed water, and generates the steam without using heat supplied from outside of the hydrogen production system (1).
Resumen de: WO2025207367A1
Described are methods for producing industrial gases (e.g., hydrogen, ammonia, and/or methane) using ferrous iron-containing materials (e.g., olivine) while concurrently sequestering carbon dioxide. The process may involve mixing a ferrous iron-containing material with water and, in some examples, a reaction accelerant. The mixture may be heated to 100-300°C to initiate the oxidation of ferrous cations (Fe2+) to ferric cations (Fe3+) while reducing hydrogen (from water) and/or methane (from water and carbon dioxide, when carbon dioxide is introduced into the ferrous iron-containing mixture). In some examples, carbon dioxide may be added later (after recovering hydrogen) to form carbonates. Specifically, carbon dioxide may be injected at a high pressure (e.g., about 200 bar) post-oxidation to facilitate mineralization, using the exothermic reaction to maintain a favorable temperature. In some examples, metal complexing/chelating reagents are added to bind trace metals such as nickel, copper, cobalt, and platinum group metals for recovery.
Resumen de: WO2025204074A1
Provided are an electrolysis module cooling method and an electrolysis system capable of reducing an atmospheric temperature inside a container. Provided is a cooling method for an electrolysis module (200) comprising: at least one electrolysis cartridge (220) that includes an electrolysis cell and generates hydrogen by electrolyzing water vapor generated from water supply; and a pressure vessel (210) that accommodates the electrolysis cartridge (220). In the method for cooling the electrolysis module (200), the air is subjected to heat exchange with water supply in order to heat the water supply, and the heat-exchanged air is supplied to the pressure vessel (210) to cool the inside of the pressure vessel (210).
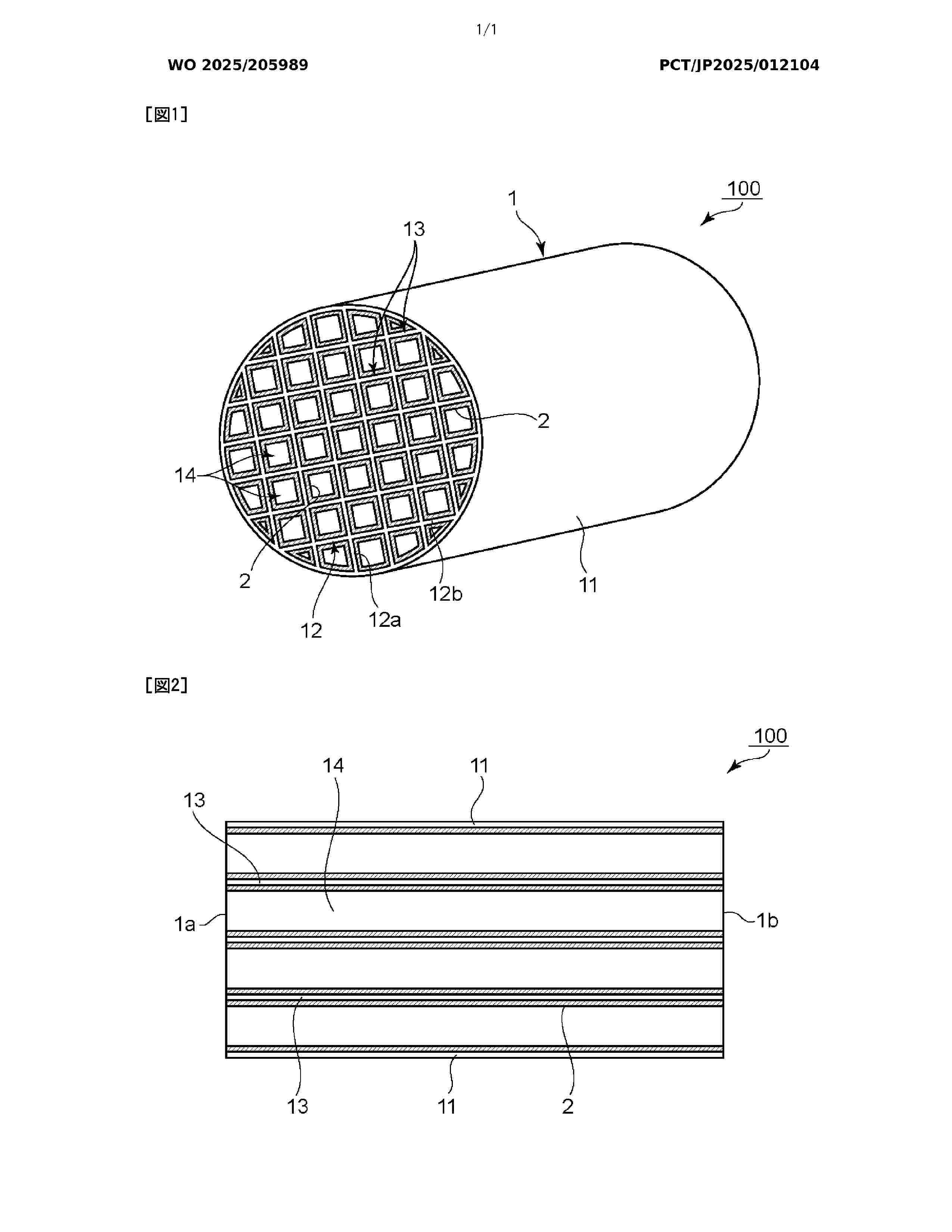
Resumen de: WO2025205989A1
Provided is a methane production reactor that exhibits excellent methane yield. A methane production reactor according to an embodiment of the present invention has gas flow paths to which a raw material gas containing ammonia and carbon dioxide is supplied. The methane production reactor comprises: a honeycomb-shaped base material including partition walls that define a plurality of cells, at least some of the plurality of cells including the gas flow paths; and catalyst-containing layers provided on the surfaces of the partition walls so as to face the gas flow paths, the catalyst-containing layers being capable of promoting a reaction for generating methane from the raw material gas.
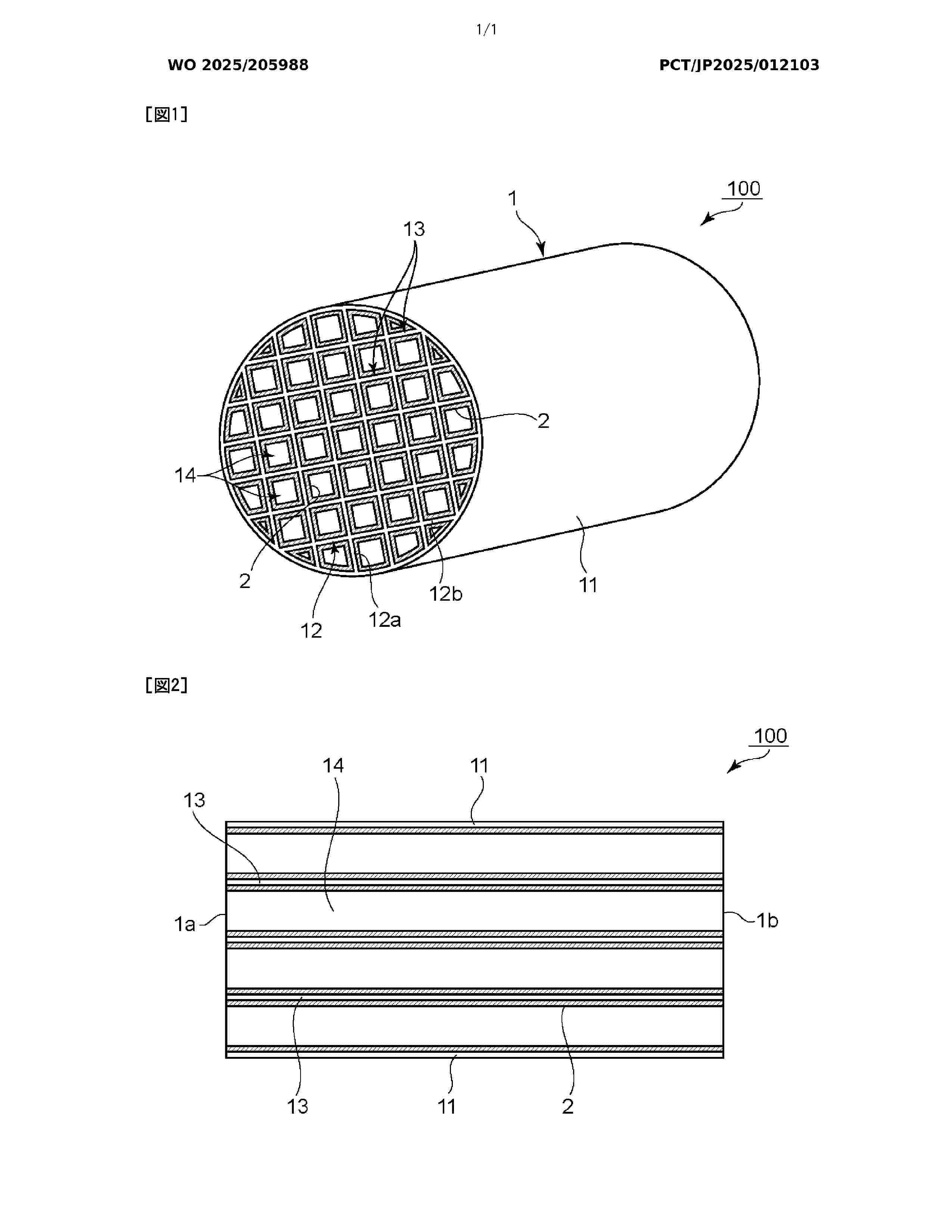
Resumen de: WO2025205988A1
Provided is a reactor used for a process involving two or more elementary reactions, namely an exothermic reaction and an endothermic reaction, the reactor having excellent reaction efficiency and reduced catalyst degradation. A reactor according to an embodiment of the present invention is used in a process involving two or more elementary reactions, namely an exothermic reaction and an endothermic reaction. The reactor comprises: a gas channel into which a feedstock gas containing a first component and a second component is supplied; and a catalyst-containing part disposed so as to be capable of contacting the feedstock gas supplied to the gas channel. The catalyst-containing part includes an endothermic reaction promoting catalyst capable of promoting an endothermic reaction related to the first component and an exothermic reaction promoting catalyst capable of promoting an exothermic reaction between the reaction product of the first component and the second component. The dispersion ratio of the exothermic reaction promoting catalyst calculated in a cross-sectional analysis of the catalyst-containing part is 0.60 or more.
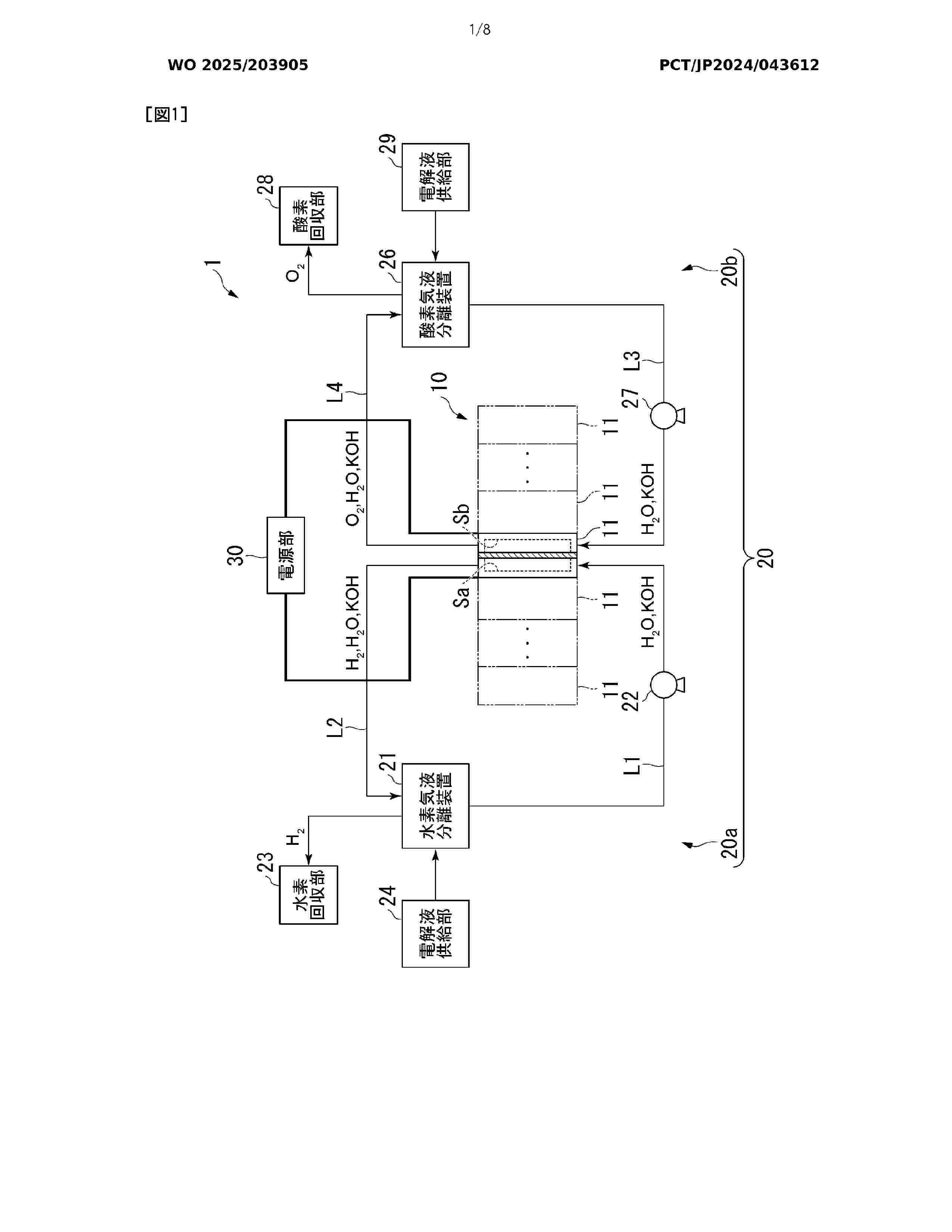
Resumen de: WO2025203905A1
In an electrolysis cell according to the present disclosure, an insulating packing material has: an annular packing body; an arc-shaped packing material having an arc shape formed inside the packing body and surrounding a first supply hole and a first discharge hole from the outer peripheral side, respectively; and a triangular packing material. In the arc-shaped packing material, which is in a state prior to elastic deformation by being sandwiched between a separator and an anion exchange membrane, the thickness of the arc-shaped packing material is set to be greater than the gap between a first diffusion guide part and the anion exchange membrane, and in the triangular packing material, the thickness thereof is set to be greater than that of the packing body.
Resumen de: AU2025201297A1
An electrochemical reaction device includes: an electrochemical reaction structure including a cathode to reduce carbon dioxide to produce a carbon compound, an anode to oxidize water to produce oxygen, a diaphragm therebetween, a cathode flow path on the 5 cathode, and an anode flow path on the anode; a first flow path through which a first fluid to the cathode flow path flows; a second flow path through which a second fluid to the anode flow path flows; a third flow path through which a third fluid from the cathode flow path flows; a fourth flow path through which a fourth fluid from the anode flow path flows; and a gas-liquid separator in or on the anode flow path and to separate a gas containing the 10 oxygen from a fifth fluid containing the water and the oxygen through the anode flow path. An electrochemical reaction device includes: an electrochemical reaction structure including a cathode to reduce carbon dioxide to produce a carbon compound, an anode to 5 oxidize water to produce oxygen, a diaphragm therebetween, a cathode flow path on the cathode, and an anode flow path on the anode; a first flow path through which a first fluid to the cathode flow path flows; a second flow path through which a second fluid to the anode flow path flows; a third flow path through which a third fluid from the cathode flow path flows; a fourth flow path through which a fourth fluid from the anode flow path flows; 10 and a gas-liquid separator in or on the anode flow path and to separat
Resumen de: JP2025143669A
【課題】水素を製造するための電解装置及び水素を製造するための方法を提供する。【解決手段】水素を製造するための電解装置は、複数の平面に配置される複数の電解セル(1)を備え、各々は、少なくとも1つのアノード(10)及び1つのカソード、及びアノード(10)とカソードとの間のプロトン交換膜(3)を有し、プロトン交換膜(3)は、それぞれの活性面積領域(30)を形成し、少なくとも1つの電解セル(1)は、平面に実質的に配置される複数の活性面積領域(30)を有する。【選択図】図3
Resumen de: WO2025202210A1
The invention relates to a modular assembly for a solid oxide electrolysis system for producing hydrogen. The assembly comprises at least one module (1) comprising at least one stack (2) of solid oxide plates positioned in a heat chamber (3), pipes for supplying fluids into the stack (2), pipes for discharging fluids from the stack (2), and at least one fluid-heating device allowing the fluid to reach a temperature that is compatible with the operation of the stack (2). The module (1) comprises a first removable part (10) provided with first connectors (4) for fluid pipes, which part comprises the stack (2) of solid oxide plates positioned in the heat chamber (3), and a second fixed part (11) provided with second connectors (5) capable of being connected to and disconnected from the first connectors (4). The second fixed part (11) comprises a distribution network (13) comprising the fluid supply pipes (14) and fluid discharge pipes (15).
Resumen de: GB2639690A
A sustainable water fuelled process and apparatus where a Unipolar electrolysis of water is described and the hydrogen and oxygen are stored before feeding a hydrogen fuel cell which is capable of providing sufficient electricity to provide power to a drive a vehicle, power a generator etc, after supplying electricity to the Unipolar electrolyser and the storage of the hydrogen and oxygen.
Resumen de: MX2025008404A
The invention provides devices, systems, and methods for providing hydrogen gas mixtures to a subject. The invention allows hydrogen gas mixtures to be provided at a rate that does not restrict normal or even elevated breathing.
Resumen de: WO2024110874A1
Methods and systems related to valorizing carbon dioxide are disclosed. A disclosed system includes a reverse water gas shift (RWGS) reactor, a carbon dioxide source connection fluidly connecting a carbon dioxide source to the RWGS reactor, an electrolyzer having an anode area and a cathode area, and a carbon monoxide source connection fluidly connecting the RWGS reactor to the cathode area. The RWGS reactor is configured to generate, using a volume of carbon dioxide from the carbon dioxide source connection, a volume of carbon monoxide in an RWGS reaction. The electrolyzer is configured to generate, using the electrolyzer and a reduction of the volume of carbon monoxide from the carbon monoxide source connection and an oxidation of an oxidation substrate, a volume of generated chemicals including hydrocarbons, organic acids, alcohol, olefins, or N-rich organic compounds.
Resumen de: EP4624806A2
An industrial system (20) for heating, drying, or curing, comprising an electrolyser (700) for producing hydrogen fuel from water; at least one heating element for using the hydrogen fuel; and a processor for controlling the at least one heating element such that the at least one heating element is adapted to use the hydrogen fuel under control of the processor; wherein the processor is connected to a network to enable communication to a server, the server having at least one module for providing at least one of monitoring or control of the operation of the system (20); and wherein the electrolyser (700) is controlled by the processor and adapted to generate the hydrogen fuel under control of the processor and responsive to an indication of use of the hydrogen fuel.
Resumen de: GB2639679A
A hydrogen storage system 10 for producing, storing, releasing and utilising hydrogen, the system comprising: an electrolyser 12; a hydrogen storage bed 14 comprising a hydrogen storage material disposed therein; and a fuel cell 16. When the system assumes a loading condition, hydrogen is produced by the electrolyzer and loaded into the hydrogen storage bed. When the system assumes an unloading condition hydrogen stored in the H2 storage bed is unloaded and directed towards the fuel cell for producing electricity. A filter may be located between the storage bed and electrolyser, or between the storage bed and fuel cell. The storage bed material may comprise a hydridable metal, optionally depleted uranium. The storage bed may comprise a hydrogen storage body and a thermal transfer element comprising a fin element, e.g. a helical fin, that may allow the redistribution and expansion of the hydrogen storage material within the body.
Resumen de: GB2639674A
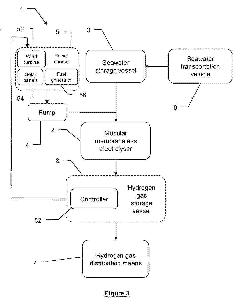
A system for distributing hydrogen to vehicles 1. The system 1 comprises at least one modular membraneless electrolyser 2 for generating hydrogen gas from seawater and/or brine. It also has at least one vessel 3 (or reservoir) for storing the water with at least one pump 4. Power source(s) 5 for powering electrolyser(s) and the pump(s) are provided. At least one vehicle 6 for transporting the seawater and/or brine may be provided. The power source may comprise renewable energy source(s) such as solar 52 or wind 54. A control system 82 for the operation of hydrogen production, is defined where the control system 82 may receive data from a machine learning algorithm. A number of distribution systems can be established where they are located in geographically separate locations.
Resumen de: EP4624630A1
Die Erfindung betrifft eine Vorrichtung zur Herstellung von Wasserstoff mittels eines Elektrolyseurs (1), wobei dem Elektrolyseur (1) Wasser aus einer Wassererzeugungsvorrichtung (6) zugeführt wird, wobei die Wassererzeugungsvorrichtung (6) Mittel zum Entziehen und Verflüssigen der Feuchtigkeit der Umgebungsluft (5), insbesondere in Form eines Wärmetauschers der die Feuchtigkeit der Umgebungsluft kondensieren lässt, aufweist, wobei die Energie der Abwärme (2) des Elektrolyseurs (1) der Umgebungsluft (5) vor dem Feuchtigkeitsentzug zugeführt wird, um diese zu erwärmen.
Nº publicación: EP4624631A1 01/10/2025
Solicitante:
MITSUBISHI HEAVY IND LTD [JP]
Mitsubishi Heavy Industries, Ltd
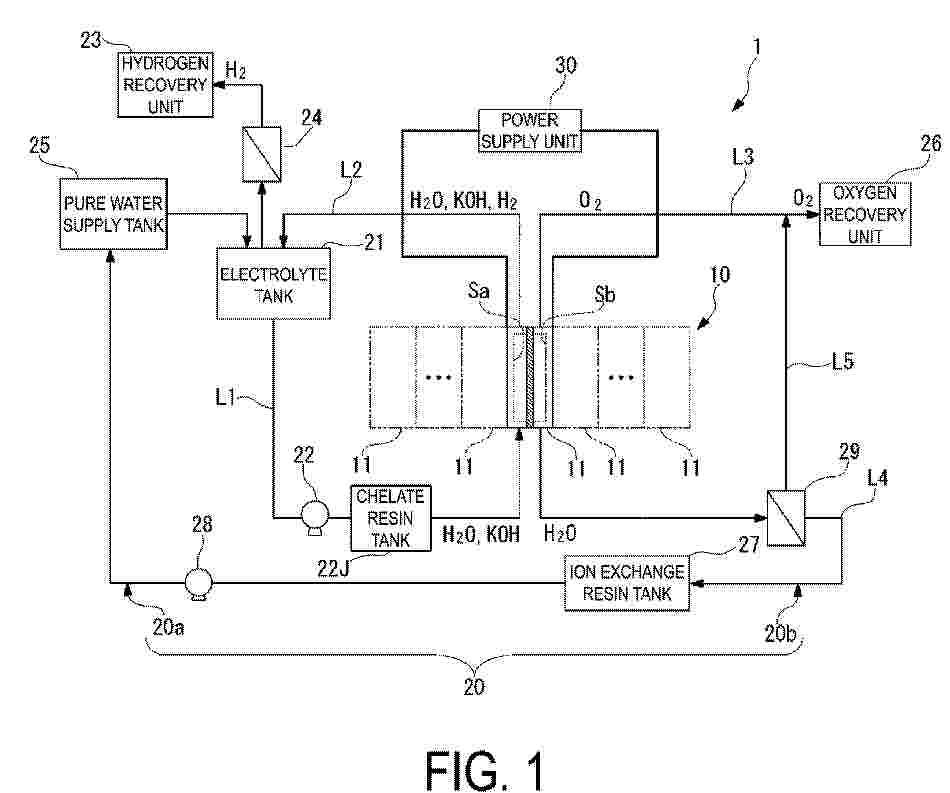
Resumen de: EP4624631A1
An electrolytic cell of the present disclosure includes a first separator, a second separator, an anion exchange membrane disposed between the first separator and a second separator, a cathode disposed between the first separator and the anion exchange membrane, and an anode disposed between the second separator and the anion exchange membrane. The first separator includes a flow path for supplying an electrolyte to the cathode, and at the cathode, at least part of the electrolyte supplied from the flow path is consumed to generate hydrogen and hydroxide ions. The second separator does not include a flow path for supplying the electrolyte to the anode, and at the anode, oxygen and water are generated by the hydroxide ions that have passed through the anion exchange membrane from the cathode in a state where the electrolyte is not supplied.
