Resumen de: EP4624806A2
An industrial system (20) for heating, drying, or curing, comprising an electrolyser (700) for producing hydrogen fuel from water; at least one heating element for using the hydrogen fuel; and a processor for controlling the at least one heating element such that the at least one heating element is adapted to use the hydrogen fuel under control of the processor; wherein the processor is connected to a network to enable communication to a server, the server having at least one module for providing at least one of monitoring or control of the operation of the system (20); and wherein the electrolyser (700) is controlled by the processor and adapted to generate the hydrogen fuel under control of the processor and responsive to an indication of use of the hydrogen fuel.
Resumen de: US2024072339A1
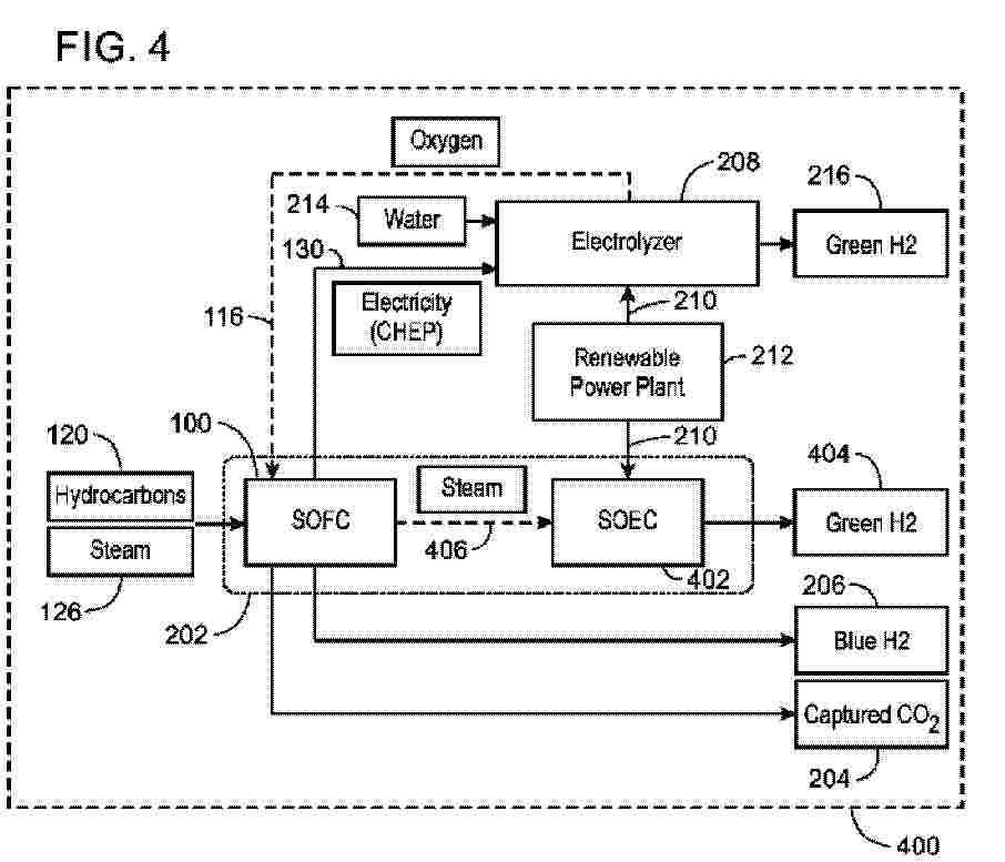
A method and a system for integrating renewable power with a natural gas hydrogen production plant are provided. An exemplary method include generating electricity and a reformed hydrogen stream in a solid oxide fuel cell (SOFC) stack, and providing the electricity to an electrolyzer to generate an electrolysis hydrogen stream. A second stream of electricity is generated in a renewable energy facility, when available, and providing the second stream of electricity to the electrolyzer to increase the generation of the electrolysis hydrogen stream.
Resumen de: WO2024043908A1
A method can include: providing the existing SMR, wherein the SMR was formerly used to produce hydrogen from a hydrocarbon; and improving the nitridation resistance of the inner surface of the equipment by adding a protective layer to an inner surface of equipment to be used in the existing SMR, wherein the equipment is selected from a catalyst tube, feed piping, a feed preheater, process gas heat exchangers, and combination thereof. The hydrogen production facility can include a reformer configured to catalytically convert a feed stream into a product stream comprising hydrogen, means for providing the feed stream to the reformer from an ammonia source, wherein the feed stream comprises at least 90% of ammonia, wherein the plurality of catalyst tubes comprise a nitridation protective layer on an inner surface of the catalyst tubes.
Resumen de: CN119908039A
Disclosed is an electrochemical cell having: a porous metal support; at least one layer of a first electrode on the porous metal support; a first electron blocking electrolyte layer of rare earth doped zirconia on the at least one layer of the first electrode; and a second bulk electrolyte layer of rare earth doped cerium oxide on the first electron blocking electrolyte layer. The first electron blocking electrolyte layer of rare earth doped zirconia may have a thickness of 0.5 mu m or more, and the second bulk electrolyte layer of rare earth doped ceria may have a thickness of 4 mu m or more.
Resumen de: MX2025004537A
A method for producing a synthetic fuel from hydrogen and carbon dioxide comprises extracting hydrogen molecules from hydrogen compounds in a hydrogen feedstock to produce a hydrogen-containing fluid stream; extracting carbon dioxide molecules from a dilute gaseous mixture in a carbon dioxide feedstock to produce a carbon dioxide containing fluid stream; and processing the hydrogen and carbon dioxide containing fluid streams to produce a synthetic fuel. At least some thermal energy and/or material used for at least one of the steps of extracting hydrogen molecules, extracting carbon dioxide molecules, and processing the hydrogen and carbon dioxide containing fluid streams is obtained from thermal energy and/or material produced by another one of the steps of extracting hydrogen molecules, extracting carbon dioxide molecules, and processing the hydrogen and carbon dioxide containing fluid streams.
Resumen de: MX2025008404A
The invention provides devices, systems, and methods for providing hydrogen gas mixtures to a subject. The invention allows hydrogen gas mixtures to be provided at a rate that does not restrict normal or even elevated breathing.
Resumen de: MX2025009259A
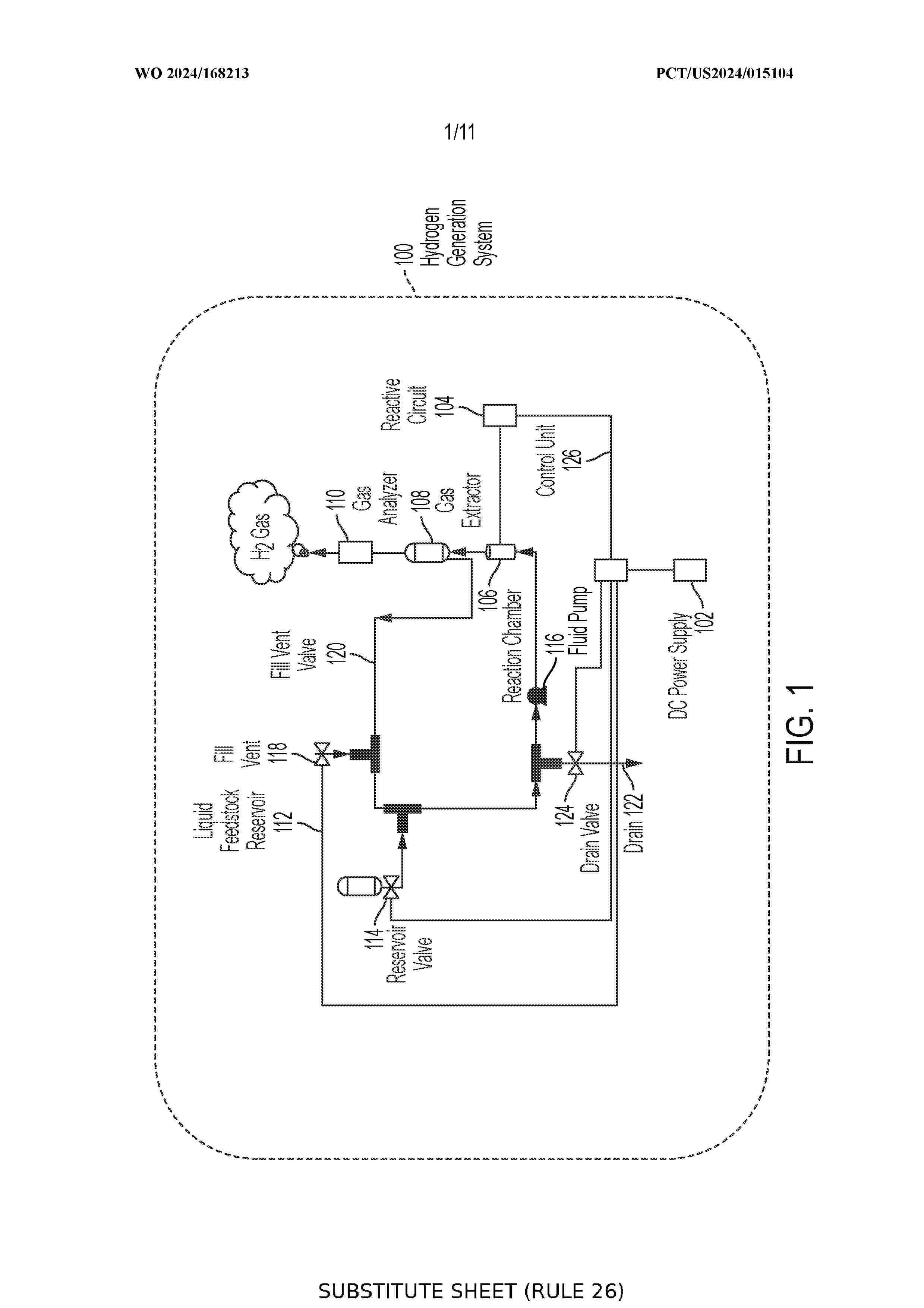
A hydrogen generation system includes: a direct current (DC) power supply providing a driver signal, a reactive circuit coupled to the power supply and configured to generate a pulse drive signal from the driver signal, at least one reaction chamber coupled to the reactive circuit and receiving the pulse drive signal wherein the chamber is configured to generate hydrogen from feedstock material utilizing the pulse drive signal, a gas analyzer coupled to the at least one reaction chamber and configured to detect the generated hydrogen, and a control unit coupled to the reactive circuit and to the gas analyzer and configured to control the reactive circuit based on the detected hydrogen. The reaction chamber includes a plurality of positively charged elements and a plurality of negatively charged elements. The elements are composed of non-dis similar metallic material.
Resumen de: KR20250143193A
본 발명은 수돗물, 지하수 또는 하천수에 포함된 부유 및 실트 등과 같은 물질을 제거한 후 무기물질과 유기물질을 분리 및 제거한 처리수 또는 전해질 수용액을 생성하는 자연수전처리부와; 전원부로부터 전원을 공급받아 전처리부로부터 공급되는 처리수 또는 전해질 수용액을 이용하여 수소를 생성하는 전기분해모듈과; 전기분해모듈에 전원을 공급하는 전원부와; 전기분해모듈로부터 공급되는 수소에서 수분을 제거하는 기액분리장치와; 기액분리장치에서 수분이 제거된 수소의 온도를 낮추는 열교환기와; 열교환기로부터 공급되는 수소에 포함된 수분을 완전하게 제거하기 위하여 수분의 흡착 및 건조시키는 건조장치와; 건조장치에서 수분이 완전하게 저장된 수소가 저장하고, 저장된 수소를 다시 압축하여 저장하는 수소저장부;로 구성되는 것을 특징으로 하며, 전기분해(수전해)로 청정수소 생산을 위해 필요한 수처리비용 및 유지관리비용 절감, 전기분해셀의 설치비 및 유지관리비 및 냉각 비용절감할 수 있고, 비싼 금속 촉매(백금 등) 사용 및 순도 높은 수질과 고분자 전해질막(Membranes)이 필요없는 전기분해방식으로 청정수소를 생산하고, 청정수소의 생산시 냉각수에 의해 열을 최대한 억제시켜 청정수소의 생산�
Resumen de: MX2025009259A
A hydrogen generation system includes: a direct current (DC) power supply providing a driver signal, a reactive circuit coupled to the power supply and configured to generate a pulse drive signal from the driver signal, at least one reaction chamber coupled to the reactive circuit and receiving the pulse drive signal wherein the chamber is configured to generate hydrogen from feedstock material utilizing the pulse drive signal, a gas analyzer coupled to the at least one reaction chamber and configured to detect the generated hydrogen, and a control unit coupled to the reactive circuit and to the gas analyzer and configured to control the reactive circuit based on the detected hydrogen. The reaction chamber includes a plurality of positively charged elements and a plurality of negatively charged elements. The elements are composed of non-dis similar metallic material.
Resumen de: WO2024095217A1
A method and system for producing renewable energy in a programmed manner and the production of "green" hydrogen by creating power plants that have a non-programmable renewable energy production power and are connected to the grid with a connection capable of transporting only one fraction of the total installed power, creating a funnel effect in which the energy not fed into the grid is used to charge one or more storage systems and fuel the production of green hydrogen, with the possibility of drawing energy from the public electricity grid also making an accumulation service of excess renewable energy produced by other renewable plants not created with this method. The method includes the preparation of one or more electricity production plants (10, 11) from discontinuous and variable non-programmable renewable sources, having an overall predetermined maximum installed renewable power PRI; the preparation of one or more systems of electrical energy storage (17, 18) of similar or different technology electrically connected to each other, having a predetermined maximum storage power PS which are electrically connected to said one or more electrical energy production plants (10, 11) from a discontinuous and variable renewable source through electrotechnical and electromechanical technical means creating a power plant (100, 101); the connection of said power station (100, 101) to the public electricity grid (16) with technical power transmission means (14, 15) having a pre-det
Resumen de: CN120714680A
本发明属于光催化剂技术领域,具体涉及一种S型C3N5/Fe2TiO5异质结及其制备方法和应用。本发明通过水热法首次构建了S型C3N5/Fe2TiO5异质结,能够有效促进光生电子/空穴对的分离,同时保留强氧化还原能力,克服了传统异质结的局限性。本发明所采用的C3N5纳米片为基底结合Fe2TiO5纳米颗粒,该体系化学性质稳定,Fe2TiO5纳米颗粒在C3N5纳米片上均匀分散,且制备工艺简单,适合工业化放大生产。本发明制备的S型C3N5/Fe2TiO5异质结展现出优异的光催化分解水制氢活性,同时材料成本低。
Resumen de: CN120719337A
本本发明涉及基于等离激元增强机制的高效光催化分解水制氢材料及其制备方法。所述材料包括:以多孔TiO2纳米管阵列为基体,管径为50~200nm,壁厚为10~50nm;在其表面负载粒径为5~20nm的Au‑Ag双金属纳米颗粒,Au与Ag摩尔比为1:3至3:1,用于激发表面等离激元共振效应;进一步在其外表面沉积二维MoS2纳米片作为共催化剂,厚度为1~5nm;并在整体表面沉积1~3nm厚的超薄碳层以提升光吸收与稳定性。本发明还提供了该光催化材料的制备方法,依次包括TiO2阳极氧化、水热沉积MoS2、光沉积金属纳米颗粒和CVD碳层包覆等步骤。所制材料在太阳光驱动下表现出优异的氢气产率与稳定性,具有广阔的光催化制氢应用前景。
Resumen de: US2025283237A1
A method can include: processing precursors, electrochemically oxidizing an anolyte and reducing a catholyte in an electrolyzer, and cooperatively using the oxidized anolyte and reduced catholyte in a downstream process. The electrolyzer can include an anode, a cathode, and a separator. The anode can include an anolyte, an electrode, an anolyte reaction region. The cathode can include a catholyte, an electrode, a catholyte reaction region.
Resumen de: CN120715229A
本发明涉及电解水制氢技术领域,具体公开一种利用搅拌摩擦增材制备铜铁合金的方法。本发明以价格低廉的铜粉和铁粉为原料,经过球磨处理增大粉末的比表面积、促进原子扩散,然后通过热等静压使粉末初步结合形成致密棒材,再以热等静压制备的棒材为原料进行增材制造,搅拌摩擦增材通过摩擦产热使材料处于塑性状态,在机械搅拌作用下进一步推动铁、铜原子的充分扩散与混合,从而实现过饱和固溶,解决了常规方法难以实现高含量铁在铜中固溶的难题,在析氢催化等领域展现出巨大应用潜力,为高性能铜铁合金材料的制备提供了一种切实可行的新途径。
Resumen de: CN120714684A
本发明公开了一种氮修饰的钨酸镍纳米棒自支撑催化剂及其制备方法以及在电解海水制氢中的应用,所述催化剂是以泡沫镍或者镍网为导电基底,其中导电基底的表面生长有经过氮修饰的钨酸镍纳米棒阵列;制备时,首先将泡沫镍或镍网导电基底进行预处理,接着与含镍离子、钨酸根和硝酸根的反应溶液进行水热反应,最后在管式炉中,采用尿素作为N源进行N修饰改性即得;本发明的制备方法简单,成本低廉,通过N元素来调控催化剂的电子结构,所得氮修饰的钨酸镍纳米棒自支撑催化剂具有优异的电解海水制氢活性,同时具有优异的海水制氢稳定性,有利于电解海水制氢的广泛应用。
Resumen de: CN120719323A
本发明涉及电解催化技术领域,具体涉及CoSe2/Fe3O4复合纳米异质结构电催化剂及其制备方法和应用。CoSe2/Fe3O4复合纳米异质结构电催化剂的制备方法包括如下步骤:S1、将PB纳米管和四水合乙酸钴加入水中,搅拌得到浑浊溶液;将浑浊溶液在油浴条件下搅拌加热,然后以6000‑10000rpm的转速离心并收集沉淀物;沉淀物洗涤后调节pH为4.6‑5.4,干燥后得到Co掺杂的PB纳米管;S2、将硒粉和Co掺杂的PB纳米管分别置于管式炉的上、下游,煅烧得到CoSe2/Fe3O4复合纳米异质结构电催化剂。本发明制备方法得到的CoSe2/Fe3O4复合纳米异质结构电催化剂具有优异的电催化析氧性能。
Resumen de: CN120719340A
本申请涉及氢气的电解生产领域,提供一种水电解制氢装置控制系统,该方法包括:所述水电解制氢装置包括:用于电解产生氢气的电解槽、用于对所述电解槽提供电流的整流部件、用于向电解槽输入和输出电解液的循环液路、用于分离氢气与电解液的氢分离器以及用于分离氧气与电解液的氧分离器;所述电解槽包括多个电解小室;所述水电解制氢装置控制系统包括处理器,所述处理器用于获取所述水电解制氢装置的性能指标,并根据所述性能指标对各个电解小室的控制参数进行调节,确定存在异常的电解小室;其中,所述性能指标至少包括:温度指标、压力指标,所述温度指标为循环液路的温度,所述压力指标为电解槽的压力。
Resumen de: CN120719312A
本发明属于电催化材料技术领域,尤其涉及一种Co9S8‑C/C自支撑电催化材料及其制备方法与应用。所述Co9S8‑C/C自支撑电催化材料包括作为载体的C/C复合材料基底和均匀负载于所述C/C复合材料基底的Co9S8。本发明以C/C复合材料为载体,通过热浸渍法在载体表面生长Co9S8电催化材料。该自支撑电催化材料的制备方法极为简便,绿色无污染,原料成本低,在碱性环境中电催化活性良好,且在大电流下仍具有优异的析氢性能。
Resumen de: CN120719316A
本发明公开了一种钌原子锚定的NiCoP/NF催化剂及其制备方法与应用,属于催化技术领域,解决了现有技术中水分解反应催化剂催化效果不够理想的问题。本发明提供的钌原子锚定的NiCoP/NF催化剂,其形态为仙人掌状,钌原子以单个原子的形式均匀分散在NiCoP/NF表面。本发明使用了“单原子工程”策略,将高活性钌(Ru)以单原子形式均匀分散在双金属磷化物(NiCoP/NF)表面,显著提升了全水分解的反应活性。
Resumen de: CN120719310A
本发明提供一种膜电极结构体的制造方法。在第1层叠体提供工序(S1a)中,提供离子交换容量小于规定值的第1离聚物原料(71)与第1电极(44)层叠而成的第1层叠体(70)。在第2层叠体提供工序(S1b)中,提供离子交换容量为规定值以上的第2离聚物原料(73)与第2电极(46)层叠而成的第2层叠体(72)。在基材提供工序(S1c)中,提供电解质基材(74)。在溶胀工序(S2)中,使第1层叠体(70)、第2层叠体(72)和电解质基材(74)溶胀。在接合工序(S3)中,将电解质基材(74)与第1层叠体(70)的第1离聚物原料(71)接合,并且将电解质基材(74)与第2层叠体(72)的第2离聚物原料(73)接合。据此,能够抑制电解效率的下降和电解质膜劣化的加剧。
Resumen de: CN120714646A
一种超薄氮化碳/铁酸铋压电催化复合材料的制备方法,包括如下步骤:S1.将氮化碳前驱体放于坩埚中,在马弗炉内煅烧得到块状碳化氮,研磨后过筛;将过筛后的氮化碳细粉放入马弗炉中二次煅烧,获得超薄氮化碳;S2.将铁酸铋纳米片分散于去离子水中,加入步骤S1得到的超薄氮化碳磁力搅拌4~6h,用去离子水洗涤后干燥,得到超薄氮化碳/铁酸铋压电催化复合材料。所制得的复合材料同时具备高氧化性和还原性,在纯水中产氢的同时也可高效生产双氧水。采用两步热剥离法得到g‑C3N4,无需其他化学试剂的参与或长时间的超声,降低了价格和时间成本。
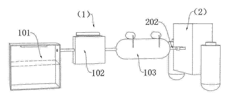
Resumen de: CN120714563A
本发明涉及一种光催化产氢装置,包括制氢组件,制氢组件包括制氢箱、氢气干燥机和气泵,且制氢箱、氢气干燥机和气泵相连通,气泵一侧设置有气阀组件,气阀组件包括气阀箱,气阀箱内部设置有阀门组件,阀门组件与气泵之间固定连接有输气管,本发明能够通过气泵吸收制氢箱产生的氢气,并排入储气罐内,同时通过阀门组件、调节组件和拉伸组件,在储气罐填满后,自动更换另一个储气罐进行注入,实现两个储气罐交替注入,提高了氢气的收集效率,另外,当两个储气罐内的氢气均充满,而工作人员依旧没有对储气罐进行拆卸更换时,通过提醒组件,能够对附近的工作人员起到提醒的作用,促使工作人员及时对储气罐进行更换。
Resumen de: CN120719306A
本发明涉及一种电解制氢用电解槽装置,包括:两组相对设置的安装机构;两组安装机构之间设有隔膜机构,并且相邻的隔膜机构反转设置;安装机构、隔膜机构之间分别密封夹设有电极机构,并且相邻的电极机构反转设置;安装机构上穿设有紧固机构。本发明的一种电解制氢用电解槽装置,渗透膜侧电极板参与电离提高产气量、防止电极板损坏渗透膜;端面上进行过液槽的加工,更为简单、方便;保留原有主极板的结构强度,增大与主极板的接触,降低接触电阻,提高安全性;优化各部件的通用性。
Resumen de: CN120717527A
本发明提供了一种可控爆炸生产纳米氧化铱的方法,涉及氧化铱的制备技术领域。本发明将碳材料与氯铱酸溶液混合,进行铱离子吸附,得到吸附浆料;所述碳材料的比表面积为300m2/g以上;所述氯铱酸溶液的溶剂为水或乙醇;将所述吸附浆料与硝酸盐混合,得到反应物浆料;将所述反应物浆料以喷雾方式喷入反应炉腔内,发生微爆炸,形成纳米氧化铱;所述反应炉腔的温度为300~500℃。相比于传统的一锅法合成方法,本发明通过连续的喷雾进料方式实现了反应的等分切割,且反应前驱体添加了高比表面积的碳材料,起到了空间阻隔作用,产物团聚得到了有效缓解,因而得到的纳米氧化铱颗粒小,且尺寸均一,电催化析氧反应活性高。
Nº publicación: CN120719331A 30/09/2025
Solicitante:
中国计量大学
Resumen de: CN120719331A
本发明涉及高熵氧化物和电催化剂合成技术领域,涉及一种双相中空高熵氧化物催化剂及其制备方法和应用,该双相中空高熵氧化物催化剂,所述双相中空高熵氧化物催化剂包含金属元素和非金属元素,其中,所述金属元素包括钌、镍、钴、铁、锰和铬;所述非金属元素为氧;所述双相中空高熵氧化物催化剂的化学式为NiCoFeMnCrRuO。该双相中空高熵氧化物催化剂具有多壳层中空结构,提供了更大的比表面积,暴露了大量的反应活性位点,使双相中空高熵氧化物催化剂拥有更低的过电位、更快的反应效率以及良好的电化学稳定性,同时该双相中空高熵氧化物催化剂的制备方法工艺简单,成本低,可重复性强,适用于工业大批量生产,具有广阔的应用前景。
