Ministerio de Industria, Turismo y Comercio LogoMinisterior
 

Alerta

Resultados 958 resultados
LastUpdate Última actualización 30/10/2025 [07:02:00]
pdfxls
Publicaciones de solicitudes de patente de los últimos 60 días/Applications published in the last 60 days
previousPage Resultados 250 a 275 de 958 nextPage  

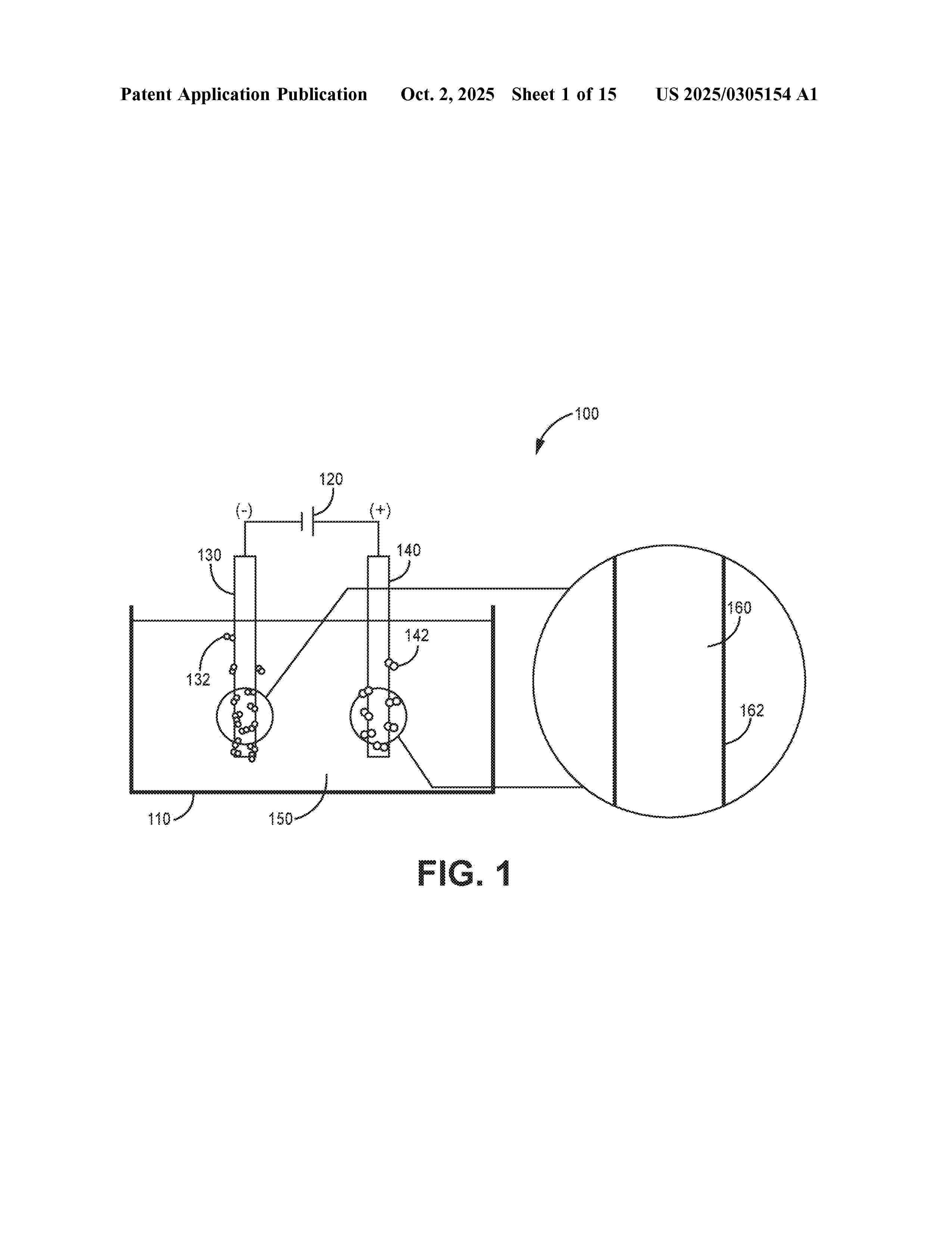
ELECTRODES FOR ELECTROCHEMICAL WATER SPLITTING

NºPublicación:  US2025305154A1 02/10/2025
Solicitante: 
UNIV KING ABDULLAH SCI & TECH [SA]
King Abdullah University of Science and Technology
US_2025305154_A1

Resumen de: US2025305154A1

An electrode composition includes one or more catalyst layers including one or more active catalytic metals and a tantalum oxide (TaxOy) support, and a substrate, wherein the one or more active catalytic metals include one or more of ruthenium, platinum, and iridium, and the one or more catalyst layers are in contact with the substrate.

ELECTROLYSER COMPRISING A MULTIPLE-JUNCTION PHOTOVOLTAIC CELL

NºPublicación:  US2025305163A1 02/10/2025
Solicitante: 
SIEMENS ENERGY GLOBAL GMBH & CO KG [DE]
Siemens Energy Global GmbH & Co. KG
WO_2023217472_PA

Resumen de: US2025305163A1

An electrolyser includes an electrolysis assembly having an electrolysis cell configured to generate an electrolysis product from a supply medium. The electrolyser has a multi-junction photovoltaic cell having multiple p-n junctions and a regulation assembly having an electric power converter configured to convert at least a part of the electrical energy generated by the multi-junction photovoltaic cell according to requirements of the electrolysis assembly so as to provide an energy supply for the electrolysis assembly.

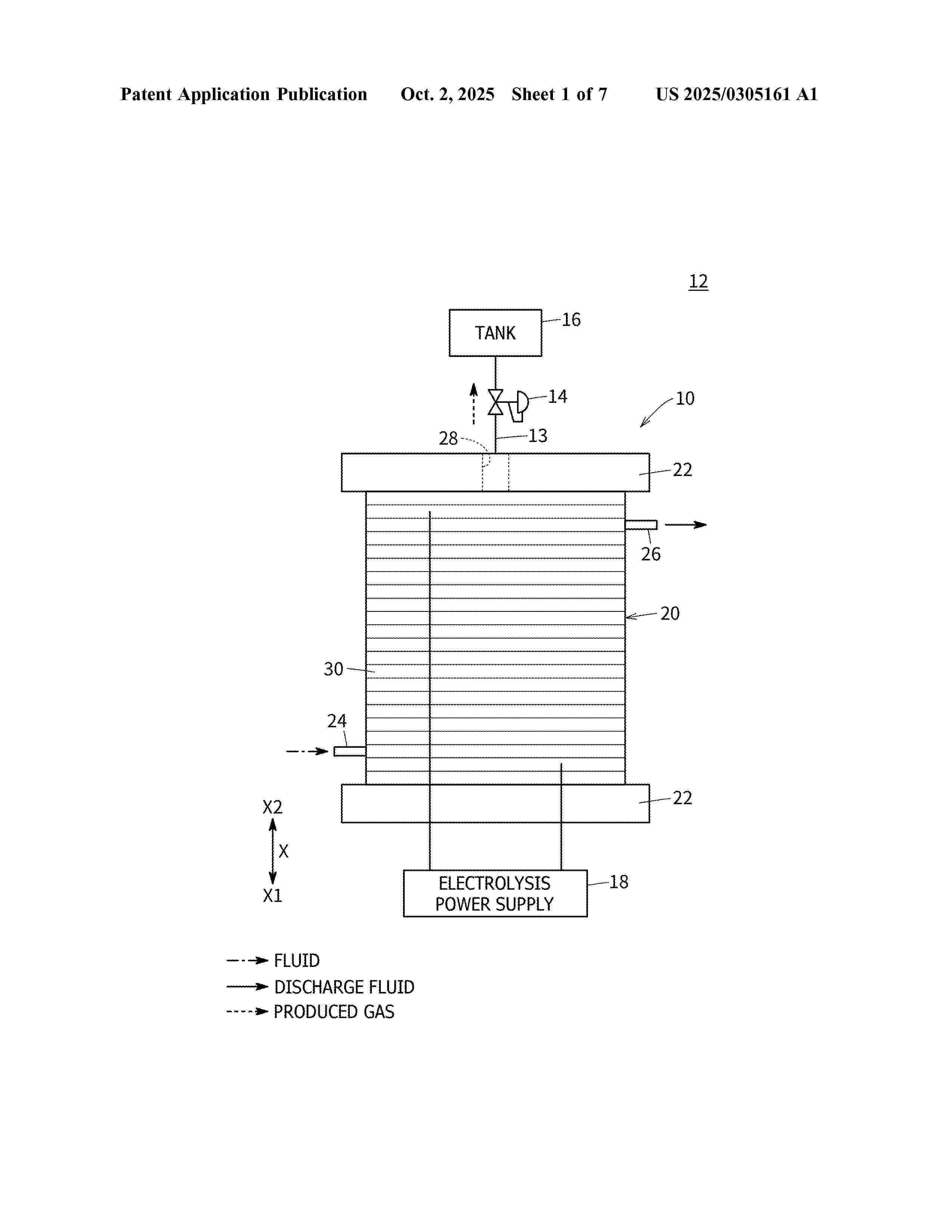
DIFFERENTIAL PRESSURE ELECTROLYSIS CELL, DIFFERENTIAL PRESSURE ELECTROLYSIS STACK, AND METHOD OF PRODUCING DIFFERENTIAL PRESSURE ELECTROLYSIS CELL

NºPublicación:  US2025305161A1 02/10/2025
Solicitante: 
HONDA MOTOR CO LTD [JP]
HONDA MOTOR CO., LTD
US_2025305161_A1

Resumen de: US2025305161A1

A differential pressure electrolysis cell for producing a gas having a higher pressure than a fluid at the second electrode by applying a voltage between a first electrode and a second electrode to electrolyze the fluid containing water and supplied to the first electrode, wherein an electrolyte membrane of the differential pressure electrolysis cell includes: a first layer facing the first electrode and having a first ion exchange capacity per unit area; and a second layer facing the second electrode and having a second ion exchange capacity per unit area, and the second ion exchange capacity is larger than the first ion exchange capacity.

Microwave-assisted Solid Oxide Electrolysis Cell (SOEC), Proton Conducting Solid Oxide Electrolysis Cell (H-SOEC), Reversible Proton Conducting Solid Oxide Electrolysis Cell (rH-SOEC) or Reversible Solid Oxide Electrolysis Cell (rSOEC) for Hydrogen Production

NºPublicación:  US2025305156A1 02/10/2025
Solicitante: 
UNITED STATES DEPT OF ENERGY [US]
United States Department of Energy

Resumen de: US2025305156A1

A method of enhancing an electrolysis reaction in a solid oxide electrolysis cell (SOEC) for hydrogen production featuring: providing a water vapor stream to a cathode chamber of a SOEC; wherein the SOEC has an cathode chamber and an anode chamber, wherein the cathode chamber contains a catalyst; and wherein the catalyst has one or more conducting oxides and one or more catalytically active materials dispersed within the conducting oxides; and applying an electromagnetic field to the SOEC with a prescribed frequency and pulse mode specific to interactions of the catalyst and the electromagnetic field with the SOEC; and applying a DC bias to the SOEC, resulting in production of some amount of hydrogen from the water vapor stream in the cathode chamber of the SOEC.

POWER SUPPLY SYSTEM, METHOD FOR CONSTRUCTING A POWER SUPPLY SYSTEM AND USE OF THE POWER SUPPLY SYSTEM

NºPublicación:  US2025309411A1 02/10/2025
Solicitante: 
WILO SE [DE]
WILO SE
AU_2023274395_PA

Resumen de: US2025309411A1

The invention relates to a power supply system comprising a modular combination of a hydrogen generation unit, a hydrogen usage unit and a control or regulation unit for controlling or regulating the operation of the hydrogen generation unit and the hydrogen usage unit.

OXYGEN ELECTRODE FOR SOLID OXIDE ELECTROLYSIS CELL AND METHOD OF MANUFACTURING THE SAME

NºPublicación:  US2025305165A1 02/10/2025
Solicitante: 
HYUNDAI MOTOR CO LTD [KR]
KIA CORP [KR]
KOREA INST SCI & TECH [KR]
Hyundai Motor Company,
Kia Corporation,
Korea Institute of Science and Technology
US_2025305165_A1

Resumen de: US2025305165A1

The present disclosure relates to an oxygen electrode for solid oxide electrolysis cell and a method of manufacturing the same.

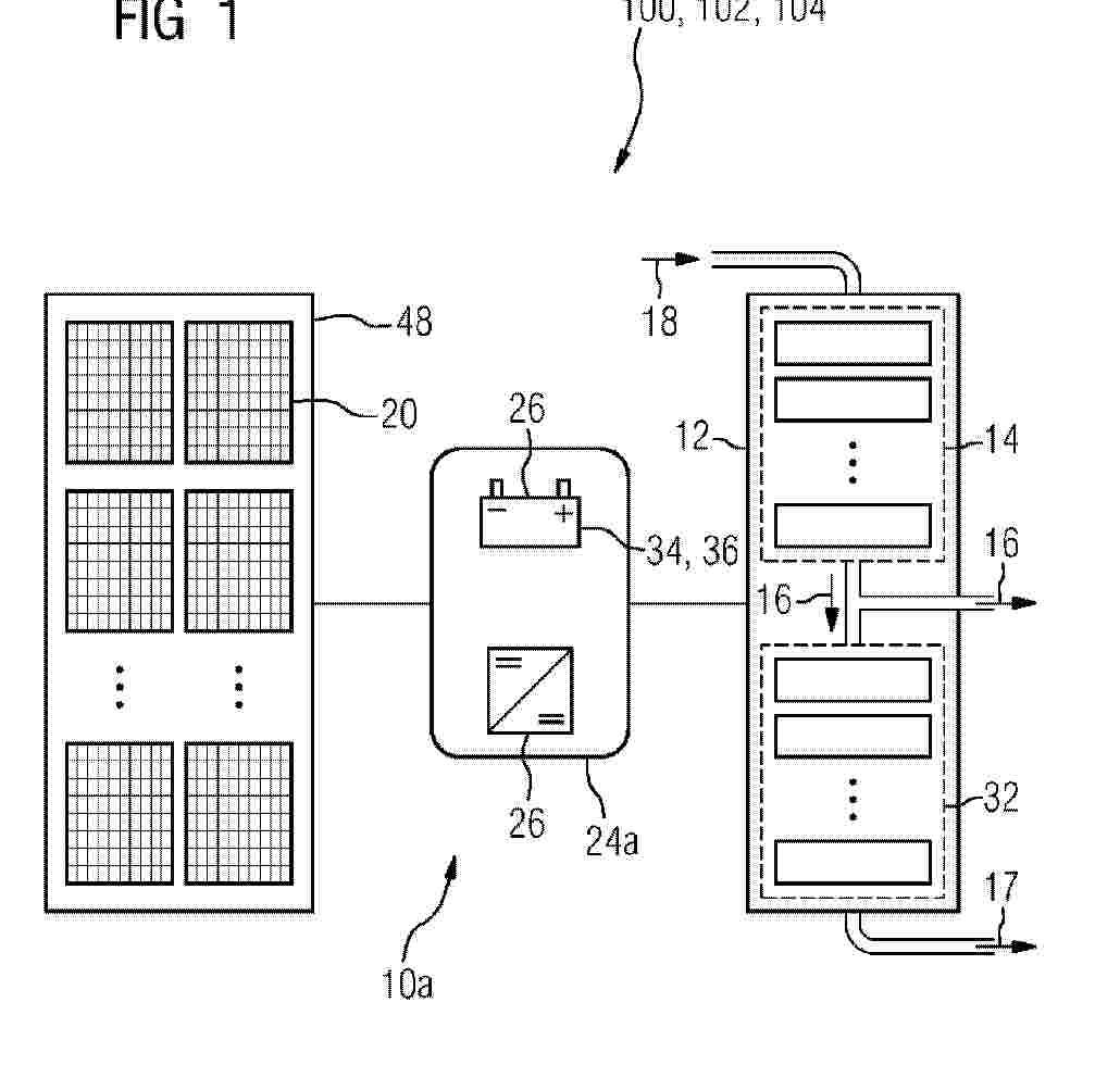
Electrochemical reaction device and method of operating electrochemical reaction device

NºPublicación:  AU2025201297A1 02/10/2025
Solicitante: 
KK TOSHIBA
Kabushiki Kaisha Toshiba
AU_2025201297_A1

Resumen de: AU2025201297A1

An electrochemical reaction device includes: an electrochemical reaction structure including a cathode to reduce carbon dioxide to produce a carbon compound, an anode to oxidize water to produce oxygen, a diaphragm therebetween, a cathode flow path on the 5 cathode, and an anode flow path on the anode; a first flow path through which a first fluid to the cathode flow path flows; a second flow path through which a second fluid to the anode flow path flows; a third flow path through which a third fluid from the cathode flow path flows; a fourth flow path through which a fourth fluid from the anode flow path flows; and a gas-liquid separator in or on the anode flow path and to separate a gas containing the 10 oxygen from a fifth fluid containing the water and the oxygen through the anode flow path. An electrochemical reaction device includes: an electrochemical reaction structure including a cathode to reduce carbon dioxide to produce a carbon compound, an anode to 5 oxidize water to produce oxygen, a diaphragm therebetween, a cathode flow path on the cathode, and an anode flow path on the anode; a first flow path through which a first fluid to the cathode flow path flows; a second flow path through which a second fluid to the anode flow path flows; a third flow path through which a third fluid from the cathode flow path flows; a fourth flow path through which a fourth fluid from the anode flow path flows; 10 and a gas-liquid separator in or on the anode flow path and to separat

HYDROGEN GENERATION VIA HIGH FLUID VELOCITY ELECTROLYSIS AND GAS SEPARATION

NºPublicación:  AU2024286612A1 02/10/2025
Solicitante: 
EVOQUA WATER TECH LLC
EVOQUA WATER TECHNOLOGIES LLC
AU_2024286612_PA

Resumen de: AU2024286612A1

Disclosed are a system and method for the generation of hydrogen from a source of liquid comprising water. The system comprises a high fluid velocity electrolyzer comprising an inlet and an outlet, the inlet of the high fluid velocity electrolyzer fluidly connected to the source of liquid, and a gas fractionation system fluidly connected to the outlet of the high fluid velocity electrolyzer.

HYDROGEN GAS GENERATION SYSTEM

NºPublicación:  AU2024245597A1 02/10/2025
Solicitante: 
THE REGENTS OF THE UNIV OF CALIFORNIA
THE REGENTS OF THE UNIVERSITY OF CALIFORNIA
AU_2024245597_PA

Resumen de: AU2024245597A1

A hydrogen gas production system includes a first electrode having an electrocatalyst, a second electrode having an electron donor material including a plurality of active sites, the second electrode being structured to release electrons from the active sites in a predetermined operating potential range lower than an operating potential triggering oxygen evolution reaction; a first electrolyte in contact with the first and second electrodes, the electrolyte being a source of hydrogen protons; and a power source structured to provide the predetermined operating potential range to the system for the release and transfer of the electrons from the second electrode to the first electrode such that the hydrogen protons combine with the electrons to generate hydrogen gas.

Vorrichtung und Verfahren zur Herstellung von Wasserstoff

NºPublicación:  DE102024108849A1 02/10/2025
Solicitante: 
DOEPKE NILS [DE]
D\u00F6pke, Nils
DE_102024108849_PA

Resumen de: DE102024108849A1

Die Erfindung betrifft eine Vorrichtung zur Herstellung von Wasserstoff mittels eines Elektrolyseurs (1), wobei dem Elektrolyseur (1) Wasser aus einer Wassererzeugungsvorrichtung (6) zugeführt wird, wobei die Wassererzeugungsvorrichtung (6) Mittel zum Entziehen und Verflüssigen der Feuchtigkeit der Umgebungsluft (5), insbesondere in Form eines Wärmetauschers der die Feuchtigkeit der Umgebungsluft kondensieren lässt, aufweist, wobei die Energie der Abwärme (2) des Elektrolyseurs (1) der Umgebungsluft (5) vor dem Feuchtigkeitsentzug zugeführt wird, um diese zu erwärmen.

Anordnung elektrochemischer Zellen und Verfahren zum Betrieb eines Stapels elektrochemischer Zellen

NºPublicación:  DE102024108733A1 02/10/2025
Solicitante: 
SCHAEFFLER TECHNOLOGIES AG [DE]
Schaeffler Technologies AG & Co. KG
DE_102024108733_PA

Resumen de: DE102024108733A1

Eine Anordnung (1) elektrochemischer Zellen (2), insbesondere Elektrolysezellen, umfasst eine mehrere, jeweils in einem Zylinder (15, 16) geführte Kolben (18) aufweisende hydraulische Kompressionsvorrichtung (7), welche zur Ausübung einer Druckkraft auf die gestapelten Zellen (2) ausgebildet ist. Die Zylinder (15, 16) sind durch mindestens eine zum Druckausgleich vorgesehene Querverbindung (12, 13) miteinander verbunden.

ARRANGEMENT OF ELECTROCHEMICAL CELLS AND METHOD OF OPERATING A STACK OF ELECTROCHEMICAL CELLS

NºPublicación:  WO2025201590A1 02/10/2025
Solicitante: 
SCHAEFFLER TECHNOLOGIES AG [DE]
SCHAEFFLER TECHNOLOGIES AG & CO. KG
DE_102024108733_PA

Resumen de: WO2025201590A1

An arrangement (1) of electrochemical cells (2), in particular electrolysis cells, comprises a hydraulic compression device (7) which has a plurality of pistons (18) each guided within a cylinder (15, 16) and which is designed to exert a compressive force on the stacked cells (2). The cylinders (15, 16) are connected to one another by at least one transverse connection (12, 13) provided for pressure equalization.

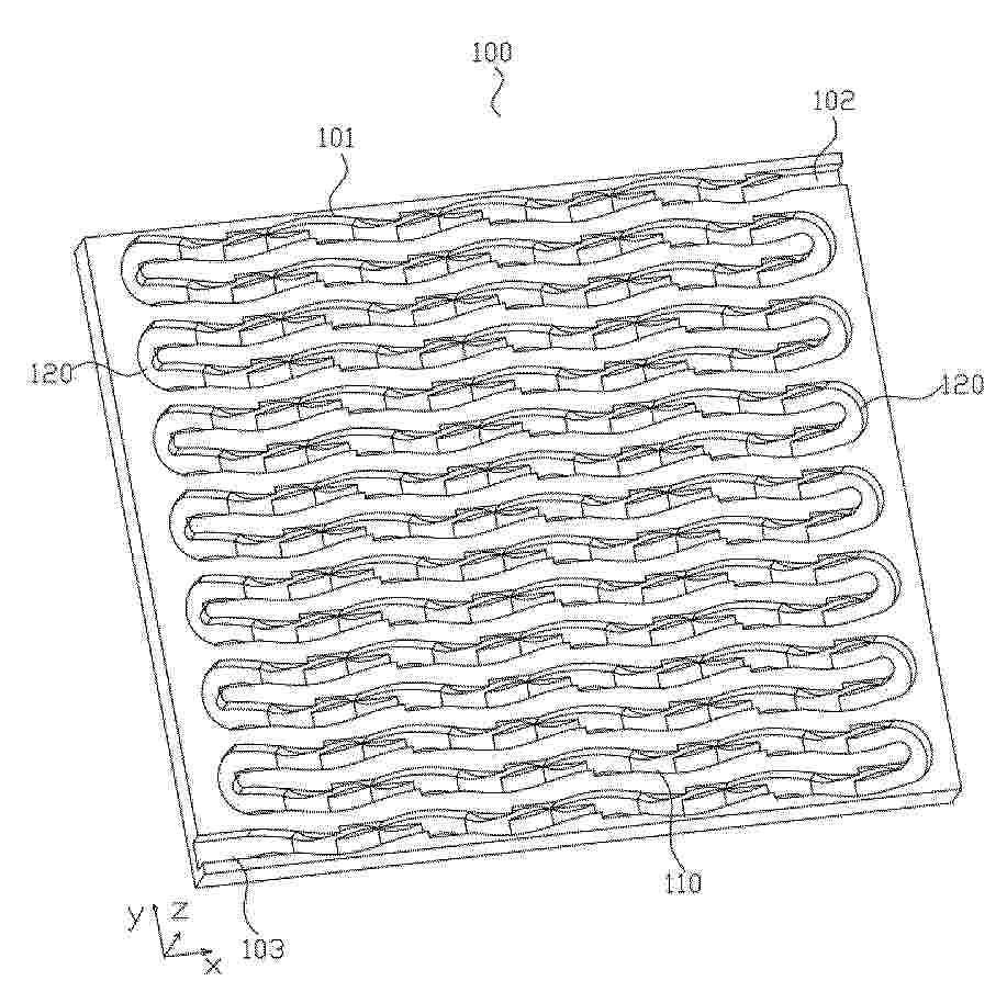
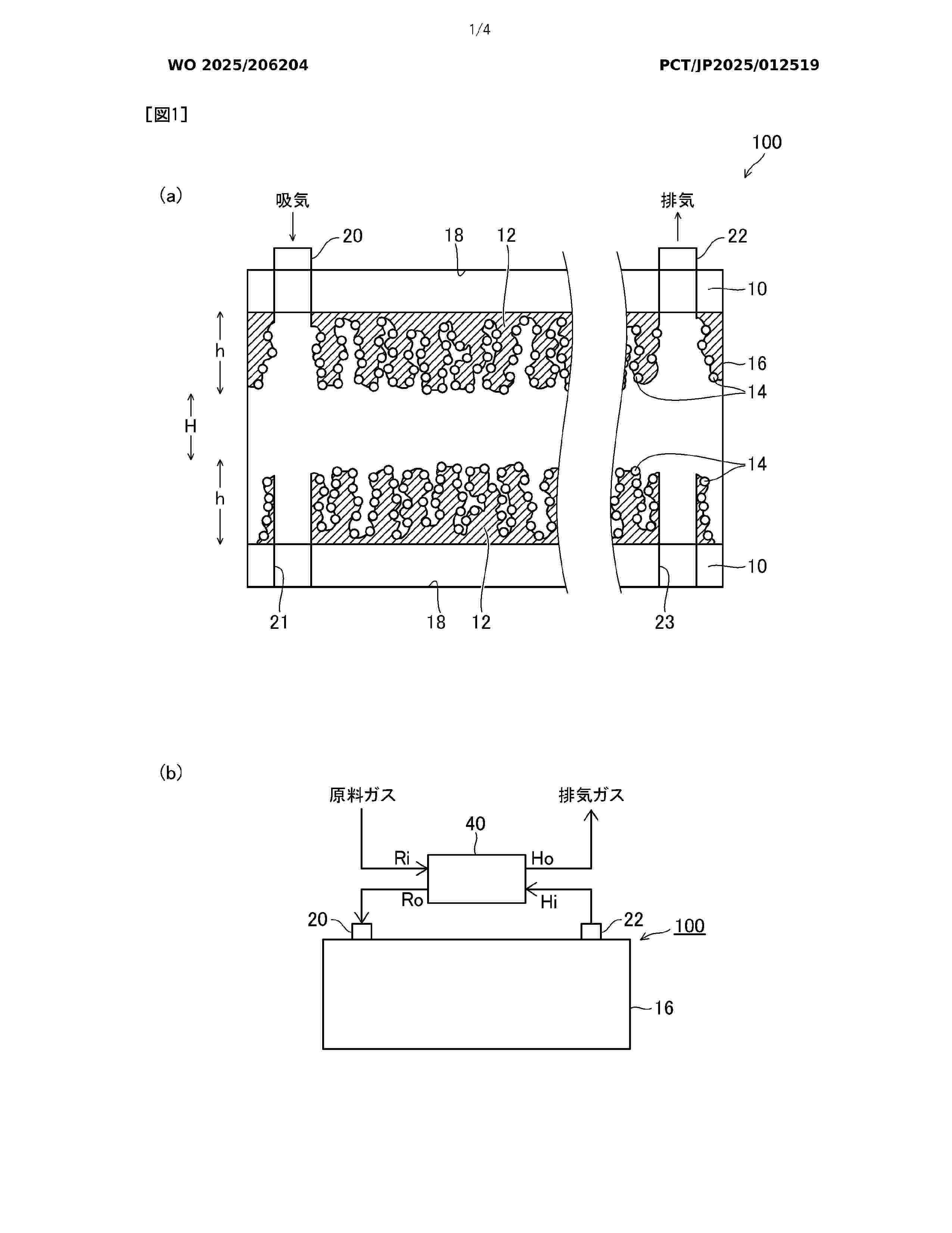
GASEOUS-SUBSTANCE PYROLYSIS APPARATUS AND GASEOUS-SUBSTANCE PYROLYSIS APPARATUS STACK

NºPublicación:  WO2025206204A1 02/10/2025
Solicitante: 
UNIV TOKYO [JP]
TOCALO CO LTD [JP]
NIKKI UNIVERSAL CO LTD [JP]
\u56FD\u7ACB\u5927\u5B66\u6CD5\u4EBA\u3000\u6771\u4EAC\u5927\u5B66,
\u30C8\u30FC\u30AB\u30ED\u682A\u5F0F\u4F1A\u793E,
\u65E5\u63EE\u30E6\u30CB\u30D0\u30FC\u30B5\u30EB\u682A\u5F0F\u4F1A\u793E
WO_2025206204_A1

Resumen de: WO2025206204A1

Problem To provide a gaseous-substance pyrolysis apparatus and a gaseous-substance pyrolysis apparatus stack that have high heat transfer efficiency, high temperature controllability in a catalyst layer, low pressure loss, a small size, and a low heat capacity. Solution A gaseous-substance pyrolysis apparatus 100 comprises: a heat transfer substrate structure 10; a spray catalyst carrier 12 formed on one main surface of the heat transfer substrate structure 10; a catalyst material 14 supported by the spray catalyst carrier 12, the catalyst material 14 breaking down at least some of a gaseous substance using heat energy from the heat transfer substrate structure 10; and a casing 16 covering the heat transfer substrate structure 10, the spray catalyst carrier 12, and the catalyst material 14, the casing 16 forming a space through which the gaseous substance passes. Additionally, this gaseous-substance pyrolysis apparatus stack is formed by stacking a plurality of layers of the aforementioned gaseous substance pyrolysis apparatus 100.

SEPARATOR FOR HYDROGEN PRODUCTION, ALKALINE WATER ELECTROLYSIS MEMBER USING SAME, ALKALINE WATER ELECTROLYSIS CELL USING SAME, ALKALINE WATER ELECTROLYSIS DEVICE USING SAME, METHOD FOR PRODUCING HYDROGEN USING SAME, AND METHOD FOR PRODUCING SEPARATOR FOR HYDROGEN PRODUCTION

NºPublicación:  WO2025205502A1 02/10/2025
Solicitante: 
FUJIFILM CORP [JP]
\u5BCC\u58EB\u30D5\u30A4\u30EB\u30E0\u682A\u5F0F\u4F1A\u793E

Resumen de: WO2025205502A1

Provided are: a separator for hydrogen production, the separator containing a woven fabric support and a porous material that contains an organic polymer, wherein the calender ratio of the woven fabric support calculated by the formula below is 73% or less; an alkaline water electrolysis member, an alkaline water electrolysis cell, an alkaline water electrolysis device, and a method for producing hydrogen, each using the same; and a method for producing a separator for hydrogen production. Calender ratio = (d2/(2 × d1)) × 100% In the formula, d1 represents the fiber diameter of the woven fabric support, and d2 represents the thickness of the woven fabric support.

POROUS SEPARATOR FOR ALKALINE WATER ELECTROLYSIS, ALKALINE WATER ELECTROLYSIS MEMBER USING SAME, ALKALINE WATER ELECTROLYSIS CELL, ALKALINE WATER ELECTROLYSIS DEVICE, AND HYDROGEN PRODUCTION METHOD

NºPublicación:  WO2025205501A1 02/10/2025
Solicitante: 
FUJIFILM CORP [JP]
\u5BCC\u58EB\u30D5\u30A4\u30EB\u30E0\u682A\u5F0F\u4F1A\u793E

Resumen de: WO2025205501A1

Provided are: a porous separator which is for alkaline water electrolysis and satisfies <Condition I> below; an alkaline water electrolysis member using the same; an alkaline water electrolysis cell; an alkaline water electrolysis device; and a hydrogen production method. <Condition I> The porous separator for alkaline water electrolysis has a thickness unevenness of 15% or less, obtained by immersing the separator in a 90°C 7 mol/L KOH aqueous solution and treating the separator under a pressurizing condition of 5 MPa for 60 minutes.

CELL STACK AND HYDROGEN PRODUCTION DEVICE

NºPublicación:  WO2025203852A1 02/10/2025
Solicitante: 
SUMITOMO ELECTRIC IND LTD [JP]
\u4F4F\u53CB\u96FB\u6C17\u5DE5\u696D\u682A\u5F0F\u4F1A\u793E

Resumen de: WO2025203852A1

A cell stack according to the present invention is to be provided to a hydrogen production device and comprises: a layered body that includes a plurality of electrolysis cells; a first end plate and a second end plate that are provided on respective sides of the layered body; and a fastening mechanism that fastens the first end plate and the second end plate toward each other. The fastening mechanism has an elastic member that presses the first end plate toward the second end plate. Each of the plurality of electrolysis cells has: an anode, anion exchange membrane, and cathode set; and separators that are provided on respective sides of the set. The separators have an electroconductive plate and a frame body that supports an outer peripheral edge part of the electroconductive plate. The frame body is made of resin.

SEPARATOR, ELECTROLYTIC CELL, CELL STACK, AND HYDROGEN PRODUCTION DEVICE

NºPublicación:  WO2025203851A1 02/10/2025
Solicitante: 
SUMITOMO ELECTRIC IND LTD [JP]
\u4F4F\u53CB\u96FB\u6C17\u5DE5\u696D\u682A\u5F0F\u4F1A\u793E

Resumen de: WO2025203851A1

This separator is used in an electrolytic cell provided with an anion exchange membrane. The separator is provided with a conductive plate and a frame body that supports the outer peripheral edge of the conductive plate. The frame body is composed of a resin material that is an electrically insulating material. The frame body includes: a supply manifold that is a supply port for an electrolytic solution; and a supply slit that connects the supply manifold and the inner peripheral edge of the frame body. The electrical resistance value of the supply slit is between 50Ω and 1000Ω inclusive. The electrical resistance value is obtained by dividing a value, which is obtained by dividing the length of the supply slit by the cross-sectional area of the supply slit, by the conductivity of the electrolytic solution flowing through the supply slit.

CELL STACK AND HYDROGEN PRODUCTION DEVICE

NºPublicación:  WO2025203850A1 02/10/2025
Solicitante: 
SUMITOMO ELECTRIC IND LTD [JP]
\u4F4F\u53CB\u96FB\u6C17\u5DE5\u696D\u682A\u5F0F\u4F1A\u793E

Resumen de: WO2025203850A1

This cell stack is provided to a hydrogen production device. The cell stack comprises a plurality of sub-stacks. Each of the plurality of sub-stacks comprises: a laminate in which a plurality of electrolytic cells are laminated; and current collector plates which are respectively disposed on two sides of the laminate. Each of the plurality of electrolytic cells has an anode, an ion exchange membrane, and a cathode.

ELECTROCHEMICAL CELL, SOLID OXIDE ELECTROLYSIS CELL, CELL STACK, HOT MODULE, AND HYDROGEN PRODUCTION DEVICE

NºPublicación:  WO2025205637A1 02/10/2025
Solicitante: 
NITERRA CO LTD [JP]
\u65E5\u672C\u7279\u6B8A\u9676\u696D\u682A\u5F0F\u4F1A\u793E

Resumen de: WO2025205637A1

According to the present invention, an electrolysis cell 21 that serves as an electrochemical cell comprises: a solid electrolyte layer 211; a fuel electrode layer 213 which is superposed on the rear surface 211A side of the solid electrolyte layer 211 and contains Ni and Fe; and an air electrode layer 212 which is superposed on the upper surface 211B side of the solid electrolyte layer 211. The fuel electrode layer 213 is composed of a first layer 213F and a second layer 213S. The first layer 213F and the second layer 213S are constituted in the order of the first layer 213F and the second layer 213S from the side close to the rear surface 211A of the solid electrolyte layer 211. The concentration of Fe contained in the first layer 213F is 0.10 wt% or more and 0.80 wt% or less, and the concentration of Fe contained in the second layer 213S is less than 0.10 wt%.

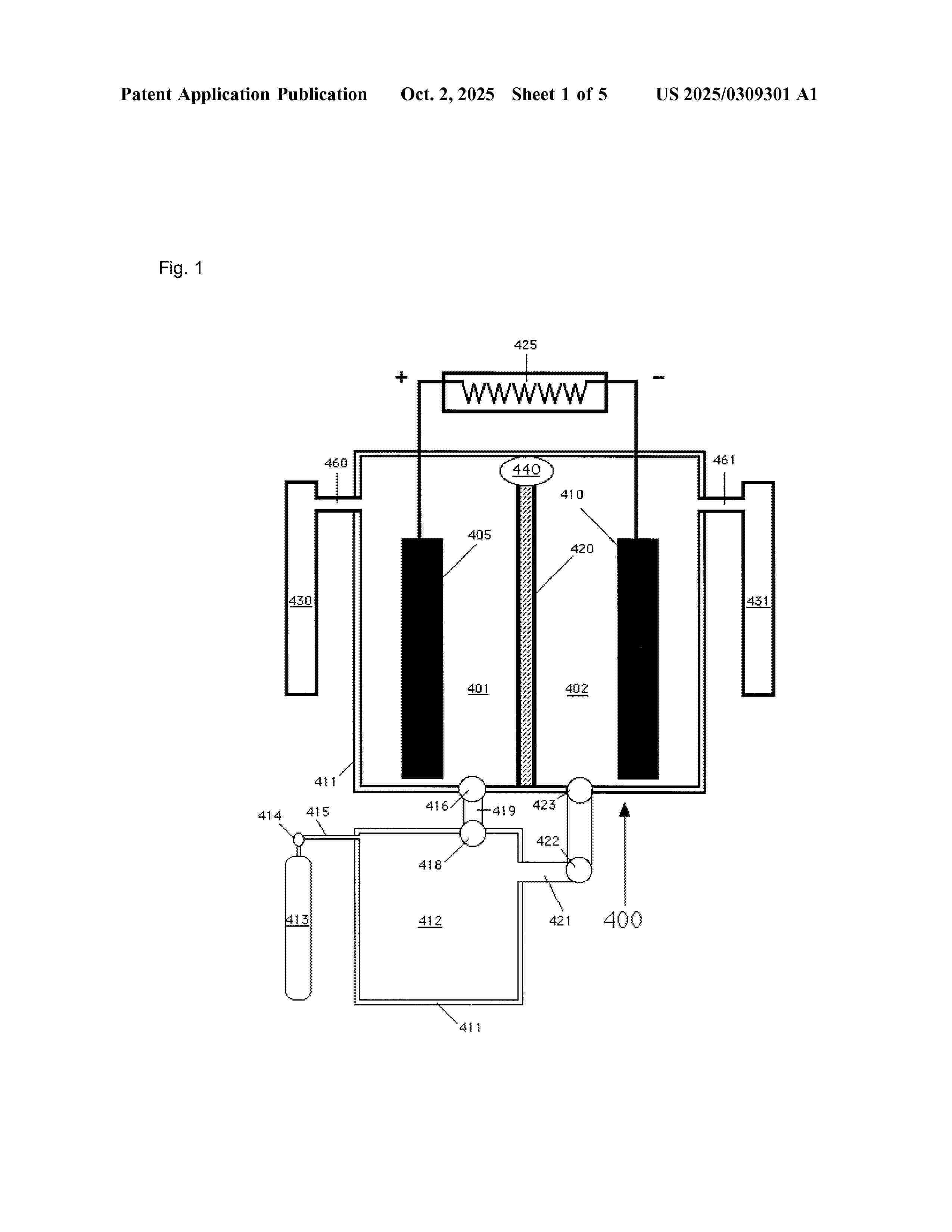
Water Forming Reaction Mixtures

NºPublicación:  US2025309301A1 02/10/2025
Solicitante: 
BRILLIANT LIGHT POWER INC [US]
Brilliant Light Power, Inc
US_2025309301_A1

Resumen de: US2025309301A1

An electrochemical power system is provided that generates an electromotive force (EMF) from the catalytic reaction of hydrogen to lower energy (hydrino) states providing direct conversion of the energy released from the hydrino reaction into electricity, the system comprising at least two components chosen from: H2O catalyst or a source of H2O catalyst; atomic hydrogen or a source of atomic hydrogen; reactants to form the H2O catalyst or source of H2O catalyst and atomic hydrogen or source of atomic hydrogen; and one or more reactants to initiate the catalysis of atomic hydrogen. The electrochemical power system for forming hydrinos and electricity can further comprise a cathode compartment comprising a cathode, an anode compartment comprising an anode, optionally a salt bridge, reactants that constitute hydrino reactants during cell operation with separate electron flow and ion mass transport, and a source of hydrogen. Due to oxidation-reduction cell half reactions, the hydrino-producing reaction mixture is constituted with the migration of electrons through an external circuit and ion mass transport through a separate path such as the electrolyte to complete an electrical circuit. A power source and hydride reactor is further provided that powers a power system comprising (i) a reaction cell for the catalysis of atomic hydrogen to form hydrinos, (ii) a chemical fuel mixture comprising at least two components chosen from: a source of H2O catalyst or H2O catalyst; a source o

METHOD OF PRODUCING GREEN HYDROGEN FROM PYRITE RECOVERED FROM MINE WASTE

NºPublicación:  AU2024222225A1 02/10/2025
Solicitante: 
H2 SPHERE GMBH
H2-SPHERE GMBH
AU_2024222225_PA

Resumen de: WO2024170774A1

The present invention relates to a method of producing green hydrogen and associated products from pyrite separated from mine waste (e.g., disposed tailings or active tailings streams) in an energetically self-sustained process. This is achieved by a method according to the present invention comprising the following steps: (a) separation and enrichment of a mine waste material comprising pyrite to obtain a pyrite concentrate, (b) oxidation of the pyrite concentrate to obtain SO2 gas; (c) separation of the SO2 gas; (d) utilization of SO2 gas from step (c) to generate H2 gas and H2SO4 via a SO2-depolarized electrolyzer (SDE) process or a sulfur-iodine-cycle (S-I-cycle) process.

TRIFUNCTIONAL GRAPHENE-SANDWICHED HETEROJUNCTION-EMBEDDED LAYERED LATTICE CATALYST WITH HIGH ACTIVITY AND STABILITY FOR ZN-AIR BATTERY-DRIVEN WATER SPLITTING

NºPublicación:  US2025309278A1 02/10/2025
Solicitante: 
KOREA ADVANCED INSTITUTE OF SCIENCE AND TECH [KR]
KOREA ADVANCED INSTITUTE OF SCIENCE AND TECHNOLOGY
US_2025309278_A1

Resumen de: US2025309278A1

The present disclosure relates to a trifunctional catalyst, a method of the trifunctional catalyst, and a water splitting system using the trifunctional catalyst. The water splitting system according to embodiments of the present disclosure can be applied to energy storage and conversion by using characteristics of three types of catalytic reactions (oxygen evolution reaction (OER), oxygen reduction reaction (ORR), and hydrogen evolution reaction HER)) and can serve as a self-powered clean hydrogen production system at the same time.

Electrolytic Unit and Electrolytic Stack

NºPublicación:  US2025305162A1 02/10/2025
Solicitante: 
ROBERT BOSCH GMBH [DE]
Robert Bosch GmbH
US_2025305162_A1

Resumen de: US2025305162A1

An electrolytic unit includes (i) a plate having a first side and a second side opposite each other, the first side being an anode side, and the second side being a cathode side, (ii) an anode porous transport layer and a cathode porous transport layer respectively disposed at the first side and the second side, (iii) an exchange membrane, (iv) an anode catalyst layer and a cathode catalyst layer respectively disposed at two sides of the exchange membrane, (v) an anode gas diffusion electrode positioned on the anode catalyst layer, and (vi) a cathode gas diffusion electrode positioned on the cathode catalyst layer. The cathode porous transport layer, the plate, and the anode porous transport layer are formed as an integral mechanical portion, and the anode gas diffusion electrode, the anode catalyst layer, the exchange membrane, the cathode catalyst layer and the cathode gas diffusion electrode are formed as an integral electrochemical portion. Also provided is an electrolytic stack the includes the electrolytic unit described above. By way of the above, the assembly and maintenance of the electrolytic unit and the electrolytic stack are facilitated.

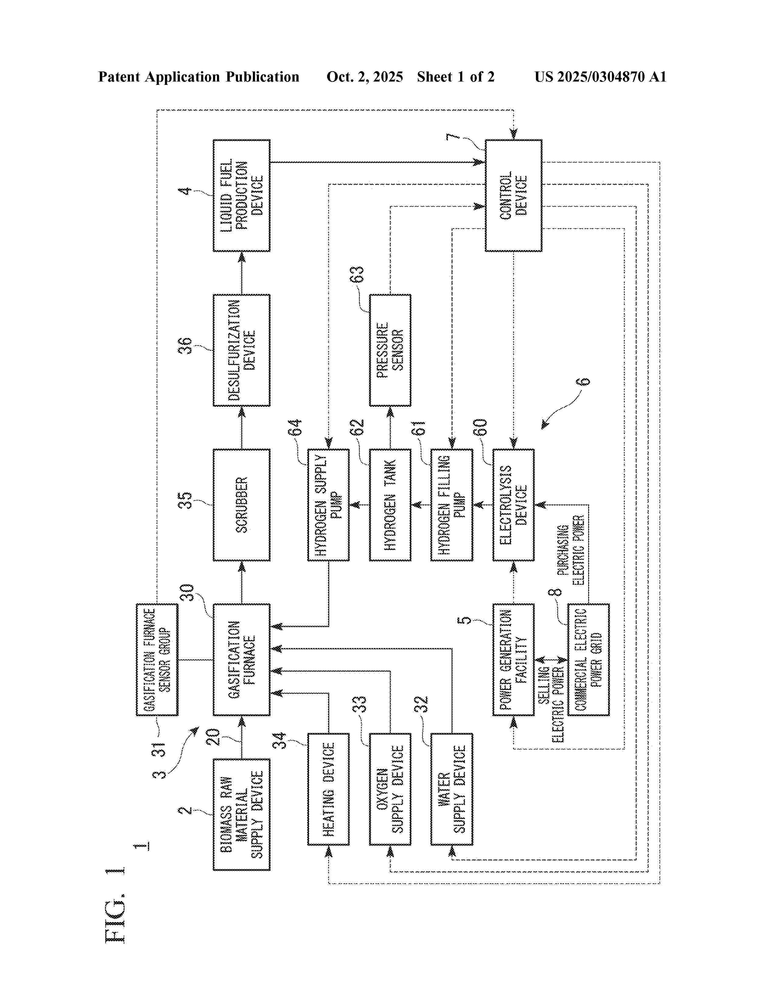
LIQUID FUEL MANUFACTURING SYSTEM AND LIQUID FUEL MANUFACTURING METHOD

NºPublicación:  US2025304870A1 02/10/2025
Solicitante: 
HONDA MOTOR CO LTD [JP]
HONDA MOTOR CO., LTD
US_2025304870_A1

Resumen de: US2025304870A1

A liquid fuel manufacturing system and a liquid fuel manufacturing method which can be operated under conditions that fuel manufacturing costs are minimized at all times are provided. A liquid fuel manufacturing system 1 includes a gasification furnace producing synthesis gas from a biomass raw material, an electrolysis apparatus producing hydrogen from water by means of electricity generated using renewable energy, a liquid fuel manufacturing apparatus manufacturing liquid fuel with synthesis gas generated by the gasification furnace and hydrogen produced by the electrolysis apparatus as raw materials, and a control device controlling the gasification furnace and the electrolysis apparatus. The control device has a cost calculation means for calculating fuel manufacturing costs, a comparison means for comparing current fuel manufacturing costs with the fuel manufacturing costs when there is no supply of hydrogen, a hydrogen supply amount adjustment means for adjusting the amount of supplied hydrogen on the basis of comparison results of the comparison means, an H2/CO ratio calculation means for calculating an H2/CO ratio, and an H2/CO ratio adjustment means for adjusting the H2/CO ratio.

PROCESS FOR MAKING ETHANOLAMINES, POLYETHYLENIMINE AND AMMONIA BASED ON NON-FOSSIL ENERGY

Nº publicación: US2025304527A1 02/10/2025

Solicitante:

BASF SE [DE]
BASF SE

US_2025304527_A1

Resumen de: US2025304527A1

Ethanolamines, polyethylenimine and ammonia having a low molar share of deuterium, a process for making ethanolamines, polyethylenimine and ammonia based on non-fossil energy, the use of the molar share of deuterium in hydrogen and downstream compounds based on hydrogen for tracing the origin of preparation of hydrogen and downstream compounds based on hydrogen, and a process for tracing the origin of preparation of hydrogen and downstream compounds based on hydrogen by determining the molar share of deuterium in hydrogen and said downstream compounds based on hydrogen, applications of the polyethylenimine and the use of the polyethylenimine, and the use of the ethanolamines, preferably monoethanolamine and/or diethanolamine, or the polyethylenimine as liquid or solid CO2 absorbents in CO2 capturing processes.

traducir