Ministerio de Industria, Turismo y Comercio LogoMinisterior
 

Alerta

Resultados 117 resultados
LastUpdate Última actualización 09/01/2026 [07:21:00]
pdfxls
Solicitudes publicadas en los últimos 30 días / Applications published in the last 30 days
previousPage Resultados 75 a 100 de 117 nextPage  

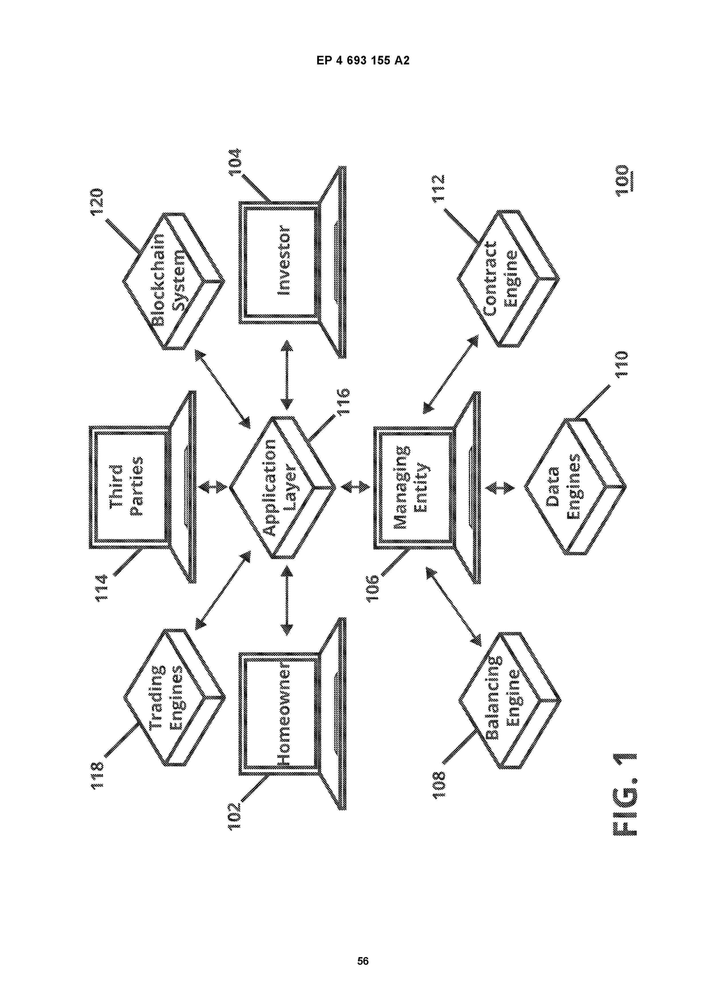
METHOD AND SYSTEM FOR FACILITATING A SECURE TRANSFER OF ASSETS

NºPublicación:  US2025384427A1 18/12/2025
Solicitante: 
CONCEPT TECH AG [CH]
CONCEPT TECHNOLOGY AG
CN_120693838_PA

Resumen de: US2025384427A1

A computer implemented method, devices, and a system is disclosed for facilitating a secure transfer of cryptocurrency between two Blockchain platforms (C1, C2), the method comprising monitoring the first Blockchain platform (C1), by a computerized channel relay server (1), for a transaction directed to a particular smart contract on the first Blockchain platform (C1), verifying whether the transaction has been confirmed, and transmitting transaction confirmation information to the second Blockchain platform (C2), such that the cryptocurrency is made available on the second Blockchain platform (C2).

PROACTIVE IN-VEHICLE PAYMENT SYSTEM USING SENSOR DATA WITH MACHINE LEARNING

NºPublicación:  US2025384410A1 18/12/2025
Solicitante: 
CAR IQ INC [US]
Car IQ Inc

Resumen de: US2025384410A1

Aspects of the present disclosure describe a system comprising a processor and memory storing instructions, which when executed by the processor, enable the system to detect a payment-related event using vehicle sensors, such as a camera or GPS unit. The detection can involve a machine learning model trained to recognize objects associated with the payment-related event while minimizing false positives. Upon detecting the event, the system can handle the electronic payment by utilizing an in-vehicle digital wallet to execute the payment and recording the transaction on a blockchain-based ledger.

CRYPTOCURRENCY HARDWARE WALLET ON MONOLITHIC CHIP WITH COMMON PHYSICAL COUNTERMEASURES AND SECURE MEMORY

NºPublicación:  US2025384433A1 18/12/2025
Solicitante: 
CROSSBAR INC [US]
Crossbar, Inc
KR_20250108523_PA

Resumen de: US2025384433A1

An electronic hardware wallet for conducting cryptocurrency transactions, blockchain transactions, or other secure communications is embodied on a monolithic integrated circuit (IC) die supported on a single substrate. The monolithic semiconductor device can include a non-volatile data store for storing application software executable by the multi-core processor, and the secure element can include a secure data store for storing secret data (e.g., a private key) for use in a secure electronic transaction. In some embodiments, the secure element can include hardware logic embodying a cryptocurrency algorithm associated with executing the secure electronic transaction and can have a limited and selective communication bus between the secure element and the multi-core processor. The electronic hardware wallet can communicatively couple with one or more other devices to facilitate a multi-party computation (MPC) algorithm for authenticating the cryptocurrency algorithm and validating the secure electronic transaction.

PROTOCOLS FOR GAME-THEORETICALLY-FAIR OPERATOR ELECTION IN BLOCKCHAIN SETTINGS

NºPublicación:  US2025384110A1 18/12/2025
Solicitante: 
NTT RES INC [US]
NTT Research, Inc
WO_2023250424_PA

Resumen de: US2025384110A1

The disclosure relates to storing blockchain blocks committed to a blockchain based on a committee selection protocol executed in the presence of majority-sized coalitions while achieving a meaningful fairness guarantee in a small number of rounds, and whose round complexity is less than log log n, and storing a new block to the blockchain based on a protocol executed by the nodes of the next committee.

Portable Access Point for Secure User Information Using a Blockchain Backed Credential

NºPublicación:  US2025385915A1 18/12/2025
Solicitante: 
ORACLE INT CORPORATION [US]
Oracle International Corporation
US_2024126922_PA

Resumen de: US2025385915A1

Embodiments dynamically generate a portable access point. Embodiments display an interface via a user device, where a user provides selection input via the interface that defines a scope definition with respect to a user's secure information. Embodiments dynamically generate a display, via the user device, of a portable access point configured by the selection input, where the generated portable access point display includes encoded information that represents the scope definition and a vetted entity system, associated with a vetted entity, configured to scan the portable access point displayed via the user device and obtain a blockchain credential from a secure information manager based on the scanning. The credential includes access privileges that correspond to the scope definitions, and the vetted entity system is permitted scope limited access to the user's secure information via the obtained blockchain credential and the secure information manager.

DISTRIBUTED LEDGER NETWORK ARCHITECTURE

NºPublicación:  US2025384513A1 18/12/2025
Solicitante: 
SHUMIKHIN MICHAEL [US]
Shumikhin Michael

Resumen de: US2025384513A1

Techniques of the disclosure herein relate to a gambling architecture that may occur at least in part on a distributed ledger network (i.e., blockchain). In some instances, a gambling system or method may receive from a user (e.g., a bettor) a wager placed on a game. A smart contract stored on a node of a distributed ledger network may determine a return amount by sending a request to an off-network application (e.g., an oracle), which may return a value that is used to determine a multiplier (e.g., by mapping the value to a function/set of possible return multipliers). Based on the multiplier and the wager, the return amount may be determined. At or before the terms of the smart contract execute, game characteristics of the first game may display the return amount to the user, and a currency balance associated with the user may be updated.

PATENT LICENSING METHOD UTILIZING A DISTRIBUTED LEDGER INFRASTRUCTURE

NºPublicación:  US2025384502A1 18/12/2025
Solicitante: 
CAERUS INST LLC [US]
Caerus Institute LLC
US_2025378515_A1

Resumen de: US2025384502A1

A method for utilizing a patent distributed ledger includes a computing device of a computing infrastructure obtaining an indication of potential use of a set of patents by a user computing device and issuing a bilateral licensing request to the user computing device. The method further includes interpreting a request from the user computing device to cause a license of the set of patents for use by the user computing device to produce licensee information and identifying a non-fungible token (NFT) associated with the set of patents. The method further includes establishing agreed license terms and agreed payment terms of a smart contract to produce a new smart contract and causing generation of a new block with the new smart contract for a blockchain of the patent distributed ledger associated with the NFT.

SYSTEM OF LICENSING VIRTUAL AVATAR INTERACTION IN METAVERSE DIGITAL WAX MUSEUM AND METHOD THEREOF

NºPublicación:  US2025384500A1 18/12/2025
Solicitante: 
SQ TECH SHANGHAI CORPORATION [CN]
INVENTEC CORP [TW]
SQ Technology (Shanghai) Corporation,
Inventec Corporation
CN_119089419_PA

Resumen de: US2025384500A1

A system of licensing virtual avatar interaction in metaverse digital wax museum and a method thereof are disclosed. In the system, a display device displays a virtual reality, a server serves as a node of a blockchain network, the display device is connected to the server. The server receives an assigned celebrity, a consumer's facial feature and an interaction level to generate a virtual celebrity avatar and a virtual consumer avatar, which are inputted into a trained generative AI model to output a group photo image. The server is permitted to dynamically adjust an interaction between the virtual avatars based on the interaction level, generate a non-fungible token (NFT) embedded into a license message of the assigned celebrity, and display the NFT on the digital wax museum platform for transaction. Therefore, the technical effect of improving the fun and value of the virtual avatars can be achieved.

INTELLIGENT AI ROUTING ADVISORY PLATFORM WITH SYNTHETIC INJECTION TESTING, BIAS DETECTION DIGITAL TWIN, ZERO-COPY PIPELINE, CRYPTOGRAPHIC COMPLIANCE VERIFICATION, AND AUTONOMOUS MULTI-TIER COORDINATION FOR HETEROGENEOUS AI PROVIDER ECOSYSTEMS

NºPublicación:  US2025385797A1 18/12/2025
Solicitante: 
WEBER AXEL [DE]
Weber Axel

Resumen de: US2025385797A1

A computer-implemented system for routing artificial intelligence (AI) queries. The system utilizes a zero-copy data pipeline, which processes prompts in memory-mapped buffers to eliminate at least one memory copy operation, thereby reducing latency relative to conventional serialization pipelines. The system continuously verifies AI provider compliance by injecting synthetic prompts containing invisible, Ed25519-signed Unicode watermarks. Algorithmic bias is detected by generating counterfactual “digital twin” prompts and applying Fisher exact statistical testing.Routing decisions for multi-tier autonomous systems are governed by safety-level requirements (ASIL-D, ASIL-B, QM) and may be constrained by external routing directives received via a meta-identifier. A hash-chained manifest, cryptographically signed using Ed25519 and consumed by downstream gateways, is generated for each routing decision, with its Merkle root asynchronously anchored to a blockchain to create a tamper-evident audit trail for regulatory compliance.

SYSTEMS AND METHODS FOR DATA LINEAGE AUTHENTICATION

NºPublicación:  US2025384121A1 18/12/2025
Solicitante: 
WELLS FARGO BANK NA [US]
Wells Fargo Bank, N.A
US_2025384121_PA

Resumen de: US2025384121A1

Systems, apparatuses, methods, and computer program products are disclosed for providing interoperability between private and public blockchains. An example method for providing interoperability between private and public blockchains includes, by a key exchange controller (KEC): receiving access key generation instructions; generating, based on the key generation instructions, an access key comprising access credentials; transmitting the access key to an access key target on a public blockchain network; receiving, from the access key target, a access request including the access credentials and information indicating a private blockchain on a private blockchain network; and providing, in response to receiving the access request, access for the access key target to access the private blockchain of the private blockchain network.

Systems and Methods for Performing Secure Transactions on Blockchain

NºPublicación:  US2025385807A1 18/12/2025
Solicitante: 
ARTEMA LABS INC [US]
Artema Labs, Inc

Resumen de: US2025385807A1

Systems and methods for securing transactions in accordance with various embodiments of the invention are illustrated. One embodiment includes a method for confirming token ownership rights. The method generates a pre-image value using a random number generator. The method generates an action request that corresponds to an action performed cryptographic token(s). The method derives a commit output based on the pre-image value. The method generates a commit request that obfuscates the action request based on the commit output and submits the commit request to an immutable ledger. The method receives a confirmation when the commit request is approved by the ledger. When a reveal request referencing the commit output is published, the method receives a confirmation of at least one of: the reveal request being published, that the reveal request comprises a reference to the commit output, or that the action request has been approved.

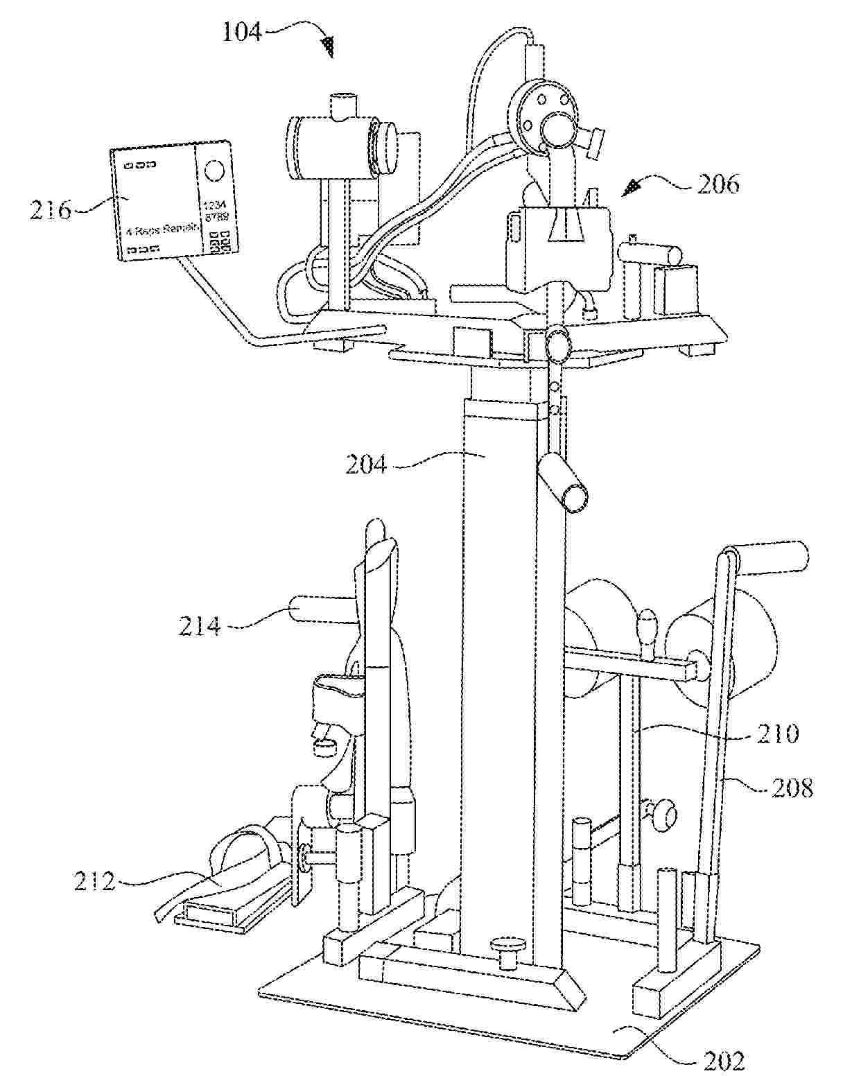
PROACTIVE IN-VEHICLE TRANSACTION SYSTEM USING SENSOR DATA

NºPublicación:  WO2025260026A1 18/12/2025
Solicitante: 
CAR IQ INC [US]
CAR IQ INC
WO_2025260026_A1

Resumen de: WO2025260026A1

Aspects of the present disclosure describe a system comprising a processor and memory storing instructions, which when executed by the processor, enable the system to detect a payment-related event using vehicle sensors, such as a camera or GPS unit. The detection can involve a machine learning model trained to recognize objects associated with the payment- related event while minimizing false positives. Upon detecting the event, the system can handle the electronic payment by utilizing an in-vehicle digital wallet to execute the payment and recording the transaction on a blockchain¬ based ledger.

Stockpay a conversion of volatile assets using ai technologies and blockchain

NºPublicación:  GB2700247A 17/12/2025
Solicitante: 
CARMELO CHARLIE COGLITORE [AU]
Carmelo Charlie Coglitore
US_2025348942_PA

Resumen de: GB2700247A

A system and method for secure and real-time converting a volatile asset into another asset in a quantum-resistant blockchain network using an Artificial Intelligence (AI) model. The method includes receiving a volatile asset conversion request and user preferences from a user through a user device, which may be user interface 400D. The AI model is then personalised by identifying patterns and correlations between the user preference, and the real-time behavioural patterns and the historic data of the user. A value of each volatile asset over time is then predicted using the personalized AI model and an optimal time to convert each volatile asset based on the value predictions is determined. Each volatile asset is converted into another asset preferred by the user, at the determined optimal time and a smart contract is generated on the quantum-resistant blockchain network to secure each volatile asset's conversation into another asset. 4D

BLOCKCHAIN-BASED SUBSCRIPTION MODEL

NºPublicación:  EP4662623A1 17/12/2025
Solicitante: 
STRIPE INC [US]
Stripe, Inc
WO_2024168310_A1

Resumen de: WO2024168310A1

Disclosed herein are systems and methods for generating and managing subscription using electronic transaction protocols in a blockchain-based system. In an embodiment, a system monitors one or more electronic transaction protocols deployed on a blockchain; detects an interaction by a decentralized wallet with a user interface element corresponding to a first electronic transaction protocol of the one or more electronic transaction protocols deployed on the blockchain; identifies one or more parameters of the subscription based on one or more inputs provided via the decentralized wallet, wherein the one or more parameters includes a time period of the subscription and a payment interval; and causes a first service provider to create or modify the subscription associated with a user of the decentralized wallet, wherein the causing further includes creating or modifying the subscription based on the one or more parameters.

AUTHENTICATION SYSTEM AND METHOD

NºPublicación:  EP4664821A2 17/12/2025
Solicitante: 
NCHAIN LICENSING AG [CH]
nChain Licensing AG
EP_4664821_PA

Resumen de: EP4664821A2

A comprising, by target computer equipment of a target party: obtaining a cryptographic key derived from a response generated by PUF module comprising a physically unclonable function, PUF, the response having been generated by the PUF module based on the PUF in response to a corresponding challenge input to the PUF module, wherein key information comprising the cryptographic key or a corresponding public key is also made available to a verifying party; from an issuing party, receiving a computation request specifying the computation to be performed; in response to the computation request, performing the computation in order to generate a computation result; signing a message comprising the computation result with the cryptographic key; and making the signed message available to the verifying party by sending the signed message to be recorded on a blockchain.

Method and device for blockchain-based business consulting service

NºPublicación:  KR20250175402A 17/12/2025
Solicitante: 
주식회사카탈라이즈리서치
KR_20250175402_PA

Resumen de: KR20250175402A

본 발명의 실시 예에 따른 블록체인 기반 비지니스 컨설팅 서비스 장치는 블록 체인 네트워크를 통해 연결된 인플루언서 단말로부터 제공된 컨텐츠를 경유하여 마케팅 계약의 대상 어플리케이션 정보를 수신한 사용자 단말로부터, 단계적 행위 정보를 수집하여, 핫 데이터 및 콜드 데이터로 분류 저장하는 데이터베이스부; 및 상기 데이터베이스부의 핫 데이터 및 콜드 데이터에 각각 대응하는 분석 처리를 수행하여 상기 인플루언서 단말별 마케팅 효과 분석을 위한 분석 정보를 제공하는 하나 이상의 분석부;를 포함한다.

QUIC TRANSACTIONS

NºPublicación:  EP4664832A2 17/12/2025
Solicitante: 
NCHAIN LICENSING AG [CH]
nChain Licensing AG
EP_4664832_PA

Resumen de: EP4664832A2

A computer-implemented method of sharing blockchain transactions, wherein the method is performed by a first party and comprises: receiving, from a second party over a QUIC connection, a payment destination, wherein the payment destination comprises a public key and/or a public-key-based address; and sending a transaction to the second party over the QUIC connection, wherein the transaction comprises an output locked to the payment destination.

SYSTEMS AND TECHNIQUES FOR BLOCKCHAIN MONITORING

NºPublicación:  EP4662621A1 17/12/2025
Solicitante: 
NAGRAVISION SARL [CH]
Nagravision Sarl
WO_2024165996_PA

Resumen de: WO2024165996A1

The present disclosure generally relates to monitoring a blockchain wallet. For example, aspects of the present disclosure include systems and techniques for monitoring a blockchain wallet. One example method for monitoring a blockchain wallet includes: generating a plurality of blockchain wallets associated with a blockchain service, the plurality of blockchain wallets comprising a user wallet and a plurality of monitored wallets; transferring funds to the plurality of monitored wallets; monitoring the plurality of blockchain wallets to identify unauthorized access of any of the plurality of blockchain wallets; in response to identifying unauthorized access of one of the plurality of monitored wallets, generating a notification that the one of the plurality of monitored wallets has been compromised; and outputting the notification.

Operation method of blockchain-based energy prosumer power trading brokerage platform

NºPublicación:  KR20250175135A 16/12/2025
Solicitante: 
주식회사에니트
KR_20250175135_PA

Resumen de: KR20250175135A

본 발명은 태양광 소규모 전력 발전 환경에서 태양광발전 잉여전력을 보유한 태양광발전 프로슈머(prosumer)와 전력 소비자 간의 직접 전력거래를 안정적으로 지원하며, 투명한 거래가 가능하도록 하는 블록체인 기반 에너지 프로슈머 전력거래 중개 플랫폼의 운영방법에 관한 것이다. 본 발명에 따른 블록체인 기반 에너지 프로슈머 전력거래 중개 플랫폼의 운영방법은 에너지 프로슈머 블록체인 서버를 통해 운영되는 블록체인 전력거래 중개 플랫폼을 초기화하는 단계, 상기 초기화에 따른 에너지 현황 정보를 공유하기 위한 블록 체인 기반의 에너지 채널을 생성하는 단계, 에너지 프로슈머 클라이언트로부터 에너지 현황 정보에 관한 트랜잭션을 수신하는 단계 및 상기 트랜잭션을 에너지 분산 원장에 업데이트하는 단계를 포함한다.

P2P Blockchain-based real estate P2P investment and development platform

NºPublicación:  KR20250175357A 16/12/2025
Solicitante: 
김중학
KR_20250175357_PA

Resumen de: KR20250175357A

본 발명은 블록체인 기반 부동산 P2P 투자 및 개발 플랫폼에 관한 것이다. 이 플랫폼은 다음과 같은 주요 구성 요소를 포함한다: 1. 회원 관리 시스템: 사용자 가입 및 인증을 처리하여 일반회원, 프리미엄회원, VVIP회원 등급별로 회원을 관리한다. 2. 회비 관리 시스템: 프리미엄회원, VVIP회원, 가맹점 및 가맹회원의 가입비와 관련된 회비를 관리한다. 3. 수수료 관리 시스템: 각 회원, 가맹점 및 가맹회원이 등록한 부동산 거래에 대한 수수료를 관리한다. 4. 부동산 정보 제공 시스템: 다양한 부동산 정보를 제공하고, 매물 검색과 시세 정보를 제공한다. 5. 부동산 가치 평가 시스템: 빅데이터 및 머신러닝 기술을 활용하여 부동산의 가치를 평가하고, 실시간으로 부동산 시장 동향을 분석한다. 6. 투자 기회 제공 시스템: 다양한 부동산 유형에 대한 투자 기회를 제공하며, 투자 상품 소개, 수익성 분석 및 투자 조건을 제공한다. 7. 거래 시스템: 스마트 계약을 통해 투자 거래를 자동화하고, 거래 내역을 블록체인에 저장하여 데이터의 위변조를 방지한다. 8. 결제 시스템: 투자금 송금 및 결제 처리를 블록체인 네트워크를 통해 수행하며, 수익 배분을 자동으로 처리한다. 9. 커뮤니티 및 지원 시스템: 사용자 간 소통, 투자 정보 공유 및 고�

AUTHENTICATION AND VERIFICATION OF USER DATA USIN BLOCKCHAIN-BASED POINTER RECORDS

NºPublicación:  WO2025252735A1 11/12/2025
Solicitante: 
NEXUM CAPITAL INC [GR]
NEXUM CAPITAL INC
WO_2025252735_PA

Resumen de: WO2025252735A1

A system (140, 210, 430, 620) and method (200, 210, 300, 660) for protecting confidential user data associated with a User (102). The user data are partitioned into portions (344, 345, 354, 356, 630, 632, 634) which are stored in different memory locations (216, 218, 346, 347, 636, 638, 640), each portion insufficient to facilitate reconstruction of personally identifiable information without use of each of the remaining portions. A storage address (348) for at least one portion is encoded and incorporated into a minted non-fungible asset (NFA) (182, 276, 349, 504, 514, 534, 552, 610, 644) recorded to a distributed blockchain (188) and placed in a User digital wallet (180, 500, 512, 532, 646). To subsequently reconstruct and access the user data, the storage address from the NFA is decoded (308, 664), and the portions are retrieved from memory and recombined (310, 312, 666, 668). A secure communication link (314, 670) facilitates authorized access to the reconstructed user data. Main and associated wallets (500, 502) may be used to track original and updated NFAs (506, 508). The storage address may be in the Interplanetary File Storage (IPFS) system. The user data may be destroyed by erasing at least one portion from memory.

STATE DATA REPAIR METHOD AND APPARATUS FOR BLOCKCHAIN, COMPUTER DEVICE, AND MEDIUM

NºPublicación:  US2025379757A1 11/12/2025
Solicitante: 
TENCENT TECH SHENZHEN COMPANY LIMITED [CN]
TENCENT TECHNOLOGY (SHENZHEN) COMPANY LIMITED
US_2025379757_PA

Resumen de: US2025379757A1

A state data repair method for a blockchain includes: obtaining, when receiving a proposal message broadcast by a second node in the blockchain system, state data maintained by the first node, the proposal message indicating existence of a transaction task, result information for the transaction task, and a block identifier; executing the transaction task in the proposal message, to obtain result information; obtaining, when the result information obtained after executing the transaction task is inconsistent with the result information indicated by the proposal message, read set information that corresponds to the block identifier in the proposal message from a snapshot of another node in the blockchain system; and repairing the state data based on the read set information, to obtain repaired state data, the repaired state data being configured for re-executing the transaction task to obtain an execution result.

INFORMATION PROCESSING METHOD, INFORMATION PROCESSING DEVICE, AND INFORMATION PROCESSING PROGRAM

NºPublicación:  WO2025253879A1 11/12/2025
Solicitante: 
FUJIFILM CORP [JP]
\u5BCC\u58EB\u30D5\u30A4\u30EB\u30E0\u682A\u5F0F\u4F1A\u793E
WO_2025253879_PA

Resumen de: WO2025253879A1

Provided is an information processing device comprising a processor. The processor: inquires a transaction execution history or a fee for a plurality of block chains; selects at least one of the block chains of which a cost calculated from an index which is at least one of a time and a value of the fee of transaction execution is within a predetermined range and a cost calculated from at least a value having characteristics opposite to the index matches a predetermined condition; and writes data to the selected block chain.

METHOD FOR DETERMINING TYPE OF SPECIFICATION OF SMART CONTRACT ON BLOCKCHAIN AND SERVER FOR EXECUTING SAME

NºPublicación:  WO2025254269A1 11/12/2025
Solicitante: 
CCMEDIA SERVICE CO LTD [KR]
\uC8FC\uC2DD\uD68C\uC0AC \uC528\uC528\uBBF8\uB514\uC5B4\uC11C\uBE44\uC2A4
WO_2025254269_PA

Resumen de: WO2025254269A1

A server for determining the type of specification of a smart contract according to the present invention comprises: a specification database in which a function of a smart contract performing a specific function according to an ERC standard and parameters used in the function are configured and stored as a signature; a byte code signature database in which a signature extracted from a byte code existing on a blockchain is stored; and a specification verification unit that, when receiving a request message for verifying the standard specification of a smart contract from a smart contract user terminal, verifies the specification of the smart contract on the basis of the specification database and the byte code signature database.

DATA PROCESSING METHOD AND DATA PROCESSING SYSTEM AND APPARATUS

Nº publicación: WO2025251507A1 11/12/2025

Solicitante:

CHINA TELECOM CORPORATION LIMITED TECH INNOVATION CENTER [CN]
CHINA TELECOM CORPORATION LTD [CN]
\u4E2D\u56FD\u7535\u4FE1\u80A1\u4EFD\u6709\u9650\u516C\u53F8\u6280\u672F\u521B\u65B0\u4E2D\u5FC3

WO_2025251507_A1

Resumen de: WO2025251507A1

A data processing method, a data processing system, a data processing apparatus, a computer program product and an electronic device, relating to the technical field of network security. The method may comprise: verifying a business information check value in a data block (S110); when the verification has passed, broadcasting a verification result (S120); and, when the number of verification results reaches a preset number, the data block can be uploaded to the chain (S130). Thus, in the case of a failure occurring in a business execution process, the present disclosure can avoid the problems of low fault tracing efficiency and low service activation efficiency due to a non-trust relationship between management domains; that is, the characteristics of multi-node storage and tamper-proofness of block-chain technology can be used to ensure that all operations can be traced, and operation records cannot be tampered with, thereby facilitating enhancing the efficiency of failure tracing and service activation. Furthermore, the present disclosure can improve the resistance of entire networks against malicious attacks and information tampering, thereby improving trust between different management domains.

traducir