Ministerio de Industria, Turismo y Comercio LogoMinisterior
 

Alerta

Resultados 136 resultados
LastUpdate Última actualización 01/05/2026 [09:08:00]
pdfxls
Solicitudes publicadas en los últimos 30 días / Applications published in the last 30 days
previousPage Resultados 100 a 125 de 136 nextPage  

Ultra-High Speed Hybrid Blockchain System Using Bio-Identity Linked Autonomous Distributed Objects and Dual-Layer Consensus Structure Zero-Knowledge Authentication Security Platform Using the Same and Method of Operating the Same

NºPublicación:  KR20260045711A 03/04/2026
Solicitante: 
정민호
KR_20260045711_PA

Resumen de: KR20260045711A

본 발명은 생체 인식과 블록체인 기술이 융합된 초고속 하이브리드 블록체인 시스템에 관한 것이다. 해결하고자 하는 과제는 중앙 집중형 식별 체계의 개인정보 유출 위험과 기존 블록체인의 확장성 및 속도 제한을 해결하는 것이다. 이를 위한 과제의 해결 수단으로,퍼지 추출기를 이용해 생체 정보로부터 트윈-코드(twin-code)를 생성하고,합의 계층(tier 1)과 저장 계층 (tier 2)를 물리적으로 분리한 이중 계층 아키텍처 및 데이터 가용성 증명(poda)기술을 적용한다. 본 발명에 따르면,중앙 서버에 개인 정보를 남기지 않는 제로-타켓(zero-target)보안을 구현하며,초고속 트랜잭션 처리와 무한한 데이터 저장 용량을 확보하고,자원 물물 교환(resource barter)모델을 통해 수수료 없는 블록체인 환경을 제공하는 효과가 있다.대표도 도 1.

METHOD AND SYSTEM FOR BLOCKCHAIN CONSENSUS UTILIZING SOCIAL NETWORK DATA OF AN INSTANT MESSAGING SERVICE AND A COMPUTER PROGRAM FOR PERFORMING THE SAME

NºPublicación:  KR20260045755A 03/04/2026
Solicitante: 
안범주
KR_20260045755_PA

Resumen de: KR20260045755A

본 발명은 인스턴트 메시징 서비스(IM 서비스)의 친구 관계 데이터를 블록체인 합의 과정의 핵심 지표로 활용하여, 사회적 신뢰도가 높은 사용자에게 블록 생성 권한과 보상 토큰을 부여하는 방법, 시스템 및 컴퓨터 프로그램을제공한다. 본 발명의 블록체인 합의 시스템은 사용자 데이터베이스(110)를 구비한 IM 서비스 서버(100), 데이터 오라클(300), 가중치 산출 모듈(400), VRF 모듈(500), 블록 생성 노드 결정 모듈(600), 및 보상 지급 모듈(700)을 포함한다. 상기 가중치 산출 모듈(400)은 W = Σ(Fi × Ai × Ti) 수식에 따라 친구 수 지수(Fi), 활동성 가중치(Ai), 계정 신뢰도 계수(Ti)를 결합하여 각 사용자의 블록 생성 권한 가중치(W)를 산출하며, 영지식 증명 모듈(310)은 사용자의 프라이버시를 보호하면서도 친구 관계의 수량이 기준치를 충족함을 증명한다. 이를 통해 시빌 공격 방어, 사용자 참여 유도, 및 자본이 아닌 사회적 기여도에 기반한 공정한 토큰 분배를 실현한다.

SYSTEM AND METHOD FOR QUANTUM COMPUTING UTILITIES TRANSACTIONS IN A NETWORKED EXCHANGE MARKETPLACE

NºPublicación:  WO2026072314A1 02/04/2026
Solicitante: 
8ORCAS INC [US]
WO_2026072314_A1

Resumen de: WO2026072314A1

The technology disclosed describes a Quantum Utility Exchange(QUE) framework for managing and trading Quantum Utility Exchange Traded Resources(QU-ETRs). Providers define quantum resource packages (with time windows, usage limits, and resource specifications) and list them in a Recorded Database. Entities granted usage rights can trade these packages on the QUE through buy, sell, swap, or bid transactions, with all ownership transfers recorded and expired/consumed packages delisted. A Pending Database supports offers to buy or sell, searchable with AI/ML tools. The exchange uses secure blockchain-based communications, encrypted private tunnels, and verification processes to ensure integrity. Interfaces for providers and consumers enable package submission, searching, bidding, and downloading through networked computer system. QU-ETRs can be traded under flexible contract types ("buy now–use now/later" or swaps), with transaction, validation, and alert mechanisms built into the system. Overall, the method establishes a secure, structured marketplace for allocating and exchanging quantum computing resources.

INITIATING BLOCKCHAIN MESSAGES USING NEAR FIELD COMMUNICATION

NºPublicación:  WO2026072568A1 02/04/2026
Solicitante: 
COINBASE INC [US]
WO_2026072568_A1

Resumen de: WO2026072568A1

Methods, systems, and devices for data management are described. Techniques described herein may enable a receiving device to transmit a near-field communication (NFC) signal that requests for a user device to broadcast a transaction on a blockchain network. The signal may indicate one or more features of the transaction, such as an amount of crypto token to transfer, one or more goods or services that are being paid for via the transaction, an account to which the user device may transfer the crypto token, and the like. The user device may accordingly launch an application and may prompt the user to provide a user input to trigger the user device to broadcast the requested transaction via the blockchain network. In some examples, the application may display information associated with the transaction.

DEVICE AND METHOD FOR SPECTRUM ALLOCATION, MEDIUM, AND COMPUTER PROGRAM PRODUCT

NºPublicación:  WO2026067263A1 02/04/2026
Solicitante: 
SONY GROUP CORP [JP]
WANG WEI [CN]
\u7D22\u5C3C\u96C6\u56E2\u516C\u53F8
\u738B\u5A01
WO_2026067263_A1

Resumen de: WO2026067263A1

The present disclosure relates to a device and method for spectrum allocation, a medium, and a computer program product. An electronic device, as a consensus node, participates in blockchain-based spectrum allocation. The electronic device is configured to: send a spectrum application transaction to a master node of a blockchain; receive a spectrum transaction list from the master node, the spectrum transaction list comprising information related to spectrum application transactions of a plurality of consensus nodes in the blockchain; construct an initial spectrum transaction graph for the plurality of consensus nodes on the basis of the received spectrum transaction list, the initial spectrum transaction graph comprising a spectrum range and a spectrum usage area that are to be allocated to each consensus node among the plurality of consensus nodes; on the basis of a spectrum interference relationship in the initial spectrum transaction graph, adjust at least one of the spectrum range and the spectrum usage area that are to be allocated, to generate an interference-adjusted spectrum transaction graph; and send a voting message to the master node, the voting message comprising information related to the interference-adjusted spectrum transaction graph.

Device Distributed Blockchain - 2DB

NºPublicación:  US20260095307A1 02/04/2026
Solicitante: 
HUSSAIN AZHAR [PT]
TRAVERS MATTHEW [GB]
FLORI SIMONE [GB]
US_20260095307_A1

Resumen de: US20260095307A1

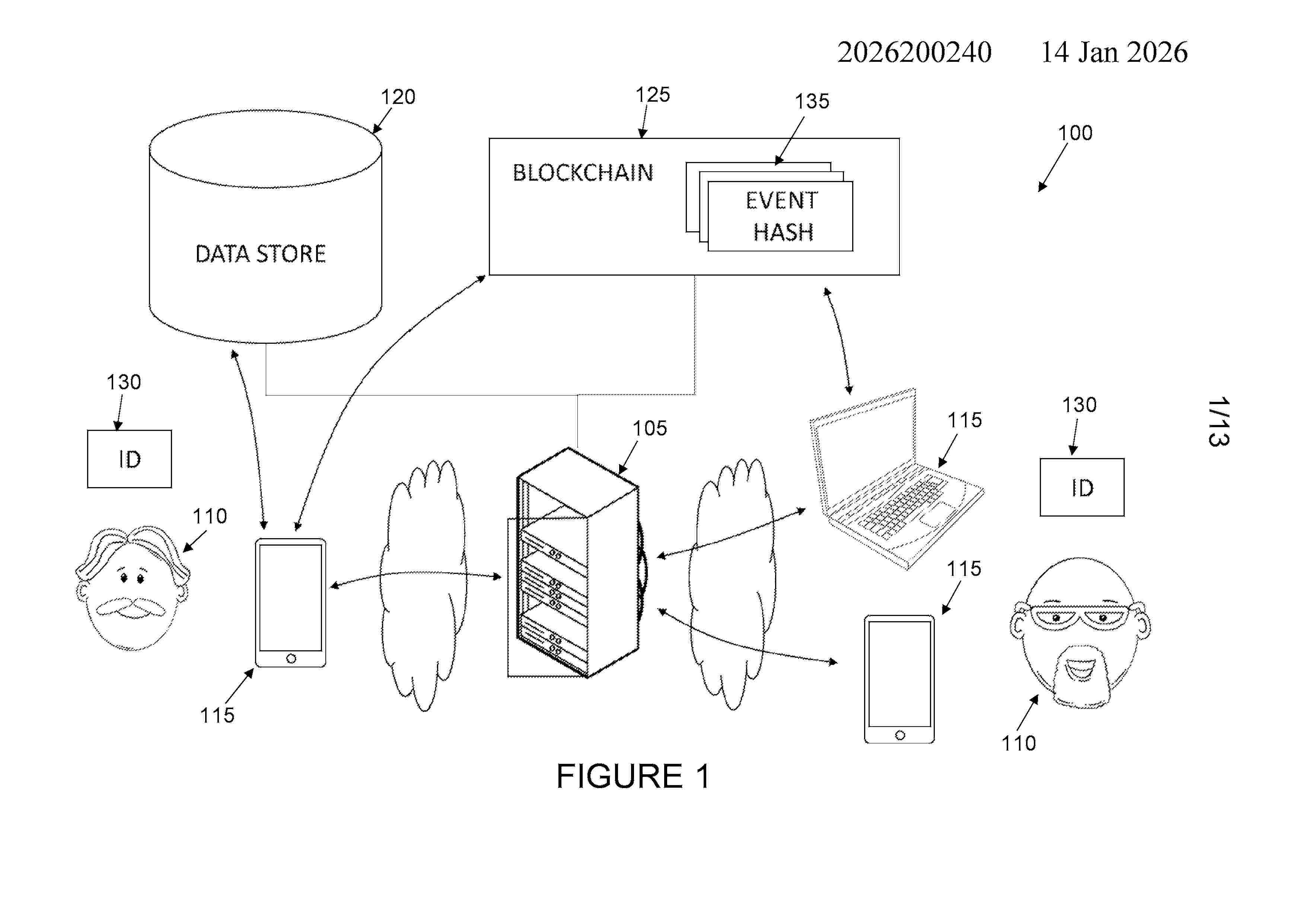
0000 This invention relates to an improved method and system for authenticating the travel path of an object using a distributed asynchronous system incorporating blockchain technology and encrypted codes. The system utilizes digitally secured tags containing encrypted logistical data. These tags are physically and digitally associated with the product prior to entering the supply chain. Gateways equipped with artificial intelligence are strategically placed throughout the transportation route, each gateway receiving inputs from any number and type of sensors placed throughout the gateway's physical location. These gateways continuously collect data from their environment and utilize artificial intelligence to create dynamic environmental profiles. These profiles, encapsulated within a cryptographic key, are immutably recorded onto the blockchain ledger associated with the tag device physically associated to a shipment. The distinctive feature of this innovation assures an unalterable record of each shipment's journey, enhancing security, promoting transparency, and enabling swift transmission—and verification—of shipment data.

FILE MANAGEMENT WITH BLOCKCHAIN

NºPublicación:  WO2026068332A1 02/04/2026
Solicitante: 
NCHAIN LICENSING AG [CH]
NCHAIN LICENSING AG
WO_2026068332_A1

Resumen de: WO2026068332A1

A computer-implemented method of securely linking file content to an associated author, wherein the method comprises: obtaining an electronic file or an encrypted version thereof; obtaining first author data identifying a first author of the electronic file; generating a file commitment value based on at least the electronic file or the encrypted version thereof; generating an author commitment value based on at least the first author data; and generating a proof commitment value based on a combination of at least the file commitment value and the author commitment value; and causing a proof blockchain transaction comprising the proof commitment value to be made available to one or more nodes of a blockchain.

FILE MANAGEMENT WITH BLOCKCHAIN

NºPublicación:  WO2026068335A1 02/04/2026
Solicitante: 
NCHAIN LICENSING AG [CH]
NCHAIN LICENSING AG
WO_2026068335_A1

Resumen de: WO2026068335A1

A computer-implemented method for recording an electronic file, wherein the method is implemented by a file proof platform, comprising: accessing a folder; executing a scan of the folder to identify a new or modified electronic file stored in the folder relative to a previous scan of the folder; obtaining the new or modified electronic file from the folder, wherein the new or modified electronic file is the electronic file; generating a commitment value based on the electronic file; generating a proof blockchain transaction comprising the commitment value; and causing the proof blockchain transaction to be made available to one or more nodes of a blockchain.

A CRYPTOGRAPHIC FLOW-BASED SECURITY PROTOCOL FOR AEROSPACE COMMUNICATION

NºPublicación:  US20260095320A1 02/04/2026
Solicitante: 
SPIDEROAK INC [US]
SpiderOak, Inc
US_20260095320_A1

Resumen de: US20260095320A1

A satellite receives, from a ground station, multiple first commands out-or-order for replicating a conflict-free replicated dataset at the satellite. An authority to access the conflict-free replicated dataset is retrievable from a block of a blockchain. The multiple first commands are reordered based on an ordering specified by a causal tree received from the ground station. A global state of the conflict-free replicated dataset is replicated locally at the satellite based on the multiple first commands reordered in accordance with the causal tree. From the ground station, multiple second commands are received for performing operations on the conflict-free replicated dataset. The operations are performed on the conflict-free replicated dataset, using the multiple second commands, based on the authority retrieved from the blockchain.

Post-Quantum Hash Functions Using Higher Dimensional Special Linear Groups

NºPublicación:  US20260095311A1 02/04/2026
Solicitante: 
RESEARCH FOUNDATION OF THE CITY UNIV OF NEW YORK [US]
GENT UNIV [BE]
RECTOR AND VISITORS OF THE UNIV OF VIRGINIA [US]
UNIV OF YORK [GB]
UNIV DE SEVILLA [ES]
Research Foundation of the City University of New York,
Gent Universiteit,
Rector and Visitors of the University of Virginia,
University of York,
Universidad de Sevilla
US_20260095311_A1

Resumen de: US20260095311A1

A method for securing a blockchain comprises forming a plurality of expander graphs, wherein the expander graphs provide a finite set; and obtaining from the expander graphs a post-quantum hash function that implements for quantum attack resistance a special linear group over a finite field of an order and a dimension of a matrix having a positive integer greater than or equal to 3.

Peer-To-Peer Payment System

NºPublicación:  US20260094142A1 02/04/2026
Solicitante: 
MASTERCARD INT INCORPORATED [US]
Mastercard International Incorporated
US_20260094142_A1

Resumen de: US20260094142A1

The present invention relates to a computer implemented method of effecting peer to peer payments between a payer account and a payee account. The method comprises receiving, from a payee device at a payer device associated with a payer account, a payment request message indicating a transaction amount, where the payer account includes tokens corresponding to a monetary value, and sending, from the payer device to the payee device, a message including one or more of the tokens together corresponding to a monetary value equal to the transaction amount. At a later point in time, the payer device connects to a blockchain network server and sends a message to record the sending of the one or more of the tokens on a blockchain ledger maintained by the blockchain network server.

SYSTEM AND METHOD FOR PROVIDING LEARNING CURATION SERVICE USING LEARNING MAP-LINKED OPEN BADGE

NºPublicación:  WO2026071515A1 02/04/2026
Solicitante: 
SWEMPIRE CO LTD [KR]
(\uC8FC)\uC18C\uD504\uD2B8\uC81C\uAD6D
WO_2026071515_A1

Resumen de: WO2026071515A1

The present disclosure relates to a system and method for providing a learning curation service using a learning map-linked open badge, wherein a blockchain-based open badge linked to study is simply issued and provided so that a user (learner) can prove the user's qualifications acquired through education, learning, testing, and the like provided by an educational institution (learning institution), thereby ensuring security while eliminating the inconvenience of the user having to visit the educational institution or website thereof to obtain certificates of completion or training certificates and directly submit same to a requesting institution (receiving institution) as is conventionally the case, and thus saving the required time and additional costs.

SERVER DEVICE, PROGRAM, AND METHOD EXECUTED BY COMPUTER

NºPublicación:  WO2026070463A1 02/04/2026
Solicitante: 
RELUDENS INC [JP]
\u682A\u5F0F\u4F1A\u793E\u30EA\u30EB\u30FC\u30C7\u30F3\u30B9
WO_2026070463_A1

Resumen de: WO2026070463A1

Problem To make it possible to support the purchase of tokens using value media granted to users, even if users are not expected to actively invest in tokens. Solution A server device according to the present invention is an operator server connected to a database for managing value media issued to users of a service and to a blockchain for storing token transactions. The server device acquires, from the database, the balance of expiring value media among the value media possessed by the user, and records, in the blockchain, the transfer to the user of an amount of tokens determined on the basis of the acquired balance.

CONTROL METHOD, DEVICE, AND PROGRAM

NºPublicación:  WO2026069804A1 02/04/2026
Solicitante: 
PANASONIC INTELLECTUAL PROPERTY MAN CO LTD [JP]
\u30D1\u30CA\u30BD\u30CB\u30C3\u30AF\uFF29\uFF30\u30DE\u30CD\u30B8\u30E1\u30F3\u30C8\u682A\u5F0F\u4F1A\u793E
WO_2026069804_A1

Resumen de: WO2026069804A1

A control method is executed by one node among a plurality of nodes that manage a blockchain, the control method comprising: acquiring transaction data in which object data is subjected to first error correction encoding and which includes encrypted first encrypted data (S104); decrypting the first encrypted data included in the transaction data using a first encryption key to generate first decrypted data (S105); executing first error correction on the first decrypted data to generate first corrected data (S106); and, in cases where a source data portion of the first corrected data is the same as the object data, generating a block relating to the transaction data (S108).

System and Method for Lifecycle Management of Blockchain-Based Entity Compliance Credentials.

NºPublicación:  AU2026201946A1 02/04/2026
Solicitante: 
TAYCO DOMINIC
Tayco, Dominic
AU_2026201946_A1

Resumen de: AU2026201946A1

Abstract With this invention, a computer-implemented system and method are provided for managing lifecycle events associated with blockchain-based entity compliance credentials. A compliance credential issued to an entity is recorded on a distributed ledger and associated with regulatory compliance metadata. A lifecycle management module monitors the validity of the credential and records lifecycle events including issuance, expiration, renewal, and revocation. The system updates the credential status in response to lifecycle events and enables participating platforms to determine whether the credential remains valid for participation in regulated offerings.

DECENTRALIZED IDENTITY PERMISSIONED PRIVACY ENHANCING TECHNOLOGY

NºPublicación:  US20260094135A1 02/04/2026
Solicitante: 
HSBC SOFTWARE DEVELOPMENT GUANGDONG LTD [CN]
HSBC Software Development (Guangdong) Limited
US_20260094135_A1

Resumen de: US20260094135A1

This disclosure provides techniques to utilize decentralized identifiers (DIDs) and verifiable credentials for secure, privacy-preserving transactions. In one aspect, a method is provided that includes: receiving user information; determining a DID based on the information; providing the DID to a user device; verifying the user's identity by validating the DID and associated verifiable credentials; and performing a transaction based on the verified DID. Other aspects are provided, such as generating a public-private key pair for the user, associating the DID with the public key, and/or creating a DID document stored on a distributed ledger accessible to authorized entities. Further aspects include processing transactions through smart contracts on a blockchain network, which may involve converting central bank digital currency to fiat currency while maintaining user privacy, applying transaction limits based on verified identity attributes, and providing zero-knowledge proofs to auditors to verify compliance without accessing underlying transaction details.

PROTECTION ARCHITECTURE USING PROOF OF INTEGRITY ON DISTRIBUTED LEDGERS

NºPublicación:  US20260093799A1 02/04/2026
Solicitante: 
WELLS FARGO BANK N A [US]
Wells Fargo Bank, N.A
US_20260093799_A1

Resumen de: US20260093799A1

Systems, methods, and computer-readable storage media for restricting exchanges using a proof of integrity model. One system includes memory and at least one processing circuit configured to receive, from a node on a first DLT network, an exchange request, the exchange request includes an amount of a digital asset to exchange, a content item, and a destination identifier. The at least one processing circuit is further configured to generate an exchange record and validate the exchange record in the amount of the digital asset based on a protection model. The at least one processing circuit is further configured to authorize, based on a consensus model, the exchange corresponding with the validated exchange record including the appended protection parameter. The at least one processing circuit is further configured to generate a new blockchain block on the first DLT network and transmit, to a second DLT network, an exchange notification.

SYSTEM AND METHOD FOR PROVIDING GAMIFICATION-BASED OPEN BADGE ISSUANCE SERVICE

NºPublicación:  WO2026071514A1 02/04/2026
Solicitante: 
SWEMPIRE CO LTD [KR]
(\uC8FC)\uC18C\uD504\uD2B8\uC81C\uAD6D
WO_2026071514_A1

Resumen de: WO2026071514A1

The present disclosure relates to a system and method for providing a gamification-based open badge issuance service, whereby a blockchain-based open badge associated with studies is conveniently issued and provided so that a user (learner) can prove his or her qualifications acquired through education, learning, testing, and the like provided by an educational institution (learning institution), thereby ensuring security while also eliminating the inconvenience of the user having to acquire certificates of completion, course completion, and the like by visiting the educational institution or the homepage of the educational institution, and directly submit same to a requesting institution (receiving institution), and thus reducing both the time required and associated costs.

DATA SHARING METHOD AND APPARATUS BASED ON A BLOCKCHAIN

NºPublicación:  US20260093686A1 02/04/2026
Solicitante: 
TONGFANG KNOWLEDGE NETWORK DIGITAL PUBLISHING TECH CO LTD [CN]
TONGFANG KNOWLEDGE NETWORK TECH CO LTD BEIJING [CN]
US_20260093686_A1

Resumen de: US20260093686A1

A data sharing method and a data sharing apparatus based on a blockchain are provided, aiming to solve the problem that the existing data sharing cannot meet the sharing requirement of a multi-party collaborative complex scene of combining an industrial blockchain, an Internet of things and an industrial Internet, which relates to the technical field of the blockchain technology. The method includes: creating a multi-chain shared network structure matched with a target service scene, creating shared data and cross-chain link structure of original data, and storing the shared data and cross-chain link structure on the service chain through the cross-chain router; and when the service system sends a query transaction of a target service chain through the cross-chain router, querying a target shared data and cross-chain link structure of the target service chain, and further querying the linked shared data and cross-chain link structure of the linked service chain.

BLOCKCHAIN-BASED BUSINESS DATA PROCESSING METHOD, EQUIPMENT, AND STORAGE MEDIUM

NºPublicación:  US20260094154A1 02/04/2026
Solicitante: 
ICALC HOLDINGS LTD [CN]
iCALC Holdings Limited
US_20260094154_A1

Resumen de: US20260094154A1

A blockchain-based business data processing method includes: obtaining pending-transaction business data sent by a first object, and generating an initial transaction contract and sending the initial transaction contract to the first object, so that the first object generates feedback information; obtaining an updated transaction contract according to the feedback information; generating a transaction order, sending the transaction order to the first object, and sending first invoicing critical data in the transaction order to an invoicing node in blockchain, so that the invoicing node generates a first block to-be-chained; in response to detecting that a second block to-be-chained has been created and passing verification of data in the second block, sequentially chaining the two blocks, generating a first electronic invoice according to the chained first block and sending the first electronic invoice to the first object, and updating an account balance according to the chained second block.

SYSTEMS AND METHODS FOR ENSURING INTEGRITY OF OIL AND GAS WELL INTERVENTION OPERATIONS USING BLOCKCHAIN TECHNOLOGIES

NºPublicación:  US20260093214A1 02/04/2026
Solicitante: 
SCHLUMBERGER TECH CORPORATION [US]
SCHLUMBERGER TECHNOLOGY CORPORATION
US_20260093214_A1

Resumen de: US20260093214A1

Systems and methods presented herein facilitate ensuring the integrity of oil and gas well intervention operations using blockchain technologies. In particular, the systems and methods described herein utilize blockchain technologies to ensure that all data relating to oil and gas well intervention operations are captured and stored in substantially real time during the operations in a secure and immutable manner.

WASM BYTECODE OPTIMIZATION METHODS, EXECUTION METHODS, COMPUTER DEVICES, AND STORAGE MEDIA

NºPublicación:  US20260093465A1 02/04/2026
Solicitante: 
ANT BLOCKCHAIN TECH SHANGHAI CO LTD [CN]
Ant Blockchain Technology (Shanghai) Co., Ltd
US_20260093465_A1

Resumen de: US20260093465A1

Computer-implemented methods and system are described for smart contract deployment and execution. In an example, a blockchain node receives a transaction for deploying a contract. The transaction includes pre-optimization WebAssembly (Wasm) bytecode of the contract. The pre-optimization Wasm bytecode is optimized, to obtain optimized Wasm bytecode. The blockchain node generates a smart contract account on a blockchain, and generates a codehash in the smart contract account based on the optimized Wasm bytecode. The blockchain node stores the generated smart contract account in a blockchain ledger. The smart contract account includes the codehash and the corresponding optimized Wasm bytecode.

INTELLIGENT WORKFLOW FOR REPAIR SKILLS AUGMENTATION

NºPublicación:  US20260094095A1 02/04/2026
Solicitante: 
INT BUSINESS MACHINES CORPORATION [US]
INTERNATIONAL BUSINESS MACHINES CORPORATION
US_20260094095_A1

Resumen de: US20260094095A1

A request to repair an object is received via at least one network. Based on obtaining the request via the at least one network, an intelligent workflow is executed on at least one computing device to generate instructions to be used by a user to repair the object. The intelligent workflow executes at least one artificial intelligence model trained to generate the instructions based on a skill level of the user as related to repairing the object. Based on determining that a resource to be used by the user to repair the object is inaccessible to the user and using the intelligent workflow being executed, an indication of one or more alternative resources to be used by the user to repair the object is automatically generated. A record of the repair is recorded in a blockchain.

Next-Level Artificial Intelligence-Powered Dual Authentication for Secure Seamless Real-Time Vehicular Payment Processing and Management

NºPublicación:  US20260094163A1 02/04/2026
Solicitante: 
CANZONIERO CLARISSA MAE [US]
Canzoniero Clarissa Mae
US_20260094163_A1

Resumen de: US20260094163A1

The present invention discloses a comprehensive real-time dual authentication payment processing system designed for vehicular transactions. This innovative system integrates advanced technologies, including Radio Frequency Identification (RFID), high-definition License Plate Recognition (LPR), and multi-factor biometric authentication to ensure secure vehicle identification and transaction validation. An interactive Augmented Reality (AR) interface enables real-time visualization and management of transactions via a dedicated mobile application. A cloud-based Universal Algorithm synchronizes data streams from various components, facilitating real-time processing and fault tolerance. Embedded Artificial Intelligence (AI) and machine learning models optimize payment workflows based on contextual inputs, while a decentralized blockchain ledger enhances transaction security and integrity. Multi-layer encryption protocols safeguard all transactional data, ensuring compliance with future cryptographic standards. The system's modular architecture allows seamless integration across diverse industries, including automotive, retail, and logistics enhancing operational efficiency and user satisfaction while establishing a future-proof framework adaptable to emerging technologies.

A SYSTEM AND METHOD FOR EXCHANGING RESUMES BASED ON TOKENS BETWEEN BUSINESS-TO-BUSINESS

Nº publicación: WO2026069000A1 02/04/2026

Solicitante:

JAIN SANJAY [IN]

WO_2026069000_A1

Resumen de: WO2026069000A1

A system (100) for exchanging resumes based on tokens between business-to-business is disclosed An employer module (120) allows a first employer to register, upload, search, and request resumes. A candidate portal module (122) creates a candidate profile, and standardized resumes. A verification module (124) verifies the resume and updates verification status as one of a verified resume and unverified resume. A search module (126) generates a list of a plurality of resumes and initiates an invitation for candidates with unverified resumes to verify and generate a consent request to access them. A token generation module (128) generates a token. A candidate selection module (130) enables employers to hire candidates and notify them. A token exchange module (132) allows the first employer to exchange and buy one or more tokens with a second employer. A feedback module (134) provides feedback to candidates. All Transactions are stored on a blockchain network.

traducir