Ministerio de Industria, Turismo y Comercio LogoMinisterior
 

Asmakizunak formularioak

Resultados 140 resultados
LastUpdate Última actualización 06/11/2025 [07:33:00]
pdfxls
Solicitudes publicadas en los últimos 30 días / Applications published in the last 30 days
previousPage Resultados 50 a 75 de 140 nextPage  

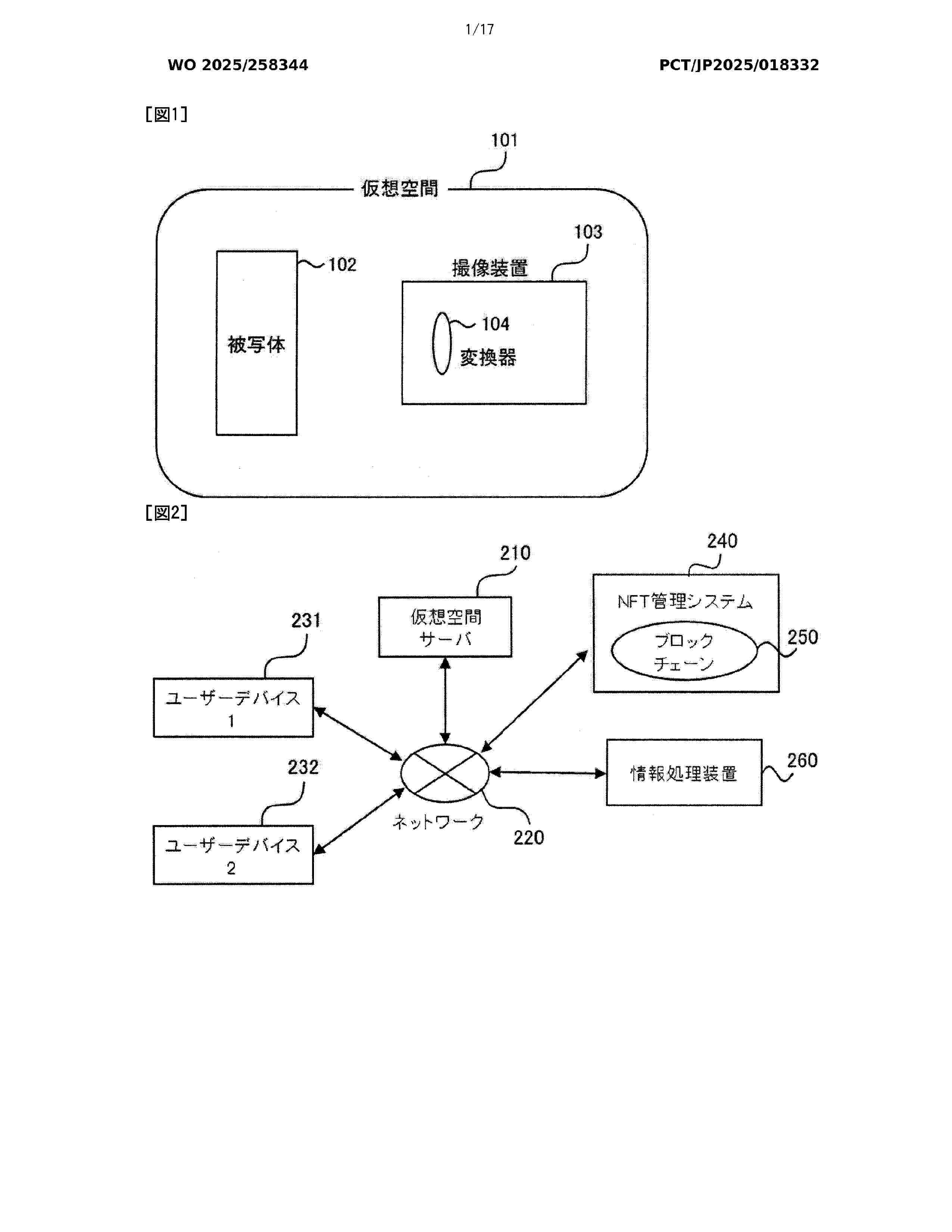
APPARATUS AND METHOD FOR AUTHENTICATING AND TRACKING PHYSICAL ITEMS

NºPublicación:  US2025330302A1 23/10/2025
Solicitante: 
RADY MAX ADEL [FR]
RADY MAX ADEL
US_2025330302_PA

Resumen de: US2025330302A1

There is provided a framework to record to a blockchain unique identification (signatures) of physical items which have unique, random properties. Physical items are analysed using spectral imaging to determine the unique identifications. Hardware is shown to perform the analysis and various nodes of a peer-to-peer network are shown and described, which nodes may be configured to provide proof of location, privacy, trust and authentication. The solution can work even if the item is modified in some way if a subset of the unique properties remain.

SPORTS BETTING APPARATUS AND METHOD

NºPublicación:  US2025329226A1 23/10/2025
Solicitante: 
JOAO RAYMOND ANTHONY [US]
JOAO RAYMOND ANTHONY
US_2025329226_PA

Resumen de: US2025329226A1

An apparatus, including a processor which provides an electronic forum which provides a video or audio broadcast of a sporting event, gaming activity, gambling activity, or lottery drawing, to a plurality of users, and a distributed ledger and Blockchain technology system. The distributed ledger and Blockchain technology system processes information regarding an outcome of a bet or a lottery drawing on or for the sporting event, gaming activity, gambling activity, or lottery drawing, and determines if the bet or a lottery ticket is a winning bet or a winning lottery ticket or a losing bet or a losing lottery ticket. The apparatus generates and transmits a bet confirmation message containing a link to the electronic forum, or processes information for purchasing the lottery ticket for the lottery drawing and generates and transmits a lottery ticket purchase confirmation message containing information a link to the electronic forum.

ITERATIVE GRAPH EMBEDDING OF A BLOCKCHAIN NETWORK

NºPublicación:  US2025328906A1 23/10/2025
Solicitante: 
COINBASE INC [US]
Coinbase, Inc
US_2025328906_PA

Resumen de: US2025328906A1

Methods, systems, and devices for iterative graph embedding of a blockchain network are described. A blockchain embedding service generates, using a graph representation of a blockchain network and a node embedding model, a first set of node embeddings for a first set of blockchain addresses using transaction data for the first set of blockchain addresses. The platform generates, using the graph representation, a second set of node embeddings for a second set of blockchain addresses associated with new transaction data. Generating the second set of node embeddings includes executing, for each node corresponding to blockchain address of the second set of blockchain addresses, a random walk across a set of nodes starting with the node using the transaction data for the set of nodes, inputting data resulting from the random walk into the node embedding model, and computing a risk score for each of the second set of blockchain addresses.

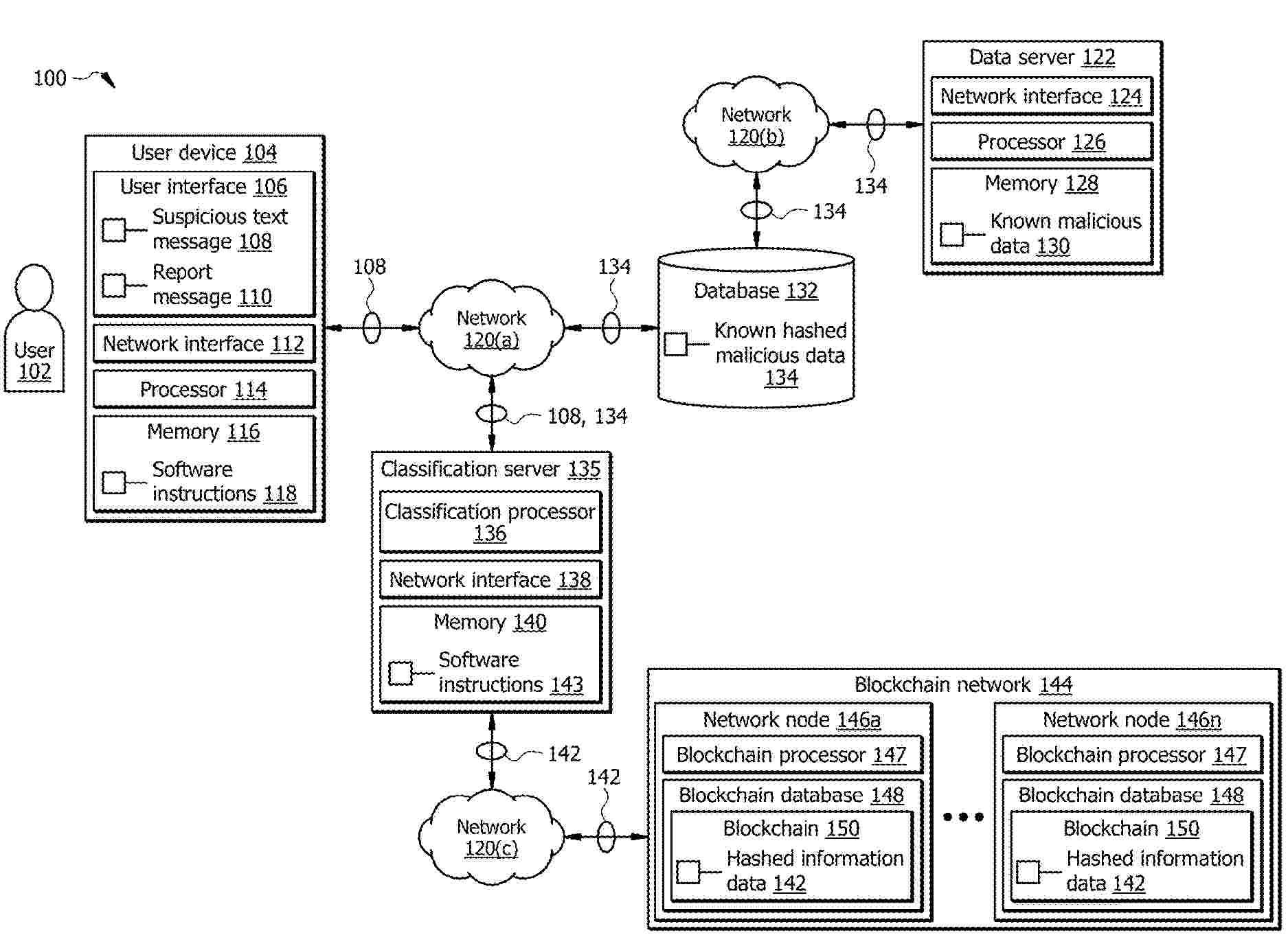
System and Method for Classifying Suspicious Text Messages Received by a User Device

NºPublicación:  US2025328640A1 23/10/2025
Solicitante: 
BANK OF AMERICA CORP [US]
Bank of America Corporation
US_2025328640_PA

Resumen de: US2025328640A1

A method includes receiving a suspicious text message having information data, and applying a hashing function to the information data to generate hashed information data. The method includes storing the hashed information data in one or more of a plurality of network nodes in a blockchain network, and determining that at least a portion of the information data associated with the suspicious text message contains malicious data based at least in part upon known hashed malicious data.

METHOD AND SYSTEM FOR VERIFYING INTEGRITY OF A DIGITAL ASSET USING A DISTRIBUTED HASH TABLE AND A PEER TO-PEER DISTRIBUTED LEDGER

NºPublicación:  US2025328609A1 23/10/2025
Solicitante: 
NCHAIN LICENSING AG [CH]
nChain Licensing AG
US_2025328609_PA

Resumen de: US2025328609A1

A computer-implemented method and system for verifying the integrity of a computer software for installation using a distributed hash table and a peer-to-peer distributed ledger. This may be the Bitcoin blockchain or an alternative implementation. The method includes determining a metadata associated with a transaction record stored on the peer-to-peer distributed ledger. An indication of an entry stored on the distributed hash table may be determined from the metadata. The method further includes determining a third hash value based on the computer software and determining a fourth hash value from the entry on the distributed hash table. The method further includes comparing the third hash value and the fourth hash value and verifying the integrity of the computer software based on the comparing of the third hash value and the fourth hash value.

SYSTEMS AND METHODS FOR CONTROLLING PERMISSIONS IN BLOCKCHAINS

NºPublicación:  US2025328677A1 23/10/2025
Solicitante: 
CAPITAL ONE SERVICES LLC [US]
Capital One Services, LLC
US_2025328677_PA

Resumen de: US2025328677A1

Methods and systems for controlling users' access to data available on blockchains are described herein, comprising: determining a first right for a first user to first data; determining a location in a permissioned blockchain comprising the first data, the location being a first fork of the permissioned blockchain; determining a first privilege required to access the first fork; determining that the first user corresponds to a first cryptographic address; and assigning the first privilege to the first cryptographic address.

BLOCKCHAIN COMPUTING PLATFORM FOR MASTER DATA MANAGEMENT

NºPublicación:  US2025328693A1 23/10/2025
Solicitante: 
TRUIST BANK [US]
Truist Bank
US_2025328693_PA

Resumen de: US2025328693A1

Systems and methods call a portion of an application programming interface (API) to access a portion of a current state data server of the blockchain computing platform (BCP) configured to perform virtual machine processing, the BCP comprising interconnected data processing nodes that include: a master ledger configured to store data asset records for master data received from decentralized application transactions performed via the interconnected data processing nodes, and peer nodes configured to provide cryptographic algorithmic trust control for master data management of the master data. The calling includes an API call to the current state data server to obtain current state results of certified transaction(s) in the master ledger, the certified transaction(s) having been certified at least in part via an endorsement protocol. Current state results of the certified transaction(s) are received from the current state server and displayed via a user interface of the user device.

SYSTEM AND METHODS OF SECURE BUSINESS-TO-BUSINESS TRANSACTIONS

NºPublicación:  US2025328899A1 23/10/2025
Solicitante: 
DELL PRODUCTS L P [US]
Dell Products L.P
US_2025328899_PA

Resumen de: US2025328899A1

Methods and systems for generating and executing secure transactions in a business-to-business (B2B) environment are disclosed. Secure B2B transactions are implemented through a private blockchain network. An enterprise-wide private blockchain network is implemented between the concerning parties of a B2B transaction for the duration of a purchase cycle. The private network may include a number of sub-systems and transactions between parties, including the sub-systems, may be executed via one or more channels using smart contracts. Transactions are be endorsed by relevant parties before details of the transaction are added to a distributed ledger.

DECENTRALIZED NETWORK WITH NEAR INSTANTANEOUS TERMINAL TRANSFERS

NºPublicación:  US2025328878A1 23/10/2025
Solicitante: 
NCR ATLEOS CORP [US]
NCR Atleos Corporation
US_2025328878_PA

Resumen de: US2025328878A1

A cloud-based service creates and maintains custodial digital wallets for parties to value transfers. Each wallet funded by the corresponding party with cryptocurrency and/or a fiat currency. The cloud-based service provides value transfers between two parties having custodial wallets without any on-chain blockchain operations making such transfers nearly instantaneous. The cloud-based service also provides transfers between one party with a custodial wallet and another party without a custodial wallet by using a liquidity wallet and/or a liquidity account to perform the transfers nearly instantaneously and by initiating any needed blockchain operations on the blockchain to properly reflect any debit or redemption made from the liquidity wallet on the blockchain.

Custom Payment Tokens for Payments by Using Optical Tones and Neuromorphic Spiking Neural Networks

NºPublicación:  US2025328876A1 23/10/2025
Solicitante: 
BANK OF AMERICA CORP [US]
Bank of America Corporation
US_2025328876_PA

Resumen de: US2025328876A1

Digital payment systems and methods leveraging optical tones, blockchain technology, and neuromorphic computing to enhance transaction security and flexibility are disclosed. By initiating transactions with unique optical tones generated through mobile IoT applications, payment instructions are encoded into visually encrypted signals, ensuring high security from the outset. Multi-Factor Authentication (MFA), including advanced facial recognition via Convolutional Neural Networks (CNNs), authenticates users, while Spiking Neural Networks (SNNs) process and filter the optical tones, focusing on pertinent transaction details. The system utilizes blockchain oracles and smart contracts for validating transactions and automating the execution of payment instructions, respectively. A novel aspect of this invention is the ability to generate custom payment tokens, either embedded within optical tones or as separate entities, to facilitate specific transactions. This approach not only significantly enhances the security of digital payments but also introduces unprecedented flexibility in managing financial transactions, setting spending limits, and executing recurring payments.

BLOCKCHAIN-BASED DATA PROCESSING METHOD AND APPARATUS, DEVICE, AND MEDIUM

NºPublicación:  US2025328903A1 23/10/2025
Solicitante: 
TENCENT TECH SHENZHEN COMPANY LIMITED [CN]
TENCENT TECHNOLOGY (SHENZHEN) COMPANY LIMITED
US_2025328903_A1

Resumen de: US2025328903A1

A blockchain-based data processing method, performed by a consensus node on a second blockchain, includes: obtaining a cross-chain message submitted by a forwarding service device, and obtaining a blockchain identification carried in the cross-chain message associated with cross-chain transaction data stored in a first blockchain; obtaining, in a second blockchain corresponding to the blockchain identification, block Merkle information corresponding to the first blockchain, and obtaining, in a block Merkle tree represented by the block Merkle information, a Merkle proof set corresponding to the cross-chain message, the Merkle proof set including node information of one or more nodes in the block Merkle tree,; verifying validity of the cross-chain message according to the Merkle proof set and the block Merkle information; and obtaining a transaction execution result corresponding to the cross-chain message in response to verification succeeds, and storing the transaction execution result into the second blockchain.

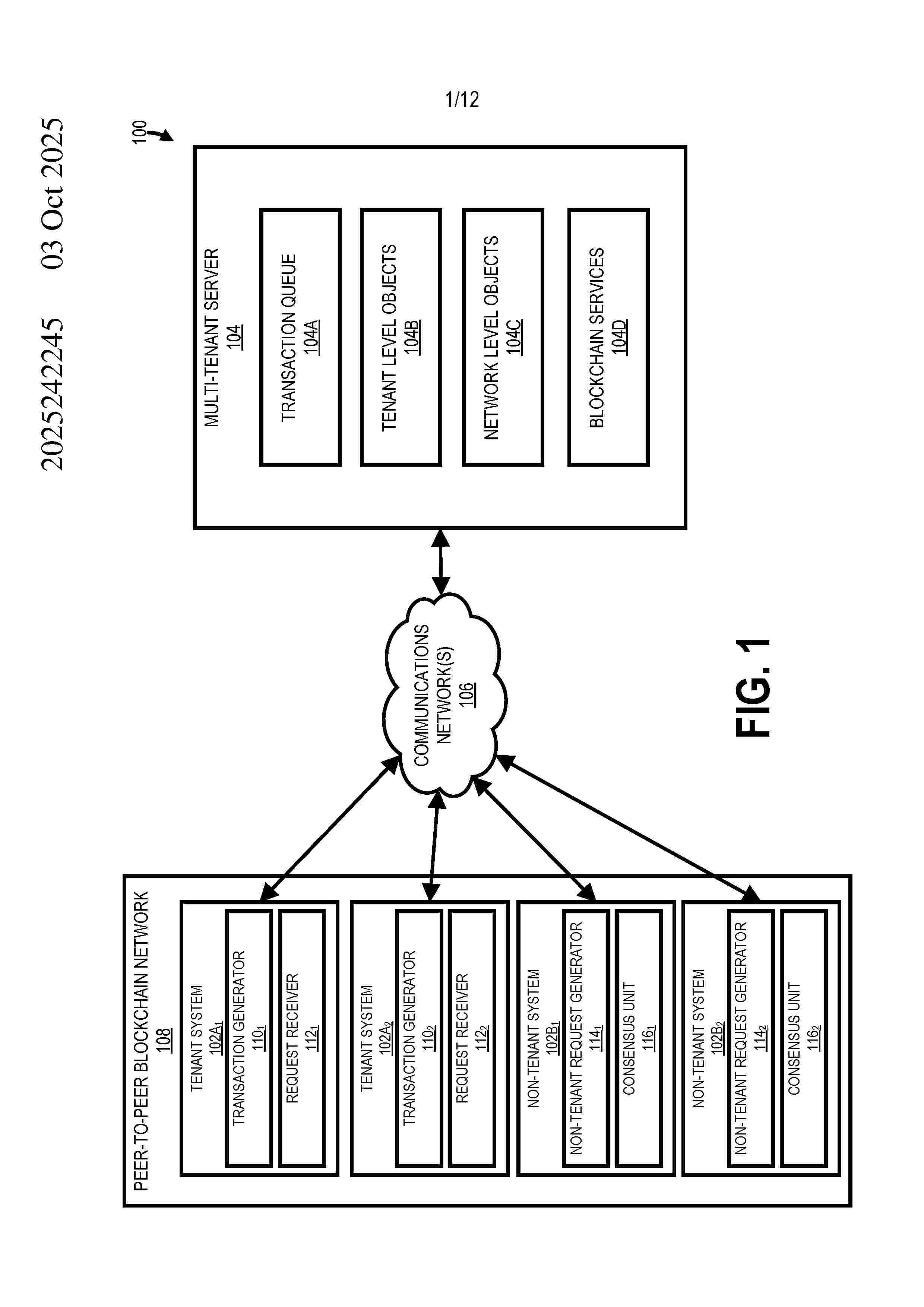
Lightweight node in a multi-tenant blockchain network

NºPublicación:  AU2025242245A1 23/10/2025
Solicitante: 
SALESFORCE INC
Salesforce, Inc
AU_2025242245_A1

Resumen de: AU2025242245A1

A method for managing data by a multi-tenant server in a distributed network is described. The multi-tenant server manages a multi-tenant environment for a set of tenant systems and peers in the distributed network, which include the set of tenant systems and a set of non-tenant systems. The method includes receiving a tenant transaction request to modify an object in the distributed network, wherein the tenant transaction request is received from a tenant system in the set of tenant systems based on a non-tenant transaction request from a non- tenant system from the set of non-tenant systems; generating, on behalf of the tenant system and the non-tenant system, a transaction object based on an exchange object and the tenant transaction request; and making, on behalf of the tenant system, the transaction object available to the sets of tenant non-tenant systems to attempt to obtain consensus for modifying the object. A method for managing data by a multi-tenant server in a distributed network is described. The multi-tenant server manages a multi-tenant environment for a set of tenant systems and peers in the distributed network, which include the set of tenant systems and a set of non-tenant systems. The method includes receiving a tenant transaction request to modify an object in the distributed network, wherein the tenant transaction request is received from a tenant system in the set of tenant systems based on a non-tenant transaction request from a non- tenant system from

METHOD AND SYSTEM FOR TRACKING PERSONAL PROPERTY COLLATERAL

NºPublicación:  US2025328958A1 23/10/2025
Solicitante: 
CREDIOT INC [US]
Crediot, Inc
US_2025328958_PA

Resumen de: US2025328958A1

A tracking and recording system is provided for tracking and documenting personal property. Personal property, such as electronic or “IoT” devices having a communication interface, are placed in communication with a tracking system which receives information from those items of personal property and utilizes that information to verify the location and/or existence of the property. A record of the personal property may also be created which includes information which identifies the property, liens, transfers of ownership, and verifications of the location of the property. The record may comprise a block chain of information regarding the property.

MULTIPLAYER ONLINE GAME SYSTEM

NºPublicación:  US2025328875A1 23/10/2025
Solicitante: 
RAPIDFIRE UNICORN LTD [GB]
RAPIDFIRE UNICORN LIMITED
US_2025328875_A1

Resumen de: US2025328875A1

There is provided a computer implemented method for calculating scores for players participating in a multi-player online game. The method comprises: providing or making available the multi-player online game to each player's computing device; generating player scores for the game depending on player actions and interactions; providing or making available to the players a digital wallet or account that is configured to store and manage game tokens, currency, fiat currency or crypto currency, where the digital wallet or account is based on a ledger, blockchain, distributed ledger, centralised ledger, or any other data structure; adjusting each player's token balance on the digital wallet or account based on player actions and interactions; and displaying on each player's computing device each player's game score, which is dynamically linked to their token balance.

ADJUSTABLE AND BLENDED CONSENSUS MECHANISM FOR BLOCKCHAIN VALIDATION

NºPublicación:  WO2025221852A1 23/10/2025
Solicitante: 
AVA LABS INC [US]
AVA LABS, INC
WO_2025221852_PA

Resumen de: WO2025221852A1

A method for blending consensus protocols and weighting nodes in a blockchain network includes determining a current state of a blockchain network, comparing the current state of the blockchain network to a set of predetermined conditions, identifying a predetermined condition that matches the current state of the blockchain network, and applying a blend of consensus protocols that correspond to the predetermined condition.

SYSTEM FOR RECORDING VERIFICATION KEYS ON A BLOCKCHAIN

NºPublicación:  EP4637076A1 22/10/2025
Solicitante: 
NCHAIN LICENSING AG [CH]
nChain Licensing AG
EP_4637076_PA

Resumen de: EP4637076A1

Systems and methods described herein relate to the execution of locking transactions in a blockchain system. In the context of smart contracts, it may be advantageous to have a public record (e.g., recorded on a blockchain) of a proof of correct execution of a circuit published by a worker and the verification key, thereby allowing anyone (e.g., nodes of the blockchain) to verify validity of the computation and proof. However, there are challenges to recording large blocks of data (e.g., large keys that may comprise multiple elliptic curve points) on the blockchain. For example, in a Bitcoin-based blockchain network, a protocol that utilizes standard transactions may be constrained to locking scripts and unlocking scripts that are collectively not larger than a first predetermined size limit, and the size of a redeem script (if utilized) may be limited to being no more than a second predetermined size limit.

ELEVATING OPTIMISTIC CONCURRENCY CONTROL IN PERMISSIONED BLOCKCHAINS WITH EXECUTE-ORDER-VALIDATE DESIGN PARADIGM

NºPublicación:  WO2025213464A1 16/10/2025
Solicitante: 
HUAWEI CLOUD COMPUTING TECH CO LTD [CN]
HUAWEI CLOUD COMPUTING TECHNOLOGIES CO., LTD
WO_2025213464_PA

Resumen de: WO2025213464A1

A method for handling blockchain transaction where a client transmits a request to endorse a transaction with a special indication that such transaction should be batched with other transactions to one or more endorsing peers. Moreover, each endorsing peer simulates persisting the transaction invocation request to the ledger and, if the simulation is successful, adds an identifier for the transaction, TxID and invocation parameters to a WriteSet and sends a response to the client. In addition, the client sends an order request for the transaction to an ordering service for the inclusion of the transaction in a block, such as a gossip message received by each peer, which validates and commits the transaction. Moreover, a coordinator invokes a transaction that triggers the batch execution of a group of such pending transactions, such as all transactions of the batch are executed as one transaction representing the impact of all batched transactions.

SYSTEM AND METHOD FOR DETERMINING VOTER ELIGIBILTY AND FACILITATING SECURE ELECTRONIC VOTING

NºPublicación:  US2025322708A1 16/10/2025
Solicitante: 
JPMORGAN CHASE BANK N A [US]
JPMorgan Chase Bank, N.A
US_2024078859_PA

Resumen de: US2025322708A1

A method for performing a determination of voter eligibility and facilitation of secure electronic voting is provided. The method includes authenticating a voter according to security setting and displaying a voting page for a jurisdiction corresponding to the voter's residence. The method then transmits to an adjudicating entity, voter information for determination of voter eligibility, and stores the voter information in a non-public blockchain. The method further includes determining whether the voter is eligible to vote based on the voter information stored in the non-public blockchain, generating a unique voter specific ballot for the voter in response to a determination that the voter is eligible to vote, and transmitting, to the adjudicating entity, a ballot selection received from the voter. The ballot selection is then stored on a public blockchain, and made available for release.

DECENTRALIZED CUSTODIAL WALLETS FOR SECURE BLOCKCHAIN TRANSACTIONS

NºPublicación:  US2025322392A1 16/10/2025
Solicitante: 
SIMBA CHAIN INC [US]
Simba Chain, Inc

Resumen de: US2025322392A1

Devices and systems for implementing decentralized custodial wallets are described. The described embodiments advantageously provide private key management, decentralization, and privacy. Embodiments of the disclosed technology further provide an example method that includes receiving, from a user, an input indicative of an instruction that creates a decentralized identifier (DID) associated with a public/private key pair of the user that includes a user public key and a user private key. The method further includes transmitting, to a data registry on a blockchain, public information associated with the user and the user public key, generating (a) a verifiable credential (VC) data structure comprising the DID, a plurality of attributes, and a first plurality of proofs, and (b) a verifiable presentation (VP) data structure comprising the VC data structure and a second proof. Herein, each proof of the first plurality of proofs verifies a veracity of a corresponding attribute of the plurality of attributes, each proof is signed by the DID, and the VC data structure is signed by a VC-generation key.

STORING GENERATED DIGITAL OBJECTS ON A DISTRIBUTED LEDGER

NºPublicación:  US2025322007A1 16/10/2025
Solicitante: 
SONOS INC [US]
Sonos, Inc
US_2025278429_PA

Resumen de: US2025322007A1

Generative media content (e.g., generative audio) can be dynamically generated based on various inputs, which can include blockchain data. A playback device accesses blockchain data stored via a distributed ledger and generates media content based at least in part on the blockchain data. The playback device can access a library of pre-existing media segments and arrange a selection of pre-existing media segments from the library for playback according to a generative media content model and based at least in part on the blockchain data. The generated media content can then be played back via the playback device.

IDENTITY AUTHENTICATION METHOD BASED ON BUILDING INTERNET OF THINGS

NºPublicación:  WO2025214178A1 16/10/2025
Solicitante: 
GD MIDEA HEATING & VENTILATING EQUIPMENT CO LTD [CN]
UNIV OF ELECTRONIC SCIENCE AND TECHNOLOGY OF CHINA [CN]
\u5E7F\u4E1C\u7F8E\u7684\u6696\u901A\u8BBE\u5907\u6709\u9650\u516C\u53F8,
\u7535\u5B50\u79D1\u6280\u5927\u5B66
WO_2025214178_PA

Resumen de: WO2025214178A1

An identity authentication method based on a building Internet of Things. The method comprises: a client sending a first request message for acquiring an anonymous identifier to a server; when the first request message passes verification against a real user information table previously uploaded to a private blockchain, the server generating an anonymous identifier on the basis of a user authentication identifier, uploading anonymous user information comprising the anonymous identifier to an anonymous user information table of a consortium blockchain, and returning the anonymous identifier to the client; the client sending a second request message for acquiring an anonymous credential to a first management node; and when it is verified on the basis of the anonymous user information table that a user corresponding to the anonymous identifier has permission to access a target building device, the first management node generating an anonymous credential corresponding to the anonymous identifier, and returning the anonymous credential to the client.

METHODS, ARCHITECTURES, APPARATUSES AND SYSTEMS DIRECTED TO BLOCKCHAIN-ENABLED COLLABORATIVE APPLICATION DEPLOYMENT AND OPERATION

NºPublicación:  WO2025217178A1 16/10/2025
Solicitante: 
INTERDIGITAL PATENT HOLDINGS INC [US]
INTERDIGITAL PATENT HOLDINGS, INC
WO_2025217178_PA

Resumen de: WO2025217178A1

Procedures, methods, architectures, apparatuses, systems, devices, and computer program products directed to blockchain-enabled collaborative application deployment and operation in wired and/or wireless communications are provided. Among the methods is a method that may include transmitting a request to join a collaboration group associated with a set of collaborative applications; receiving, based on the request, a response including information indicating a proposal of a smart contract; transmitting feedback based on the proposal of the smart contract; and receiving an acknowledgement notification indicating status information of the smart contract and that one or more devices have joined the collaboration group.

A MPC SYSTEM FOR CROSS-CHAIN COMMUNICATION BETWEEN MPC GROUPS

NºPublicación:  WO2025215021A1 16/10/2025
Solicitante: 
PARTISIA INFRASTRUCTURE APS [DK]
PARTISIA INFRASTRUCTURE APS
WO_2025215021_PA

Resumen de: WO2025215021A1

A MPC system and a method is provided to reduce the total costs of a multi-party computation using pre-processed data in a secure manner and ensure a high quality and validity of the computation when using pre-processed data in the MPC, such that the MPC protocol can perform the required computation in an easy and rapid manner. The MPC system for cross-chain communication between MPC groups comprises a plurality of servers to execute programs related to MPC or blockchains. The MPC system comprises MPC computing groups comprising at least two servers, wherein the MPC computing group is configured to perform MPC using MPC pre-processed data, wherein said MPC computing group is configured to be in communication with a first blockchain. One or more MPC pre-processing groups comprising at least two servers, wherein the MPC pre-processing group is configured to generates MPC pre-processed data, wherein said MPC pre-processing group is configured to be in communication with a second blockchain. At least one first server supports the first blockchain and at least one second server supports the second blockchain. The MPC computing group generates an order for MPC pre-processed data in the first blockchain. The first blockchain deploys the order for the MPC pre-processed data into the second blockchain. The second blockchain is configured to selects MPC pre-processing group or groups to provide the MPC pre-processed data. The selected MPC pre-processing group provides the MPC pre-proce

SYSTEM AND METHOD FOR DECENTRALIZED REAL-TIME COMMUNICATION

NºPublicación:  WO2025214856A1 16/10/2025
Solicitante: 
CHROMAWAY AB [SE]
CHROMAWAY AB
WO_2025214856_PA

Resumen de: WO2025214856A1

System (100) for real-time communication over a communication network (10), the system (100) comprising resource servers (210), a blockchain (140) and a decentralized network coordinator, DNC, (130) defined in terms of one or several smart contracts (142) defined on the blockchain (140). The DNC (130) is configured to process blockchain transactions from the resource servers (210); store, on the blockchain (140), updated routing information (143) and status information regarding individual resource servers (210); execute an automated voting, resulting in an updated set of rating scores for one or several of the resource servers (210); and allow each of a plurality of peers (20) to access communication information from the blockchain (140), allowing the peer (20) to initiate communication over the transport layer protocol and using non-blockchain communication transactions, with a selected resource server (210). The selected resource server (210) routes the non-blockchain communication and receives remuneration from the DNC (130).

SECURE TOKEN PREMINTING IN BLOCKCHAIN SYSTEMS

Nº publicación: WO2025216808A1 16/10/2025

Solicitante:

CIRCLE INTERNET FINANCIAL LTD [IE]
ALIWEH KHALID [US]
CIRCLE INTERNET FINANCIAL, LTD,
ALIWEH, Khalid

WO_2025216808_PA

Resumen de: WO2025216808A1

Certain aspects of the present disclosure provide techniques for securely minting and distributing tokens on a blockchain. An example method generally includes configuring, by an owner of a token deployed on a blockchain, a premint wallet smart contract associated with a token preminter that generates preminted tokens for the token. The token preminter and premint token spenders are configured by the owner of the premint wallet smart contract. A plurality of tokens are minted by the token preminter to the premint wallet. At one of the premint token spenders, a request to spend an amount of preminted tokens from the premint wallet is received. The requested amount of preminted tokens is compared to a spending allowance defined for the token premint spender, and based on the comparing, the requested amount of preminted tokens are transferred by the token premint spender from a premint wallet to a destination wallet.

traducir