Ministerio de Industria, Turismo y Comercio LogoMinisterior
 

Alerta

Resultados 120 resultados
LastUpdate Última actualización 04/03/2026 [07:44:00]
pdfxls
Solicitudes publicadas en los últimos 30 días / Applications published in the last 30 days
previousPage Resultados 25 a 50 de 120 nextPage  

CONTROL METHOD, DEVICE, AND PROGRAM

NºPublicación:  WO2026042325A1 26/02/2026
Solicitante: 
PANASONIC INTELLECTUAL PROPERTY MAN CO LTD [JP]
\u30D1\u30CA\u30BD\u30CB\u30C3\u30AF\uFF29\uFF30\u30DE\u30CD\u30B8\u30E1\u30F3\u30C8\u682A\u5F0F\u4F1A\u793E
WO_2026042325_PA

Resumen de: WO2026042325A1

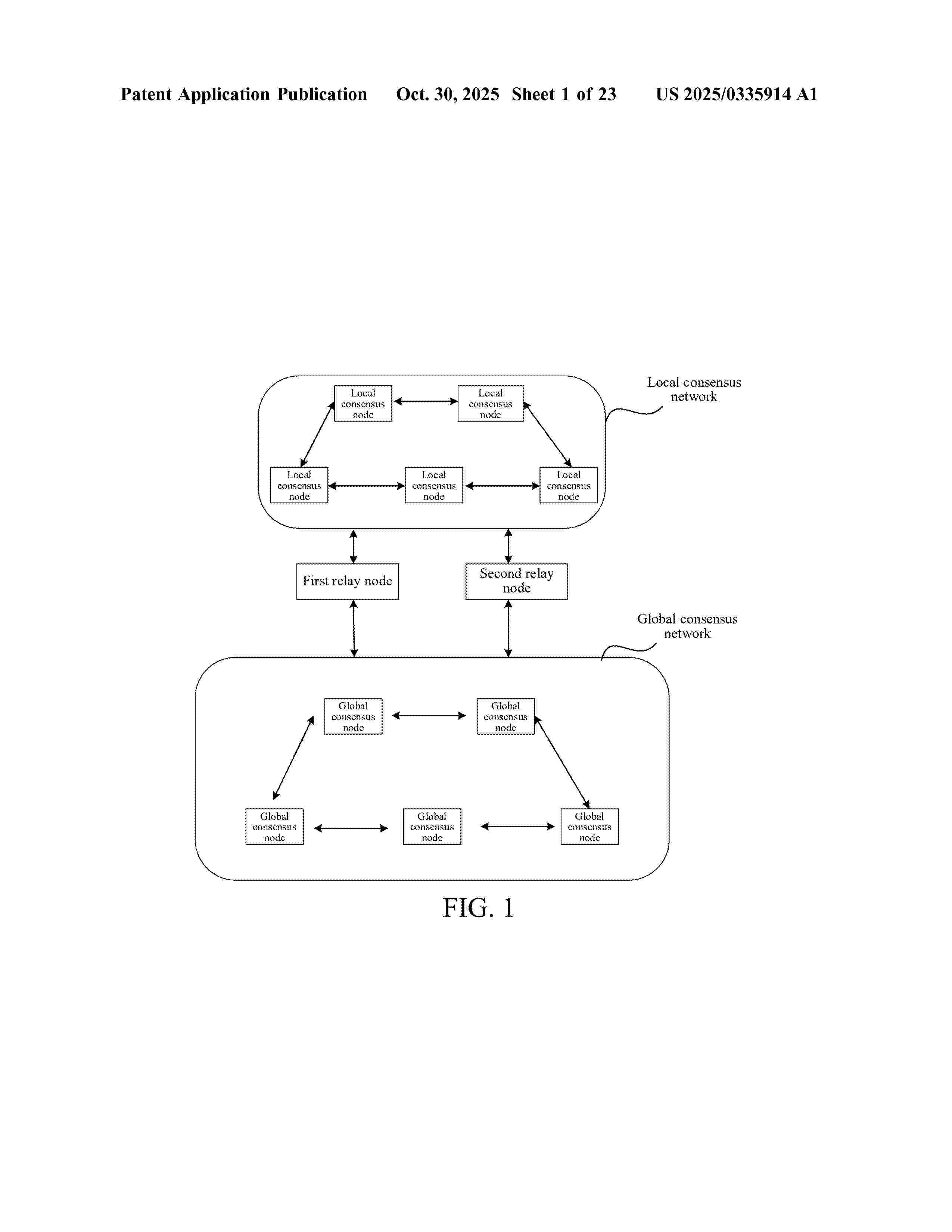
A control method executed by a first node managing a second blockchain acquires a deletion request for deleting one first blockchain, among one or more first blockchains, from a first terminal operated by a first administrator managing the one first blockchain (S113), deletes information corresponding to the deletion of the one first blockchain from a second blockchain, including first management information for managing the one or more first blockchains, on the basis of the deletion request (S115), and, when transaction data of a certain type is not included in the second blockchain as a result of the deletion, transmits a deletion request for deleting the second blockchain to a second node that manages a third blockchain including second management information for managing the second blockchain (S118).

Minting and transacting tokenized differentiated energy attributes using blockchain

NºPublicación:  GB2643651A 25/02/2026
Solicitante: 
EARN DLT INC [US]
Earn DLT, INC
GB_2643651_PA

Resumen de: GB2643651A

Systems and methods for quantifying, tracking, and transacting differential energy attributes (DEA) tokens using a private block chain network and a cloud-based application platform. Differentiated energy attributes verified by a third-party verification entity pursuant to emission standards are digitized as differentiated energy attribute tokens (DEATs). A predetermined formula correlates the number of DEATs to be minted to the units of differentiated energy produced. DEATs are published to a differentiated energy producer's modified private blockchain multi-signature wallet (mMSW) governed by the terms and conditions of a smart contract. DEATs may be transacted in a bilateral transaction between a buyer and seller under a transaction smart contract. Smart contracts are executed by one of more authorized signatories using their respective platform managed digital signatures (PMDS) instead of blockchain based public or private keys.

DATA PROCESSING METHOD BASED ON BLOCKCHAIN, AND DEVICE AND READABLE STORAGE MEDIUM

NºPublicación:  EP4700567A1 25/02/2026
Solicitante: 
TENCENT TECH SHENZHEN CO LTD [CN]
Tencent Technology (Shenzhen) Company Limited
EP_4700567_PA

Resumen de: EP4700567A1

A data processing method based on a blockchain, and a device and a readable storage medium. The method comprises: performing sharding processing on an intermediate code corresponding to a smart contract, so as to obtain A byte arrays, wherein A is a positive integer greater than 1 (S101); generating A program shards on the basis of the serial number of each byte array, the total number A of shards and each byte array, wherein each byte array corresponds to one program shard (S102); and sending the A program shards to a blockchain network, such that blockchain nodes in the blockchain network upload the A program shards to a chain, wherein the A program shards, which have been uploaded to the chain, are used for being assembled to generate a complete intermediate code (S103). The present method can improve the applicability of smart contract deployment, can improve the efficiency of smart contract installation, and can also avoid manual approval errors.

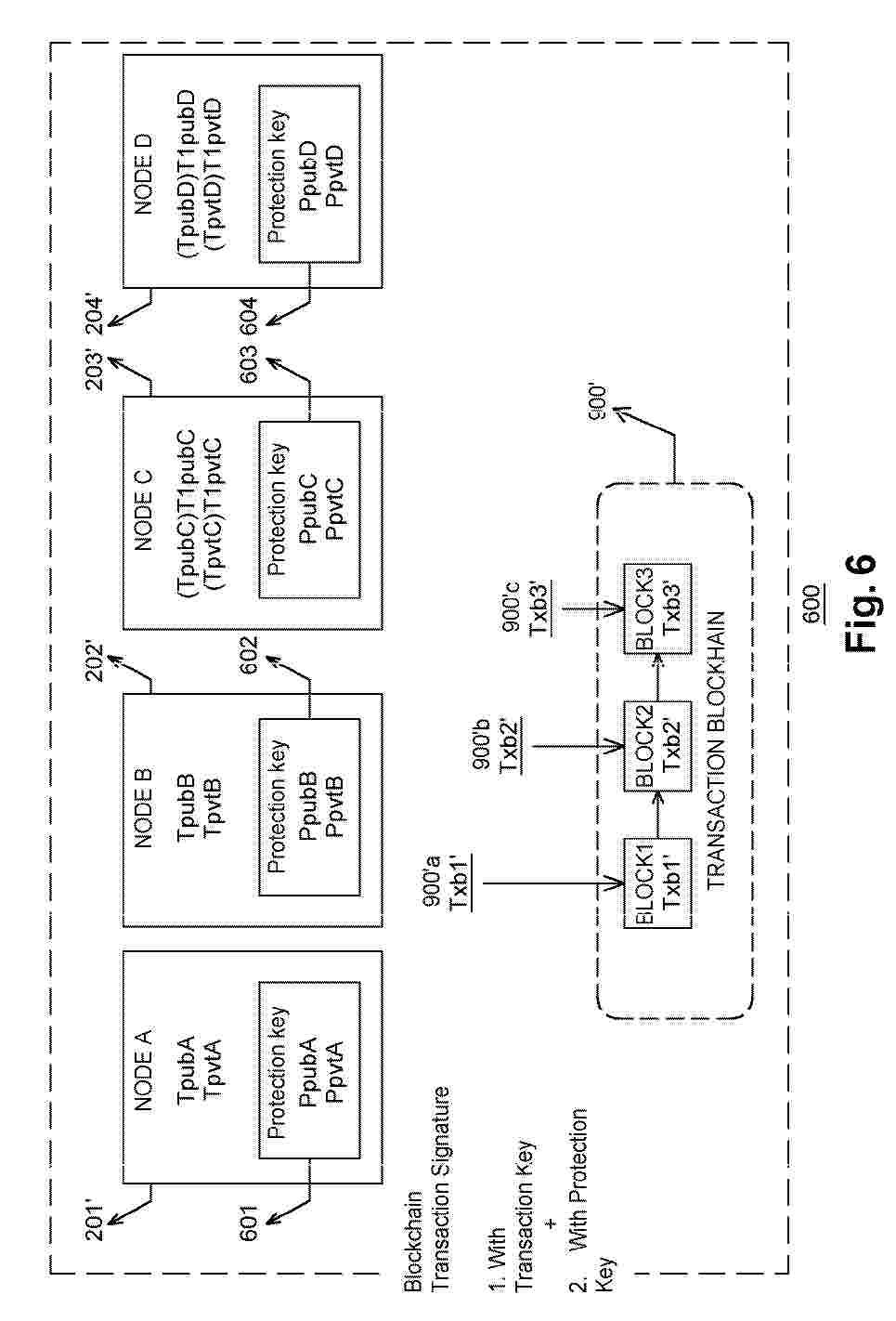
SYSTEM AND METHOD FOR ENHANCING BLOCKCHAIN NODE SECURITY BY KEY ROTATION

NºPublicación:  EP4701127A1 25/02/2026
Solicitante: 
THALES DIS CPL USA INC [US]
THALES DIS CPL USA, INC
EP_4701127_PA

Resumen de: EP4701127A1

A system or method for enhancing blockchain node security in a computing environment can include one or more processors and memory having computer instructions which when executed causes the one or more processors to perform certain operations. The operations can include providing a protection key pair for each blockchain node in the nodal network, providing a keys blockchain for recording nodal-transaction keys and a protection key of the protection key pair, and recording a blockchain transaction that uses an additional signature of a transaction by the protection key.

SYSTEM AND METHOD FOR DYNAMIC AUTHENTICATION OF PRODUCTS USING BLOCKCHAIN TECHNOLOGY

NºPublicación:  EP4700667A1 25/02/2026
Solicitante: 
CERTIBLOCK S A S [CO]
Certiblock S.A.S
EP_4700667_A1

Resumen de: EP4700667A1

The invention is developed in the field of technology. The invention relates to a system for dynamically authenticating alcoholic beverages, including digital cryptographic mechanisms that allow real-time access to the status of an alcoholic beverage, through the use of blockchain technology. In particular, the system consists of a "quick-response" (QR) code provided on the inside of the lid (liner) or cap or cork or dispenser or device used to close the product and the QR code is only displayed when the product is open, to then be authenticated by the user when they wish to verify the legitimacy and traceability of the product. A cryptoasset (not cryptocurrency) is linked to each QR code, which is backed by the blockchain, and, by reading the unique QR code printed on each cap, the metadata thereof is obtained via the web. Only the first status of the bottle "BOTTLE SAFE FOR CONSUMPTION" is obtained when it is read for the first time, then the second status of the digital asset "BOTTLE PREVIOUSLY OPENED" will always be displayed, making it impossible to return to the first status of the bottle given the immutability and security of the blockchain. This dynamic digital asset can be associated with a type of dynamic NFT, such as a cryptoasset (NOT CRYPTOCURRENCY), and therefore, the system according to the invention constitutes a novel and inventive alternative for the traceability of products by manufacturers and users, in particular in the liquor industry, since it constitut

METHOD FOR SECURELY REMOVING BLOCKS FROM EXISTING BLOCKCHAIN

NºPublicación:  EP4700631A1 25/02/2026
Solicitante: 
EAGLE PMX AG [CH]
Eagle PMX AG
EP_4700631_PA

Resumen de: EP4700631A1

Die vorliegende Erfindung betrifft ein Verfahren zum sicheren Entfernen von Blöcken aus einer bestehenden Blockchain in einer abgeschlossenen Infrastruktur wie zum Beispiel einem Firmennetzwerk. Das vorgeschlagene Verfahren schafft den Vorteil, dass Einträge aus der verketteten Liste entfernt werden können, ohne, dass hier die weitere Integrität der Kette gefährdet ist. Blockchains sehen grundsätzlich nicht vor, dass Blöcke aus der Datenstruktur entfernt werden, was durch die redundante Speicherung verhindert wird. Die vorliegende Erfindung überwindet diesen Nachteil und schafft zudem einen Mechanismus, der es erlaubt die Datensätze nachträglich ggf. wieder herzustellen. Die Erfindung ist ferner gerichtet auf eine entsprechend eingerichtete Systemanordnung. Ferner wird ein Computerprogrammprodukt mit Steuerbefehlen vorgeschlagen, welche das vorgeschlagene Verfahren implementieren beziehungsweise die vorgeschlagene Vorrichtung und Anordnung betreiben.

VERIFICATION USING BLOCKCHAIN SMART CONTRACT

NºPublicación:  EP4699258A1 25/02/2026
Solicitante: 
VISA INT SERVICE ASS [US]
Visa International Service Association
CN_120937300_PA

Resumen de: CN120937300A

A method is disclosed. The method includes transmitting a verification request containing a wallet account identifier associated with a digital wallet to a smart contract on a blockchain network or a smart contract application associated with the smart contract. And the smart contract or the smart contract application program uses a block chain on the block chain network to verify the wallet account identifier. The method also includes receiving a verification response to verify the wallet account from the smart contract or the smart contract application on the blockchain network. The method further includes initiating transmission of an authorization request message containing credentials associated with the wallet account identifier to an authorization entity computer.

CROSS CHAIN TOKEN EXCHANGE

NºPublicación:  WO2026039701A1 19/02/2026
Solicitante: 
CHAINBLOQ LABS INC [US]
CHAINBLOQ LABS INC
WO_2026039701_PA

Resumen de: WO2026039701A1

A method for cross-blockchain transactions includes receiving, from a user, a request to exchange a first amount of a first token on a first blockchain for a second token on a second blockchain. A first smart contract on the first blockchain is executed to lock the first amount of the first token. Based on the first amount and an exchange rate of the first token to the second token, a second amount of the second token is determined. A second smart contract on the second blockchain is executed to release the second amount of the second token to a wallet owned by the user, the wallet being associated with the second blockchain.

METHODS AND SYSTEMS FOR DYNAMIC UPDATE TO ACCESS CONTROL RULES IN A COMPUTING SYSTEM BASED ON BLOCKCHAIN MONITORING

NºPublicación:  AU2026200632A1 19/02/2026
Solicitante: 
SHOPIFY INC
SHOPIFY INC
AU_2026200632_A1

Resumen de: AU2026200632A1

A computer-implemented method, including generating an access condition at a server with regard to an online resource by identifying a token collection associated with access to the online resource, wherein ownership of the tokens is managed using a blockchain, obtaining, from a blockchain network associated with the blockchain, data regarding the token collection including a count of tokens circulating and ownership data, and selecting, as the access condition based on the data regarding the token collection, one or more token criteria based on an intended number of qualified wallets, receiving, at the server, an access request for the online resource from a user device associated with a wallet, obtaining token data from the blockchain network with regard to the wallet, and authorizing access to the online resource for the user device responsive to determining that the token data meets the access condition. an a n

METHODS AND SYSTEMS FOR EXCHANGING CONFIDENTIAL INFORMATION USING DECENTRALIZED IDENTIFIERS VIA A BLOCKCHAIN

NºPublicación:  WO2026039126A1 19/02/2026
Solicitante: 
WOLTERS KLUWER DXG U S INC [US]
WOLTERS KLUWER DXG U.S., INC.,
WO_2026039126_PA

Resumen de: WO2026039126A1

Systems and methods for securely accessing information pertaining to an upstream entity using a verifiable credential with an embedded distributed identifier includes generating an authorization request for access to the information by a downstream entity. The authorization request includes a decentralized identifier associated with the downstream entity and is transmitted to a content storage entity. An authorization notification corresponding to the authorization request is received. An authorization token is retrieved. The authorization token includes a verifiable credential generated by the upstream entity and incorporating the decentralized identifier. A request transaction including a request to access the information pertaining to the upstream entity and the authorization token is generated and transmitted to the content storage entity. A verification challenge corresponding to the request transaction based on the verifiable credential is received and a response is transmitted. A reply transaction is received granting access to the information pertaining to the upstream entity.

METHOD, APPARATUS, AND COMPUTER-READABLE MEDIUM OF A BLOCK CHAIN NETWORK FOR IMPLEMENTING A CONSENSUS PROTOCOL

NºPublicación:  WO2026039500A1 19/02/2026
Solicitante: 
KUNATO INC [US]
KUNATO INC
WO_2026039500_PA

Resumen de: WO2026039500A1

A method, apparatus, and computer-readable medium for implementing a consensus protocol on a block chain network, including assigning a plurality of dual-mode nodes of the block chain network to a plurality of block numbers, identifying a dual-mode node in the plurality of dual¬ mode nodes that is assigned to a next block number in the plurality of block numbers, mining, with the assigned dual-mode node, a block of one or more unconfirmed transactions on the block chain network to generate a proposed new block for addition to the block chain network, validating, with one or more non-assigned dual-mode nodes in the plurality of dual-mode nodes, the proposed new block, and minting, with the assigned dual-mode node, the proposed new block as the next block in the block chain network based at least in part on successful validation of the proposed new block by the one or more non-assigned dual-mode nodes.

LIGHT CLIENTS FOR STATE TRANSITION PROOFS IN MULTI-BLOCKCHAIN ECOSYSTEMS

NºPublicación:  US20260052148A1 19/02/2026
Solicitante: 
AVA LABS INC [US]
Ava Labs, Inc
US_20260052148_PA

Resumen de: US20260052148A1

In some implementations, a method for processing state transition proofs in multi-blockchain ecosystems is provided. A registry blockchain network receives validator data that represents a validator set of a transaction blockchain network that is different from the registry blockchain network. The registry blockchain network stores the validator data on a registry blockchain, among validator data that represents other validator sets of other transaction blockchain networks. A registry client of the registry blockchain network receives a transaction identifier of a transaction that is purported to have been submitted by a transaction client to the transaction blockchain network, and evidence data of a committed state that indicates that the transaction has been included in a block that has been added to the transaction blockchain. The registry client independently verifies the evidence data of the committed state, based at least in part on the stored validator data.

METHOD, APPARATUS, AND COMPUTER-READABLE MEDIUM FOR EXECUTING OPERATIONS ON A HIERARCHICAL BLOCK CHAIN NETWORK

NºPublicación:  US20260052029A1 19/02/2026
Solicitante: 
KUNATO INC [US]
Kunato Inc
US_20260052029_PA

Resumen de: US20260052029A1

A method, apparatus, and computer-readable medium for executing operations on a hierarchical block chain network, including generating the hierarchical block chain network including a master block chain linked to a machine block chain, a content provider block chain, and a user block chain, receiving a plurality of requests to perform a plurality of operations on the hierarchical block chain network, the plurality of operations including executing a transfer from a user corresponding to the user sub-chain to a content provider corresponding to a content provider sub-chain that is linked to the content block and linking a user sub-chain in the one or more user sub-chains to a content block in the content block chain by updating the corresponding content block to reference the user sub-chain, and executing the plurality of operations based at least in part on detection of authorization from a majority of the three or more superusers.

PEER TO PEER NETWORK INTERCONNECTING PROOF OF ORIGIN-ENABLED NODES WITH APPLICATION-LEVEL INTERFACE

NºPublicación:  US20260052019A1 19/02/2026
Solicitante: 
CROSSBAR INC [US]
CROSSBAR, INC
US_20260052019_PA

Resumen de: US20260052019A1

A secure peer-to-peer network is implemented with computing devices over unsecure network connections. Each computing device can include or be coupled to a proof of origin hardware. The proof of origin hardware can be validated by publicly available data, such as a trusted server. In addition, the proof of origin hardware can facilitate cryptographic key generation to facilitate encryption of communications at the computing devices, to secure such communications over the unsecure network connections. The proof of origin hardware can include hardware acceleration circuitry to provide network services, such as cryptocurrency transactions, blockchain validation computations, and even blockchain services integrating smart contracts, token exchange, survey services leveraging proof of origin data, distributed data backup, distributed computing, among others.

CRYPTOGRAPHIC PROOF OF DATA KNOWLEDGE

NºPublicación:  WO2026037597A1 19/02/2026
Solicitante: 
NCHAIN LICENSING AG [CH]
NCHAIN LICENSING AG
WO_2026037597_PA

Resumen de: WO2026037597A1

A computer-implemented method of using blockchain transactions of a blockchain to cryptographically prove knowledge of data, comprising: generating a first transaction, wherein the first transaction is configured enforce one or more conditions, wherein the one or more conditions require at least a) a first data value generated based on i) a first message and ii) a first signature generated by signing the first message with a first private key corresponding to a first public key associated with a first party, and b) a second data value generated based on i) a second message and ii) a second signature generated by signing the second message with a first private key corresponding to a first public key associated with a second party, are supplied to the first transaction by a second transaction submitted to the blockchain; and causing the first transaction to be submitted to a blockchain network.

METHOD, APPARATUS, AND COMPUTER-READABLE MEDIUM OF A BLOCK CHAIN NETWORK FOR IMPLEMENTING A CONSENSUS PROTOCOL

NºPublicación:  US20260052021A1 19/02/2026
Solicitante: 
KUNATO INC [US]
Kunato Inc
US_20260052021_PA

Resumen de: US20260052021A1

A method, apparatus, and computer-readable medium for implementing a consensus protocol on a block chain network, including assigning a plurality of dual-mode nodes of the block chain network to a plurality of block numbers, identifying a dual-mode node in the plurality of dual- mode nodes that is assigned to a next block number in the plurality of block numbers, mining, with the assigned dual-mode node, a block of one or more unconfirmed transactions on the block chain network to generate a proposed new block for addition to the block chain network, validating, with one or more non-assigned dual-mode nodes in the plurality of dual-mode nodes, the proposed new block, and minting, with the assigned dual-mode node, the proposed new block as the next block in the block chain network based at least in part on successful validation of the proposed new block by the one or more non-assigned dual-mode nodes.

SYSTEM AND METHOD FOR COMPREHENSIVE ESG PERFORMANCE MANAGEMENT WITH MULTI-DIMENSIONAL BUSINESS VALUE QUANTIFICATION

NºPublicación:  US20260050860A1 19/02/2026
Solicitante: 
SREEKUMAR RAKESH [US]
CHERIAN SUNIL C [US]
KAPUSKAR ASHUTOSH ARVIND [US]
PANDE ASHUTOSH [US]
RAMANAN RAGHAVAN [US]
Sreekumar Rakesh,
Cherian Sunil C,
Kapuskar Ashutosh Arvind,
Pande Ashutosh,
Ramanan Raghavan
US_20260050860_PA

Resumen de: US20260050860A1

A computerized method for comprehensive ESG performance management quantifies multi-dimensional business value through integrated processes. A universal sustainability intelligence module receives ESG data from multiple sources, encompassing environmental, social, and governance information. An AI-driven performance intelligence engine generates sustainability insights using a universal framework that includes topic-agnostic insight generation, cross-topic opportunity optimization, universal project evaluation, and integrated pathway development. A multi-dimensional value quantification engine calculates business value metrics across cost reduction, revenue enhancement, risk mitigation, capital structure optimization, workforce value creation, supply chain sustainability, and intangible value creation. A causal linkage analysis engine establishes relationships between ESG improvements and business outcomes using attribution algorithms. A blockchain trust foundation stores immutable records using cryptographic verification. The system generates comprehensive ESG performance reports including sustainability insights, business value metrics, and verified attribution of business value to specific ESG improvements.

CUSTOMIZATIONS OF PHYSICAL NON-FUNGIBLE TOKENS TO REFLECT CUSTOMIZATIONS TO PHYSICAL COLLECTIBLES

NºPublicación:  US20260050958A1 19/02/2026
Solicitante: 
AZUKI LABS INC [US]
Azuki Labs, Inc
US_20260050958_PA

Resumen de: US20260050958A1

Methods and apparatus are disclosed for customizing physical non-fungible tokens (NFTs) to reflect customizations to physical collectibles. A system includes database(s) configured to store image data indicative of a physical-backed NFT. The physical-backed NFT is a non-fungible token designated with a physical collectible. The system includes server(s) configured to retrieve recorded data from a blockchain. Upon identifying that a customization event is recorded on the blockchain, the server(s) are configured to store, in the database(s), the customization data that is associated with the customization event and included in the recorded data; identify and retrieve a digital customization that corresponds with the customization of the customization data retrieved from the blockchain; and create a customized physical-backed NFT that reflects a customized form of the physical collectible by modifying the physical-backed NFT with the digital customization.

SYSTEMS AND METHODS FOR CROWDFUNDED AUCTIONS, TOKENIZED REWARD DISTRIBUTION IN AUCTIONS, AND INCENTIVIZED AUCTION PARTICIPATION

NºPublicación:  US20260050951A1 19/02/2026
Solicitante: 
IMAGIFUND TECH LLC [US]
Imagifund Technologies, LLC
US_20260050951_PA

Resumen de: US20260050951A1

Multi-phase crowdfunding systems and methods include goal-verified funding with real-time transaction confirmation. Issuance of reward points are optionally fungibly paired with blockchain tokens. Exclusive reward fulfillment is provided via user-determined auction mechanics. Overpledged funds can be automatically allocated. A replay auction mechanism enables retained participation through persistent bid units. A non-cash bidding economy is restricted to validated contributors.

PROTECTION ARCHITECTURE USING PROOF OF INTEGRITY ON DISTRIBUTED LEDGERS

NºPublicación:  US20260050664A1 19/02/2026
Solicitante: 
WELLS FARGO BANK N A [US]
Wells Fargo Bank, N.A
US_20260050664_PA

Resumen de: US20260050664A1

Systems, methods, and computer-readable storage media for restricting exchanges using a proof of integrity model. One system includes memory and at least one processing circuit configured to receive, from a node on a first DLT network, an exchange request, the exchange request includes an amount of a digital asset to exchange, a content item, and a destination identifier. The at least one processing circuit is further configured to generate an exchange record and validate the exchange record in the amount of the digital asset based on a protection model. The at least one processing circuit is further configured to authorize, based on a consensus model, the exchange corresponding with the validated exchange record including the appended protection parameter. The at least one processing circuit is further configured to generate a new blockchain block on the first DLT network and transmit, to a second DLT network, an exchange notification.

SYSTEMS AND METHODS FOR FACILITATING BLOCKCHAIN APPLICATIONS

NºPublicación:  US20260050694A1 19/02/2026
Solicitante: 
KORNACKI ROBERT [PL]
ARQUEROS NICOLAS [VG]
KORNACKI Robert,
ARQUEROS Nicolas
US_20260050694_PA

Resumen de: US20260050694A1

A method for facilitating blockchain applications may include providing access to a scalability engine for at least one application that is implemented on a blockchain and facilitating execution of the application using the scalability engine. The scalability engine may use a smart contract on-chain that acts as a coordinator with an off-chain state machine that computes a state of the application. Various other methods, systems, and computer readable media are also disclosed.

MARKETPLACE FOR TRANSACTING AND MONETIZING DIGITAL ASSETS FOR IMMERSIVE PRESENTATIONS OF CERTIFIED MEMORIES

NºPublicación:  US20260050979A1 19/02/2026
Solicitante: 
REMINISEQUENCE INC [US]
Reminisequence, Inc
US_20260050979_PA

Resumen de: US20260050979A1

A system and method for certifying, sharing, and monetizing via marketplaces personal and collective memories as digital assets, integrated with blockchain or other immutable registry technologies. Users upload multimedia memory content, which is authenticated via biometric, contextual, or metadata-based verification. Artificial intelligence assists in structuring the memory and generating immersive presentations incorporating visual elements and optionally one or more sensory modalities including touch, smell, hearing, taste, moisture, nervous system sensations, and temperature. The immersive presentation is then minted as a unique non-fungible token (NFT/nxNFT) or equivalent digital asset, enabling privacy, access control, transferability, and monetization through sale, financing, rental, or co-ownership models. AI further supports market prediction, including dynamic pricing strategies. The system may incorporate a social ecosystem for voting, curation, and emotional engagement, alongside a governance layer for ethical oversight and category designation. Designed for scalability, cross-platform resonance, and anticipates future technologies ensuring interoperability with evolving digital asset standards.

EXTERNAL FIAT CASHOUT VIA A SELF-CUSTODY APPLICATION

NºPublicación:  US20260050915A1 19/02/2026
Solicitante: 
COINBASE INC [US]
Coinbase, Inc
US_20260050915_PA

Resumen de: US20260050915A1

Methods, systems, and devices for data management are described. A blockchain address application may receive a user input to exchange a first amount of a crypto token from the blockchain address application for a second amount of a fiat. The application may display, at a user interface after receiving the user input, an estimation associated with the exchange of the first amount for the second amount. The application may receive another user input to confirm the estimation and transmit, to a custodial token platform, a request to initiate the exchange. The request may cause execution of an on-chain transfer of the first amount of the crypto token from a first blockchain address of the blockchain address application to a second blockchain address associated with the custodial token platform and execution of an off-chain transfer of the second amount of the fiat from the custodial token platform to an external entity.

FORMING, AUTHENTICATING AND SECURING NON-FUNGIBLE ITEMS

NºPublicación:  US20260050934A1 19/02/2026
Solicitante: 
ELITE COINAGE CO [US]
Elite Coinage Co
US_20260050934_PA

Resumen de: US20260050934A1

Embodiments relate to a non-fungible physical (NFP) item. The non-fungible physical (NW) item comprises an identifier. The identifier is embedded and layered within the non-fungible physical item in an unplanned pattern. The identifier in the unplanned pattern is configured to provide high security against counterfeiting of the non-fungible physical (NFP) item. The identifier comprises at least one of a random marker and a unique marker. The unplanned pattern comprises at least one of a random pattern and a unique pattern. Further the non-fungible physical (NFP) item is registered as a non-fungible token on a blockchain. The NFP item is then paired with the non-fungible token for enabling two-way mutual authentication and enhanced authenticity. The pairing of the NFP item with the non-fungible token enables tracking condition, provenance, and grading of the NFP item.

METHODS AND SYSTEMS FOR EXCHANGING CONFIDENTIAL INFORMATION USING DECENTRALIZED IDENTIFIERS VIA A BLOCKCHAIN

Nº publicación: US20260050919A1 19/02/2026

Solicitante:

WOLTERS KLUWER DXG U S INC [US]
Wolters Kluwer DXG U.S., Inc

US_20260050919_PA

Resumen de: US20260050919A1

Systems and methods for securely accessing information pertaining to an upstream entity using a verifiable credential with an embedded distributed identifier includes generating an authorization request for access to the information by a downstream entity. The authorization request includes a decentralized identifier associated with the downstream entity and is transmitted to a content storage entity. An authorization notification corresponding to the authorization request is received. An authorization token is retrieved. The authorization token includes a verifiable credential generated by the upstream entity and incorporating the decentralized identifier. A request transaction including a request to access the information pertaining to the upstream entity and the authorization token is generated and transmitted to the content storage entity. A verification challenge corresponding to the request transaction based on the verifiable credential is received and a response is transmitted. A reply transaction is received granting access to the information pertaining to the upstream entity.

traducir