Ministerio de Industria, Turismo y Comercio LogoMinisterior
 

Alerta

Resultados 136 resultados
LastUpdate Última actualización 26/12/2025 [07:24:00]
pdfxls
Publicaciones de los últimos 120 días / Applications published in the last 120 days
previousPage Resultados 50 a 75 de 136 nextPage  

Negative pressure bearing platform for floating type offshore wind power floating body foundation construction

NºPublicación:  CN223481879U 28/10/2025
Solicitante: 
POWERCHINA GUIZHOU ENG CO LTD
\u4E2D\u56FD\u7535\u5EFA\u96C6\u56E2\u8D35\u5DDE\u5DE5\u7A0B\u6709\u9650\u516C\u53F8
CN_223481879_U

Resumen de: CN223481879U

The utility model discloses a negative pressure bearing platform for floating type offshore wind power floating body foundation construction, which is characterized in that after a floating body foundation of a floating type unit is in butt joint contact with a rubber wrapping layer of a suction bearing platform, elastic sealing contact occurs, an air compressor vacuumizes air in a barrel bottom through a pressure control valve, and a negative pressure is generated; when the butt joint position of the floating body foundation and the suction bearing platform needs to be adjusted, air is input into the barrel bottom through the pressure control valve to form slight high pressure, and the floating body foundation is only adjusted through gravity and is not affected by magnetic suction force. The problem that the alignment process is inconvenient to adjust due to the influence of magnetic attraction force after the floating body foundation is in butt joint with the bearing platform is solved.

Floating type offshore wind power offshore fixed wharf double-unit integral construction structure

NºPublicación:  CN223481798U 28/10/2025
Solicitante: 
POWERCHINA GUIZHOU ENG CO LTD
\u4E2D\u56FD\u7535\u5EFA\u96C6\u56E2\u8D35\u5DDE\u5DE5\u7A0B\u6709\u9650\u516C\u53F8
CN_223481798_U

Resumen de: CN223481798U

The utility model discloses a floating type offshore wind power offshore fixed wharf double-unit integral construction structure. The structure comprises a hoisting platform; and an anti-collision facility with an elastic buffering function is fixedly mounted on the outer side of the hoisting platform. Blades are transported to the side edge of the hoisting platform through the transportation barge, the transportation barge makes elastic buffering contact with an anti-collision facility on the hoisting platform, then hard contact is avoided, and the problem that the transportation barge is subjected to sea wave hard impact on the offshore hoisting platform on the sea is solved.

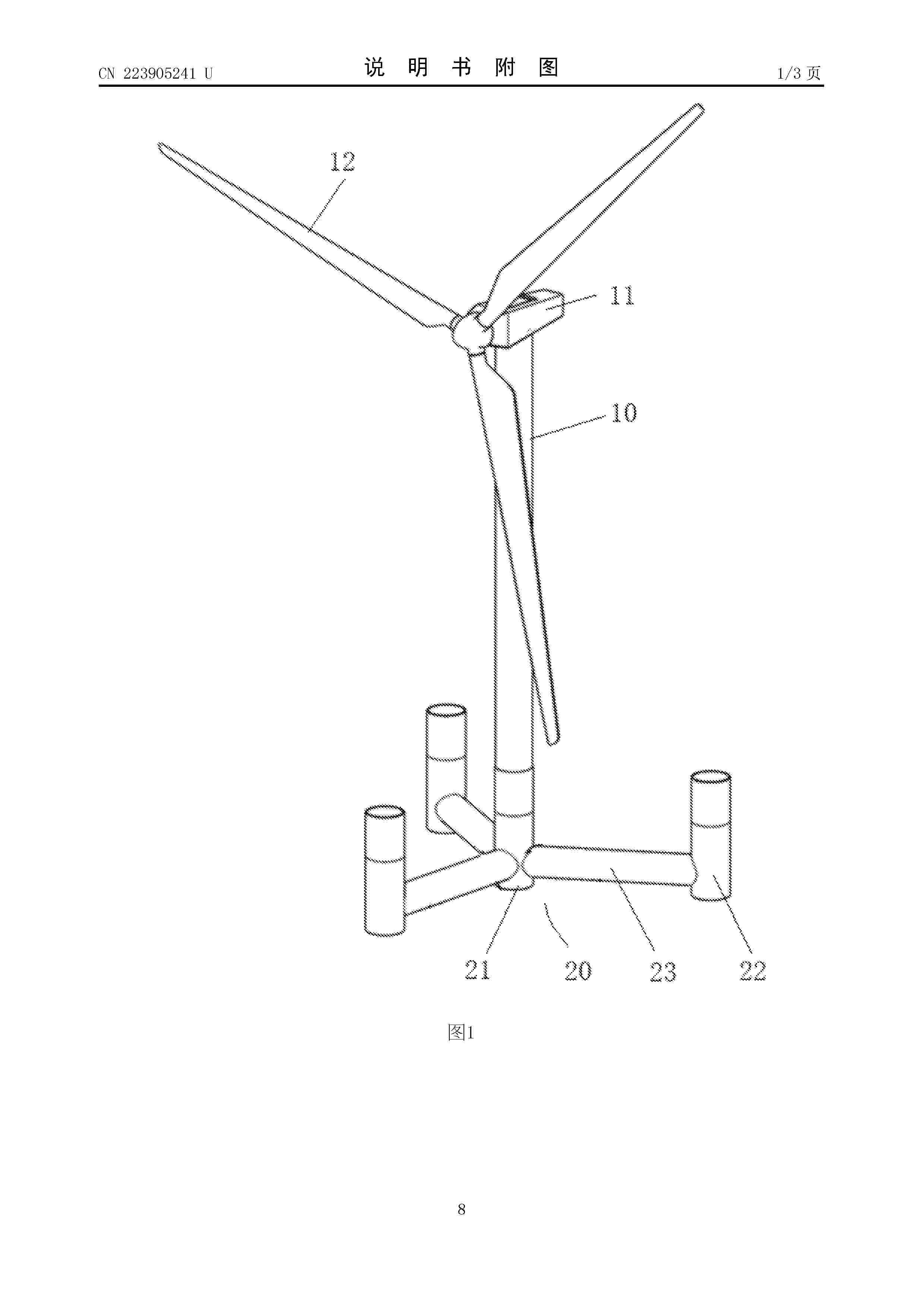
Floating type offshore wind power offshore temporary wharf double-unit integral construction structure

NºPublicación:  CN223481797U 28/10/2025
Solicitante: 
POWERCHINA GUIZHOU ENG CO LTD
\u4E2D\u56FD\u7535\u5EFA\u96C6\u56E2\u8D35\u5DDE\u5DE5\u7A0B\u6709\u9650\u516C\u53F8
CN_223481797_U

Resumen de: CN223481797U

The utility model discloses a floating type offshore wind power offshore temporary wharf double-unit integral construction structure. The structure comprises a platform deck; the platform pile leg is inserted into a seabed to be fixed, and the platform deck is installed on the platform pile leg in a lifting mode; platform panels overhanging outwards are fixed to the diagonal positions of the platform deck, and the two platform panels are obliquely distributed at the diagonal positions of the platform deck. The two hubs of the fan are fixedly connected with the flange plates at the opposite angles of the platform deck in a butt joint mode respectively, three blades are hoisted on each hub, one hub provided with the three blades is hoisted to a tower barrel of the floating body foundation, the other hub is in butt joint with the blades transported by a transport ship in a hoisting mode, the installation efficiency of the fan is improved, and the service life of the fan is prolonged. The problem that the fan installation efficiency is low due to the fact that three blades are sequentially hoisted to a hub is solved.

Deep sea floating type wind power platform leveling device

NºPublicación:  CN223467289U 24/10/2025
Solicitante: 
KANG JUNG HEE
\u59DC\u5EF7\u559C
CN_223467289_U

Resumen de: CN223467289U

The utility model relates to the technical field of floating type wind power platforms, and discloses a deep sea floating type wind power platform leveling device which comprises a bottom frame, an air bag is fixedly assembled on the inner wall of the bottom frame, an auxiliary frame is arranged on the top of the bottom frame, a rotating frame is rotatably connected to the inner wall of the auxiliary frame, an outer cylinder is fixedly assembled on the top of the rotating frame, and a floating type wind power platform is arranged on the outer cylinder. The inner wall of the outer cylinder is slidably sleeved with a sliding cylinder, and a fixing frame is fixedly assembled on the top of the sliding cylinder. Through cooperative use of a convex rod and a concave cylinder, when the bottom frame and the air bag are influenced by the external environment, the wind power platform body is assisted by the balance weight ball to keep balance when the bottom frame inclines, and the convex rod is driven by the wind power platform body to move towards the inner wall of the concave cylinder; and the bottoms of the convex rods make contact with the tops of the pressure sensors, the pressure sensors are used for controlling the adjacent air pumps to operate, the adjacent air pumps are used for supplying air into the air bags through the connecting pipes, and therefore the device is assisted in leveling.

Wind-fish combined fan foundation assembly and wind-fish combined culture system

NºPublicación:  CN223463508U 24/10/2025
Solicitante: 
CHINA LONGYUAN POWER GROUP CO LTD
FUJIAN LONGYUAN OFFSHORE WIND POWER GENERATION CO LTD
JIANGSU LONGYUAN OFFSHORE WIND POWER CO LTD
LONGYUAN BEIJING NEW ENERGY ENGINEERING DESIGN RES INSTITUTE CO LTD
\u9F99\u6E90\u7535\u529B\u96C6\u56E2\u80A1\u4EFD\u6709\u9650\u516C\u53F8,
\u798F\u5EFA\u9F99\u6E90\u6D77\u4E0A\u98CE\u529B\u53D1\u7535\u6709\u9650\u516C\u53F8,
\u6C5F\u82CF\u6D77\u4E0A\u9F99\u6E90\u98CE\u529B\u53D1\u7535\u6709\u9650\u516C\u53F8,
\u9F99\u6E90\uFF08\u5317\u4EAC\uFF09\u65B0\u80FD\u6E90\u5DE5\u7A0B\u8BBE\u8BA1\u7814\u7A76\u9662\u6709\u9650\u516C\u53F8
CN_223463508_U

Resumen de: CN223463508U

The utility model relates to a wind and fish combined fan foundation assembly and a wind and fish combined culture system. The fan foundation assembly comprises a floating foundation and a culture net cage; the floating foundation is provided with an accommodating space, and the culture net cage is arranged in the accommodating space; the culture net cage comprises a cage body, a floating part and a connecting piece, the cage body is used for culturing marine organisms, the floating part is connected to the cage body and used for controlling the cage body to float or sink, one end of the connecting piece is connected to the floating part and/or the cage body, and the other end of the connecting piece is connected to the floating part and/or the cage body. And the other end of the connecting piece is connected with the floating foundation. According to the fan foundation assembly, floating or sinking of the box body can be achieved through the arranged floating component, the box body and the floating foundation are detached and separated, and maintenance or replacement of the box body is achieved.

PREDICTIVE CONTROL METHOD BASED ON A SINGLE LINEAR MODEL FOR REDUCING STRUCTURAL LOADS IN ONSHORE, OFFSHORE AND FLOATING WIND TURBINES

NºPublicación:  WO2025219628A1 23/10/2025
Solicitante: 
UNIV DEL PAIS VASCO / EUSKAL HERRIKO UNIBERTSITATEA [ES]
UNIVERSIDAD DEL PA\u00CDS VASCO / EUSKAL HERRIKO UNIBERTSITATEA
WO_2025219628_PA

Resumen de: WO2025219628A1

The present invention relates to a method for controlling the angles of attack of wind turbine blades, based on a linear model of the wind turbine using a parameter indicative of the acceleration of the wind turbine tower, the linear model being constant across the entire wind turbine operating range. The invention further relates to processing means configured to execute the model-based predictive control. The invention further relates to a method for controlling the position of a moving mass coupled to the wind turbine, based on a linear model of the wind turbine using a parameter indicative of the acceleration of the wind turbine tower and a parameter indicative of the position of the moving mass, the linear model being constant across the entire wind turbine operating range.

SEA ROUTE PLAN GENERATING SYSTEM AND POWER GENERATION FLOATING BODY

NºPublicación:  US2025327673A1 23/10/2025
Solicitante: 
TOYOTA JIDOSHA KK [JP]
TOYOTA JIDOSHA KABUSHIKI KAISHA
US_2025327673_PA

Resumen de: US2025327673A1

In the sea route plan generating system, a sea route plan generating unit that generates a sea route plan for sailing the power generation floating body that performs wind power generation using a kite while sailing at sea, at a predetermined sailing angle based on the wind conditions and a tidal current determining unit that determines whether or not there is an opposing tidal current opposed to the wind direction based on the wind conditions are provided for the power generation floating body that generates wind power using kite while sailing on the sea. When it is determined that there is an opposite tidal current, the sea route plan generating unit generates the sea route plan such that the power generation floating body proceeds at the sailing angle at which the power generation efficiency increases in the sea area of the opposite tidal current.

FOUR-COLUMN FLOATING WIND TURBINE FOUNDATIONS

NºPublicación:  US2025327441A1 23/10/2025
Solicitante: 
PRINCIPLE POWER INC [US]
Principle Power, Inc
US_2025327441_PA

Resumen de: US2025327441A1

A floatable, semi-submersible platform for a wind turbine includes a central turbine-tower-hosting column and three or more stabilizing columns. Upper main beams connect the top ends of the stabilizing columns to a top node that is itself connected about the turbine-tower-hosting column. Lower main beams connect the bottom ends of the stabilizing columns to a bottom node that is also connected about the turbine-tower-hosting column. Fixed ballast components may be located within the turbine-tower-hosting column and within the lower main beams. Hull trim compartments for containing ballast may be provided in the three stabilizing columns, and/or lower main beams, with transfer of ballast between the compartments being controlled by a hull trim system (HTS).

METHODS AND SYSTEMS FOR OFFSHORE MOORING OPERATIONS

NºPublicación:  WO2025219732A1 23/10/2025
Solicitante: 
ENCOMARA LTD [GB]
ENCOMARA LIMITED
WO_2025219732_PA

Resumen de: WO2025219732A1

A method of preparing a mooring rope for use in a mooring system for a floating offshore structure. The method comprises laying the mooring rope between a buoy and a seabed anchor; and tensioning the mooring rope between a buoyancy force from the buoy and the seabed anchor, thereby elongating the mooring rope towards a worked length condition. In another aspect, there is provided a method of preparing a mooring system for a floating offshore structure. The mooring system has at least one mooring line between a buoy and a seabed anchor, and the mooring line comprises a mooring rope. The method comprises tensioning the at least one mooring line between a buoyancy force from the buoy and the seabed anchor, thereby elongating the mooring rope towards a worked length condition. Preferred embodiments include tensioning the at least one mooring rope or mooring line between a buoyancy force from the buoy and a tensioning device acting against the buoyancy force. The tensioning device may be a part of the mooring system.

FLOATING OFFSHORE WIND TURBINE SYSTEM, AND CONSTRUCTION METHOD, DEMOLITION METHOD, AND MAINTENANCE METHOD THEREFOR

NºPublicación:  WO2025220289A1 23/10/2025
Solicitante: 
HITACHI LTD [JP]
\u682A\u5F0F\u4F1A\u793E\u65E5\u7ACB\u88FD\u4F5C\u6240
WO_2025220289_PA

Resumen de: WO2025220289A1

Provided is a floating offshore wind turbine system having a structure useful for implementing replacement of a large component of a floating offshore wind turbine. The floating offshore wind turbine system includes a floating offshore wind turbine, a main floating body, and a mooring body. The floating offshore wind turbine has: blades that receive wind; a hub to which the blades are fixed; a nacelle that houses a generator that converts rotational energy of the hub into electric power; a tower that supports the nacelle; and a sub-floating body that supports the tower. The main floating body is moored to the sea bottom by the mooring body, and has a sub-floating body insertion space into which the sub-floating body is inserted. The sub-floating body inserted into the sub-floating body insertion space is detachably connected at a connection part with the main floating body.

SHALLOW DRAFT, WIDE-BASE FLOATING WIND TURBINE WITHOUT NACELLE

NºPublicación:  EP4636245A2 22/10/2025
Solicitante: 
UNIV NORTHEASTERN [US]
Northeastern University
EP_4636245_PA

Resumen de: EP4636245A2

Disclosed are wind turbines suitable for floating application. The wind turbines include multiple floats and multiple towers connected to the floats, a turbine rotor, including a hub and a plurality of blades, structurally supported by the plurality of towers, the turbine rotor coupled to an electrical generator; and have a very shallow draft even for rated capacities of at least 1 MW. The wind turbines can have a single mooring line for yawing eliminating the need for a nacelle, and can allow for deck-level belt driven electrical generators without the need for gear boxes.

TLP leg type small floating power generation device

NºPublicación:  CN223457085U 21/10/2025
Solicitante: 
POWERCHINA MARINE ENG CONSTRUCTION CO LTD
\u4E2D\u7535\u5EFA\u6D77\u6D0B\u5DE5\u7A0B\u5EFA\u8BBE\u6709\u9650\u516C\u53F8
CN_223457085_U

Resumen de: CN223457085U

The utility model discloses a TLP leg type small floating power generation device, and relates to the technical field of offshore power generation devices, the TLP leg type small floating power generation device comprises a semi-submersible type water pressing plate tension supporting platform, the semi-submersible type water pressing plate tension supporting platform is provided with a light energy part, an eddy current energy part and a wind energy part, and the light energy part, the eddy current energy part and the wind energy part are sequentially arranged from bottom to top; natural wind energy, light energy and kinetic energy are converted into electric energy through the semi-submersible type water pressing plate tension platform, the light energy component, the eddy current energy component and the wind energy component, natural resources are fully utilized, and furthermore, the self-combined type wind power generation device can be combined to form various development modes, so that the development efficiency is improved. A plurality of the combined type aquaculture devices can be combined to form a self-sufficiency aquaculture system, and the combined type aquaculture device can be combined with a sea rescue system to form a green and environment-friendly novel sea rescue system.

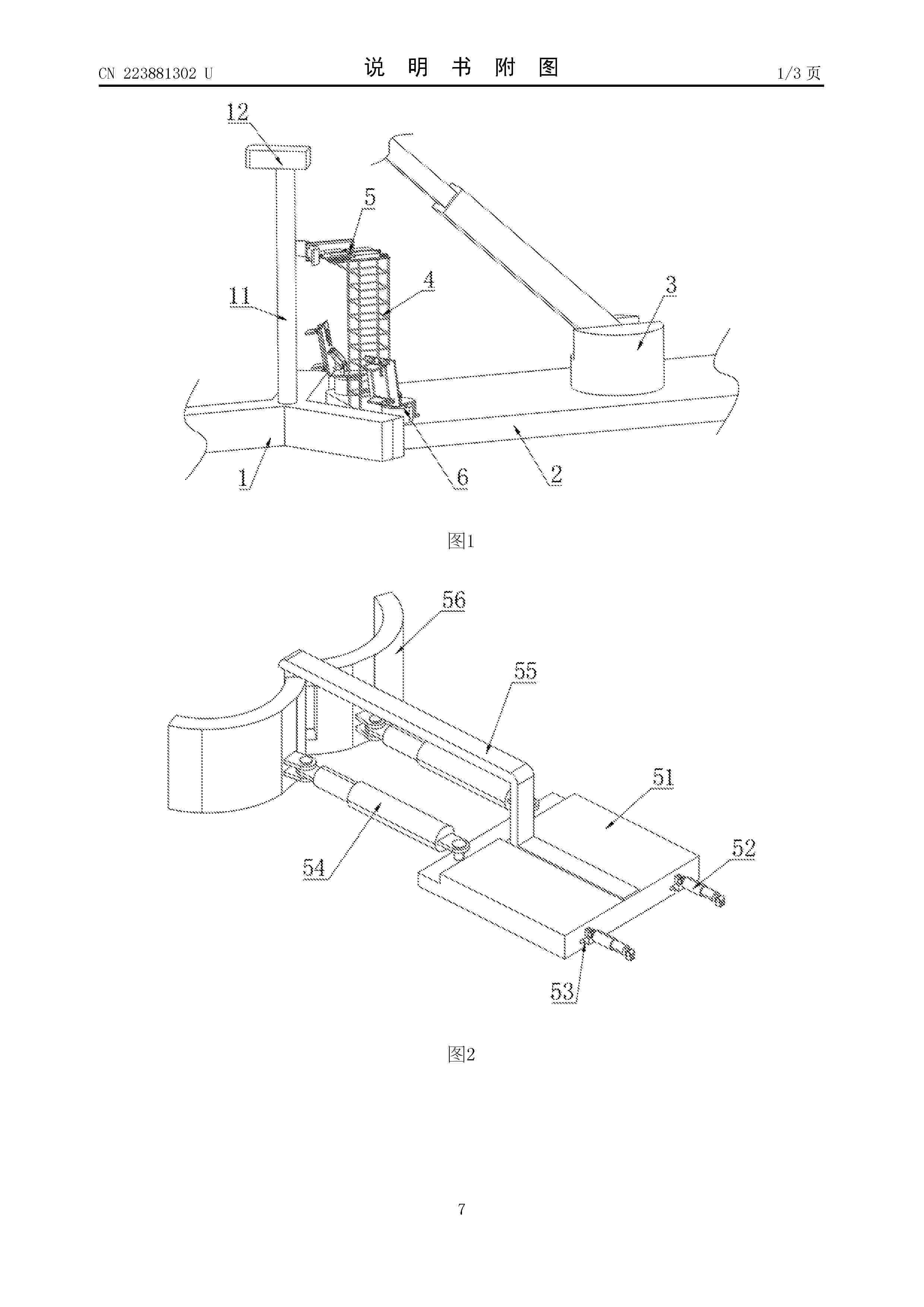
Lifting device for launching floating type wind power foundation structure

NºPublicación:  CN223457090U 21/10/2025
Solicitante: 
BEIJING NEW ENERGY BRANCH OF CNOOC CHINA CO LTD
\u4E2D\u6D77\u77F3\u6CB9\uFF08\u4E2D\u56FD\uFF09\u6709\u9650\u516C\u53F8\u5317\u4EAC\u65B0\u80FD\u6E90\u5206\u516C\u53F8
CN_223457090_U

Resumen de: CN223457090U

The utility model relates to the technical field of offshore wind power engineering, and provides a lifting device for launching a floating type wind power foundation structure, which comprises a transportation platform for bearing and transporting the floating type wind power foundation structure; the lifting platform is arranged close to the transportation platform, is supported in water, bears the floating type wind power foundation structure transported by the transportation platform and drives the floating type wind power foundation structure to descend into the water; the lifting platform comprises a plurality of lifting modules, and the lifting modules are closely arranged in an aligned mode and can independently ascend and descend or be matched with one another to ascend and descend in a linkage mode. The lifting platform starts the corresponding number of lifting modules according to the size of the floating type wind power foundation structure conveyed by the conveying platform to drive the floating type wind power foundation structure to enter the water. According to the floating type offshore wind power foundation structure, the possibility of batch and large-scale launching of the floating type wind power foundation structure is achieved, the difficulty of overall launching of floating type offshore wind power is solved, and the construction efficiency of the floating type offshore wind power is improved.

A predictive control method based on a single linear model to reduce structural loads on land-based, offshore, and floating wind turbines. (Machine-translation by Google Translate, not legally binding)

NºPublicación:  ES3039359A1 20/10/2025
Solicitante: 
UNIV DEL PAIS VASCO / EUSKAL HERRIKO UNIBERTSITATEA [ES]
Universidad del Pa\u00EDs Vasco / Euskal Herriko Unibertsitatea
ES_3039359_PA

Resumen de: ES3039359A1

The invention relates to a method for controlling angles of attack of blades of a wind turbine based on a linear model of the wind turbine using a parameter indicative of acceleration of the wind turbine tower; the linear model being invariant throughout the operating range of the wind turbine. The invention also relates to processing means configured to execute the model-based predictive control. The invention also relates to a method for controlling a position of a movable mass coupled to a wind turbine based on a linear model of the wind turbine using a parameter indicative of acceleration of the turbine tower and a parameter indicative of the position of the movable mass; the linear model being invariant throughout the operating range of the wind turbine. (Machine-translation by Google Translate, not legally binding)

TENSIONED LEG PLATFORM MOORING LINE TENSIONING DEVICE

NºPublicación:  WO2025214803A1 16/10/2025
Solicitante: 
TECHNIP ENERGIES FRANCE [FR]
TECHNIP ENERGIES FRANCE
WO_2025214803_PA

Resumen de: WO2025214803A1

A mooring line tensioning device is disclosed. The mooring line tensioning device may be coupled to a floating platform, such as a floating wind turbine platform. The mooring line tensioning device may include a housing, a proximal suspension element that can pivotably couple the housing to the floating platform, and a linearly displaceable element of a linear actuator that may extend through the base portion of the housing and may be linearly displaced relative to the housing. The linear actuator may be a jackscrew assembly and the linearly displaceable element may be a lifting screw of the jackscrew assembly. A mooring line may be coupled between a submerged anchor and a coupling element located at a distal end of the linearly displaceable element. Linear displacement of the linearly displaceable element by operation of the linear actuator can be used to adjust the tension of the mooring line.

FLOATING WIND TURBINE PLATFORM WITH BALLAST CONTROL SYSTEM

NºPublicación:  WO2025215424A1 16/10/2025
Solicitante: 
TECHNIP ENERGIES FRANCE [FR]
TECHNIP ENERGIES FRANCE
WO_2025215424_PA

Resumen de: WO2025215424A1

A floating wind turbine platform is disclosed. The floating wind turbine platform may include a floatable structure that is deployable to a body of water and includes a plurality of semisubmersible columns. The semisubmersible columns may be interconnected. Each semisubmersible column can define an internal ballast volume. An intake port in each semisubmersible column can place the internal ballast volume of the semisubmersible column into fluid communication with the body of water. A ballast control system may be provided to balance the floatable structure upon a detected inclination thereof. Balancing of the floatable structure may be accomplished by selectively controlling a transfer of water from the body of water to the internal ballast volume of at least one of the semisubmersible columns, and/or by selectively controlling a transfer of water from the internal ballast volume of at least one of the semisubmersible columns to the body of water.

SYMMETRIC OR PSEUDOSYMMETRIC SHARED MOORING-ANCHOR SYSTEM

NºPublicación:  WO2025216897A1 16/10/2025
Solicitante: 
ARUP IP MAN LTD [GB]
JAFFE ADAM [US]
ARUP IP MANAGEMENT, LTD,
JAFFE, Adam
WO_2025216897_PA

Resumen de: WO2025216897A1

A shared mooring-anchor system may have one or more variable resource foundations, the one or more variable resource foundations supporting a variable resource. A shared mooring-anchor system may have at least one near-surface buoy and at least one seabed anchor. A shared mooring-anchor system may orient the variable resource near, at, or above a waterline of a source of water. A shared mooring-anchor system may connect the one or more variable resource foundations to the at least one near-surface buoy, the at least one near-surface buoy is connected to the at least one seabed anchor, the at least one seabed anchor is not vertically in alignment underneath the at least one near-surface buoy, an angle between the one or more variable resource foundations, the at least one near-surface buoy, and the at least one seabed anchor is not a right angle.

BLADE INSTALLATION SYSTEM AND METHOD FOR WIND TURBINE GENERATOR IN FLOATING OFFSHORE WIND POWER SYSTEM

NºPublicación:  WO2025213767A1 16/10/2025
Solicitante: 
SHANGHAI INVESTIGATION DESIGN & RES INSTITUTE CO LTD [CN]
SINO PORTUGUESE NEW ENERGY TECH CENTER SHANGHAI CO LTD [CN]
\u4E0A\u6D77\u52D8\u6D4B\u8BBE\u8BA1\u7814\u7A76\u9662\u6709\u9650\u516C\u53F8,
\u4E2D\u8461\u65B0\u80FD\u6E90\u6280\u672F\u4E2D\u5FC3\uFF08\u4E0A\u6D77\uFF09\u6709\u9650\u516C\u53F8
WO_2025213767_PA

Resumen de: WO2025213767A1

Disclosed in the present application is a blade installation system and method for a wind turbine generator in a floating offshore wind power system. The blade installation system comprises a nacelle gripper, a blade gripper and a lifting installation vessel, wherein the nacelle gripper comprises a gripping housing and a plurality of telescopic tightening block assemblies; the blade gripper comprises a gripping cylinder which is arranged on a front outer side surface of the gripping housing and can slide left and right, the inner circumferential surface of the gripping cylinder being provided with a plurality of telescopic driving wheel assemblies; a crane on the lifting installation vessel is configured to hoist the nacelle gripper to or away from a nacelle, and the plurality of telescopic tightening block assemblies cooperate to grip or release the nacelle; and the crane is further configured to hoist a blade root into the gripping cylinder in an open state, the plurality of telescopic driving wheel assemblies cooperate to grip or release the blade root, and the plurality of telescopic driving wheel assemblies cooperate to horizontally drive the gripped blade root from the front to the rear into a mounting hole of a hub. At a working sea area, the blade root can be conveniently mounted in the mounting hole of the hub; the installation difficulty is low.

FLOATING WIND TURBINE PLATFORM WITH BALLAST DISTRIBUTION SYSTEM

NºPublicación:  WO2025215420A1 16/10/2025
Solicitante: 
TECHNIP ENERGIES FRANCE [FR]
TECHNIP ENERGIES FRANCE
WO_2025215420_PA

Resumen de: WO2025215420A1

A floating wind turbine platform is disclosed. The floating wind turbine platform may include a floatable structure having multiple semisubmersible columns. The semisubmersible columns may be interconnected by pontoons, at least some of which may contain a ballast. The floating wind turbine platform may also include a ballast distribution system having a sensor that is usable to detect an inclination of the floatable structure in a body of water. The ballast distribution system can balance the floatable structure in response to a signal from the sensor by operating a pump to distribute the ballast within the pontoons. Distributing the ballast within the pontoons may include selectively adjusting a position of the ballast contained within the internal volume of at least one of the pontoons, or transferring at least some of the ballast between the internal volumes of the pontoons.

SYMMETRIC OR PSEUDOSYMMETRIC SHARED MOORING-ANCHOR SYSTEM

NºPublicación:  US2025319953A1 16/10/2025
Solicitante: 
ARUP IP MAN LTD [GB]
Arup IP Management, Ltd
US_2025319953_PA

Resumen de: US2025319953A1

A shared mooring-anchor system may have one or more variable resource foundations, the one or more variable resource foundations supporting a variable resource. A shared mooring-anchor system may have at least one near-surface buoy and at least one seabed anchor. A shared mooring-anchor system may orient the variable resource near, at, or above a waterline of a source of water. A shared mooring-anchor system may connect the one or more variable resource foundations to the at least one near-surface buoy, the at least one near-surface buoy is connected to the at least one seabed anchor, the at least one seabed anchor is not vertically in alignment underneath the at least one near-surface buoy, an angle between the one or more variable resource foundations, the at least one near-surface buoy, and the at least one seabed anchor is not a right angle.

MASS AUGMENTATION OF A TENSION-LEG PLATFORM

NºPublicación:  EP4630688A1 15/10/2025
Solicitante: 
PELASTAR LLC [US]
PelaStar, LLC
WO_2025178634_PA

Resumen de: WO2025178634A1

Tension-leg platforms for supporting wind turbines are augmented with surge plates. The surge plates increase the amount of water that is displaced when a tension-leg platform is accelerated horizontally, which reduces wave induced accelerations. The surge plates are mounted to the deepest parts of the submerged structure of each platform to minimize wave loading.

FLOATING WIND TURBINE PLATFORM WITH BALLAST DISTRIBUTION SYSTEM

NºPublicación:  EP4631847A1 15/10/2025
Solicitante: 
TECHNIP ENERGIES FRANCE [FR]
Technip Energies France
EP_4631847_PA

Resumen de: EP4631847A1

A floating wind turbine platform is disclosed. The floating wind turbine platform may include a floatable structure having multiple semisubmersible columns: The semisubmersible columns may be interconnected by pontoons, at least some of which may contain a ballast. The floating wind turbine platform may also include a ballast distribution system having a sensor that is usable to detect an inclination of the floatable structure in a body of water. The ballast distribution system can balance the floatable structure in response to a signal from the sensor by operating a pump to distribute the ballast within the pontoons. Distributing the ballast within the pontoons may include selectively adjusting a position of the ballast contained within the internal volume of at least one of the pontoons, or transferring at least some of the ballast between the internal volumes of the pontoons.

TENSIONED LEG PLATFORM MOORING LINE TENSIONING DEVICE

NºPublicación:  EP4631843A1 15/10/2025
Solicitante: 
TECHNIP ENERGIES FRANCE [FR]
Technip Energies France
EP_4631843_PA

Resumen de: EP4631843A1

A mooring line tensioning device is disclosed. The mooring line tensioning device may be coupled to a floating platform, such as a floating wind turbine platform. The mooring line tensioning device may include a housing, a proximal suspension element that can pivotably couple the housing to the floating platform, and a linearly displaceable element of a linear actuator that may extend through the base portion of the housing and may be linearly displaced relative to the housing. The linear actuator may be a jackscrew assembly and the linearly displaceable element may be a lifting screw of the jackscrew assembly. A mooring line may be coupled between a submerged anchor and a coupling element located at a distal end of the linearly displaceable element. Linear displacement of the linearly displaceable element by operation of the linear actuator can be used to adjust the tension of the mooring line.

FLOATING INTERVENTION VESSEL FOR TEMPORARILY DOCKING ON AN OFFSHORE WIND TURBINE PLATFORM AND ASSOCIATED INTERVENTION ASSEMBLY AND SYSTEM

NºPublicación:  EP4630316A1 15/10/2025
Solicitante: 
TECHNIP ENERGIES FRANCE [FR]
Technip Energies France
KR_20250116710_PA

Resumen de: TW202446669A

The vessel comprises a float (80) and an intervention assembly on the wind turbine, carried by the float (80). The float (80) comprises a buoyant body (86) and a fastening baseplate (88) protruding relative to the buoyant body (86) along a fastening axis (A-A') on a lower surface of the offshore wind turbine platform. The buoyant body (86) defines a ballast-receiving volume, the vessel comprising a ballast controller configured to control the amount of ballast received in the ballast-receiving volume to raise an upper contact surface (94) of the baseplate (88) to place it in contact with a lower surface of the offshore wind turbine platform, the float (80) being monohull.

METHOD OF MANUFACTURING A FLOATER, IN PARTICULAR A FLOATER OF A FLOATING STRUCTURE OF AN OFFSHORE WIND TURBINE

Nº publicación: EP4630313A1 15/10/2025

Solicitante:

TOTALENERGIES ONETECH [FR]
TotalEnergies OneTech

KR_20250121362_PA

Resumen de: WO2024121391A1

The method of manufacturing a floater (2) comprises the steps of obtaining a plurality of wall portions (12), each wall portion (12) corresponding to an angular sector of an axial section (10) of a sidewall (6) of the floater, and assembling the wall portions (12) such as to manufacture axial sections (10) of the sidewall (6) sequentially. The assembly of the wall portions (12) starts with the assembly of a first axial section (10) onto one of the end plates (8) and at least one wall portion (12) is stiffened and/or at least one of the end plates (8) is stiffened.

traducir