Ministerio de Industria, Turismo y Comercio LogoMinisterior
 

Alerta

Resultados 132 resultados
LastUpdate Última actualización 26/10/2025 [07:27:00]
pdfxls
Publicaciones de los últimos 120 días / Applications published in the last 120 days
previousPage Resultados 75 a 100 de 132 nextPage  

Hydraulic control unloading system of wind generating set

NºPublicación:  CN223203516U 08/08/2025
Solicitante: 
GUODIAN POWER HUNAN LANGSHAN WIND POWER DEV CO LTD
\u56FD\u7535\u7535\u529B\u6E56\u5357\u5D00\u5C71\u98CE\u7535\u5F00\u53D1\u6709\u9650\u516C\u53F8
CN_223203516_U

Resumen de: CN223203516U

The utility model relates to the technical field of wind driven generators, in particular to a hydraulic control unloading system of a wind driven generator set. One end of the oil cylinder abuts against a fixed base, and the other end of the oil cylinder abuts against an upper end connecting plate through a reset spring; the two sides, away from the end face of the connecting and fixing base, of the oil cylinder fixedly communicate with the hydraulic pipe, and a guide rod is arranged at the end, away from the oil cylinder, of the hydraulic pipe. Two side walls of the oil cylinder are connected with oil pipes which are provided with electromagnetic flow valves; a push rod cavity is formed between the two hydraulic pipes, a push rod is installed at one end of the push rod cavity, and a pre-tightening spring is arranged between the push rod and the push rod cavity. The end, away from the push rod cavity, of the push rod penetrates through the upper end connecting plate, and movement between the push rod and the upper end connecting plate is limited through a check block. Accurate control and feedback adjustment of the pre-tightening force of the floating end bearing are achieved, meanwhile, the device is easy to install and maintain, and the overall operation stability of the wind generating set can be remarkably improved.

FLOATING BODY AND OFFSHORE WIND TURBINE HAVING A FLOATING BODY

NºPublicación:  WO2025163376A1 07/08/2025
Solicitante: 
AERODYN CONSULTING SINGAPORE PTE LTD [SG]
AERODYN CONSULTING SINGAPORE PTE LTD
WO_2025163376_PA

Resumen de: WO2025163376A1

The invention relates to a floating body (10) having a plurality of balls (30) arranged concentrically around a carrier (20), wherein the balls (30) are fastened to the carrier (20), at least a first subset of the balls (30) is arranged in at least a first plane and at least a second subset of the balls (30) is arranged in at least a second plane opposite to the first plane, and the balls (30) of the second plane are arranged offset with respect to the balls (30) of the first plane in such a way that the balls (30) of the second plane engage in the interspaces between the balls (30) of the first plane.

ANCHORING STRUCTURE, FLOATING WIND TURBINE ASSEMBLY AND FLOATING WIND TURBINE ARRAY

NºPublicación:  WO2025162325A1 07/08/2025
Solicitante: 
HUANENG CLEAN ENERGY RES INSTITUTE [CN]
\u4E2D\u56FD\u534E\u80FD\u96C6\u56E2\u6E05\u6D01\u80FD\u6E90\u6280\u672F\u7814\u7A76\u9662\u6709\u9650\u516C\u53F8
WO_2025162325_PA

Resumen de: WO2025162325A1

An anchoring structure (10), a floating wind turbine assembly and a floating wind turbine array. Each anchoring structure (10) comprises an anchor rod (11); a rotary member (12), which is rotatably arranged on the anchor rod (11); an elastic holding member (13), which is arranged between the anchor rod (11) and the rotary member (12); and a mooring cable (14), which comprises a winding section (141) and an extending section (142), the winding section (141) being wound around the periphery of the rotary member (12), a first end of the winding section (141) being fixedly connected to the rotary member (12), a first end of the extending section (142) being connected to a second end of the winding section (141), and a second end of the extending section (142) being connected to a floating wind turbine (20). When the rotary member (12) rotates, the extending section (142) extends or shortens.

Offshore Structure, In Particular A Floatable Offshore Structure

NºPublicación:  US2025253641A1 07/08/2025
Solicitante: 
RUNGE JOERN [DE]
VON SCHEELE ARON [SE]
RWE OFFSHORE WIND GMBH [DE]
Runge J\u00F6rn,
von Sch\u00E9ele Aron,
RWE Offshore Wind GmbH
KR_20250084159_PA

Resumen de: US2025253641A1

An offshore structure that is a floatable offshore structure that includes at least one submarine cable connector configured to connect a submarine power cable to an electrical device of the offshore structure. The offshore structure also includes at least one messenger line. A first end of the messenger line is fixed to the submarine power cable and a further end of the messenger line is fixed to the offshore structure.

OFF-SHORE FLOATING PLATFORM FOR FLOATING WIND TURBINE MANUFACTURE, ASSEMBLY, MAINTENANCE AND/OR DISASSEMBLY

NºPublicación:  EP4594171A1 06/08/2025
Solicitante: 
SAFIER INGENIERIE [FR]
Safier Ingenierie
JP_2025532877_PA

Resumen de: CN119894767A

The invention relates to a floating offshore platform (1) configured for offshore manufacturing and/or assembly and/or maintenance and/or disassembly of a floating wind turbine (2) comprising a floating foundation (4), a tower (6), a nacelle (8) and at least one blade (10), the platform (1) comprises at least one first area (22) dedicated to the manufacture of a floating foundation (4) configured to accommodate a tower drum (6), at least one second area (24) dedicated to the assembly and/or disassembly of the floating foundation (4) and the tower drum (6), and a third area (26) equipped with a lifting platform capable of being at least partially submerged underground, the platform (1) comprising a plurality of integral floating caissons (16).

FOUNDATION DEVICE FOR AN OFFSHORE WIND TURBINE TOWER

NºPublicación:  EP4596389A1 06/08/2025
Solicitante: 
BLUENEWABLES S L [ES]
Bluenewables S.L
EP_4596389_A1

Resumen de: EP4596389A1

The present invention relates to a device for supporting an offshore wind turbine tower. The device comprises a first body (1), a support body (3) attached to the first body (1), a second body (2) and a plurality of legs (4) attached to the second body (2). The support body (3) has a cylindrical interior and is configured to provide support for and connection of a wind turbine tower (10). The first body (1) comprises a central portion (5) connected to the support body (3) and a plurality of hollow arms (6), connected with the central portion (5). Each hollow arm (6) comprises a through-hole (7) configured to allow a leg (4) to pass through the through-hole. The first body (1) has a volume and a weight configured to provide, when empty, a buoyancy of at least 20% of the weight of the entire device, the weight of the first body (1) being less than 8% of the weight of the entire device. The legs (4) and/or the first body (1) have a locking system configured to lock the relative position between the legs and the first body.

HEEL TANK DAMPER FOR FLOATING STRUCTURES

NºPublicación:  EP4594169A1 06/08/2025
Solicitante: 
UNIV MAINE SYSTEM [US]
University of Maine System Board of Trustees
WO_2024072780_PA

Resumen de: WO2024072780A1

A barge-type wind turbine platform in combination with a heel tank damper includes a barge-type wind turbine platform having a keystone, two pairs of bottom beams, each including two bottom beams connected to opposite sides of the keystone, wherein the combined pairs of bottom beams define a foundation. A U-shaped ballast conduit is mounted or formed within each of the pairs of bottom beams. Each ballast conduit has ballast water therein, the ballast water extending from an outwardly extending portion of each bottom beam of each pair of bottom beams, such that a volume of air is defined between a surface of the ballast water in each outwardly extending portion and an outwardly facing wall of each outwardly extending portion, and an internal damping element is provided within each ballast conduit. A heel tank damper is defined by the ballast conduits and their respective internal damping elements.

OFFSHORE STRUCTURE, IN PARTICULAR A FLOATABLE OFFSHORE STRUCTURE

NºPublicación:  EP4595176A1 06/08/2025
Solicitante: 
RWE OFFSHORE WIND GMBH [DE]
RWE Offshore Wind GmbH
KR_20250084159_PA

Resumen de: WO2024067992A1

The offshore structure (100, 200, 300, 400, 500, 600, 700, 800), in particular a floatable offshore structure (200, 300, 400, 500, 600, 700, 800), comprising: at least one submarine cable connector (102, 203, 302, 502, 602, 702, 802) configured to connect a submarine power cable (108, 208, 308, 508, 608, 708, 808) to an electrical device (104, 204) of the offshore structure (100, 200, 300, 400, 500, 600, 700, 800), characterized in that the offshore structure (100, 200, 300, 400, 500, 600, 700, 800) further comprises: at least one messenger line (114, 214, 314, 514, 614, 714), wherein a first end (101, 201, 301, 501, 601, 701) of the messenger line (114, 214, 314, 514, 614, 714) is fixed to the submarine power cable (108, 208, 308, 508, 608, 708, 808) and a further end (103, 203, 303, 503, 603, 703) of the messenger line (114, 214, 314, 514, 614, 714) is fixed to the offshore structure (100, 200, 300, 400, 500, 600, 700, 800).

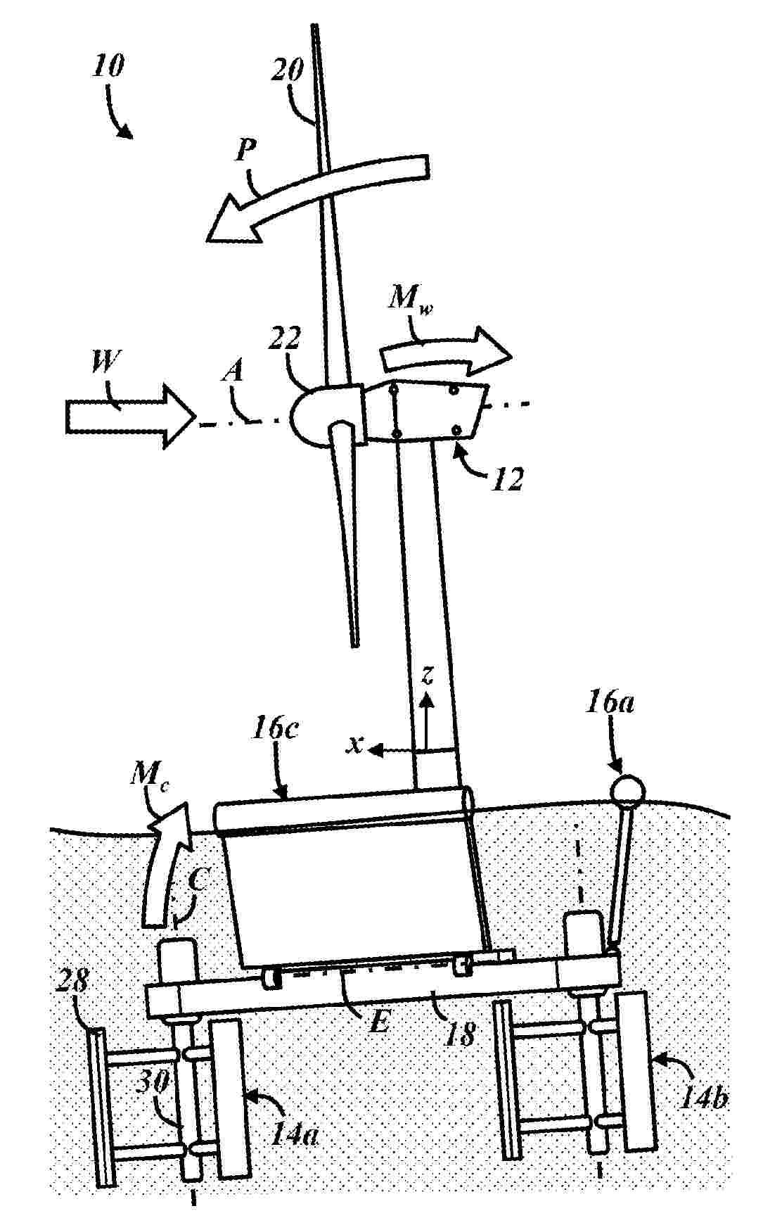
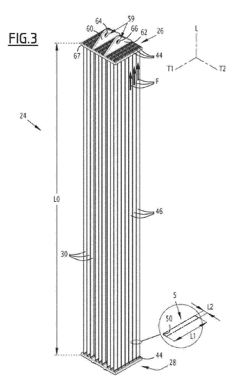
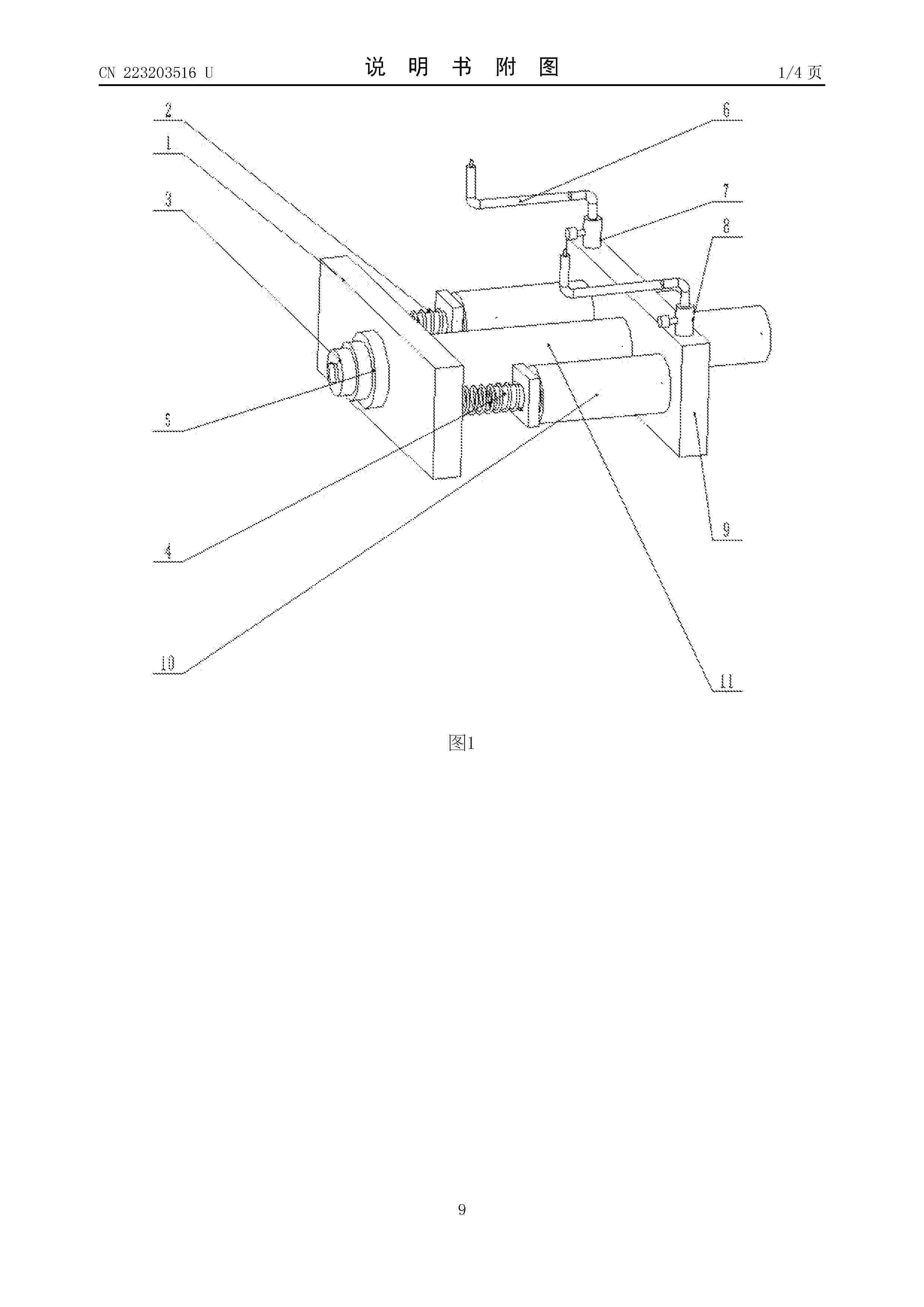
Leakage pre-control system for gearbox of wind driven generator

NºPublicación:  CN223190559U 05/08/2025
Solicitante: 
YALONG RIVER HYDROPOWER DEV COMPANY LTD
\u96C5\u783B\u6C5F\u6D41\u57DF\u6C34\u7535\u5F00\u53D1\u6709\u9650\u516C\u53F8
CN_223190559_U

Resumen de: CN223190559U

The utility model relates to the technical field of wind power generation, in particular to a wind driven generator gearbox leakage pre-control system which comprises a collecting part and a detecting part. The detection part is composed of a collection box and an oil-water mixture annunciator, a liquid storage cavity is formed in the collection box, a flow guide pipe communicated with a liquid inlet of the liquid storage cavity is arranged in the liquid storage cavity, a sensor section of the oil-water mixture annunciator is arranged in the flow guide pipe, a water outlet is formed in the bottom of the liquid storage cavity, an electromagnetic valve is arranged on the water outlet, and the electromagnetic valve is in communication connection with the oil-water mixture annunciator; a triggering piece and a triggered piece are arranged in the liquid storage cavity, the triggered piece is arranged above the water outlet, and the triggered piece is configured to give an alarm when the triggering piece floats to a preset triggering position. According to the gear oil tank of the wind driven generator, the water outlet is controlled to be conducted based on the detection result of the oil-water mixing annunciator, the effective space utilization rate of the liquid storage cavity can be improved, the operation and maintenance frequency is reduced, meanwhile, the triggering piece and the triggered piece are used for oil quantity monitoring and alarming, and the safety and reliabilit

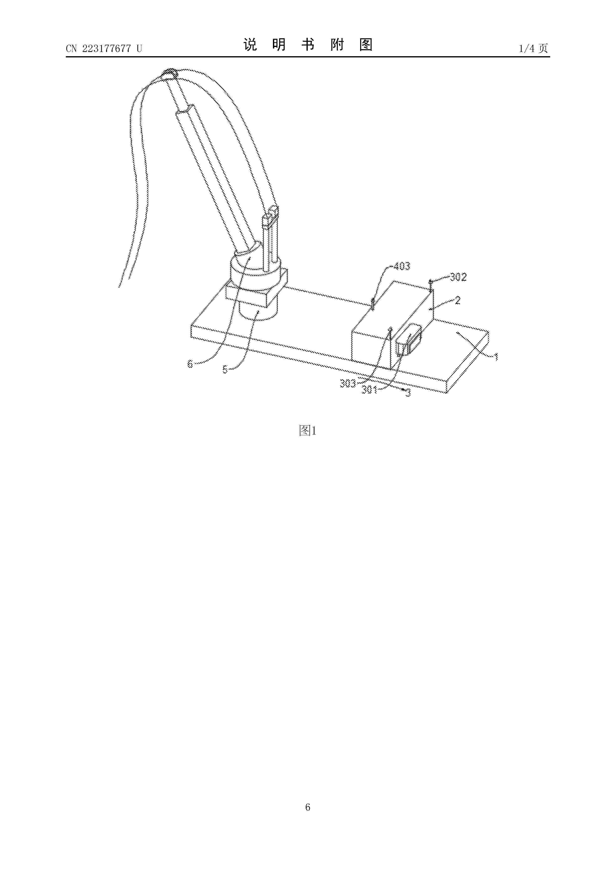
Underwater positioning and mounting device for four-pile jacket

NºPublicación:  CN223177677U 01/08/2025
Solicitante: 
CCCC THIRD HARBOR ENG CO LTD
\u4E2D\u4EA4\u7B2C\u4E09\u822A\u52A1\u5DE5\u7A0B\u5C40\u6709\u9650\u516C\u53F8
CN_223177677_U

Resumen de: CN223177677U

The utility model relates to the technical field of jacket installation, and discloses a four-pile jacket underwater positioning and installing device which comprises a floating crane ship, a first positioning assembly arranged on the outer side of the fixing seat and used for positioning the floating crane ship, a crane base arranged on the outer side of the floating crane ship, and a second positioning assembly arranged on the outer side of the crane base. A crane body is arranged on the outer side of the crane base; through the application of the RTX satellite station difference technology and the deepwater jacket digital visualization technology, the on-site construction efficiency is remarkably improved, meanwhile, underwater operation of divers is avoided, the construction safety is powerfully guaranteed, the application of the technology achieves a good effect in the project, reference is provided for later similar engineering construction, and the construction safety is improved. By means of mature application of the technology, construction tasks are completed in a high-quality and efficient mode, and a safer and more friendly working environment is provided for offshore wind power constructors.

Schwimmkörper und Offshore-Windenergieanlage mit Schwimmkörper

NºPublicación:  DE102024102639A1 31/07/2025
Solicitante: 
AERODYN CONSULTING SINGAPORE PTE LTD [SG]
aerodyn consulting Singapore pte ltd

Resumen de: DE102024102639A1

Schwimmkörper (10) mit einer Mehrzahl von um einen Träger (20) konzentrisch angeordneten Kugeln (30), wobei wenigstens eine erste Teilmenge der Kugeln (30) in wenigstens einer ersten Ebene und wenigstens eine zweite Teilmenge der Kugeln (30) in wenigstens einer zur ersten Ebene parallel angeordneten zweiten Ebene angeordnet sind, dadurch gekennzeichnet, dass die Kugeln (30) der zweiten Ebene zu den Kugeln (30) der ersten Ebene derart versetzt angeordnet sind, dass die Kugeln (30) der zweiten Ebene in die Zwischenräume zwischen den Kugeln (30) der ersten Ebene eingreifen.

FLOATING-TYPE WIND POWER GENERATION PLATFORM AND FLOATING-TYPE WIND POWER GENERATION SYSTEM

NºPublicación:  US2025242896A1 31/07/2025
Solicitante: 
BITMAIN TECH INC [CN]
BITMAIN TECHNOLOGIES INC
WO_2024066870_PA

Resumen de: US2025242896A1

The present application discloses a floating-type wind power generation platform and a floating-type wind power generation system. The floating-type wind power generation platform includes a first transverse connector and multiple floating support components, where the multiple floating support components are arranged at intervals on the water surface in a horizontal direction, and the first transverse connector includes a first connecting rod and an outward-extending plate, the first connecting rod has both ends connected to two adjacent floating support components, and the outward-extending plate extends from the outer side wall of the first connecting rod in a direction away from the center of the first connecting rod.

ENERGY COLLECTION LOCATION CHANGING SYSTEM

NºPublicación:  US2025242895A1 31/07/2025
Solicitante: 
TOYOTA JIDOSHA KK [JP]
TOYOTA JIDOSHA KABUSHIKI KAISHA

Resumen de: US2025242895A1

In the energy collection location changing system, a power generation floating body and a collection station setting system are provided so as to be able to perform data communication with each other. The power generation floating body has a power generation storage unit for storing the power generation energy and a navigation unit for navigation of the own base, and the collection station setting system has a location determination unit for determining a recovery position in which the collection station is provided based on at least one of a wind condition and a sea condition, a location notification unit for notifying the recovery position to each of the power generation floating bodies, and a setting unit for providing the collection station in the recovery position, and the navigation unit of the power generation floating body causes the own base to travel to the recovery position.

SEMI-SUBMERSIBLE FLOAT FOR AN OFFSHORE WIND TURBINE AND METHOD FOR CONSTRUCTING SUCH A FLOAT

NºPublicación:  AU2024221321A1 31/07/2025
Solicitante: 
SAIPEM S A
SAIPEM S.A
AU_2024221321_PA

Resumen de: WO2024170846A1

The invention relates to a semi-submersible float (2-1), in particular for an offshore wind turbine comprising four columns including one central column (4) intended to receive a wind turbine tower (6) and at least three outer columns (8) which are connected to the central column by arms forming lower pontoons (10). The float is free of upper arms connecting the central column to the outer columns and the outer columns and the lower pontoons are each formed by an assembly of planar panels (81 to 86, 101 to 104) each having a polyhedral cross-section. The invention also relates to a method for constructing such a float.

MOORING SYSTEM

NºPublicación:  WO2025159447A1 31/07/2025
Solicitante: 
YUJOO CO LTD [KR]
(\uC8FC)\uC720\uC8FC
WO_2025159447_PA

Resumen de: WO2025159447A1

The present invention comprises: a floating body floating on the sea surface; a mooring anchor seated on the seabed; a weight body positioned underwater between the floating body and the mooring anchor; and a plurality of mooring lines for mooring the floating body and having a closed curve shape. The mooring lines include: a first portion, in which a central lower part catches on a weight body mooring line catching part of the weight body; a second portion which passes through a weight body vertical passage in the weight body, and in which a central lower part catches on an anchor mooring line catching part of the mooring anchor; and a third portion which passes through a floating body vertical passage in the floating body and is connected to the first portion and the second portion, and in which a central upper portion catches on a floating body mooring line catching part provided on the floating body.

SEMI-SUBMERSIBLE TRIMARAN FLOATING OFFSHORE WIND VESSEL WITH TURRET MOORING

NºPublicación:  EP4590575A1 30/07/2025
Solicitante: 
TRIVANE LTD [GB]
Trivane Ltd
WO_2024062257_PA

Resumen de: WO2024062257A1

A floating structure (1) having three buoyant bodies (3,5,7) for supporting a horizontal axis wind turbine (6) and wind turbine tower (27). The floating structure (1) is provided with a geostationary mooring system that permits it to weathervane in order to head the wind turbine (6) into the wind, and has a wind turbine tower mount (29) for supporting the wind turbine tower (27). A central buoyant body (3) is located partially above water during assembly and tow out from port and is ballasted so that it is underwater when moored offshore, such that the floating structure (1) becomes a semi¬ submersible. The three buoyant bodies (3,5,7) are ship-shaped in form which reduces loads in the mooring system, and are made from stiffened flat plates, which are easier for many yards and fabrication shops to make, compared to cylindrical hulls.

FLOATING SUPPORT STRUCTURE WITH MULTIPLE CENTRAL COLUMNS FOR AN OFFSHORE WIND TURBINE AND METHOD FOR ASSEMBLING SUCH A STRUCTURE

NºPublicación:  EP4590578A1 30/07/2025
Solicitante: 
SAIPEM SA [FR]
SAIPEM S.A
KR_20250051745_PA

Resumen de: CN119894765A

The invention relates to a floating support structure (2-1) for an offshore wind turbine, comprising: a lower connector (4) centered on the axis (X-X) of the mast (9) of the wind turbine, said lower connector (4) comprising at least three lower receiving grooves (10) uniformly distributed around the axis of the mast of the wind turbine; an upper connector (6) centered on the axis of the mast of the wind generator, the upper part of which comprises means (14) for receiving the mast of the wind generator and the lower part of which comprises at least three upper receiving grooves (12) uniformly distributed around the axis of the mast of the wind generator; and at least three identical tubular central posts (8), the lower end of which is fitted in one receiving groove of the lower connector and the opposite upper end of which is fitted in one receiving groove of the upper connector (so as to form a floating support tower adapted to the vertical extension of the mast of the wind turbine). The invention further relates to an assembling method of the structure.

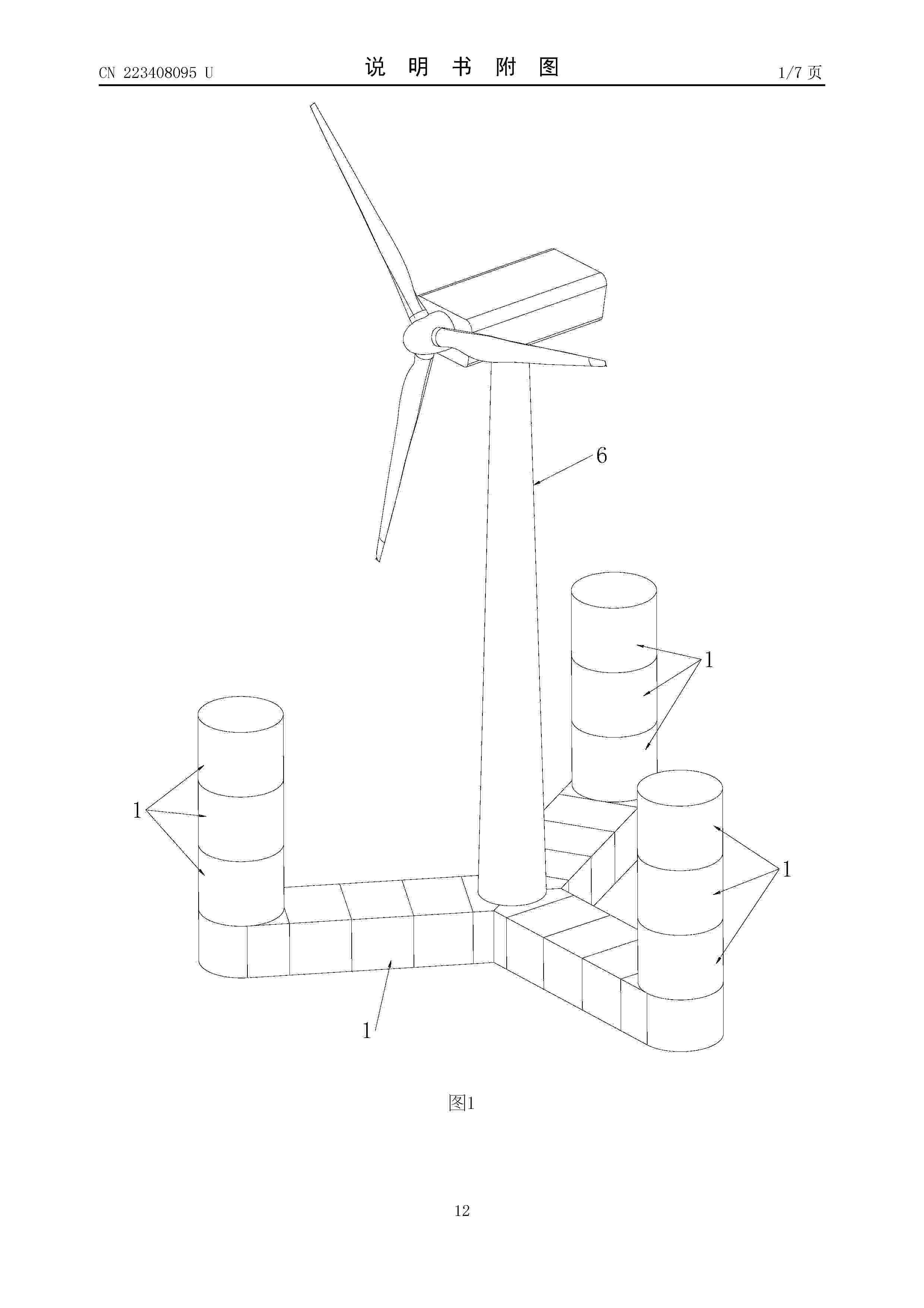
Floating platform for offshore wind power

NºPublicación:  CN223161948U 29/07/2025
Solicitante: 
CCCC HAIFENG NEW ENERGY TECH SHANWEI CO LTD
\u4E2D\u4EA4\u6D77\u5CF0\u65B0\u80FD\u6E90\u79D1\u6280\uFF08\u6C55\u5C3E\uFF09\u6709\u9650\u516C\u53F8
CN_223161948_U

Resumen de: CN223161948U

The utility model relates to the technical field of offshore power generation platforms, in particular to a floating platform for offshore wind power, which comprises a floating platform, a culture hole is formed in the floating platform, and a culture structure is arranged in the culture hole; by means of the breeding structure, the breeding holes are formed in the free space of the top of the floating platform, the breeding cages are placed in the breeding holes, when marine breeding and goods receiving are carried out in the breeding cages, three servo motors are started, output shafts of the servo motors drive winches connected with the servo motors to rotate, and therefore lifting chains can be rolled up; when the floating platform is used, the culture cage can be lifted up from the culture hole, at the moment, marine products in the culture cage can be taken out by opening the opening and closing door, and therefore the free space on the top of the floating platform is utilized, the phenomenon of space resource waste is avoided, and comprehensive utilization of resources and maximization of benefits are achieved.

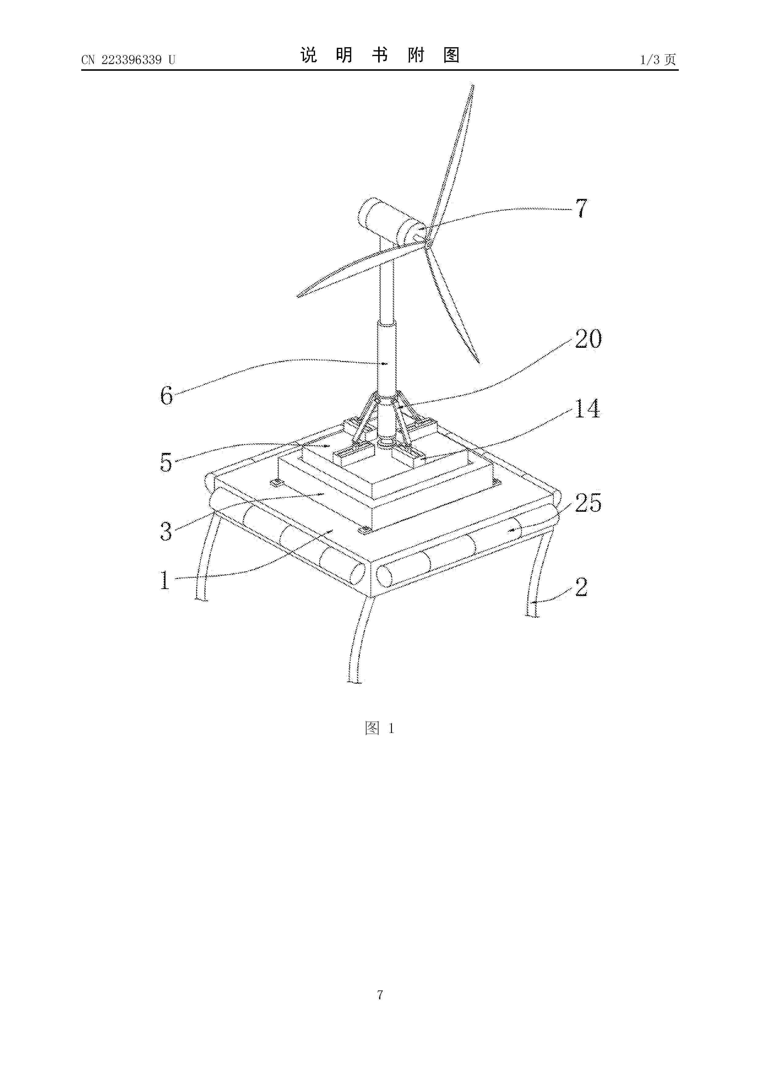
Sandwich type corrugated plate floating body power generation device

NºPublicación:  CN223152194U 25/07/2025
Solicitante: 
CHINA HUADIAN ENG CO LTD
HUADIAN ZHONGGUANG NEW ENERGY TECH CO LTD
\u4E2D\u56FD\u534E\u7535\u79D1\u5DE5\u96C6\u56E2\u6709\u9650\u516C\u53F8,
\u534E\u7535\u4E2D\u5149\u65B0\u80FD\u6E90\u6280\u672F\u6709\u9650\u516C\u53F8
CN_223152194_U

Resumen de: CN223152194U

The utility model provides an interlayer type corrugated plate floating body power generation device which comprises a fan and a floating body, the floating body is a cylinder, the interior of the floating body is hollow, the inner wall and the outer wall of the floating body are made of corrugated plates, filling materials are poured between the inner wall and the outer wall, and sealing plates are arranged at the two ends of the floating body. The top end of the floating body is connected with the fan; wherein the number of the floating bodies is three or more, and the floating bodies are fixedly connected through connecting pieces; and the floating body is connected with the fan through the connecting piece. Three or more floating bodies are adopted to form a buoyancy structure, sea wave impact can be better reduced, and stability is improved. In addition, the draught fan is connected to the top end of the floating body and is higher than the water surface, and seawater corrosion can be reduced.

MOORINGS FOR OFFSHORE INSTALLATIONS

NºPublicación:  AU2024213848A1 24/07/2025
Solicitante: 
SUBSEA 7 LTD
SUBSEA 7 LIMITED
AU_2024213848_PA

Resumen de: AU2024213848A1

A mooring arrangement comprises at least two outer anchors, a reaction anchor disposed between the outer anchors and at least two anchor legs that extend outwardly from the reaction anchor to the outer anchors. The reaction anchor has multi-directional effect, being configured to react against outward forces applied by tension in the mutually-opposed anchor legs. Each anchor leg comprises a tensioner, an inner line extending from the reaction anchor to the tensioner, and an outer line extending from the tensioner to the outer anchor. A tensioner line, which may be the inner line or the outer line, is fixed to the tensioner whereas a mooring line extends through the tensioner. An upper section of the mooring line extends from the tensioner to a moored floating body. A lower section of the mooring line forms part of the anchor leg, as either the inner line or the outer line.

SYSTEMS AND METHODS FOR SETTING OFFSHORE DEEPLY EMBEDDED ANCHORS

NºPublicación:  US2025236358A1 24/07/2025
Solicitante: 
THE TEXAS A&M UNIV SYSTEM [US]
The Texas A&M University System

Resumen de: US2025236358A1

A deeply embedded anchor installable in a seabed positioned beneath a water column including a foundation connectable to a follower for installing the foundation beneath the seabed. The foundation includes a foundation body extending longitudinally between a first end and an opposing second end, and a keying flap assembly including one or more flaps pivotably coupled to the foundation body, wherein each of the one or more flaps are pivotable relative to the foundation body between a vertical position corresponding to a run-in configuration of the deeply embedded anchor and a horizontal position angularly spaced from the vertical position and corresponding to an installed configuration of the deeply embedded anchor.

GEAR SHIFTING DEVICE, TRANSMISSION MECHANISM, AND WIND TURBINE GENERATOR SYSTEM

NºPublicación:  US2025237193A1 24/07/2025
Solicitante: 
BEIJING GOLDWIND SCIENCE & CREATION WINDPOWER EQUIPMENT CO LTD [CN]
BEIJING GOLDWIND SCIENCE & CREATION WINDPOWER EQUIPMENT CO., LTD
EP_4513057_PA

Resumen de: US2025237193A1

A gear shifting device includes a first planetary gear train. The first planetary gear train includes a first ring gear, a first planet carrier, a first planet gear, a sun idler, and a planet idler; the planet idler and the first planet gear are both installed on the first planet carrier; the first planet gear includes a pinion and a bull gear coaxially connected to the pinion; the planet idler and the pinion are both meshed with the inside of the first ring gear and are both meshed with the outside of the sun idler; the pinion can float in the radial direction relative to the first planet carrier; an input shaft is further provided; one end of the input shaft is connected to the first ring gear.

FLOATING POWER GENERATION SYSTEM

NºPublicación:  WO2025155648A1 24/07/2025
Solicitante: 
KUNESH ROBERT J [US]
KUNESH, Robert, J
WO_2025155648_PA

Resumen de: WO2025155648A1

A floating power generation system incorporates a scotch yoke mechanism that is coupled with an electrical generator to produce power and is actuated by a fin assembly having a plurality of fins that move or pivot from a first pivot position to a second pivot position. The fins are coupled with the yoke of the scotch yoke by a cable to move the yoke back and forth in a reciprocating motion. As the fins move back and forth from one side of the water flow direction to the other, the yoke reciprocates and turns the flywheel to produce electrical power. The floating power generation system may employ two fin assemblies, wherein a first fin assembly directs water through the plurality of first fins into the plurality of second fins of the second fin assembly to force the second fins in an opposing pivot orientation from said first fins.

SYSTEMS AND METHODS FOR SETTING OFFSHORE DEEPLY EMBEDDED ANCHORS

NºPublicación:  WO2025155958A1 24/07/2025
Solicitante: 
THE TEXAS A&M UNIV SYSTEM [US]
THE TEXAS A&M UNIVERSITY SYSTEM
WO_2025155958_PA

Resumen de: WO2025155958A1

A deeply embedded anchor installable in a seabed positioned beneath a water column including a foundation connectable to a follower for installing the foundation beneath the seabed. The foundation includes a foundation body extending longitudinally between a first end and an opposing second end, and a keying flap assembly including one or more flaps pivotably coupled to the foundation body, wherein each of the one or more flaps are pivotable relative to the foundation body between a vertical position corresponding to a run-in configuration of the deeply embedded anchor and a horizontal position angularly spaced from the vertical position and corresponding to an installed configuration of the deeply embedded anchor.

Advanced Floating Powerhouse with Expandable Solar and Wind Arrays, an Articulated Siphon Turbine for Scalable Pumped Hydro Energy Storage, Desilting, Flood Mitigation, and Water Treatment, operated by AI-driven algorithms synchronized with Weather and Grid Demands, Utilizing HaLow Wi-Fi Sensors, by powering 24/7 modular liquid-cooled submerged datacenter, designed for servicing a lake .

Nº publicación: AU2025200099A1 24/07/2025

Solicitante:

BARBULESCU DAN
BARBULESCU TUDOR
BARBULESCU VICTOR
BARBULESCU DAVID
BARBULESCU NINETA
BARBULESCU CRISTIAN
Barbulescu, Dan,
Barbulescu, Tudor,
Barbulescu, Victor,
Barbulescu, David,
Barbulescu, Nineta,
Barbulescu, Cristian

AU_2025200099_A1

Resumen de: AU2025200099A1

TITLE OF THE INVENTION Advanced Floating Powerhouse with Expandable Solar and Wind Arrays, an Articulated Siphon Turbine for Scalable Pumped Hydro Energy Storage, Desilting, Flood Mitigation, and Water Treatment, Operated by AI-Driven Algorithms Synchronized with Weather and Grid Demands, Utilizing HaLow Wi-Fi Sensors, and Powering Modular Liquid-Cooled Submerged Datacenters for Lake Servicing. The invention provides a scalable modular floating powerhouse system integrating solar and wind energy arrays, an articulated siphon turbine with dual-mode operation, and inflatable dams for enhanced pumped hydro energy storage and water management. AI-driven algorithms, utilizing machine learning models such as neural networks for pattern recognition and reinforcement learning for adaptive decision-making, synchronized with real-time environmental and grid demand data from HaLow Wi-Fi sensors, enable predictive flood mitigation. These algorithms dynamically adjust system parameters, preemptively deploy resources based on simulations of flooding scenarios, and optimize energy usage through real-time load balancing. The system ensures continuous renewable energy utilization for powering modular liquid-cooled submerged data centers and operates efficiently within existing grid infrastructures, addressing scalability, intermittency, and environmental sustainability challenges. TITLE OF THE INVENTION Advanced Floating Powerhouse with Expandable Solar and Wind Arrays, an Articulated Siphon

traducir