Ministerio de Industria, Turismo y Comercio LogoMinisterior
 

Alerta

Resultados 885 resultados
LastUpdate Última actualización 24/04/2026 [07:20:00]
pdfxls
Publicaciones de los últimos 15 días/Last 15 days publications (excluidas pubs. CN y JP /CN and JP pubs. excluded)
previousPage Resultados 175 a 200 de 885 nextPage  

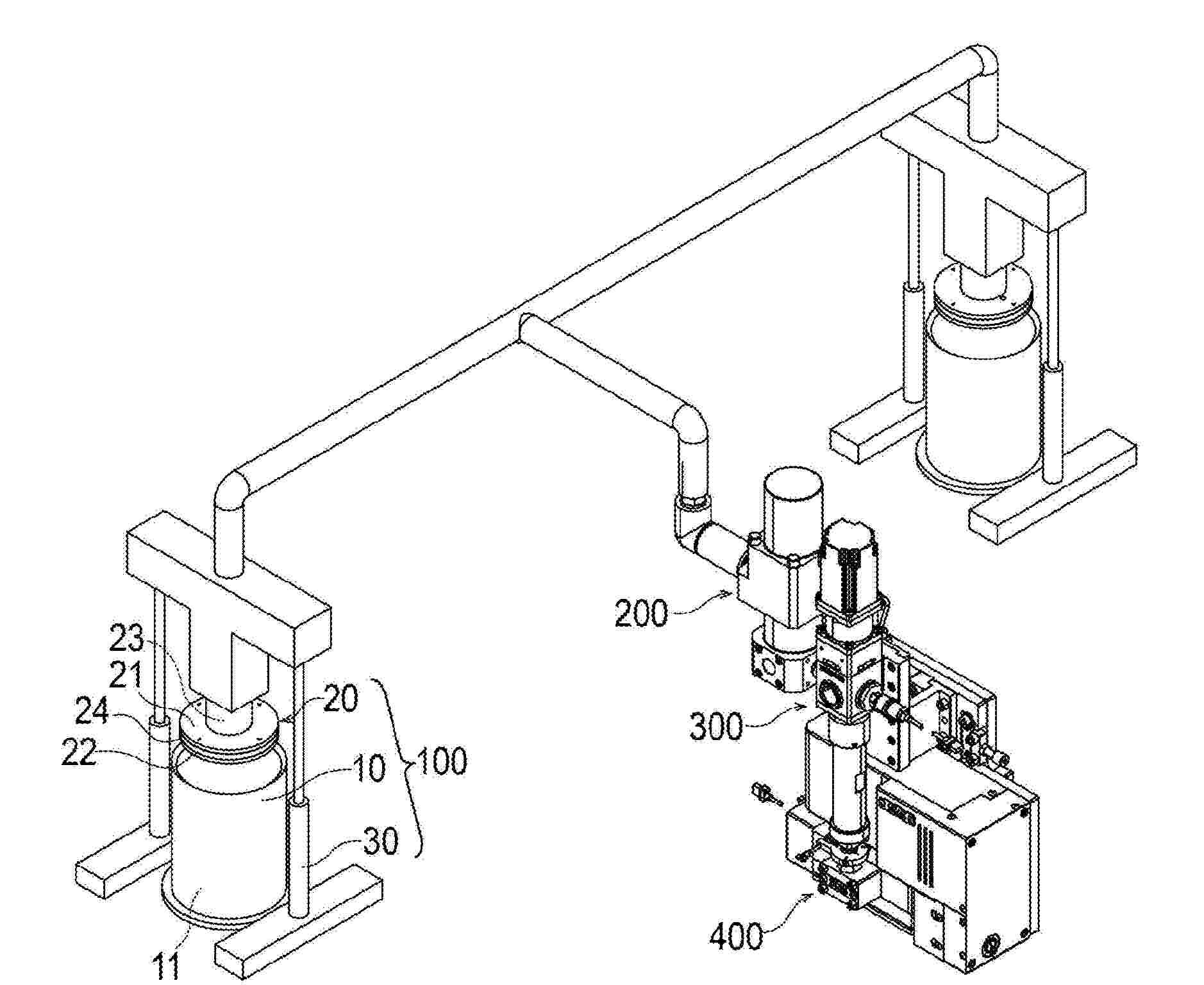
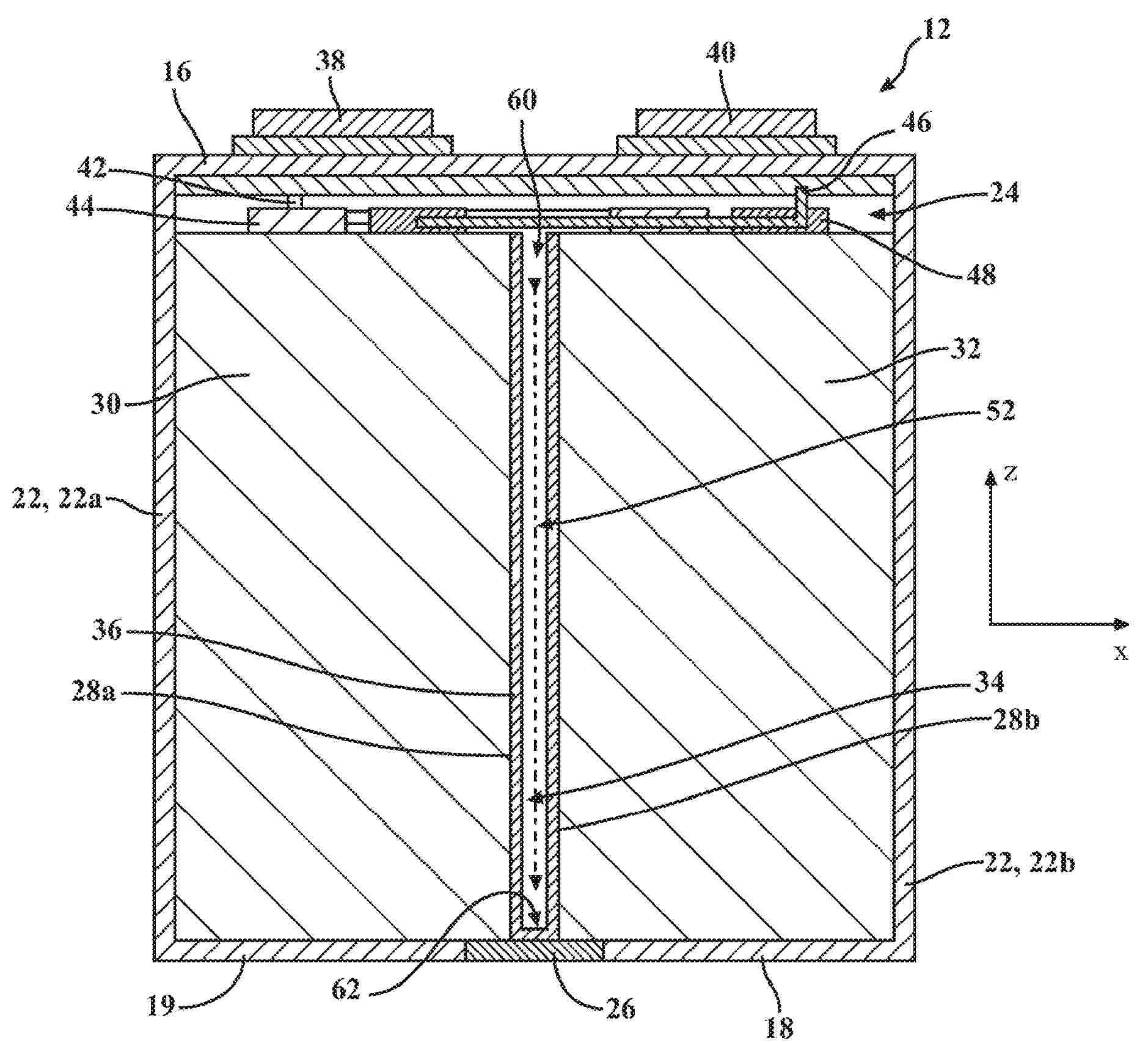
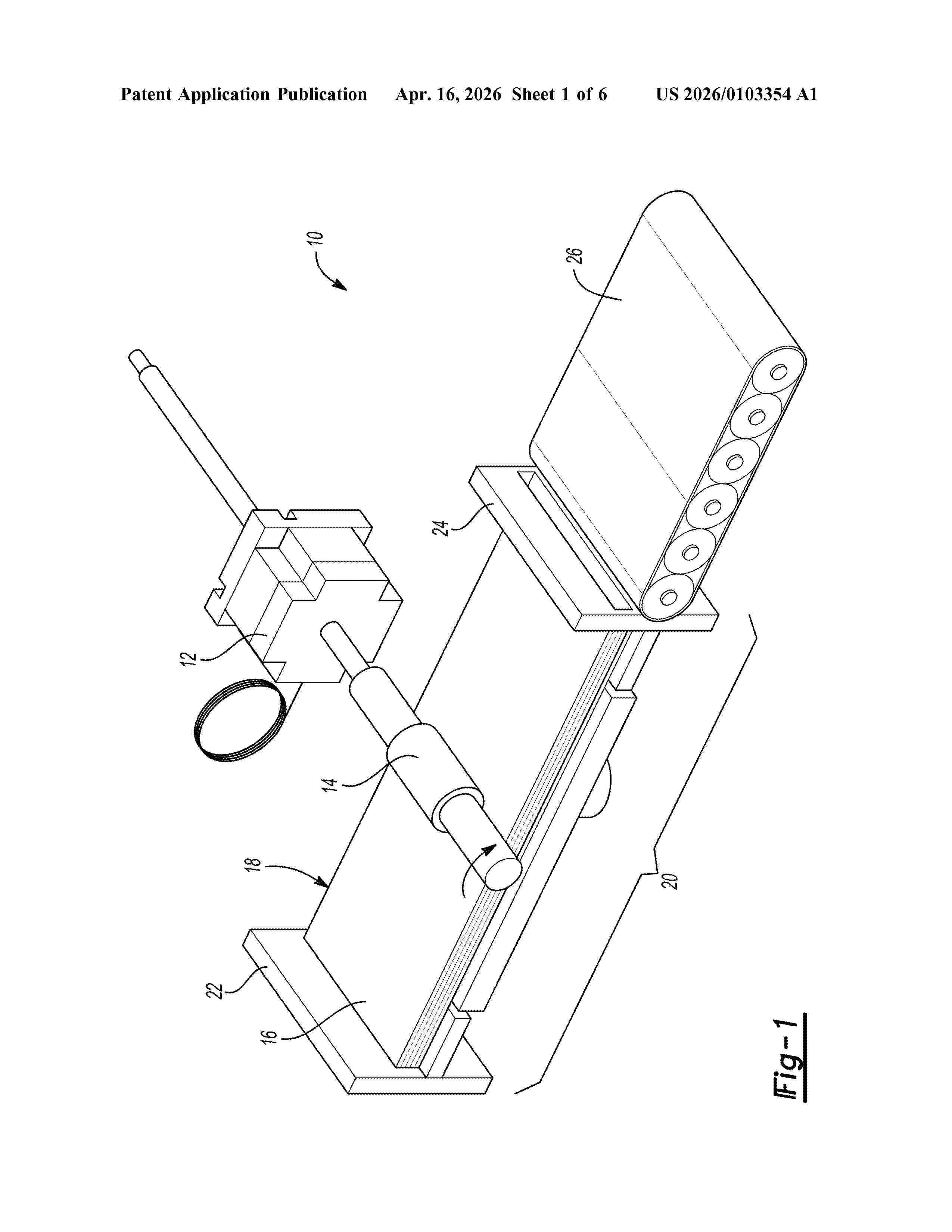
SYSTEMS FOR BATTERY MANUFACTURE

NºPublicación:  US20260103354A1 16/04/2026
Solicitante: 
FORD GLOBAL TECH LLC [US]
US_20260103354_A1

Resumen de: US20260103354A1

0000 A system for manufacturing battery cells and methods for utilizing the system are presented. The system includes a feed rotator that contacts an uppermost electrode sheet in a stack of electrode sheets, a fixed stop positioned adjacent to the feed rotator, and a bi-directional drive coupled to the feed rotator and operable to rotate the feed rotator in a first direction to force the uppermost electrode sheet against the fixed stop and immediately thereafter rotate the feed rotator in a second direction opposite to the first direction to feed the uppermost electrode sheet away from the stack.

SECONDARY BATTERY AND ELECTRONIC DEVICE

NºPublicación:  WO2026076679A1 16/04/2026
Solicitante: 
NINGDE AMPEREX TECH LIMITED [CN]
DONGGUAN AMPEREX TECH LIMITED [CN]
\u5B81\u5FB7\u65B0\u80FD\u6E90\u79D1\u6280\u6709\u9650\u516C\u53F8
\u4E1C\u839E\u65B0\u80FD\u6E90\u79D1\u6280\u6709\u9650\u516C\u53F8
WO_2026076679_A1

Resumen de: WO2026076679A1

A secondary battery and an electronic device. The secondary battery comprises a packaging bag, an electrode assembly, and a first bonding member. The electrode assembly is of a winding structure, and a first electrode sheet of the electrode assembly comprises a first current collector and a first active material layer. The first current collector comprises a first surface and a second surface, and the first surface faces a winding central axis. The first active material layer comprises a first sub-layer provided on the first surface and a second sub-layer provided on the second surface. A third ending region of the first current collector in the winding direction is exposed to the first sub-layer and the second sub-layer. The first bonding member is provided on the side of the third ending region facing the winding central axis and bonded to the first surface and/or the second surface, and the first bonding member is separated from the first sub-layer and the second sub-layer in the winding direction. The first electrode sheet comprises a first edge and a second edge opposite to each other in the width direction of the first electrode sheet. The projection of the first edge falls within the range of the projection of the first bonding member. The projection of an edge of the third ending region in the winding direction falls within the range of the projection of the first bonding member.

Assembly With Battery Cell, Intercell Connector and Conducting Element

NºPublicación:  US20260106354A1 16/04/2026
Solicitante: 
BAYERISCHE MOTOREN WERKE AG [DE]
US_20260106354_A1

Resumen de: US20260106354A1

0000 An assembly for a traction battery of a motor vehicle, includes: a battery cell having a metallic cell housing, a first cell pole and a second cell pole which assumes a potential of the cell housing; an intercell connector, which is electrically connected to the first cell pole to form a current path between the battery cell and at least one further battery cell of the traction battery, and which has a fuse for interrupting the current path in response to flux of a tripping current via the intercell connector; and at least one electrically conductive conducting element, which is electrically and mechanically connected to the intercell connector and/or to the first cell pole, and which is designed, in the event of a fault current flux via the intercell connector which lies below the tripping current and which results in a melting and subsidence of the first cell pole and/or of the intercell connector in the direction of the cell housing, to contact-connect the cell housing and thus short-circuit the cell poles, for the provision of the tripping current.

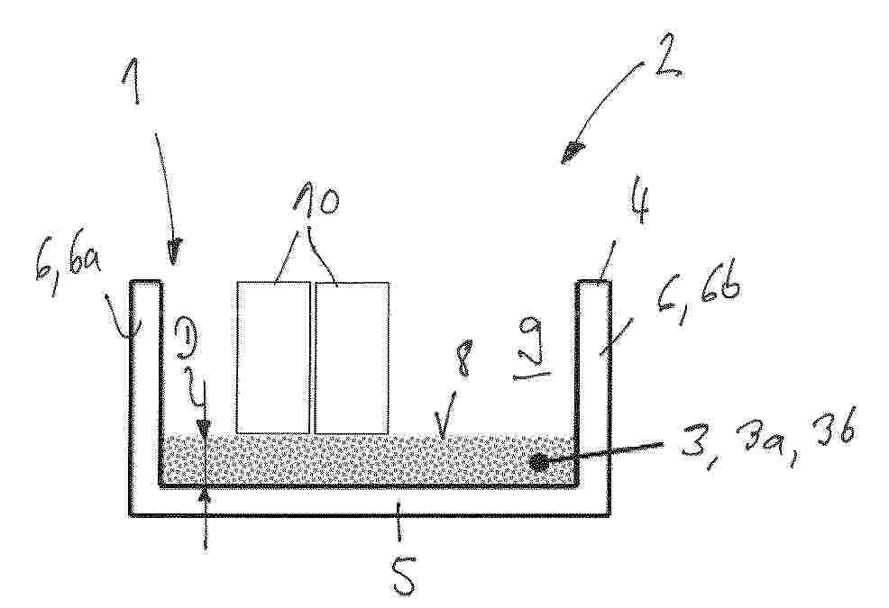
Verfahren zur Herstellung eines Batterietroges einer Traktionsbatterie für eine mobile Arbeitsmaschine

NºPublicación:  DE102025105324A1 16/04/2026
Solicitante: 
KION BATTERY SYSTEMS GMBH [DE]
DE_102025105324_PA

Resumen de: DE102025105324A1

Die Erfindung betrifft ein Verfahren zur Herstellung eines Batterietroges (1) einer Traktionsbatterie (2), insbesondere einer Lithium-Ionen-Traktionsbatterie, für eine mobile Arbeitsmaschine, insbesondere ein Flurförderzeug, wobei der Batterietrog (1) zumindest teilweise mit einer Ballastfüllung (3) verfüllt wird, wobei die Ballastfüllung (3) ein Ballastmaterial (3a) und einen Verbundstoff (3b) umfasst, wobei der Batterietrog (2) eine Außenhülle (4) mit einer Bodenwand (5) und einer umlaufenden Außenwandung (6) aufweist. Das Verfahren umfasst die Schritte:• Bereitstellen des Batterietrogs (1) und der Ballastfüllung (3);• Befüllen des Batterietrogs (1) mit der Ballastfüllung (3);• Erzeugen einer planen Oberfläche (8) der Ballastfüllung (3), wobei sich die plane Oberfläche (8) bis zur umlaufende Außenwandung (6) erstreckt;• Aushärten der Ballastfüllung (3) zu einem Verbundmaterial.

LITHIUM METAL SECONDARY BATTERY

NºPublicación:  US20260106356A1 16/04/2026
Solicitante: 
HONDA MOTOR CO LTD [JP]
US_20260106356_A1

Resumen de: US20260106356A1

0000 A lithium metal secondary battery according to an embodiment of the present invention includes: a positive electrode layer; a negative electrode layer; a solid electrolyte layer disposed between the positive electrode layer and the negative electrode layer; and an intermediate layer disposed between the negative electrode layer and the solid electrolyte layer. A lithium metal layer is disposed on a surface of the negative electrode layer on an intermediate layer side. An intermediate layer insulating material covering an outer peripheral surface of the intermediate layer is provided. The intermediate layer insulating material does not have lithium ion conductivity.

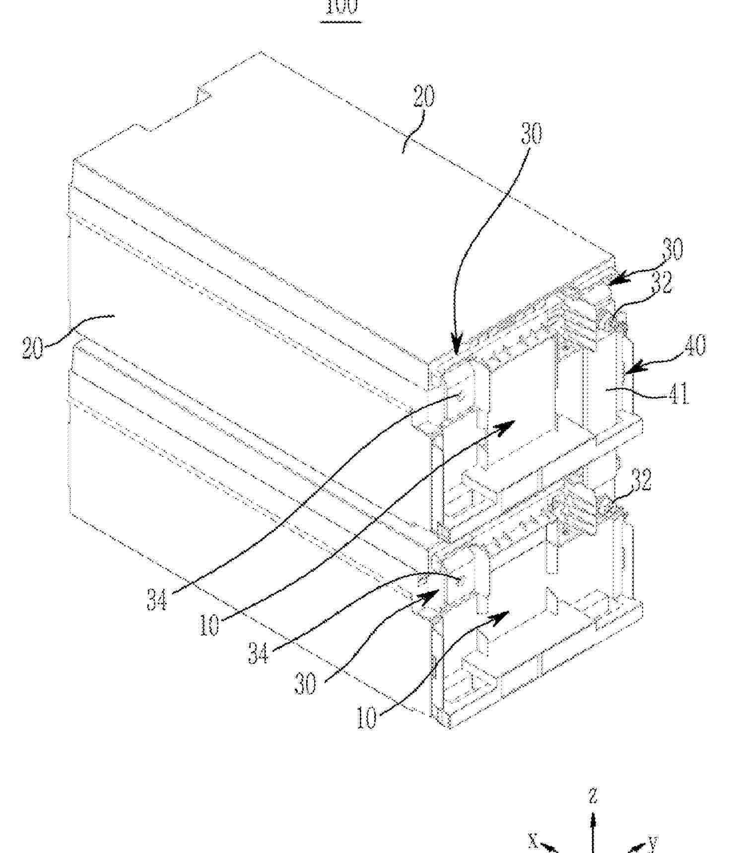
ELECTRICAL ENERGY STORAGE DEVICE AND MANUFACTURING METHOD FOR ELECTRICAL ENERGY STORAGE DEVICE

NºPublicación:  US20260106142A1 16/04/2026
Solicitante: 
PRIME PLANET ENERGY & SOLUTIONS INC [JP]
US_20260106142_A1

Resumen de: US20260106142A1

0000 In an electrical energy storage device disclosed herein, a negative electrode includes a negative electrode active material layer with a length of 200 mm or more in a winding axis direction. A half width ratio (Lh/La) calculated based on a ratio (B/C) of a boron element at a central part of the negative electrode active material layer in the winding axis direction is 0.17 or less.

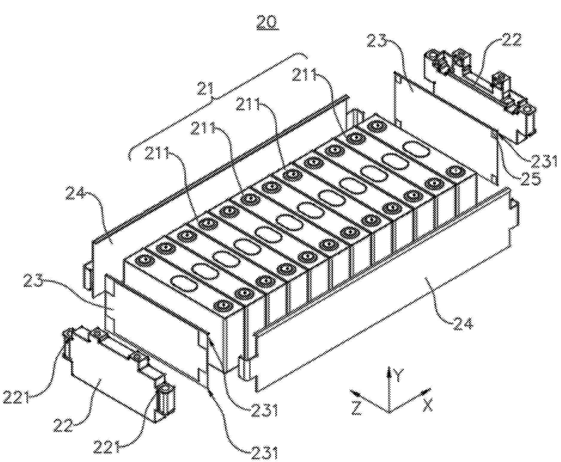
BATTERY CELL, BATTERY PACK, VEHICLE COMPRISING SAME, AND METHOD FOR MANUFACTURING BATTERY CELL

NºPublicación:  WO2026079847A1 16/04/2026
Solicitante: 
LG ENERGY SOLUTION LTD [KR]
\uC8FC\uC2DD\uD68C\uC0AC \uC5D8\uC9C0\uC5D0\uB108\uC9C0\uC194\uB8E8\uC158
WO_2026079847_A1

Resumen de: WO2026079847A1

Disclosed are a battery cell, a battery pack, a vehicle comprising same, and a method for manufacturing the battery cell, the battery cell being capable of performing welding joining between a current collector and a rivet by inserting a welding horn tip via a groove of the rivet from the outside of the rivet relative to the current collector. A battery cell, according to an embodiment of the present invention, comprises: a battery housing configured to accommodate an electrode assembly of a secondary battery; a current collector provided in the battery housing and electrically connected to electrodes of the electrode assembly; and a rivet at least partially inserted through an opening of the battery housing and joined to the current collector. The rivet has a recessed groove on a second surface opposite to a first surface in contact with the current collector for through-welding the rivet to the current collector.

METHOD FOR MANUFACTURING ELECTRODE, ELECTRODE, AND LITHIUM SECONDARY BATTERY

NºPublicación:  WO2026079800A1 16/04/2026
Solicitante: 
LG ENERGY SOLUTION LTD [KR]
\uC8FC\uC2DD\uD68C\uC0AC \uC5D8\uC9C0\uC5D0\uB108\uC9C0\uC194\uB8E8\uC158
WO_2026079800_A1

Resumen de: WO2026079800A1

An electrode according to exemplary embodiments comprises: an electrode current collector; and an electrode active material layer including an electrode active material, wherein the electrode active material layer comprises: a first electrode active material layer disposed on the electrode current collector and including first and second binders; and a second electrode active material layer disposed on the first electrode active material layer, having a stepped pattern formed by recessed portions and non-recessed portions on the surface thereof, and including the first binder, the second binder being a polyacrylonitrile (PAN)-based binder.

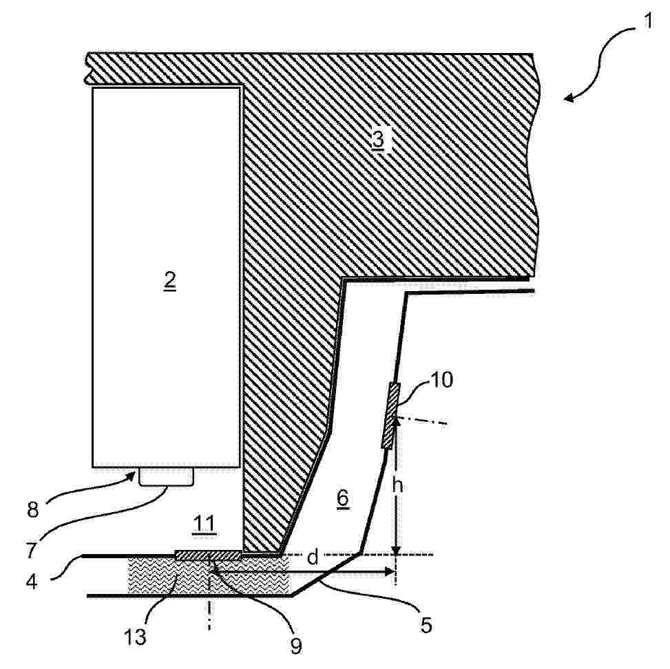
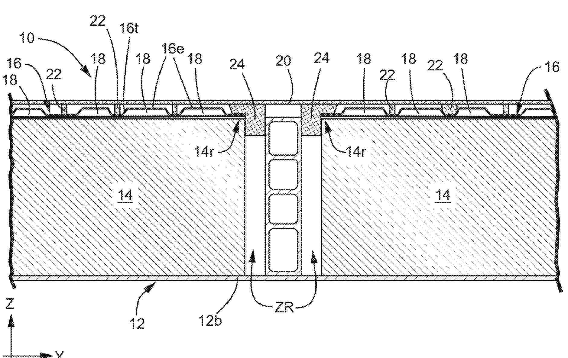
Batteriegehäuse

NºPublicación:  DE102024129404A1 16/04/2026
Solicitante: 
ELRINGKLINGER AG [DE]
DE_102024129404_PA

Resumen de: DE102024129404A1

Die vorliegende Erfindung betrifft ein Batteriegehäuse, in dem elementare Speicherzellen druckdicht umschlossen angeordnet sind.Um ein Batteriegehäuse der genannten Art mit Blick auf seine Sicherheit auch im Fall eines thermischen Events zu verbessern, da es sich bei den austretenden Stoffen zum Teil um extrem heiße, giftige und schädigende Gase handelt, die eine Gefährdung für jede Person in unmittelbarer Nähe darstellen, wird vorgeschlagen, dass das Batteriegehäuse (1) eine Überdruck-Entlastungseinrichtung (10) aufweist, die in einer Einbaulage des Batteriegehäuses (1) räumlich gegenüber einer Überdruck-Entlastungseinrichtung (8,9) einer untergeordneten Einheit (2, 14) versetzt angeordnet ist und sich die Überdruck-Entlastungseinrichtung (10) in einer Höhe (h) über einer Bodenwandung (B) des Batteriegehäuses (1) befindet.

DEVICE AND METHOD FOR PREDICTING CELL CAPACITY

NºPublicación:  WO2026079708A1 16/04/2026
Solicitante: 
LG ENERGY SOLUTION LTD [KR]
\uC8FC\uC2DD\uD68C\uC0AC \uC5D8\uC9C0\uC5D0\uB108\uC9C0\uC194\uB8E8\uC158
WO_2026079708_A1

Resumen de: WO2026079708A1

A method for predicting a capacity of a battery cell according to an embodiment of the present invention may comprise the steps of: measuring cell-related information during an activation process; compressing temperature profile data among the cell-related information to extract a temperature latent variable; and inputting activation process data including the temperature latent variable into a pre-trained machine learning model to produce a cell capacity prediction value.

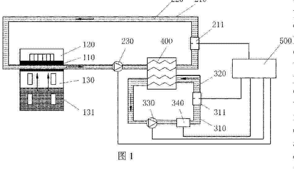
COOLING MEDIUM MIGRATION METHOD AND DEVICE

NºPublicación:  WO2026077038A1 16/04/2026
Solicitante: 
CONTEMPORARY AMPEREX TECH CO LIMITED [CN]
\u5B81\u5FB7\u65F6\u4EE3\u65B0\u80FD\u6E90\u79D1\u6280\u80A1\u4EFD\u6709\u9650\u516C\u53F8
WO_2026077038_A1

Resumen de: WO2026077038A1

Provided in the embodiments of the present application are a cooling medium migration method and a device, which can improve the flexibility of matching a first thermal management module with a second thermal management module. The cooling medium migration method comprises: controlling a cooling medium to migrate from a first thermal management module to a second thermal management module, both the first thermal management module and the second thermal management module being modules having a thermal management function in an energy storage system; during the process of the cooling medium migrating from the first thermal management module to the second thermal management module, determining the pressure value of the cooling medium in the first thermal management module; and, when the pressure value of the cooling medium reaches a pressure threshold, determining that the process of the cooling medium migrating from the first thermal management module to the second thermal management module has ended.

VISION INSPECTION SYSTEM CAPABLE OF INSPECTING RESIDUAL QUANTITY OF SEPARATOR IN ELECTRODE ASSEMBLY AND INSPECTION METHOD THEREOF

NºPublicación:  WO2026079589A1 16/04/2026
Solicitante: 
LG ENERGY SOLUTION LTD [KR]
\uC8FC\uC2DD\uD68C\uC0AC \uC5D8\uC9C0\uC5D0\uB108\uC9C0\uC194\uB8E8\uC158
WO_2026079589_A1

Resumen de: WO2026079589A1

Provided are a vision inspection system and a vision inspection method, which measure a residual quantity of a separator of an electrode assembly assembled by winding a first electrode and a second electrode with the separator therebetween. The system comprises: a conveyor which extends in a proceeding direction and transfers the electrode assembly in the proceeding direction; a rotation device which is located at a first position and rotates the electrode assembly about a winding axis of the electrode assembly as a center of rotation; a sensor unit which detects a portion-to-be-detected included in the circumferential surface of the electrode assembly; a control unit for controlling the rotating device; and a first vision inspection device for measuring a residual length of a separator by photographing the circumferential surface of the electrode assembly.

UNIT CELL STACKING DEVICE AND UNIT CELL STACKING METHOD USING SAME

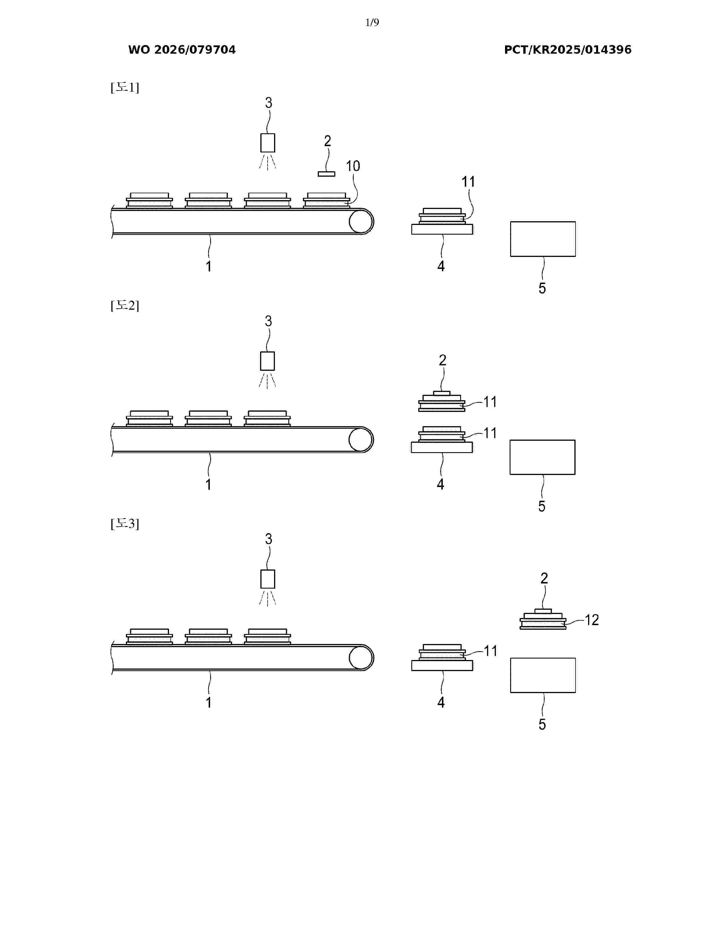
NºPublicación:  WO2026079704A1 16/04/2026
Solicitante: 
LG ENERGY SOLUTION LTD [KR]
\uC8FC\uC2DD\uD68C\uC0AC \uC5D8\uC9C0\uC5D0\uB108\uC9C0\uC194\uB8E8\uC158
WO_2026079704_A1

Resumen de: WO2026079704A1

The present invention relates to a unit cell stacking device and a unit cell stacking method using same, the unit cell stacking device comprising: a conveyor belt on which unit cells are seated, and which transfers the unit cells to one side or the other side; a transfer unit for adsorbing and transferring upper surfaces of the unit cells; a photographing unit for photographing the unit cells; a control unit for determining whether the unit cells are defective by using information received from the photographing unit; a stacking unit in which normal unit cells determined to be normal by means of the control unit are stacked; and a discharge unit for discharging defective unit cells determined to be defective by means of the control unit.

SECONDARY BATTERY, BATTERY PACK, AND METHOD FOR MANUFACTURING SECONDARY BATTERY

NºPublicación:  WO2026079552A1 16/04/2026
Solicitante: 
SAMSUNG SDI CO LTD [KR]
\uC0BC\uC131\uC5D0\uC2A4\uB514\uC544\uC774\uC8FC\uC2DD\uD68C\uC0AC
WO_2026079552_A1

Resumen de: WO2026079552A1

The present disclosure relates to a secondary battery, a battery pack, and a method for manufacturing a secondary battery, and the technical problem to be solved is to provide a secondary battery having improved capacity, a battery pack, and a method for manufacturing a secondary battery. To this end, the present disclosure provides a secondary battery comprising: a case having an opening and including a case connection portion; an electrode assembly accommodated in the case and electrically connected to the case; and a cap assembly inserted into the opening, electrically connected to the electrode assembly, and having a cap connection portion connected to the case connection portion.

VERBUNDKERMAMIKELEKTROLYTPARTIKEL MIT HYDROPHOBER SCHUTZSCHICHT FÜR BATTERIEELEKTRODEN

NºPublicación:  DE102024130113A1 16/04/2026
Solicitante: 
SHENZHEN TXD TECH CO LTD [CN]
DE_102024130113_PA

Resumen de: DE102024130113A1

Ein Verbundkeramikelektrolytpartikel mit einer hydrophoben Schutzschicht für eine Batterieelektrode, wobei der Verbundkeramikelektrolytpartikel einen LLZO-Verbundpartikel darstellt. Der LLZO-Verbundpartikel umfasst einen ersten LLZO-Partikel. Eine erste Hydroxidionenschicht ist auf den ersten LLZO-Partikel aufgetragen, um einen LLZO-Verbundpartikel zweiter Ordnung zu bilden. Eine erste Dopaminschicht ist auf den LLZO-Verbundpartikel zweiter Ordnung aufgetragen, um einen hydrophoben LLZO-Partikel zu bilden. Eine äußere hydrophobe Schicht ist auf den hydrophoben LLZO-Partikel aufgetragen, um den LLZO-Verbundpartikel zu bilden. Die äußere hydrophobe Schicht umfasst eine Vielzahl peripherer Verbundpartikel. Jeder der peripheren Verbundpartikel umfasst einen peripheren Partikel. Eine zweite Hydroxidionenschicht ist auf den peripheren Partikel aufgetragen. Eine zweite Dopaminschicht ist auf die zweite Hydroxidionenschicht aufgetragen.

COMPOSITE ACTIVE MATERIAL AND PREPARATION METHOD THEREFOR, SOLID-STATE BATTERY CELL, BATTERY DEVICE, AND ELECTRIC DEVICE

NºPublicación:  WO2026076934A1 16/04/2026
Solicitante: 
CONTEMPORARY AMPEREX TECH CO LIMITED [CN]
\u5B81\u5FB7\u65F6\u4EE3\u65B0\u80FD\u6E90\u79D1\u6280\u80A1\u4EFD\u6709\u9650\u516C\u53F8
WO_2026076934_A1

Resumen de: WO2026076934A1

The present application relates to a composite active material and a preparation method therefor, a solid-state battery cell, a battery device, and an electric device. The solid-state battery cell comprises a current collector and a film layer arranged on at least one side surface of the current collector, wherein the film layer comprises a composite active material and a sulfide solid electrolyte. The composite active material comprises an inner core, at least one first coating layer and a second coating layer, wherein the at least one first coating layer is coated on at least part of the surface of the inner core, and the second coating layer is coated on at least part of the surface of the outermost first coating layer. The second coating layer comprises a selenium-containing compound, and the chemical formula of the selenium-containing compound is SeaMb, wherein M comprises at least one of Li, Na, K, Mg, Ca, S, Mo, Cr, Zn, In, Ga, Co, and Mn, 0

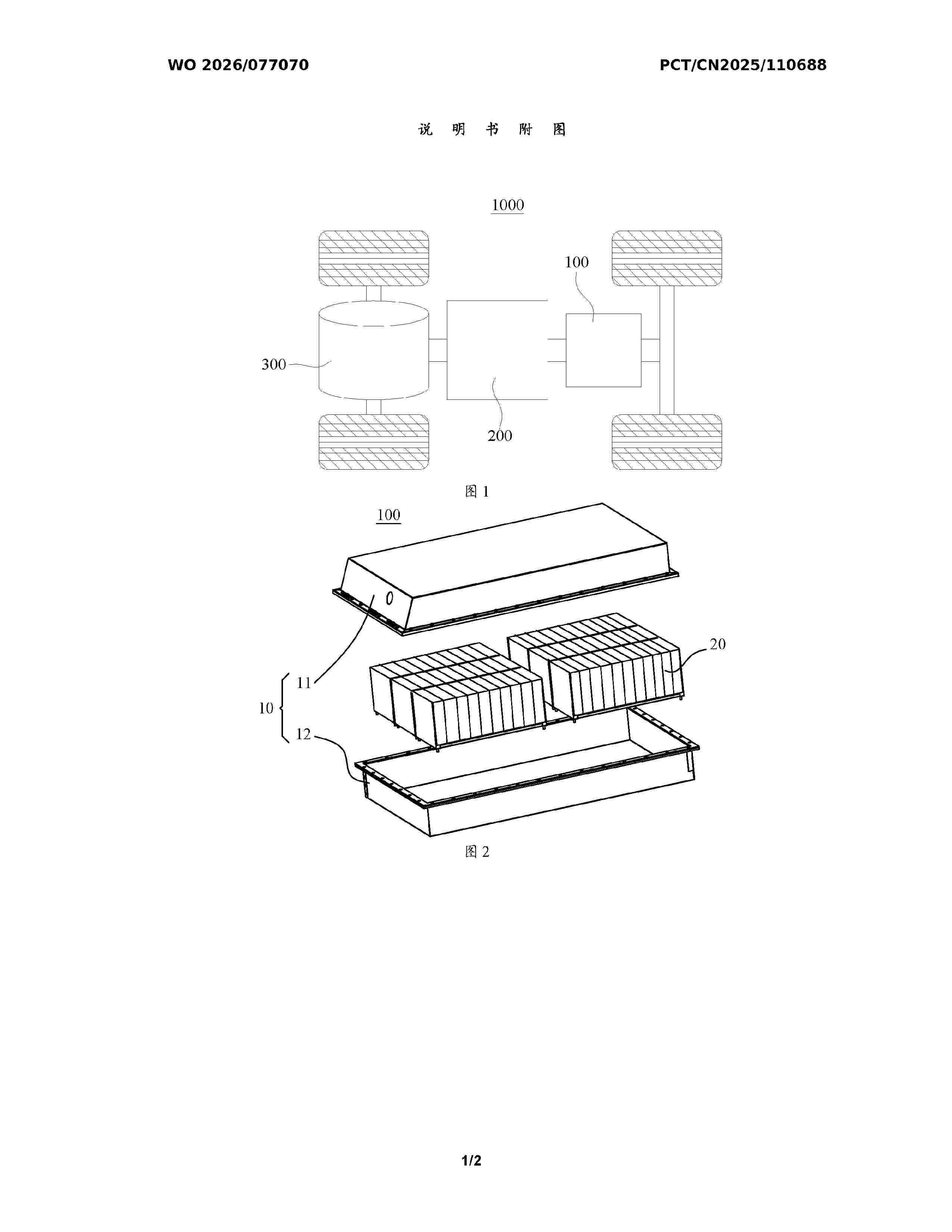
LITHIUM-ION BATTERY AND ELECTRICAL DEVICE

NºPublicación:  WO2026077070A1 16/04/2026
Solicitante: 
CONTEMPORARY AMPEREX TECH CO LIMITED [CN]
\u5B81\u5FB7\u65F6\u4EE3\u65B0\u80FD\u6E90\u79D1\u6280\u80A1\u4EFD\u6709\u9650\u516C\u53F8
WO_2026077070_A1

Resumen de: WO2026077070A1

Disclosed are a lithium-ion battery and an electrical device. An electrolyte of the lithium-ion battery comprises a first additive and a second additive; the redox potential of the first additive is lower than the highest redox potential of a positive electrode active material, and the redox potential of the second additive is greater than or equal to the highest redox potential of the positive electrode active material. The first additive can continuously react with the surface of an SEI film of a negative electrode sheet, so as to expose dead lithium in the SEI film, allowing the dead lithium to have an opportunity to participate in lithium cycling again. The second additive is introduced to cooperate with the first additive to further react with the exposed dead lithium, such that the dead lithium is oxidized to form soluble lithium ions, thus improving the efficiency of dead lithium participating in lithium cycling again, and helping to improve the capacity retention rate of lithium-ion batteries.

HIGH POWER HYBRID SILICON ANODE WITH EXTREME FAST CHARGING

NºPublicación:  US20260106144A1 16/04/2026
Solicitante: 
EFLION POWER INC [US]
US_20260106144_A1

Resumen de: US20260106144A1

A lithium battery having a hybrid anode comprising silicon, graphite and hard carbon active materials.

X-RAY ANALYSIS SYSTEM

NºPublicación:  US20260104367A1 16/04/2026
Solicitante: 
HONDA MOTOR CO LTD [JP]
CN_121830735_PA

Resumen de: US20260104367A1

0000 An X-ray analysis system irradiates, with an X-ray, a battery cell including a battery and a laminate housing the battery to obtain analysis data. The X-ray analysis system includes a sample holder that can restrain the battery cell, a holder that holds the sample holder and can switch an irradiation position indicating a position to be irradiated with the X-ray, with respect to the battery cell restrained by the sample holder, and a charger-discharger that charges and discharge the battery cell restrained by the sample holder. The sample holder includes a transmissive portion that allows the X-ray to be transmitted through a plurality points of the battery cell.

SECONDARY BATTERY AND METHOD FOR MANUFACTURING SAME, ELECTRONIC DEVICE INCLUDING SAME

NºPublicación:  US20260106275A1 16/04/2026
Solicitante: 
SAMSUNG SDI CO LTD [KR]
US_20260106275_A1

Resumen de: US20260106275A1

A secondary battery may include an electrode assembly, a case accommodating the electrode assembly and including an electrode terminal coupled to an electrode tab of the electrode assembly, a case cover on an open side of the case, and a support portion protruding from the case cover to one side and coupled to a housing accommodating the case, wherein the support portion is configured to be elastically deformed and released from the housing based on receiving an external force.

DISPERSION LIQUID SET FOR SECONDARY BATTERY ELECTRODE, CARBON NANOTUBE DISPERSION LIQUID, FIBER DISPERSION LIQUID, DISPERSION LIQUID FOR SECONDARY BATTERY ELECTRODE, SLURRY COMPOSITION FOR SECONDARY BATTERY ELECTRODE, SECONDARY BATTERY ELECTRODE, SECONDARY BATTERY, AND METHOD FOR PRODUCING DISPERSION LIQUID FOR SECONDARY BATTERY ELECTRODE

NºPublicación:  WO2026079393A1 16/04/2026
Solicitante: 
ZEON CORP [JP]
\u65E5\u672C\u30BC\u30AA\u30F3\u682A\u5F0F\u4F1A\u793E
WO_2026079393_A1

Resumen de: WO2026079393A1

The purpose of the present invention is to provide a dispersion liquid set which is for a secondary battery electrode and which makes it possible to form a secondary battery electrode that can enable a secondary battery to exhibit excellent cycle characteristics. This dispersion liquid set for a secondary battery electrode comprises: a carbon nanotube dispersion liquid which contains carbon nanotubes 1, a dispersant 1, and a solvent 1; and a fiber dispersion liquid which contains fibers and a solvent 2. The average length of the carbon nanotubes 1 is not more than 1 μm. The average length of the fibers is not less than 1.5 times the average length of the carbon nanotubes 1.

Verfahren zur Herstellung eines Batterietroges einer Traktionsbatterie für eine mobile Arbeitsmaschine

NºPublicación:  DE102025105330A1 16/04/2026
Solicitante: 
KION BATTERY SYSTEMS GMBH [DE]
DE_102025105330_PA

Resumen de: DE102025105330A1

Die Erfindung betrifft ein Verfahren zur Herstellung eines Batterietroges (1) einer Traktionsbatterie (2), insbesondere einer Lithium-Ionen-Traktionsbatterie, für eine mobile Arbeitsmaschine, insbesondere ein Flurförderzeug, wobei der Batterietrog (1) zumindest teilweise mit einer Ballastfüllung (3) verfüllt wird, wobei die Ballastfüllung (3) ein Ballastmaterial (3a) und einen Verbundstoff (3b) umfasst. Das Verfahren umfasst die Schritte:• Bereitstellen des Batterietrogs (1) und der Ballastfüllung (3);• Befüllen des Batterietrogs (1) mit der Ballastfüllung (3), wobei zumindest zwei Befüllschritte (B1, B2, B3) durchgeführt werden, wobei in jedem der mehreren Befüllschritte (B1, B2, B3) jeweils das Ballastmaterial (3a) und der Verbundstoff (3b) sequentiell in den Batterietrog (1) eingefüllt werden, wobei zuerst Ballastmaterial (3a) und anschließend Verbundstoff (3b) in den Batterietrog (1) gefüllt werden;• Verdichten der Ballastfüllung (3);• Aushärten der Ballastfüllung (3) zu einem Verbundmaterial.

Batteriezelle mit Sicherungsfunktion und Batterieanordnung mit einer Mehrzahl solcher Batteriezellen und einer Sicherung

NºPublicación:  DE102024129462A1 16/04/2026
Solicitante: 
BAYERISCHE MOTOREN WERKE AG [DE]
DE_102024129462_PA

Resumen de: DE102024129462A1

Eine Batteriezelle mit Sicherungsfunktion, weist auf: ein elektrisch leitfähiges Anschlussterminal (1) für einen elektrischen Pol der Batteriezelle (2); ein Zellgehäuse (4) mit einer Öffnung zum Aufnehmen des Anschlussterminals (1), wobei das Zellgehäuse (4) zumindest in einem an die Öffnung anschließenden Bereich elektrisch leitfähig ist; und eine Isolation aus einem Isolationsmaterial zur elektrischen Isolierung des Anschlussterminals (1) gegenüber dem Zellgehäuse (4). Die Isolation ist derart als Sicherungsfunktion ausgebildet, dass sie beim Auftreten von Temperatur- und/oder Druckverhältnissen im Inneren der Batteriezelle (2), die in einem bestimmten, oberhalb von einem spezifizierten regulären Arbeitsbereich der Batteriezelle (2) liegenden irregulären Zustandsbereich liegen, eine Veränderung erfährt, als deren Folge aufgrund der Veränderung ein elektrisch leitender Strompfad zwischen dem Anschlussterminal (1) und dem Zellgehäuse (4) gebildet wird. Zudem wird eine Batterieanordnung mit einer Mehrzahl solcher Batteriezellen und wenigstens einer elektrischen Sicherung vorgeschlagen.

POSITIVE ELECTRODE FOR SECONDARY BATTERY AND LITHIUM SECONDARY BATTERY INCLUDING SAME

NºPublicación:  WO2026079835A1 16/04/2026
Solicitante: 
LG ENERGY SOLUTION LTD [KR]
\uC8FC\uC2DD\uD68C\uC0AC \uC5D8\uC9C0\uC5D0\uB108\uC9C0\uC194\uB8E8\uC158
WO_2026079835_A1

Resumen de: WO2026079835A1

The present invention relates to a positive electrode for a secondary battery and a lithium secondary battery comprising same. The positive electrode comprises: a lithium transition metal oxide containing nickel; a first binder containing a linear polymer; and a second binder containing a branched polymer, wherein the linear polymer contains a functional group capable of forming a hydrogen bond, the branched polymer has 3.0 or less branches per 1,000 carbon atoms, and the weight ratio between the first binder and the second binder is 1:0.26 to 1:0.85.

STACKED SOLID-STATE BATTERY CELL AND MANUFACTURING METHOD THEREFOR

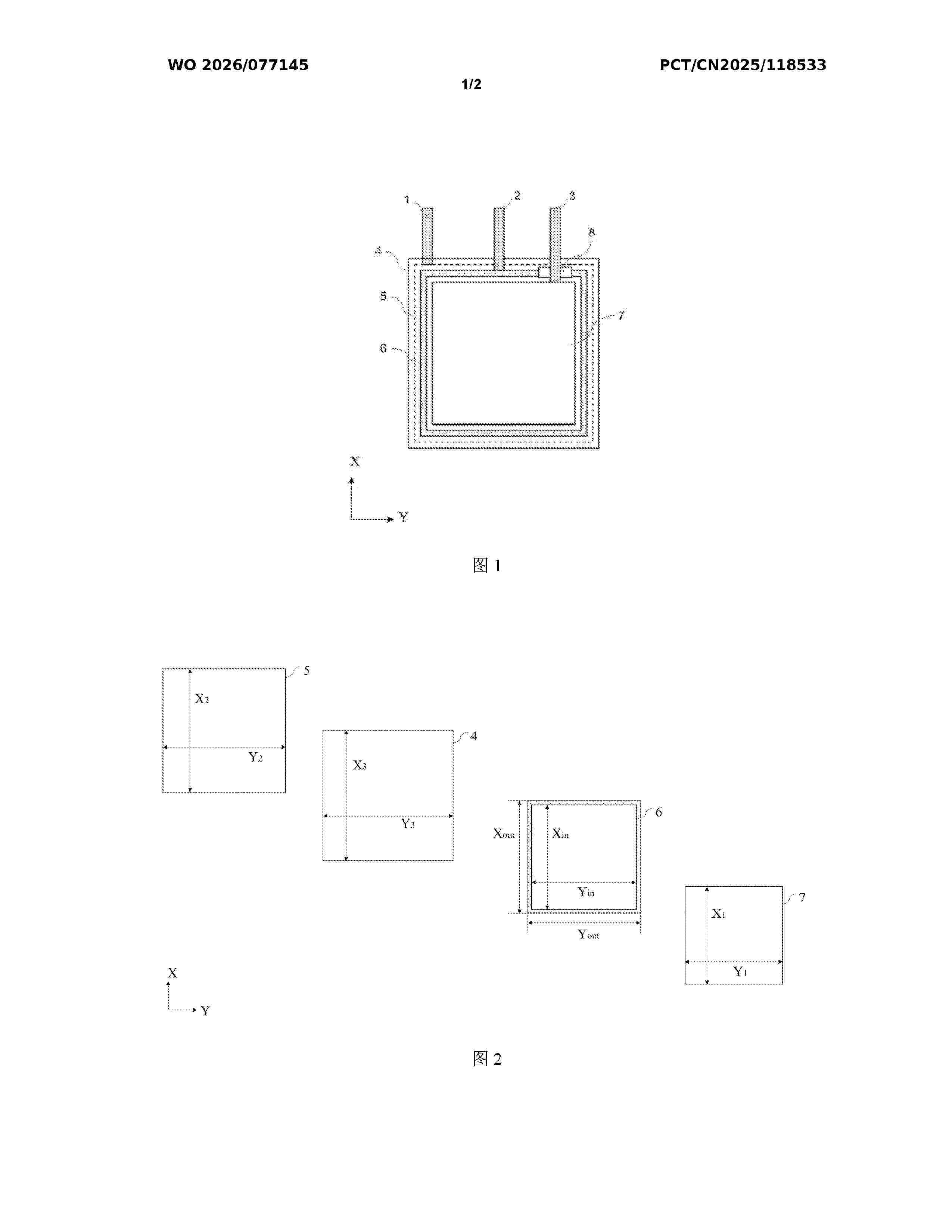
Nº publicación: WO2026077145A1 16/04/2026

Solicitante:

CONTEMPORARY AMPEREX TECH CO LIMITED [CN]
\u5B81\u5FB7\u65F6\u4EE3\u65B0\u80FD\u6E90\u79D1\u6280\u80A1\u4EFD\u6709\u9650\u516C\u53F8

WO_2026077145_A1

Resumen de: WO2026077145A1

Provided are a stacked solid-state battery cell and a manufacturing method therefor. The stacked solid-state battery cell comprises an outer package and a stacked electrode assembly accommodated in the outer package. The stacked electrode assembly comprises a solid-state electrolyte sheet, a negative electrode sheet, a reference electrode and a positive electrode sheet, the solid-state electrolyte sheet being located between the negative electrode sheet and the positive electrode sheet, and the reference electrode being located on the surface of the side of the solid-state electrolyte sheet close to the negative electrode sheet, or located on the surface of the side of the solid-state electrolyte sheet close to the positive electrode sheet. The reference electrode comprises a redox pair, and the reference electrode has an annular structure. The stacked solid-state battery cell can accurately and continuously monitor voltage changes and impedance changes in electrodes.

traducir