Ministerio de Industria, Turismo y Comercio LogoMinisterior
 

Alerta

Resultados 1029 resultados
LastUpdate Última actualización 24/01/2026 [07:10:00]
pdfxls
Publicaciones de los últimos 15 días/Last 15 days publications (excluidas pubs. CN y JP /CN and JP pubs. excluded)
previousPage Resultados 150 a 175 de 1029 nextPage  

POLYMER SOLID ELECTROLYTE AND PREPARATION METHOD THEREOF

NºPublicación:  US20260024808A1 22/01/2026
Solicitante: 
LG ENERGY SOLUTION LTD [KR]
LG ENERGY SOLUTION, LTD
US_20260024808_A1

Resumen de: US20260024808A1

The present disclosure relates to a polymer solid electrolyte and a preparation method thereof. The polymer solid electrolyte includes a polymer including a cross-linkable functional group; a lithium salt; and a solvent including a first solvent and a second solvent, wherein the polymer solid electrolyte having a cross-linked structure and an amorphous polymer chain including the cross-linkable functional group, and wherein the cross-linked structure includes (a) a cross-linkage between cross-linkable functional groups, (b) a cross-linkage between the cross-linkable functional group and the first solvent, and (c) a linkage between the cross-linkable functional group and the lithium salt.

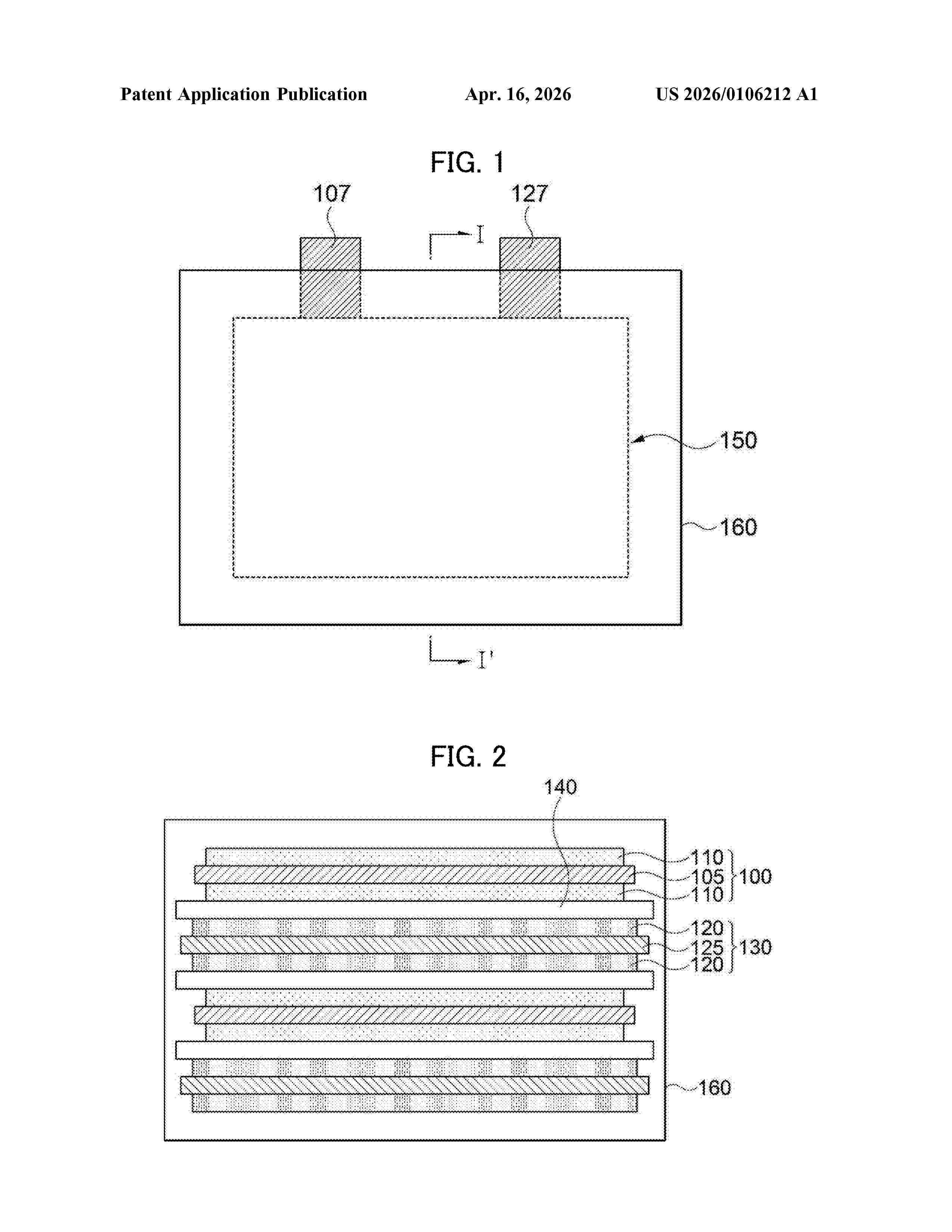
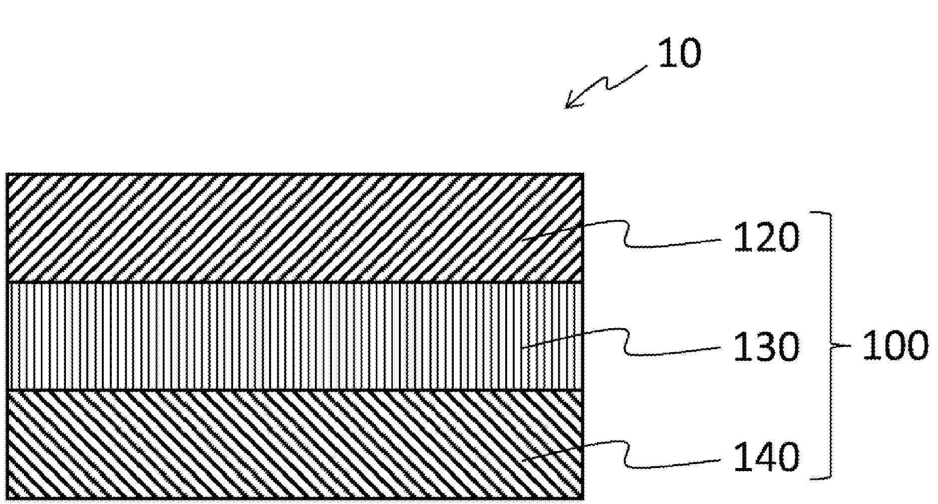
SOLID-STATE BATTERY

NºPublicación:  US20260024805A1 22/01/2026
Solicitante: 
TOYOTA JIDOSHA KK [JP]
PANASONIC HOLDINGS CORP [JP]
TOYOTA JIDOSHA KABUSHIKI KAISHA,
PANASONIC HOLDINGS CORPORATION
US_20260024805_PA

Resumen de: US20260024805A1

A solid-state battery includes an electrode laminate body in which a positive electrode active material layer, a solid electrolyte layer, and a negative electrode active material layer are laminated in this order, in which: each of the positive electrode active material layer, the solid electrolyte layer, and the negative electrode active material layer contains a sulfide solid electrolyte; a surface moisture amount of the electrode laminate body is 200 ppm to 1500 ppm; and the ratio of the surface moisture amount to a whole moisture amount in the whole of the electrode laminate body is 0.50 to 1.00.

SOLID-STATE BATTERY

NºPublicación:  US20260024768A1 22/01/2026
Solicitante: 
MURATA MFG CO LTD [JP]
Murata Manufacturing Co., Ltd
US_20260024768_PA

Resumen de: US20260024768A1

A solid-state battery including: a negative electrode layer including: a negative electrode active material including a Li composite oxide; and an oxide glass-based solid electrolyte, in which a content percentage of the solid electrolyte is 20% by mass to 60% by mass based on a total amount of the negative electrode active material and the solid electrolyte in the negative electrode layer, and a ratio (B/A) of an actual density B of the negative electrode active material to a true density A of the negative electrode active material is 0.3 to 0.6.

ALL-INORGANIC SOLVENTS FOR ELECTROLYTES

NºPublicación:  US20260024807A1 22/01/2026
Solicitante: 
NEW DOMINION ENTPR INC [US]
New Dominion Enterprises, Inc
US_20260024807_A1

Resumen de: US20260024807A1

An all-inorganic electrolyte formulation for use in a lithium-ion battery system comprising at least one of each a phosphoranimine, a phosphazene, a monomeric organophosphate and a supporting lithium salt. The electrolyte preferably has a melting point below 0° C., and a vapor pressure of combustible components at 60.6° C. sufficiently low to not produce a combustible mixture in air, e.g., less than 40 mmHg at 30° C. The phosphoranimine, phosphazene, and monomeric phosphorus compound preferably do not have any direct halogen-phosphorus bonds. A solid electrolyte interface layer formed by the electrolyte with an electrode is preferably thermally stable ≥80° C.

LITHIUM SECONDARY BATTERY

NºPublicación:  US20260024802A1 22/01/2026
Solicitante: 
LG ENERGY SOLUTION LTD [KR]
LG ENERGY SOLUTION, LTD
US_20260024802_PA

Resumen de: US20260024802A1

The present application relates to a lithium secondary battery, including a positive electrode, a silicon-based negative electrode, a separator provided between the positive electrode and the negative electrode, and an electrolyte. The initial efficiency between the positive electrode and the negative electrode and the differences in area, full width, and full length between the positive electrode and the negative electrode can be adjusted to provide cycle improvement in the performance of the lithium secondary battery.

POSITIVE ELECTRODE MATERIAL AND PREPARATION METHOD THEREFOR, POSITIVE ELECTRODE SHEET, AND LITHIUM-SULFUR BATTERY

NºPublicación:  WO2026016953A1 22/01/2026
Solicitante: 
TSINGHUA UNIV [CN]
\u6E05\u534E\u5927\u5B66
WO_2026016953_PA

Resumen de: WO2026016953A1

The present application provides a positive electrode material and a preparation method therefor, a positive electrode sheet, and a lithium-sulfur battery. The positive electrode material comprises the following raw materials in parts by weight: 10 parts of a porous carbon conductive agent, 7-14 parts of an additive, 38-44 parts of an active substance, and 32-40 parts of a solid-state electrolyte, wherein the active substance comprises sulfur powder, and the additive comprises one or two of phosphorus pentasulfide and diphosphorus trisulfide. Lithium sulfide generated by elemental sulfur and lithium ions during battery discharge can in situ react with the additive to form a lithium-phosphorus-sulfur solid-state electrolyte; the lithium-phosphorus-sulfur solid-state electrolyte can enable most of active substances to participate in charge-discharge cycles, improving the utilization rate of the active substances, forming an ion-conducting network, and allowing for fast conduction of lithium ions; and in addition, the lithium-phosphorus-sulfur solid-state electrolyte can improve the ionic conductivity of the positive electrode material, such that under a high areal loading, an assembled all-solid-state battery ensures cycle stability while improving the specific capacity of the lithium-sulfur battery.

CONTINUOUS PREPARATION PROCESS AND DEVICE OF LIQUID LITHIUM HEXAFLUOROPHOSPHATE

NºPublicación:  WO2026016948A1 22/01/2026
Solicitante: 
SHINGHWA AMPEREX TECH DONGYING CO LTD [CN]
SHIDA SHINGHWA ADVANCED MAT GROUP CO LTD [CN]
\u80DC\u534E\u65B0\u80FD\u6E90\u79D1\u6280\uFF08\u4E1C\u8425\uFF09\u6709\u9650\u516C\u53F8,
\u77F3\u5927\u80DC\u534E\u65B0\u6750\u6599\u96C6\u56E2\u80A1\u4EFD\u6709\u9650\u516C\u53F8
WO_2026016948_A1

Resumen de: WO2026016948A1

Disclosed in the present invention are a continuous preparation process and device of liquid lithium hexafluorophosphate. The continuous preparation process comprises operation steps of: A10), continuously feeding a lithium fluoride suspension into the top of a hexafluorination reaction plate tower; and continuously feeding gas-phase high-purity phosphorus pentafluoride into the bottom of the hexafluorination reaction plate tower; A20), carrying out a reaction in the hexafluorination reaction plate tower, and enabling the reaction product to enter a tower bottom storage tank from the tower bottom of the hexafluorination reaction tower; A30), introducing part of the remaining reaction product output by means of a circulating heat exchanger into a liquid lithium hexafluorophosphate product extraction tank, and introducing the other part into a lithium fluoride suspension formulation kettle; and A40), connecting a filter to a product extraction end of the product extraction tank for removing redundant reacted solid-phase materials, so as to obtain liquid lithium hexafluorophosphate, wherein the hydrogen chloride content of the liquid lithium hexafluorophosphate is less than 25 ppm, and hydrogen fluoride is not detected. The present invention has a high continuous level and is stable, does not require an extra deacidification treatment, has a significantly higher output efficiency, and does not cause hidden dangers of halting production and maintenance due to problems of blocking

SEPARATOR, SECONDARY BATTERY CELL, BATTERY DEVICE AND ELECTRICAL DEVICE

NºPublicación:  WO2026016447A1 22/01/2026
Solicitante: 
CONTEMPORARY AMPEREX TECH CO LIMITED [CN]
\u5B81\u5FB7\u65F6\u4EE3\u65B0\u80FD\u6E90\u79D1\u6280\u80A1\u4EFD\u6709\u9650\u516C\u53F8
WO_2026016447_PA

Resumen de: WO2026016447A1

A separator, a secondary battery cell, a battery device and an electrical device. The secondary battery cell comprises a positive electrode sheet, a negative electrode sheet and a separator, the separator being arranged between the positive electrode sheet and the negative electrode sheet. The separator comprises a porous base film and a coating located on at least one side of the porous base film. The coating comprises organic particles, the organic particles having no glass transition temperature below 300°C. The secondary battery cell has high gravimetric energy density, high reliability, and good high-temperature performance.

AUTOMATIC CHARGING ROBOT

NºPublicación:  US20260021722A1 22/01/2026
Solicitante: 
TOYOTA JIDOSHA KK [JP]
TOYOTA JIDOSHA KABUSHIKI KAISHA
US_20260021722_PA

Resumen de: US20260021722A1

An automatic charging robot to perform charging by inserting a charging connector into a charging port of a vehicle, includes: a robot hand to hold the charging connector when the charging connector is automatically inserted into and removed from the charging port. Further, the robot hand includes: a holding device to hold a holding member attached to the charging connector; and a pressing portion to press, by the holding device being at a position at which the holding member is holdable, a release button provided on the charging connector as an operation unit to release a locked state in which the charging connector inserted into the charging port is locked.

ELECTRIC VEHICLE

NºPublicación:  US20260021715A1 22/01/2026
Solicitante: 
TOYOTA JIDOSHA KK [JP]
TOYOTA JIDOSHA KABUSHIKI KAISHA
US_20260021715_PA

Resumen de: US20260021715A1

A first-row seat and a second-row seat are arranged on a floor of a vehicle. The second-row seat is located rearward of the first-row seat. A battery is arranged below the floor. A second integrated electromechanical unit is arranged rearward of the battery. The electric vehicle includes a vehicle on-board charger, a battery ECU, and a junction box as battery-related devices. The battery ECU and the junction box are located below the second-row seat and above the battery. The vehicle on-board charger is located above the second integrated electromechanical unit.

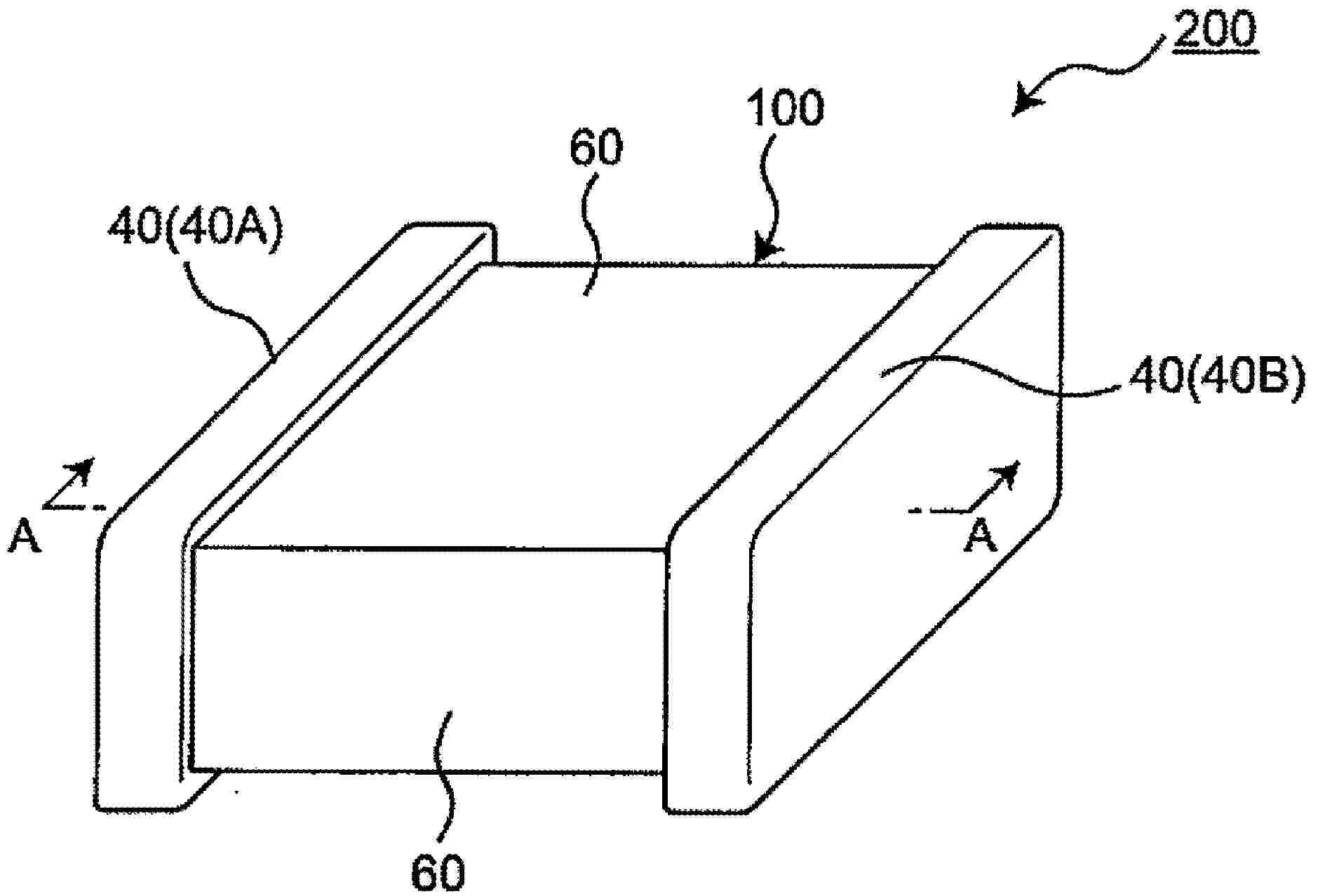
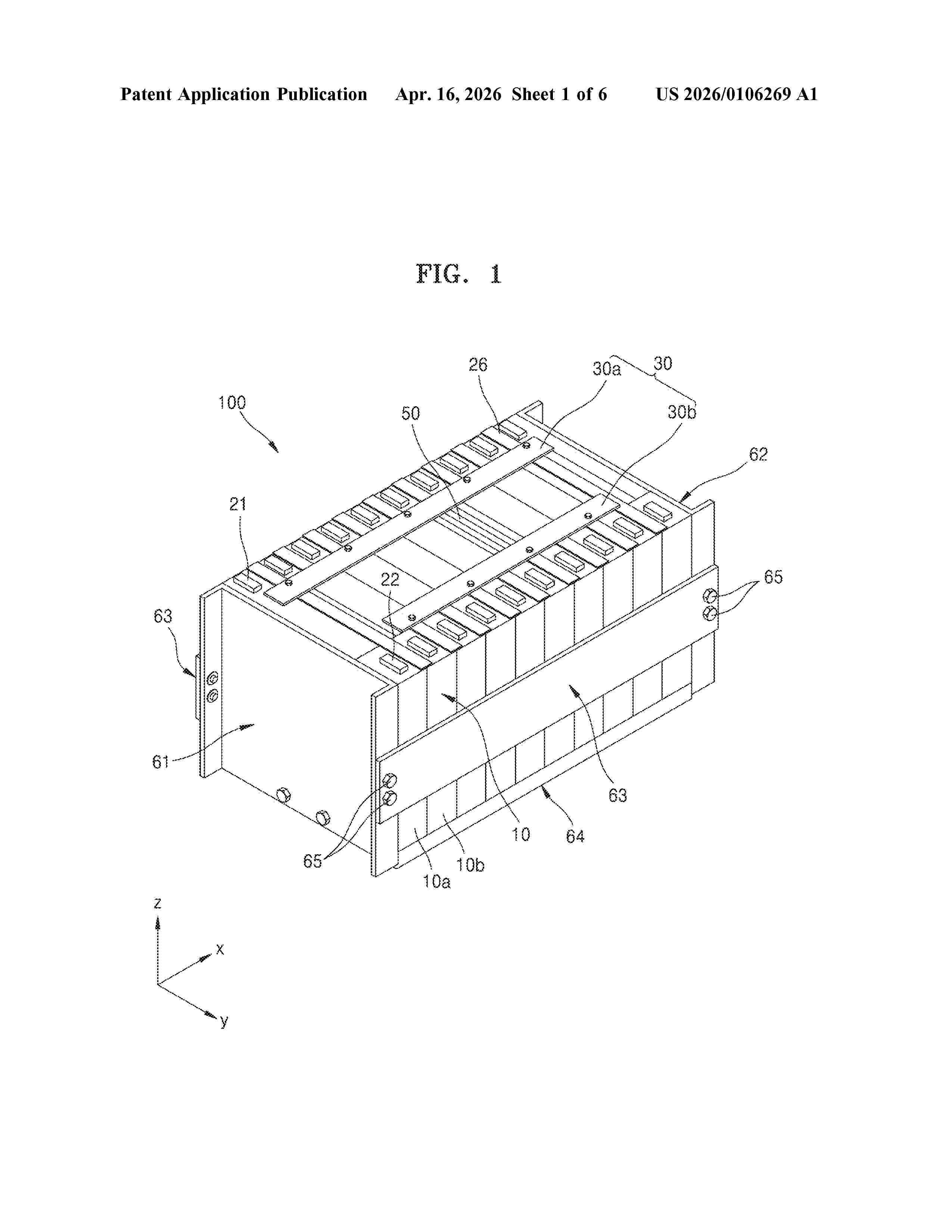
Knife and Secondary Battery Manufacturing Device Including the Same

NºPublicación:  US20260021601A1 22/01/2026
Solicitante: 
LG ENERGY SOLUTION LTD [KR]
LG Energy Solution, Ltd
US_20260021601_PA

Resumen de: US20260021601A1

A knife includes a blade, and also includes a first surface and a second surface extending at a predetermined angle toward a first direction, which is the cutting direction, and a third surface extending toward a second direction perpendicular to the first direction, wherein one end of the first surface and one end of the second surface form a vertex which is the blade while making contact with each other, and wherein one end and the other end of the third surface make contact with the other end of the first surface and the other end of the second surface, respectively.

MODULAR POWER SUPPLY FOR A BATTERY PACK OF A POWER TOOL

NºPublicación:  US20260025012A1 22/01/2026
Solicitante: 
MILWAUKEE ELECTRIC TOOL CORP [US]
Milwaukee Electric Tool Corporation
US_20260025012_PA

Resumen de: US20260025012A1

Power packs configured to supply power to a common load are provided. A power pack includes a first power source; a second power source; at least one adapter configured to receive the common load and electrically couple the common load to at least one of the first power source or the second power source for supplying power to the common load; a tether interface electrically coupled to the at least one adapter, the first power source, and the second power source and configured to arrange the first power source and the second power source in series or in parallel; and a control circuit comprising at least one controller for performing a plurality of operations.

TIME DEFERRED POWER UTILIZATION

NºPublicación:  US20260024992A1 22/01/2026
Solicitante: 
KATZ PAUL N [US]
KATZ Paul N
US_20260024992_PA

Resumen de: US20260024992A1

Backup electric power with a batter(ies) storing electrical energy (kilowatt hours—KWH) and a DC-to-AC inverter converting the stored electrical energy from the battery into electrical AC power (kilowatts—KW) may be provided for emergency power used when power from the electric utility fails. Condominium units and apartments in high rise buildings can benefit from having DC-to-AC inverter battery systems installed in each unit. Spare capacity power from existing emergency backup generators may be utilized to charge the battery of the inverter battery system of each condominium/apartment unit. The DC-to-AC inverter battery system may be used to reduce ampacity requirements of the electric utility power distribution system and electric service entrance equipment coupled to the utility electric meter per occupancy. Cold fusion-low energy nuclear reaction (LENR) power generation, may be used in place of or partial substitution of power from the electric utility.

ELECTRICAL POWER DISTRIBUTION SYSTEM

NºPublicación:  US20260024988A1 22/01/2026
Solicitante: 
THERMO KING LLC [US]
THERMO KING LLC
US_20260024988_PA

Resumen de: US20260024988A1

An electrical power distribution system supplies electrical power from a battery pack to a DC link. The battery pack includes a plurality of modules. The system includes a plurality of DC-DC converters. Outputs of the DC-DC converters are coupled in series between a first output node and a second output node of the system, such that an output voltage of the system is equal to a sum of output voltages of the DC-DC converters. In use, each of the DC-DC converters is coupled to one of the modules to receive a DC input voltage of a first magnitude from the respective module. Each of the DC-DC converters is operative to generate an output voltage of a second magnitude. The first output node is coupled to a first input terminal of the DC link and the second output node is coupled to a second input terminal of the DC link.

ENERGY STORAGE SYSTEM AND METHOD FOR CONTROLLING MOLDED CASE CIRCUIT BREAKER

NºPublicación:  US20260024986A1 22/01/2026
Solicitante: 
SAMSUNG SDI CO LTD [KR]
SAMSUNG SDI CO., LTD
US_20260024986_PA

Resumen de: US20260024986A1

A method for controlling a molded case circuit breaker of an energy storage system includes collecting, by a master BMS, voltage information associated with a plurality of battery racks from a plurality of slave BMSs associated with the plurality of battery racks; calculating an average voltage of the plurality of battery racks based on the voltage information associated with the plurality of battery racks; and determining a state of a first molded case circuit breaker (MCCB) associated with a first battery rack among the plurality of battery racks based on the voltage information associated with the plurality of battery racks and the average voltage, wherein the first molded case circuit breaker is in a trip state.

BUSBARS FOR A POWER DISTRIBUTION UNIT

NºPublicación:  US20260024979A1 22/01/2026
Solicitante: 
EATON INTELLIGENT POWER LTD [IE]
Eaton Intelligent Power Limited
US_20260024979_PA

Resumen de: US20260024979A1

In some aspects, the techniques described herein relate to a busbar for electrically connecting components in a power distribution unit (PDU), the busbar including: a first metallic bar configured at one end to be coupled to a terminal of the PDU; and a heat distribution block at the one end of the first metallic bar. In some aspects, the techniques described herein relate to a busbar, wherein the heat distribution block includes a vapor chamber. In some aspects, the techniques described herein relate to a busbar, wherein a shape of the vapor chamber conforms to a shape of the one end. In some aspects, the techniques described herein relate to a busbar, wherein the heat distribution block includes a metal block, wherein the metal block includes a phase change material.

BINDER COMPOSITION FOR NON-AQUEOUS SECONDARY BATTERY ELECTRODE, SLURRY COMPOSITION FOR NON-AQUEOUS SECONDARY BATTERY ELECTRODE, ELECTRODE FOR NON-AQUEOUS SECONDARY BATTERY, AND NON-AQUEOUS SECONDARY BATTERY

NºPublicación:  US20260024772A1 22/01/2026
Solicitante: 
ZEON CORP [JP]
ZEON CORPORATION
US_20260024772_A1

Resumen de: US20260024772A1

Provided is a binder composition for a non-aqueous secondary battery electrode that has good tackiness and that enables the formation of an electrode for a non-aqueous secondary battery having excellent peel strength. The binder composition for a non-aqueous secondary battery electrode contains a particulate binder and water. The particulate binder includes a polymer (A) including a (meth)acrylic acid ester monomer unit. A ratio of an average particle diameter Da of the particulate binder measured by dynamic light scattering at pH 8.0 relative to an average particle diameter Da of the particulate binder measured by dynamic light scattering at pH 6.0 is within a specific range.

SECONDARY BATTERY, BATTERY PACK INCLUDING THE SAME, AND METHOD OF MANUFACTURING THE SAME

NºPublicación:  US20260024830A1 22/01/2026
Solicitante: 
SAMSUNG SDI CO LTD [KR]
SAMSUNG SDI CO., LTD
US_20260024830_PA

Resumen de: US20260024830A1

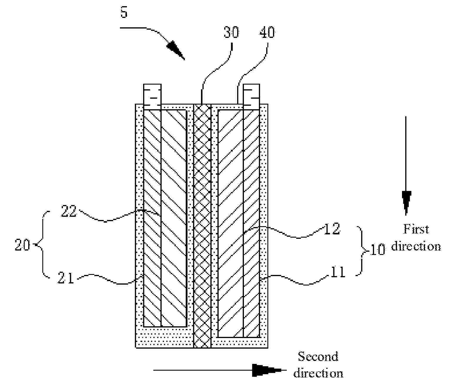
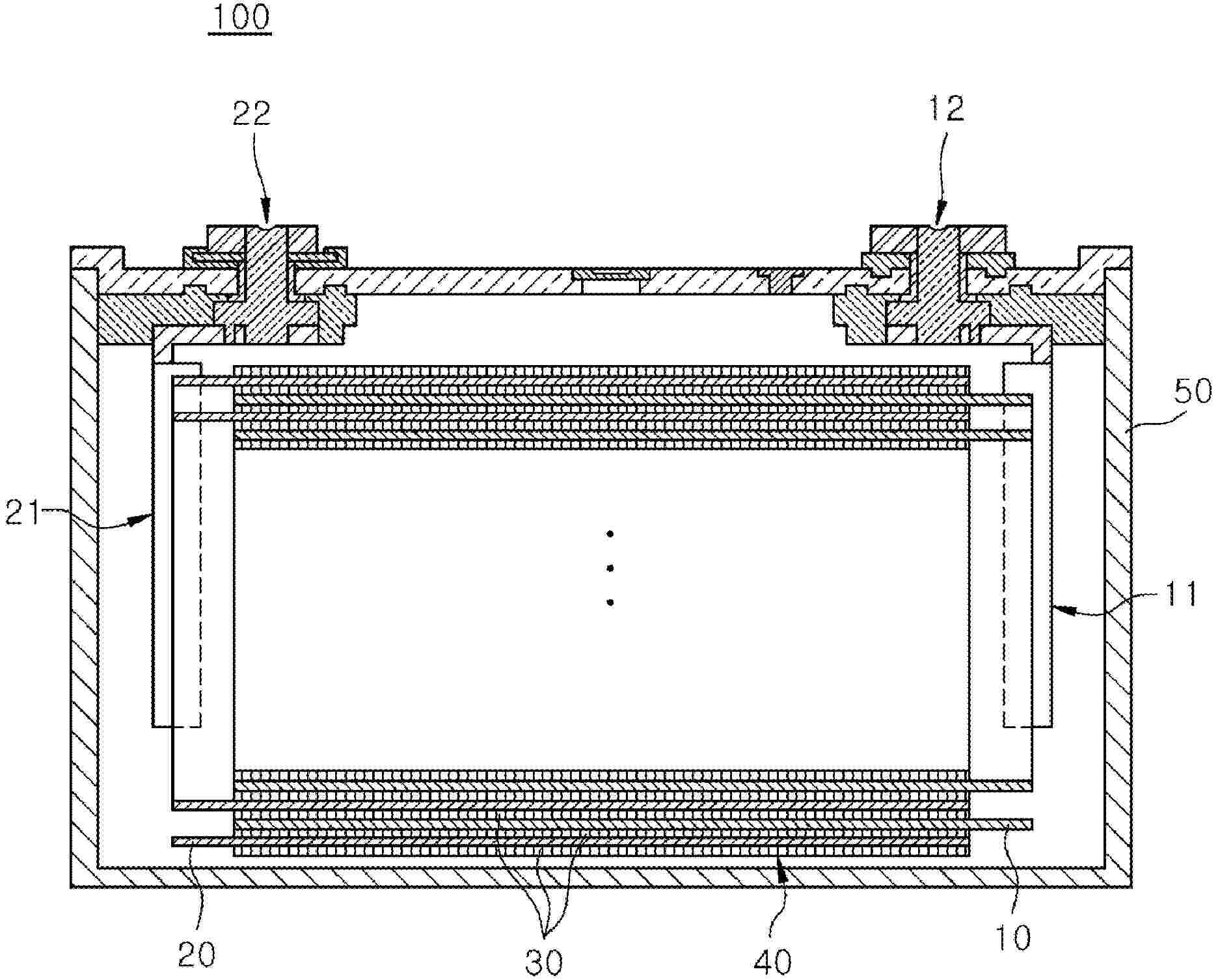
A secondary battery, a battery pack including the same, and a method of manufacturing the same are disclosed. A secondary battery includes a case, an electrode assembly in the case and including a first electrode and a second electrode, a first tab member connected to the first electrode and extending in a first direction from the electrode assembly, a cap assembly facing the electrode assembly and including a first terminal and a second terminal, and a first connection member between the electrode assembly and the cap assembly and connected to the first terminal and the first tab member, and the first terminal includes a first vision hole to allow a marking point of the first connection member to be generated and identified.

BATTERY MANAGEMENT SYSTEM AND A METHOD OF OPERATING THE SAME

NºPublicación:  US20260024825A1 22/01/2026
Solicitante: 
HYUNDAI MOTOR COMPANY [KR]
KIA CORP [KR]
HYUNDAI MOTOR COMPANY,
KIA CORPORATION
US_20260024825_PA

Resumen de: US20260024825A1

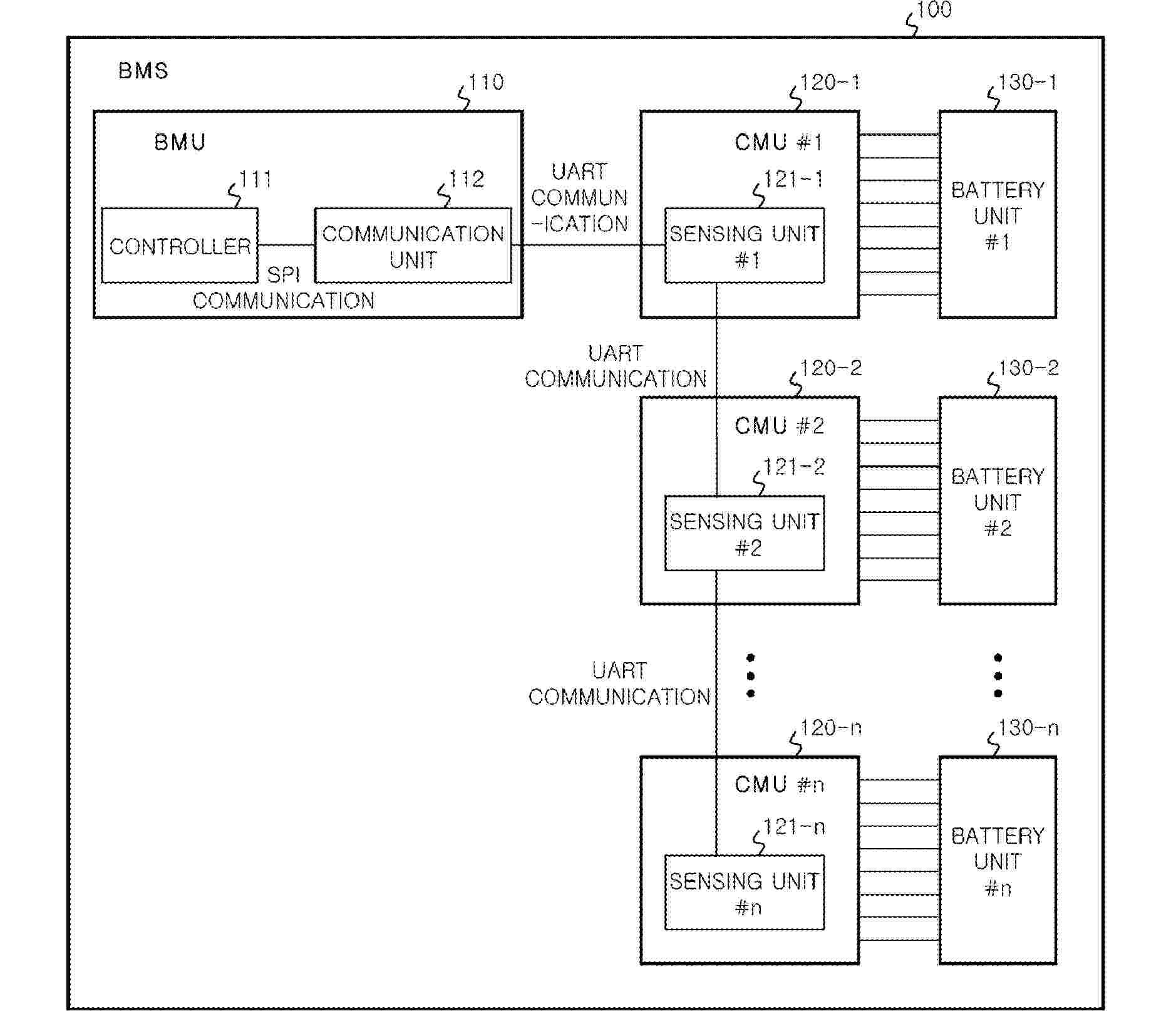
A battery management system (BMS) includes at least one sensing unit configured to sense a state of at least one battery module, and a controller linked with the at least one sensing unit, wherein, when an abnormality occurs in the at least one sensing unit, the controller performs a hardware reset on the at least one sensing unit.

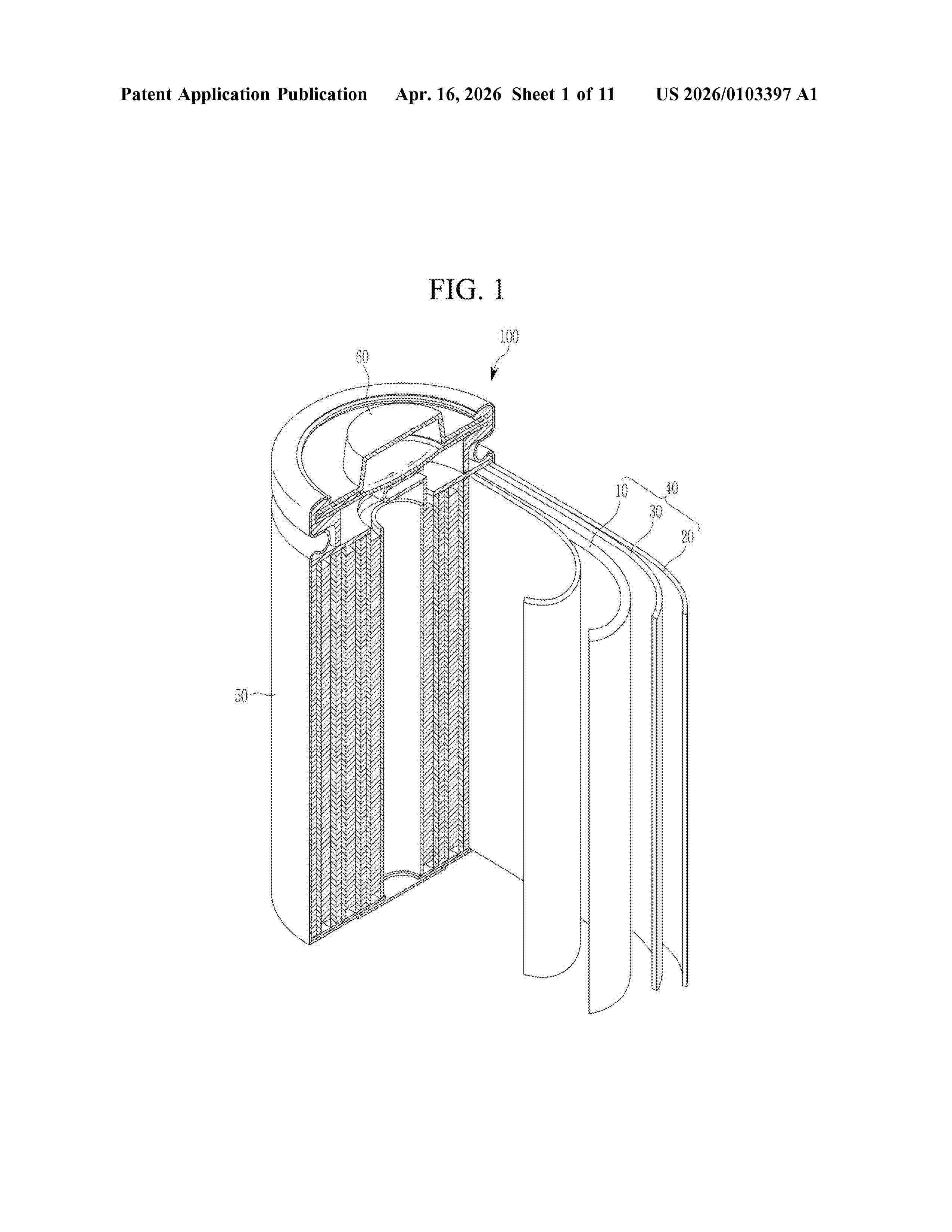
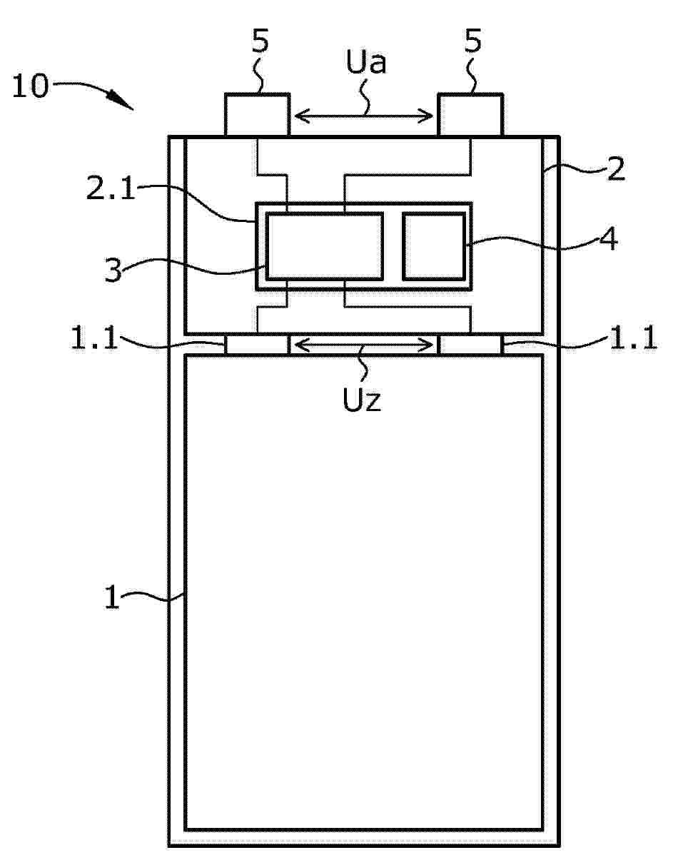
SMART BATTERY WITH INTEGRATED INTERNAL THERMAL SENSOR

NºPublicación:  US20260024829A1 22/01/2026
Solicitante: 
NANO AND ADVANCED MAT INSTITUTE LIMITED [HK]
Nano and Advanced Materials Institute Limited
US_20260024829_PA

Resumen de: US20260024829A1

A rechargeable battery system is provided. The rechargeable battery system comprises: a battery cell having a laminated housing enclosing electrolyte and electrode stacks; a thermal sensing pad embedded within the battery cell, the thermal sensing pad comprising a plurality of temperature sensors disposed at different internal positions within the battery cell, each temperature sensor encapsulated in an electrolyte-resistant material; an integrated circuit board electrically coupled with the thermal sensing pad, the integrated circuit board configured to: (a) receive sensor signals from the temperature sensors; (b) convert the sensor signals into digital temperature data; and (c) transmit the digital temperature data to a battery management system. The battery management system is configured to analyze the digital temperature data to assess internal temperature conditions of the battery cell.

SECONDARY BATTERY AND ELECTRONIC APPARATUS

NºPublicación:  US20260024758A1 22/01/2026
Solicitante: 
NINGDE AMPEREX TECH LIMITED [CN]
Ningde Amperex Technology Limited
US_20260024758_PA

Resumen de: US20260024758A1

A secondary battery includes a negative electrode plate. The negative electrode plate includes a negative electrode current collector and a negative electrode active substance layer provided on at least one surface of the negative electrode current collector. The negative electrode active substance layer includes a negative electrode active substance. The negative electrode active substance includes a silicon-oxygen composite material. A peak intensity of a differential thermogravimetry curve of the negative electrode plate at 500° C. to 700° C. is Y1, and a peak intensity of the differential thermogravimetry curve of the negative electrode plate at 350° C. to 450° C. is Y2, where 0.1≤Y1/Y2≤4.

COVER PLATE ASSEMBLY AND BATTERY

NºPublicación:  WO2026016495A1 22/01/2026
Solicitante: 
SVOLT ENERGY TECH CO LTD [CN]
\u8702\u5DE2\u80FD\u6E90\u79D1\u6280\u80A1\u4EFD\u6709\u9650\u516C\u53F8
WO_2026016495_PA

Resumen de: WO2026016495A1

The present application relates to the technical field of batteries. Disclosed are a cover plate assembly and a battery. The cover plate assembly comprises: a cover plate; a support member, which is arranged on one side of the cover plate and is provided, on the side of the support member away from the cover plate, with a first boss and a second boss spaced apart in the direction of length of the support member, the first boss and the second boss protruding in a direction away from the cover plate, a recess being formed between the first boss and the second boss, and the recess being adapted to accommodate a tab arranged on an electrode assembly; and a protective plate, which is arranged on the side of the support member away from the cover plate and comprises a base plate and a support rib, wherein the side of the base plate close to the support member is fixedly connected to the support rib, the base plate abuts against the bosses arranged on the support member, the other side of the base plate away from the support rib is a flat surface, a clearance groove is formed in the base plate and configured for the tab to pass therethrough, the clearance groove is spaced apart from the support rib, and the support rib is located in the recess and abuts against the bottom surface of the recess. The flat surface of the protective plate comes into contact with the electrode assembly, thereby improving the uniformity of stress distribution of the electrode assembly.

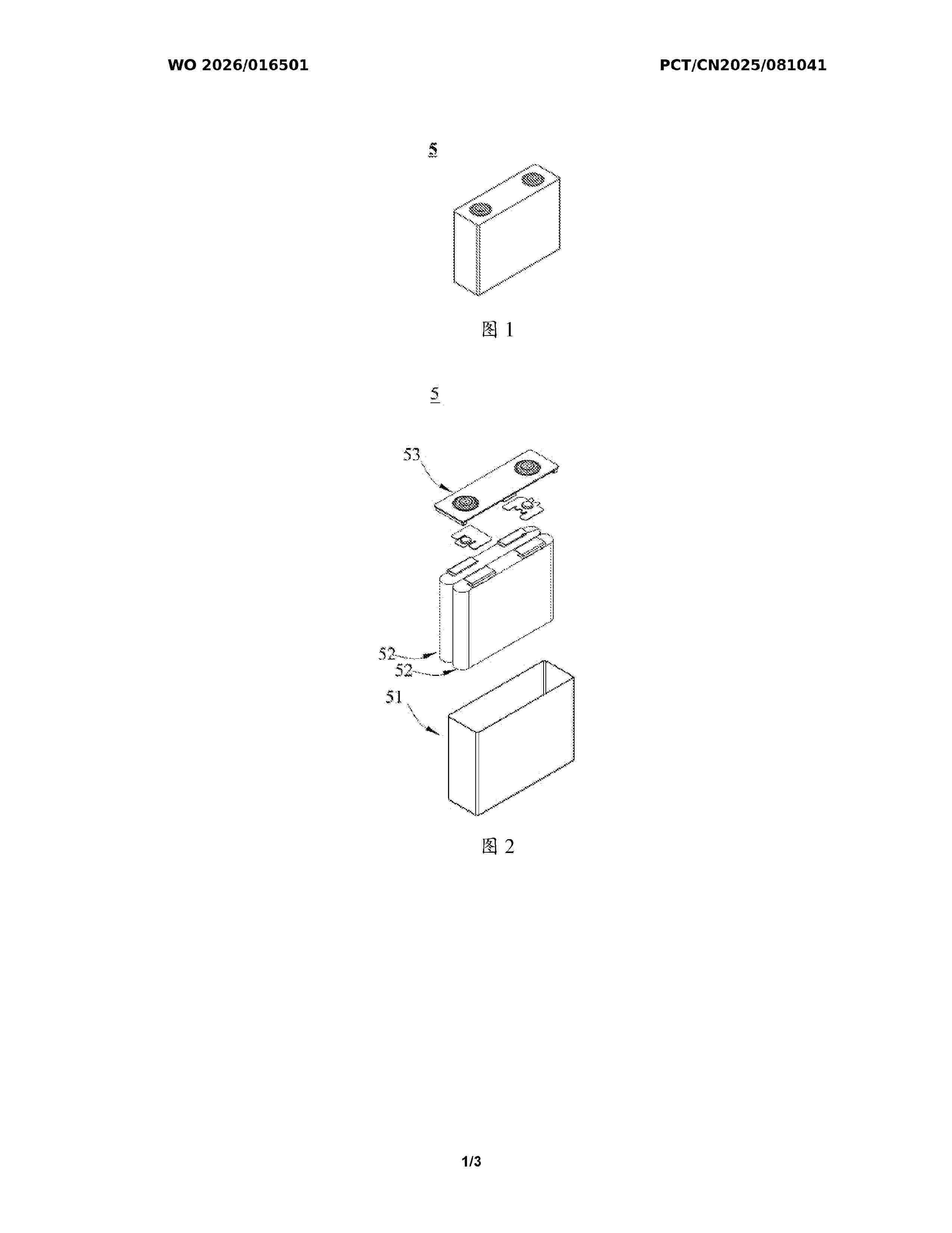
METAL BATTERY AND ELECTRIC DEVICE

NºPublicación:  WO2026016501A1 22/01/2026
Solicitante: 
CONTEMPORARY AMPEREX TECH CO LIMITED [CN]
\u5B81\u5FB7\u65F6\u4EE3\u65B0\u80FD\u6E90\u79D1\u6280\u80A1\u4EFD\u6709\u9650\u516C\u53F8
WO_2026016501_A1

Resumen de: WO2026016501A1

A metal battery and an electric device. The metal battery comprises a positive electrode sheet, a negative electrode sheet and an electrolyte, wherein the positive electrode sheet comprises a positive electrode film layer; the positive electrode film layer comprises a binder and a positive electrode active material; the positive electrode active material comprises a metal element; and on the basis of the total mass of the positive electrode film layer, the fluorine content of the positive electrode sheet is less than or equal to 385 ppm. During the charging process, metal ions are removed from the positive electrode active material, and the metal ions are reduced into and deposited as metal on the negative electrode sheet; and during the discharging process, the metal is oxidized into and dissolved as the metal ions. The difference between the lowest unoccupied molecular orbital energy level, i.e., LUMO2 energy level, of the solvent of the electrolyte and the lowest unoccupied molecular orbital energy level, i.e., LUMO1 energy level, of the metal state corresponding to the metal element in the positive electrode active material is y=LUMO2 energy level-LUMO1 energy level, where 0≤y. The metal battery has a relatively good discharge gram capacity and initial coulombic efficiency.

POSITIVE ELECTRODE ACTIVE MATERIAL AND PREPARATION METHOD, AND ELECTROCHEMICAL DEVICE

NºPublicación:  WO2026016481A1 22/01/2026
Solicitante: 
SHAOXING YUNENG NEW MAT CO LTD [CN]
\u7ECD\u5174\u7FBD\u80FD\u65B0\u6750\u6599\u6709\u9650\u516C\u53F8
WO_2026016481_PA

Resumen de: WO2026016481A1

A positive electrode active material. The positive electrode active material comprises a lithium manganese oxide. An X-ray diffraction spectrum of the positive electrode active material has a first diffraction peak θ1 and a second diffraction peak θ2 within a range from 17° to 20°. A peak position difference Δθ1 between the first diffraction peak and the second diffraction peak satisfies 0<Δθ1<2, and the peak intensity IB of the second diffraction peak and the peak intensity IA of the first diffraction peak satisfy 0

ELECTROLYTE AND BATTERY INCLUDING THE SAME

Nº publicación: US20260024887A1 22/01/2026

Solicitante:

AESC JAPAN LTD [JP]
AESC Japan Ltd

US_20260024887_PA

Resumen de: US20260024887A1

A battery and an electronic device are provided. The battery includes a housing assembly, a bare cell, and an electrode adapting piece. The bare cell is disposed within the housing assembly and includes a positive electrode piece, a negative electrode piece, and a separator. The positive electrode piece, the separator, and the negative electrode piece are stacked sequentially and wound around a winding axis. An end of the bare cell along the winding axis is provided with a tab. The electrode adapting piece is welded with the tab, and forms at least one continuous welding mark. At least part of the welding mark extends from an outer periphery of the bare cell to an inner periphery. The welding mark includes an arc segment, and a curvature radius at any point of the welding mark is greater than or equal to 0.5 mm.

traducir