Ministerio de Industria, Turismo y Comercio LogoMinisterior
 

Alerta

Resultados 1029 resultados
LastUpdate Última actualización 24/01/2026 [07:10:00]
pdfxls
Publicaciones de los últimos 15 días/Last 15 days publications (excluidas pubs. CN y JP /CN and JP pubs. excluded)
previousPage Resultados 125 a 150 de 1029 nextPage  

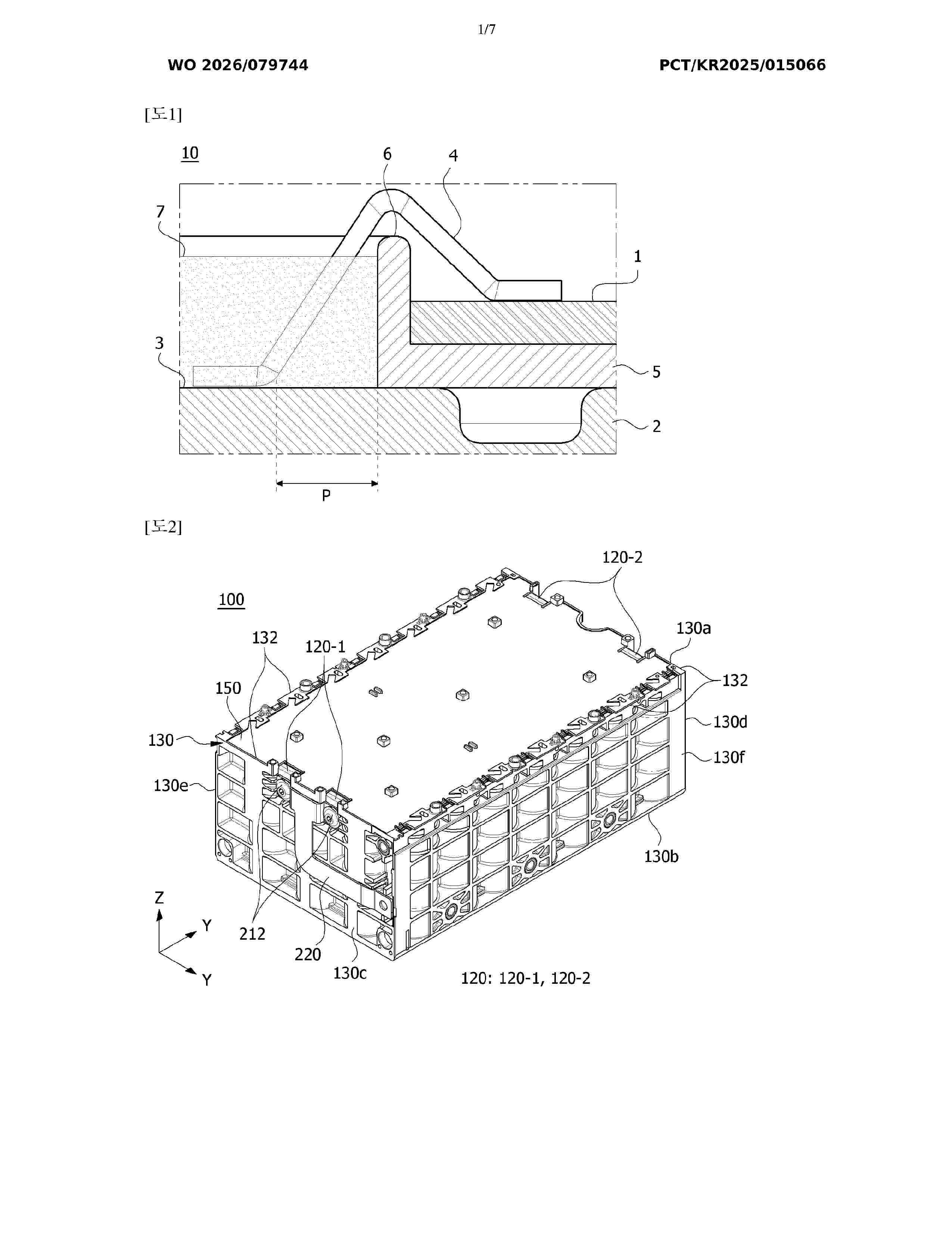
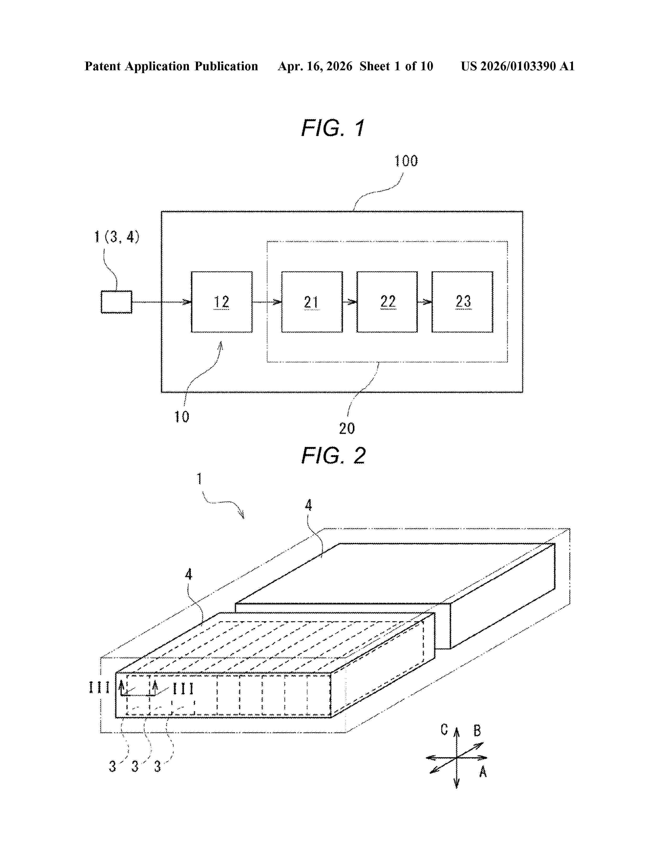
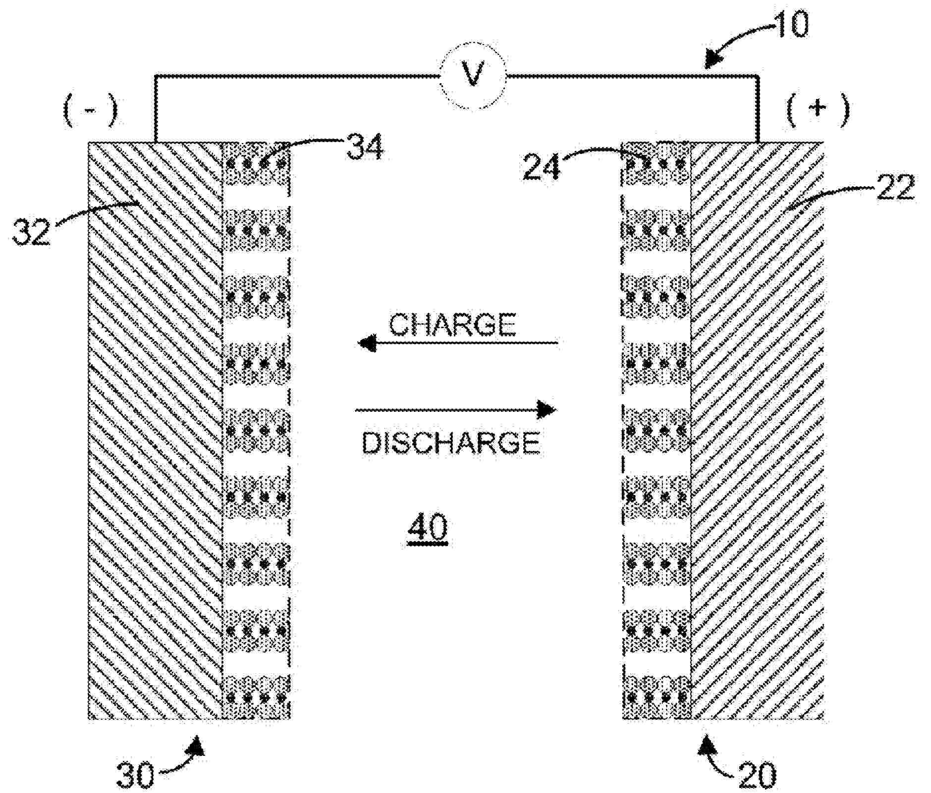
COMPOSITE POSITIVE ELECTRODE MATERIAL AND PREPARATION METHOD THEREFOR, POSITIVE ELECTRODE SHEET, SECONDARY BATTERY, AND ELECTRICAL APPARATUS

NºPublicación:  US20260022029A1 22/01/2026
Solicitante: 
CONTEMPORARY AMPEREX TECH CO LIMITED [CN]
Contemporary Amperex Technology Co., Limited
US_20260022029_PA

Resumen de: US20260022029A1

A composite positive electrode material and a preparation method therefor, a positive electrode sheet, a battery, and an electrical apparatus. The composite positive electrode material comprises a nickel-containing positive electrode material and a functional film layer arranged on the surface of the nickel-containing positive electrode material. Components of the functional film layer comprise Li2MO4 and an organic lithium phosphonate compound, where M is selected from at least one of sulfur, selenium, and tellurium; and the organic lithium phosphonate compound contains a structure represented by formula (1):(I), where * represents sites where the structure represented by formula (1) is connected to other structures in the organic lithium phosphonate compound.

A METHOD FOR RECOVERING LITHIUM FROM A STREAM CONTAINING LITHIUM

NºPublicación:  US20260022026A1 22/01/2026
Solicitante: 
METSO FINLAND OY [FI]
METSO FINLAND OY
US_20260022026_PA

Resumen de: US20260022026A1

A method for recovering lithium from a stream containing lithium. The method includes the step of contacting the stream, or a pre-treated solution obtained from the stream, with an aluminium-containing material to form a precipitate including lithium aluminate, at an alkaline pH. The method further includes the step of recovering a slurry of the lithium aluminate.

SODIUM BATTERY POSITIVE ELECTRODE MATERIAL AND PREPARATION METHOD THEREFOR, POSITIVE ELECTRODE SHEET AND SODIUM BATTERY

NºPublicación:  US20260022028A1 22/01/2026
Solicitante: 
BYD COMPANY LTD [CN]
BYD COMPANY LIMITED
US_20260022028_PA

Resumen de: US20260022028A1

Provided are sodium battery positive electrode materials and preparation methods therefor, positive electrode sheets and sodium batteries. The positive electrode materials may comprise a core and a coating layer coating the surface of the core, where the general molecular formula of the core comprises Na3V2-xMx(PO4)2F3, wherein M represents a doping element capable of replacing V, element M comprises at least one of Fe, Cr, Mn, Co, Ti, Ni, Cu, Zn, Mo, Nb, Zr, La and Ce, and 0≤x<0.2. The material for the coating layer comprises a carbon material, wherein the ID/IG value of a Raman spectrum of the carbon material is y, and 0.9≤y<1. ID/IG is the peak intensity ratio of peak D to peak G of the Raman spectrum of the carbon material, a Raman shift of peak D ranges from 1300 cm−1 to 1360 cm−1, and a Raman shift of peak G ranges from 1580 cm−1 to 1600 cm−1.

SEGREGATING PRIMARY NANOPARTICLES WITH SURFACE COATING-NETWORKING ARCHITECTURE FOR HIGH VOLTAGE CATHODE LIFE AT HIGH RATE

NºPublicación:  US20260024753A1 22/01/2026
Solicitante: 
UNIV OF TENNESSEE RESEARCH FOUNDATION [US]
UNIVERSITY OF TENNESSEE RESEARCH FOUNDATION
US_20260024753_PA

Resumen de: US20260024753A1

A lithium battery is provided which includes an anode and a cathode, wherein the cathode includes lithium manganese nickel oxide spinel having a dual particle structure, the dual particle structure including primary nanoparticles having a mean particle size of less than nanometers segregated from secondary microparticles having a mean particle size of at least one micron, wherein the primary nanoparticles are coated with a polymer coating and connected using a conducting network. A corresponding cathode material for a lithium battery, and a method of making a cathode material, are also provided.

LINE SYSTEM WITH NUMEROUS OUTLETS

NºPublicación:  US20260024840A1 22/01/2026
Solicitante: 
TI AUTOMOTIVE TECH CENTER GMBH [DE]
TI Automotive Technology Center GmbH
US_20260024840_PA

Resumen de: US20260024840A1

A main line for distributing or collecting a medium, in particular a temperature control medium, having a main tube and at least three outlets. The outlets are connected to the main tube, wherein the main tube comprises an axis and defines an axial direction. At least one of the outlets has a line connector and a tube segment. A first end of the tube segment is connected to the main tube. A second end of the tube segment is connected to the line connector. The first end and preferably the second end of the tube segment is integrally connected to the main tube.

EXPLOSION-PROOF BATTERY MODULE STRUCTURE

NºPublicación:  US20260024852A1 22/01/2026
Solicitante: 
LG ENERGY SOLUTION LTD [KR]
LG ENERGY SOLUTION, LTD
US_20260024852_PA

Resumen de: US20260024852A1

A battery module includes a frame having a sidewall and an open upper portion; a top plate coupled to the frame, the top plate being configured to cover the open upper portion, the frame and the top plate defining an inner space configured to receive a battery cell laminate therein; a spring member configured to apply pressure in a downward direction, the spring member being configured to fix the top plate to be in contact with an upper end of the sidewall of the frame; and an expansion member provided at a portion of the top plate, the expansion member being configured to expand outward in response to an increase in inner pressure to increase a volume of the inner space of the battery module.

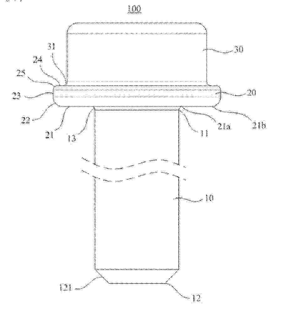
END COVER ASSEMBLY, END COVER, BATTERY CELL, BATTERY, AND POWER CONSUMING DEVICE

NºPublicación:  US20260024853A1 22/01/2026
Solicitante: 
CONTEMPORARY AMPEREX TECH CO LIMITED [CN]
CONTEMPORARY AMPEREX TECHNOLOGY CO., LIMITED
US_20260024853_PA

Resumen de: US20260024853A1

An end cover assembly, an end cover, a battery cell, a battery, and a power consuming device. The end cover assembly includes an end cover, an electrode terminal, and an insulating member, where the end cover is provided with a mounting hole; the electrode terminal is mounted in the mounting hole; and the insulating member is at least partially arranged between the electrode terminal and the end cover, to insulate and isolate the electrode terminal from the end cover. The end cover and/or the electrode terminal are provided with a first limiting portion, the insulating member is provided with a second limiting portion, and the first limiting portion and the second limiting portion cooperate with each other to limit rotation of the insulating member relative to the end cover and/or the electrode terminal.

SECONDARY BATTERY HAVING CASE WITH RECESSED PORTION AND MANUFACTURING METHOD THEREOF

NºPublicación:  US20260024842A1 22/01/2026
Solicitante: 
SAMSUNG SDI CO LTD [KR]
SAMSUNG SDI CO., LTD
US_20260024842_PA

Resumen de: US20260024842A1

A secondary battery including a case having a bottom surface, the bottom surface including a recessed portion and a non-recessed portion, the recessed portion being recessed into an interior of the case, and the non-recessed portion being flat, and an upper surface facing the bottom surfaces, the upper surfaces including a cap assembly, and an electrode assembly accommodated in the case.

ELECTROLYTE FOR RECHARGEABLE LITHIUM BATTERY AND RECHARGEABLE LITHIUM BATTERY INCLUDING THE SAME

NºPublicación:  US20260024812A1 22/01/2026
Solicitante: 
SAMSUNG SDI CO LTD [KR]
SAMSUNG SDI CO., LTD
US_20260024812_PA

Resumen de: US20260024812A1

Electrolytes and rechargeable lithium batteries are disclosed. The electrolyte includes a non-aqueous organic solvent, a lithium salt, a first additive represented by Chemical Formula 1, and a second additive represented by Chemical Formula 2.

BINDER FOR SECONDARY BATTERY FUNCTIONAL LAYER, SLURRY COMPOSITION FOR SECONDARY BATTERY FUNCTIONAL LAYER, FUNCTIONAL LAYER FOR SECONDARY BATTERY, AND SECONDARY BATTERY

NºPublicación:  US20260024774A1 22/01/2026
Solicitante: 
ZEON CORP [JP]
ZEON CORPORATION
US_20260024774_A1

Resumen de: US20260024774A1

Provided is a binder for a secondary battery functional layer that can form a functional layer having excellent heat shrinkage resistance, adhesiveness, and preservation stability. The binder for a secondary battery functional layer contains a particulate polymer including an acidic functional group-containing monomer unit and a reactive functional group-containing monomer unit including a functional group that can react with an acidic functional group. The proportional content of the reactive functional group-containing monomer unit is not less than 7 mass % and not more than 30 mass % when all monomer units included in the particulate polymer are taken to be 100 mass %. A film that is formed of the particulate polymer after accelerated testing has an elastic modulus of 10 MPa or less.

SOLID ELECTROLYTE COMPOSITION AND METHOD OF PRODUCING SOLID ELECTROLYTE MEMBER

NºPublicación:  US20260024806A1 22/01/2026
Solicitante: 
PANASONIC INTELLECTUAL PROPERTY MAN CO LTD [JP]
Panasonic Intellectual Property Management Co., Ltd
US_20260024806_PA

Resumen de: US20260024806A1

The present disclosure provides a solid electrolyte composition that can suppress deterioration in ion conductivity of an ionic solid electrolyte material. The solid electrolyte composition according to the present disclosure contains a sulfur element-free ionic solid electrolyte material and an organic solvent, where the organic solvent includes at least one selected from the group consisting of a hydrocarbon and a compound having a functional group; and the functional group is at least one selected from the group consisting of an ether group, a halogen group, and a Si—O—C group.

ANODE COMPOSITION, ANODE COMPRISING SAME FOR LITHIUM SECONDARY BATTERY, AND LITHIUM SECONDARY BATTERY COMPRISING SAME ANODE

NºPublicación:  US20260024748A1 22/01/2026
Solicitante: 
LG ENERGY SOLUTION LTD [KR]
LG ENERGY SOLUTION, LTD
US_20260024748_PA

Resumen de: US20260024748A1

A negative electrode composition, a negative electrode including the same, and a lithium secondary battery including the negative electrode are provided. The negative electrode composition comprises a porosity securing material and a linear conductive material, and thereby maximizing diffusion of lithium ions while maintaining porosity of the negative electrode, securing conductivity, and lowering resistance of the negative electrode.

NON-AQUEOUS ELECTROLYTE SOLUTION AND LITHIUM BATTERY

NºPublicación:  US20260024809A1 22/01/2026
Solicitante: 
ZHANGJIAGANG GUOTAI HUARONG NEW CHEMICAL MAT CO LTD [CN]
ZHANGJIAGANG GUOTAI-HUARONG NEW CHEMICAL MATERIALS CO., LTD
US_20260024809_A1

Resumen de: US20260024809A1

Embodiments described herein are directed to an electrolyte solution and a lithium-ion secondary battery. The electrolyte solution includes an organic solvent, an electrolyte salt and an additive, wherein the additive includes pyridine boron trifluoride, fluoroethylene carbonate and 1,3,6-hexanetricarbonitrile. The mass percentage content of the pyridine boron trifluoride in the electrolyte solution is 0.1-5%; the mass percentage content of the fluoroethylene carbonate in the electrolyte solution is 0.1-8%; and the mass percentage content of the 1,3,6-hexanetricarbonitrile in the electrolyte solution is 0.1-5%. By means of the synergistic effect of the different types of additives mentioned above, the high-temperature performance and the normal-temperature performance of a high-voltage lithium-ion battery are improved; moreover, the use of sulfur-containing substances can be reduced or even avoided.

GRAPHITE NEGATIVE ELECTRODE PARTICLES, PREPARATION METHOD THEREFOR, BATTERY, AND ENERGY STORAGE APPARATUS

NºPublicación:  WO2026016850A1 22/01/2026
Solicitante: 
XIAMEN HITHIUM ENERGY STORAGE TECH CO LTD [CN]
\u53A6\u95E8\u6D77\u8FB0\u50A8\u80FD\u79D1\u6280\u80A1\u4EFD\u6709\u9650\u516C\u53F8
WO_2026016850_PA

Resumen de: WO2026016850A1

The present application provides graphite negative electrode particles, a preparation method therefor, a battery, and an energy storage apparatus. The graphite negative electrode particles in the embodiments of the present application have a plurality of pores, the plurality of pores are strip-shaped, the maximum length direction of the pores is a first long diameter direction, the maximum length direction of the graphite negative electrode particles is a second long diameter direction, the range of an included angle α between the first long diameter direction and the second long diameter direction is 0°≤α≤30°, and the range of the porosity P1 of particles among the graphite negative electrode particles having a diameter greater than 10μm is 10%≤P1≤60%. The graphite negative electrode particles of the present application have a relatively high compaction density, and a relatively low expansion rate during lithium intercalation.

ELECTROLYTE, BATTERY, ENERGY STORAGE DEVICE, AND ENERGY STORAGE SYSTEM

NºPublicación:  WO2026016847A1 22/01/2026
Solicitante: 
XIAMEN HITHIUM ENERGY STORAGE TECH CO LTD [CN]
\u53A6\u95E8\u6D77\u8FB0\u50A8\u80FD\u79D1\u6280\u80A1\u4EFD\u6709\u9650\u516C\u53F8
WO_2026016847_PA

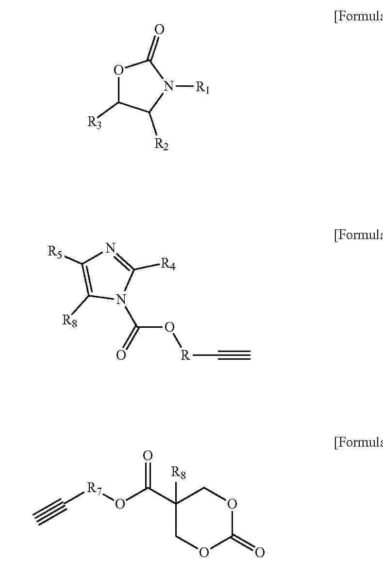
Resumen de: WO2026016847A1

An electrolyte, a battery, an energy storage device, and an energy storage system. The electrolyte of the present application comprises a lithium salt and an additive, wherein the structural formula of the additive is: formula I, wherein R1 is one of hydrogen, an alkyl group containing 1 to 5 carbon atoms, a trifluoromethyl group, an acyl group, and an alkylsilyl group; R2 is one of hydrogen, an alkyl group containing 1 to 5 carbon atoms, a trifluoromethyl group, an acyl group, and an alkylsilyl group; and R3 is one of hydrogen, an alkyl group containing 1 to 5 carbon atoms, a trifluoromethyl group, an acyl group, and an alkylsilyl group.

LITHIUM-ION BATTERY

NºPublicación:  WO2026016715A1 22/01/2026
Solicitante: 
SHENZHEN CAPCHEM TECH CO LTD [CN]
\u6DF1\u5733\u65B0\u5B99\u90A6\u79D1\u6280\u80A1\u4EFD\u6709\u9650\u516C\u53F8
WO_2026016715_A1

Resumen de: WO2026016715A1

In order to solve the problems of the insufficient rate capability, high-temperature performance and low-temperature performance of existing lithium-ion batteries, a lithium-ion battery is provided. The lithium-ion battery comprises a positive electrode, a negative electrode and a non-aqueous electrolyte solution, wherein the negative electrode comprises a negative electrode material layer containing a negative electrode active material, and a negative electrode interface film formed on the surface of the negative electrode material layer, the negative electrode material layer having a specific surface area of 0.5-5 m2/g and a median particle size of 8-17 μm; the non-aqueous electrolyte solution comprises a non-aqueous organic solvent, a lithium salt and an additive, the additive comprising a lithium salt additive and a compound as represented by structural formula (1): structural formula (1); and the lithium-ion battery satisfies the following condition: 0.5≤Wa/Wb≤10. By means of the intercoordination of the proportions of an organic matter component and an inorganic matter component in the negative electrode interface film of the lithium-ion battery, the interfacial transport channel of lithium ions can be optimized, and optimal high-temperature storage performance is obtained, while the low-temperature performance and the rate capability are improved.

POSITIVE ELECTRODE SHEET, SECONDARY BATTERY, AND ELECTRIC DEVICE

NºPublicación:  WO2026016693A1 22/01/2026
Solicitante: 
CONTEMPORARY AMPEREX TECH CO LIMITED [CN]
\u5B81\u5FB7\u65F6\u4EE3\u65B0\u80FD\u6E90\u79D1\u6280\u80A1\u4EFD\u6709\u9650\u516C\u53F8
WO_2026016693_PA

Resumen de: WO2026016693A1

Provided in the present application are a positive electrode sheet, a secondary battery, and an electric device. The positive electrode sheet of the present application facilitates the preparation of low-cost secondary batteries. The secondary battery has a relatively low Hi-pot defect rate and relatively low direct-current internal resistance, and also has an excellent high-temperature capacity retention rate and high-temperature capacity recovery rate.

CARBON MATERIAL-COATED GRAPHITE PARTICLES, LITHIUM ION SECONDARY BATTERY NEGATIVE ELECTRODE, LITHIUM ION SECONDARY BATTERY, AND PRODUCTION METHOD FOR CARBON MATERIAL-COATED GRAPHITE PARTICLES

NºPublicación:  US20260022021A1 22/01/2026
Solicitante: 
JFE CHEMICAL CORP [JP]
JFE STEEL CORP [JP]
JFE CHEMICAL CORPORATION,
JFE STEEL CORPORATION
US_20260022021_PA

Resumen de: US20260022021A1

Carbonaceous substance-coated graphite particles are disclosed that can be used as a negative electrode material for a lithium ion secondary battery. The carbonaceous substance-coated graphite particles include graphite particles and a carbonaceous substance covering at least part of surfaces of the graphite particles. A mass reduction starting temperature when the carbonaceous substance-coated graphite particles are heated in a water vapor atmosphere is 800° C. to 980° C., and a content of the carbonaceous substance is 0.1 to 15.0 parts by mass with respect to 100.0 parts by mass of the graphite particles.

CATHODE ACTIVE MATERIAL AND PREPARATION METHOD THEREOF, AND BATTERY

NºPublicación:  US20260022015A1 22/01/2026
Solicitante: 
BEIJING EASPRING MATERIAL TECH CO LTD [CN]
BEIJING EASPRING MATERIAL TECHNOLOGY CO., LTD
US_20260022015_PA

Resumen de: US20260022015A1

Provided are a cathode active material and a preparation method therefor, and a battery. The cathode active material includes: a core including lithium metal phosphate; a first coating layer covering at least part of a surface of the core; and a second coating layer covering at least part of a surface of the first coating layer. An XRD intensity at a 2θ diffraction angle in a range of 35.5° to 35.7° of the cathode active material is S1, an XRD peak intensity at a 2θ diffraction angle in a range of 24.1° to 25.4° of the cathode active material is S2, and S2/S1 is (0.005 to 0.05):1. An XRD peak intensity at a 2θ diffraction angle in a range of 28.8° to 29.2° of the cathode active material is S3, and S3/S1 is (0.005 to 0.05):1.

ANODE MATERIAL FOR HIGH-CAPACITY SODIUM-ION BATTERY, PREPARATION METHOD THEREOF, AND BATTERY

NºPublicación:  US20260022017A1 22/01/2026
Solicitante: 
SHENZHEN JANAENERGY TECH CO LTD [CN]
SHENZHEN JANAENERGY TECHNOLOGY CO., LTD
US_20260022017_PA

Resumen de: US20260022017A1

An anode material for a high-capacity sodium-ion battery, a preparation method thereof, and a battery are provided. The anode material comprises a porous carbon layer, in which a plurality of micropores are provided, the micropores of the porous carbon layer are filled with graphitic-layer-like carbon crystallites. The preparation method thereof comprises the steps of template-method-based deposition preparation of a porous carbon layer and heat treatment preparation of graphitic-layer-like carbon crystallites, etc. The anode material for a high-capacity sodium-ion battery, the preparation method thereof, and the battery have the characteristics of a large sodium storage capacity, a high initial Coulombic efficiency, a good cycle performance and an excellent rate performance.

CARBON NANOTUBE, PREPARATION METHOD AND USE OF SAME, SECONDARY BATTERY, BATTERY MODULE, BATTERY PACK, AND ELECTRICAL DEVICE

NºPublicación:  US20260022018A1 22/01/2026
Solicitante: 
CONTEMPORARY AMPEREX TECH CO LIMITED [CN]
CONTEMPORARY AMPEREX TECHNOLOGY CO., LIMITED
US_20260022018_PA

Resumen de: US20260022018A1

A carbon nanotube, a preparation method and use of same, a secondary battery, a battery module, a battery pack, and an electrical device are disclosed. The carbon nanotube assumes a mace structure formed of a skeleton carbon nanotube and a branched carbon nanotube, where a weight percent of the branched carbon nanotube is 70 wt % to 90 wt % based on a total weight of the carbon nanotube. The carbon nanotube is so dispersible that the carbon nanotube can be added as a conductive agent directly into a preparation system of a negative electrode plate of the secondary battery without a need for any other dispersants. In addition, the carbon nanotube is ensured to be highly conductive, thereby ensuring a high conductivity of the negative electrode plate in the secondary battery.

ENERGY STORAGE CHARGING PILE THERMAL MANAGEMENT SYSTEM AND ENERGY STORAGE CHARGING PILE

NºPublicación:  US20260024835A1 22/01/2026
Solicitante: 
CONTEMPORARY AMPEREX TECH CO LIMITED [CN]
CONTEMPORARY AMPEREX FUTURE ENERGY TECH SHENZHEN LIMITED [CN]
CONTEMPORARY AMPEREX TECHNOLOGY CO., LIMITED,
CONTEMPORARY AMPEREX FUTURE ENERGY TECHNOLOGY (SHENZHEN) LIMITED
US_20260024835_PA

Resumen de: US20260024835A1

An energy storage charging pile thermal management system includes: a first liquid cooling loop with a first cooling pipeline passes through a battery and a heat exchange module; and a second liquid cooling loop with a second cooling pipeline passes through a charging module and the heat exchange module. First coolant in the first cooling pipeline is insulating or non-insulating liquid. Second coolant in the second cooling pipeline is insulating liquid. The first and second cooling pipelines perform heat exchange through the heat exchange module. A charging converter is electrically connected to the battery. A charging gun is electrically connected to the charging converter and the battery through a charging wiring harness. The charging module includes the charging gun and the charging wiring harness. The second cooling pipeline is disposed along the charging wiring harness and passes through the charging gun.

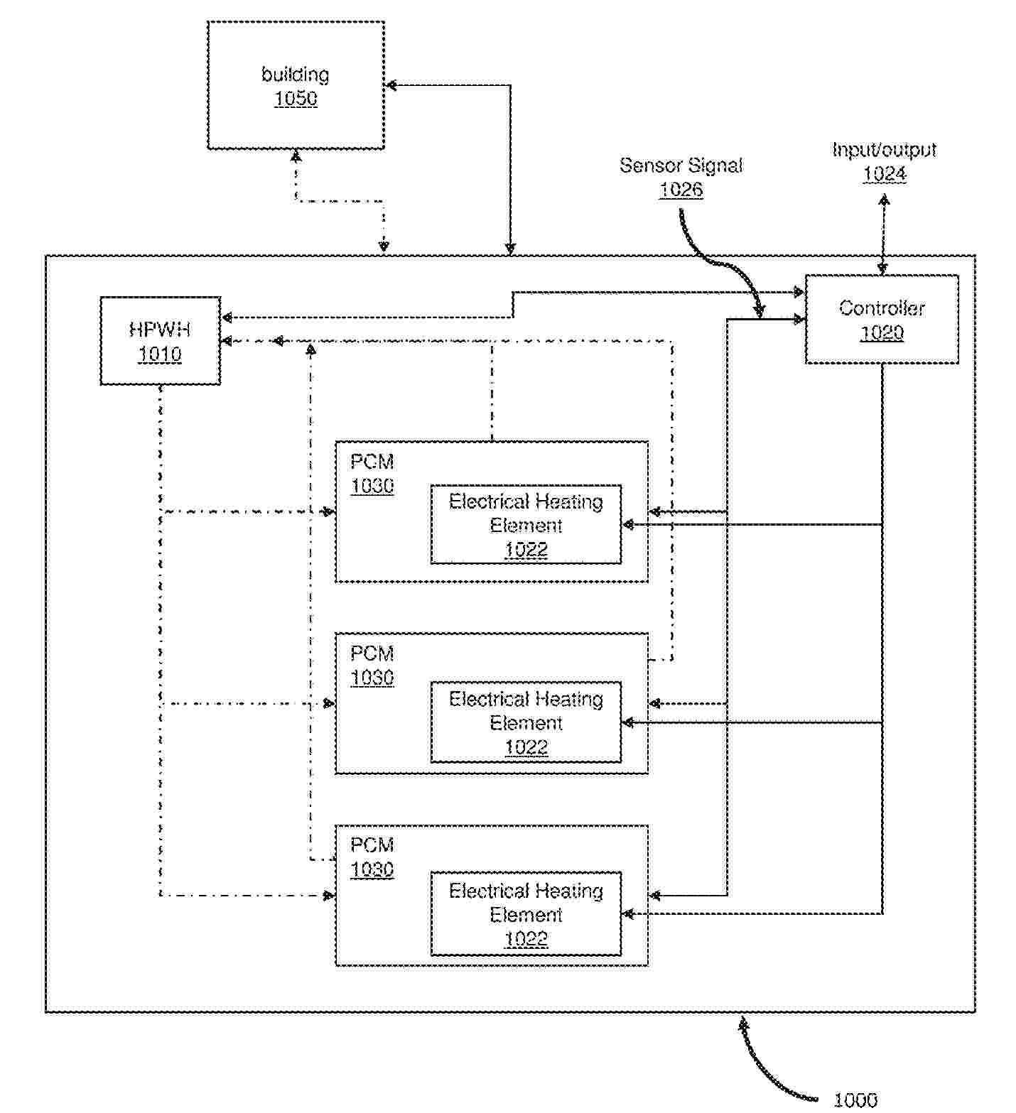
SYSTEM FOR USING PHASE CHANGE MATERIAL BATTERY IN A HEATING SYSTEM

NºPublicación:  US20260024841A1 22/01/2026
Solicitante: 
HEAT TRANSFER EQUIPMENT COMPANY INC [US]
Heat Transfer Equipment Company, Inc
US_20260024841_PA

Resumen de: US20260024841A1

A system for centralized control of electric elements in Phase Change Material (PCM) batteries. The system can activate the electric resistance elements simultaneously with the Heat Pump Water Heater (HPWH) during times of peak demand when the HPWH cannot charge the batteries fast enough. The system activates the electric resistance elements when weather conditions do not permit operation of the HPWH, particularly in low outside air temperatures or for load shifting events or in tandem with the HPWH for enhanced charging for peak demand events. The system activates the electric resistance elements when the HPWH is in defrost mode. The system activates the electric resistance elements when the HPWH is not operational due to an internal fault.

Safety System of a Battery Module

NºPublicación:  US20260024839A1 22/01/2026
Solicitante: 
QOOLERS S R O [CZ]
Qoolers s. r. o
US_20260024839_PA

Resumen de: US20260024839A1

A safety system of a battery module comprises a reservoir of a flame retardant for storing the flame retardant connected to the battery module, with a set of at least three battery cells arranged such as to form a space between them for the flowing of the heat transfer medium, and a cooling circuit. The method of operation of the safety system lies in the fact that when the first critical temperature is reached, the access of the flame retardant to the manifold of the heat transfer medium, through which the flame retardant is discharged through the mouths for the outflow of the heat transfer medium into the space for the flowing of the heat transfer medium between the battery cells is open.

BINDER COMPOSITION FOR NON-AQUEOUS SECONDARY BATTERY ELECTRODE, SLURRY COMPOSITION FOR NON-AQUEOUS SECONDARY BATTERY ELECTRODE, ELECTRODE FOR NON-AQUEOUS SECONDARY BATTERY, AND NON-AQUEOUS SECONDARY BATTERY

Nº publicación: US20260024771A1 22/01/2026

Solicitante:

ZEON CORP [JP]
ZEON CORPORATION

US_20260024771_A1

Resumen de: US20260024771A1

Provided is a binder composition for a non-aqueous secondary battery electrode that has good tackiness and that enables the formation of an electrode for a non-aqueous secondary battery having excellent peel strength. The binder composition for a non-aqueous secondary battery electrode contains a particulate binder and water. A ratio of an average particle diameter Da of the particulate binder measured by dynamic light scattering at pH 8.0 relative to a volume-average particle diameter Db of the particulate binder measured by laser diffraction/scattering is within a specific range. When viscosity of the binder composition at pH 6.0 and viscosity of the binder composition at pH 8.0 as measured under specific conditions are respectively taken to be η1 and η2, a viscosity increase rate, which is calculated by formula (I): viscosity increase rate={(η2−η1)/η1}, is within a specific range.

traducir