Ministerio de Industria, Turismo y Comercio LogoMinisterior
 

Alerta

Resultados 1544 resultados
LastUpdate Última actualización 27/10/2025 [07:17:00]
pdfxls
Publicaciones de los últimos 15 días/Last 15 days publications (excluidas pubs. CN y JP /CN and JP pubs. excluded)
previousPage Resultados 100 a 125 de 1544 nextPage  

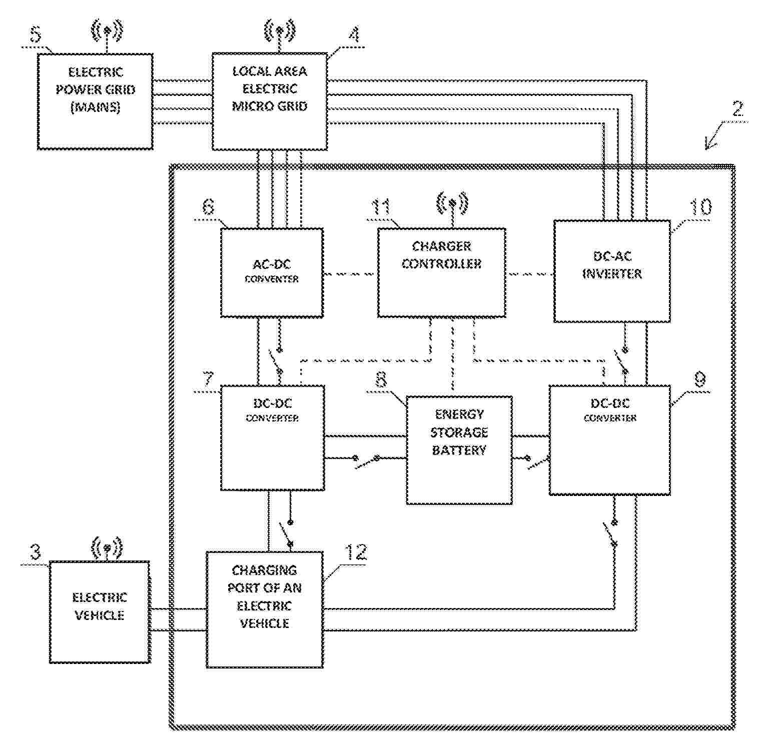
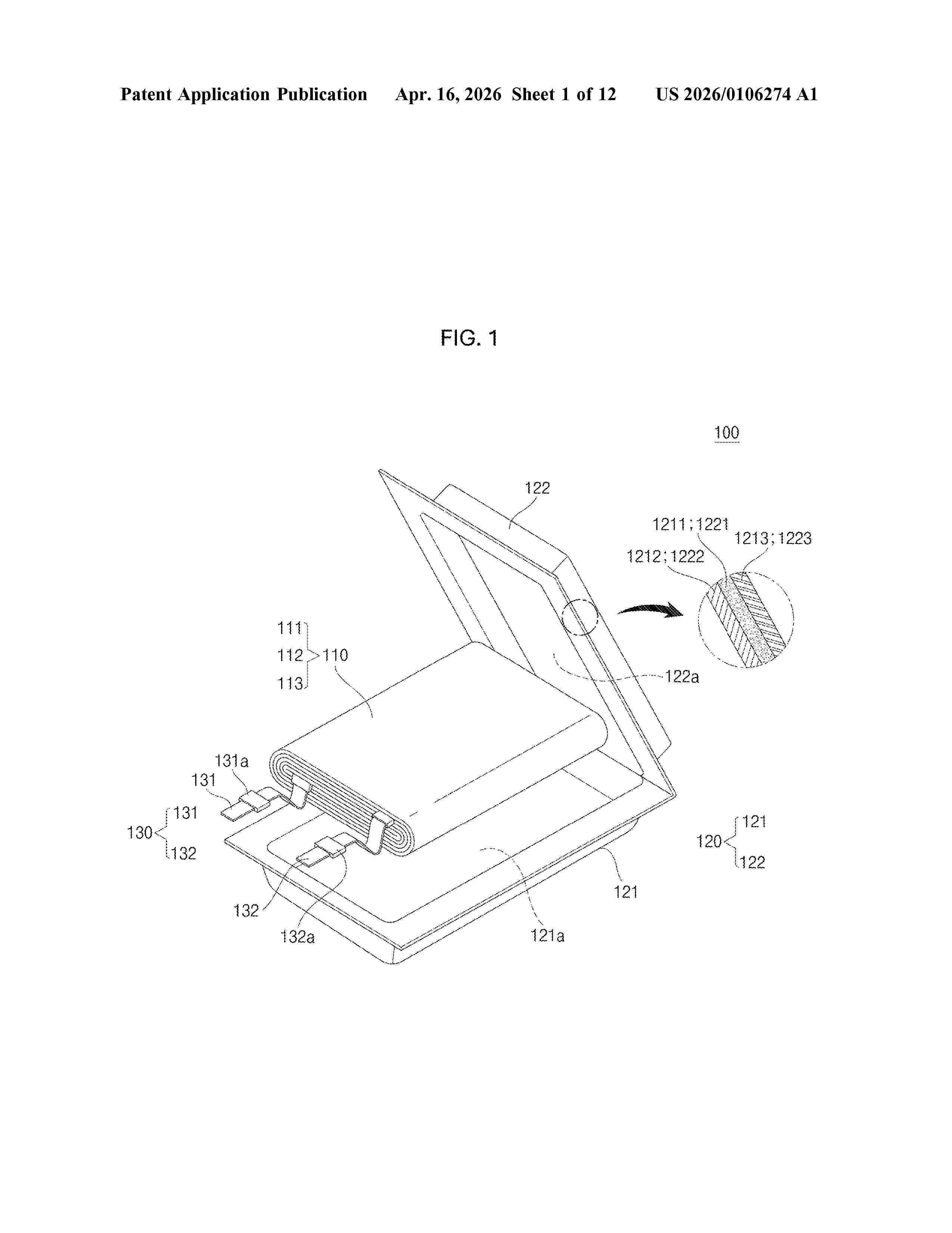
ELECTRIC VEHICLE CHARGER AND NETWORK OF ELECTRIC VEHICLE CHARGERS

NºPublicación:  US2025326311A1 23/10/2025
Solicitante: 
PENCZEK JAN [PL]
ENERGIA ODNAWIALNA BADANIA I WYTWARZANIE SP Z O O [PL]
PENCZEK Jan,
ENERGIA ODNAWIALNA BADANIA I WYTWARZANIE SP Z. O.O
US_2025326311_PA

Resumen de: US2025326311A1

The invention related to a charger for electric vehicles, which comprises an input AC-DC converter from an external power grid, an energy storage battery, a DC-DC converter for charging an electric vehicle, a charging port for an electric vehicle as well as a controller configured to establish interconnections between the DC-DC converter and the input AC-DC converter or the energy storage battery with charging port of an electric vehicle for charging the electric vehicle or for charging energy storage battery. Further the charger comprises at least one supplementary DC-DC converter and an output DC-AC inverter to the external power grid, where the controller is configured to make additional, selective switching in response to input signals received from an electric vehicle and/or from the energy storage battery and/or from the external power grid. The application discloses further a network of chargers for charging electric vehicles.

LITHIUM-ION SECONDARY BATTERY

NºPublicación:  US2025329724A1 23/10/2025
Solicitante: 
SEMICONDUCTOR ENERGY LABORATORY CO LTD [JP]
SEMICONDUCTOR ENERGY LABORATORY CO., LTD
US_2025329724_PA

Resumen de: US2025329724A1

A lithium-ion secondary battery having excellent discharge characteristics even in a low-temperature environment is provided. The lithium-ion secondary battery includes a positive electrode, a negative electrode, and an electrolyte solution. The positive electrode includes lithium cobalt oxide with a median diameter (D50) of greater than or equal to 1 μm and less than or equal to 12 μm. The lithium cobalt oxide contains magnesium in its surface portion. The negative electrode includes a graphite particle, a silicon particle, and a polymer including a carboxy group. The electrolyte solution contains a mixed solvent of a fluorinated cyclic carbonate and a fluorinated chain carbonate.

ELECTRODE, SECONDARY BATTERY, AND ELECTRONIC DEVICE

NºPublicación:  US2025329743A1 23/10/2025
Solicitante: 
NINGDE AMPEREX TECH LIMITED [CN]
Ningde Amperex Technology Limited
US_2025329743_PA

Resumen de: US2025329743A1

An electrode includes: an electrode active material layer, the electrode active material layer including an electrode active material and a conductive agent, where the conductive agent includes carbon nanotube clusters, the carbon nanotube clusters being composed of a plurality of bundled carbon nanotube units, and a diameter of the carbon nanotube clusters is greater than 0.2 μm.

Lithium Metal Anode and Battery

NºPublicación:  US2025329714A1 23/10/2025
Solicitante: 
PURE LITHIUM CORP [US]
Pure Lithium Corporation
US_2025329714_PA

Resumen de: US2025329714A1

A lithium metal electrode has no more than five ppm of non-metallic elements by mass, and is bonded to a conductive substrate. Optionally, the lithium metal electrode may be bonded on one side to a conductive substrate and on another side to a lithium ion selective membrane. The lithium metal electrode may be integrated into lithium metal batteries. The inventive lithium metal electrode may be manufactured by a process involving electrolysis of lithium ions from an aqueous lithium salt solution through an ion selective membrane, carried out under a blanketing atmosphere having no more than 10 ppm of non-metallic elements, the electrolysis being performed at a constant current between about 10 mA/cm2 and about 50 mA/cm2, and wherein the constant current is applied for a time between about 1 minute and about 60 minutes.

AQUEOUS BATTERY

NºPublicación:  US2025329726A1 23/10/2025
Solicitante: 
TOYOTA JIDOSHA KK [JP]
TOYOTA JIDOSHA KABUSHIKI KAISHA
US_2025329726_PA

Resumen de: US2025329726A1

Disclosed is a novel active material operatable in an aqueous battery. The aqueous battery of the present disclosure includes a positive electrode, an aqueous electrolyte solution and a negative electrode. The positive electrode includes a positive electrode active material, and the negative electrode includes a negative electrode active material. One of or both the positive electrode active material and the negative electrode active material include(s) a composite oxide. The composite oxide contains Na, at least one transition metal element of Fe, Ti, Ni and Mn, and O. The aqueous electrolyte solution contains water and potassium polyphosphate dissolved in the water.

SECONDARY BATTERY

NºPublicación:  US2025329771A1 23/10/2025
Solicitante: 
SAMSUNG SDI CO LTD [KR]
Samsung SDI Co., Ltd
US_2025329771_PA

Resumen de: US2025329771A1

A secondary battery includes: an electrode assembly comprising a first electrode plate, a second electrode plate, and a separator, the electrode assembly being formed such that a first uncoated portion connected to the first electrode plate is located on one side of the electrode assembly in a width direction and a second uncoated portion connected to the second electrode plate is on an opposite side of the electrode assembly in the width direction; a pouch unit accommodating the electrode assembly; a first electrode terminal electrically connected to the first uncoated portion and located on one side of the pouch unit in the width direction; and a second electrode terminal electrically connected to the second uncoated portion and located on an opposite side of the pouch unit in the width direction.

Solid State Batteries, SSE Batteries, Lithium Metal Batteries with Solid State Electrolytes, HSSE, Separators, and/or Coatings, and/or Related Methods

NºPublicación:  US2025329778A1 23/10/2025
Solicitante: 
CELGARD LLC [US]
CELGARD, LLC
US_2025329778_PA

Resumen de: US2025329778A1

The problems or issues faced by typical larger SSE batteries are solved by providing an interface or interfacial layer at least between the anode, which comprises Li or Na, and the solid state electrolyte (SSE). In some other embodiments, an interfacial layer may be provided between the anode, which comprises Li or Na, and the SSE, and an interface or interfacial layer may also be provided between the cathode and the SSE. In at least selected embodiments, aspects or objects, the interfacial layer may act as a shock absorber between a SSE (e.g., a sulfide glass SSE) and an anode material that is soft compared to the SSE (e.g., Li metal). In other embodiments, the interfacial layer may act as a shock absorber between the SSE and a cathode material that is softer than the SSE. In at least certain embodiments, the interfacial layer may improve ionic conductance between the anode and the SSE and/or the SSE and the cathode. In at least certain selected embodiments, the interfacial layer may prevent or deter lithium deposition and dendrite growth at the interface between the anode and the SSE. Interface defects at the interface between the anode and the SSE may allow lithium deposition and dendrite growth. The dendrites may continue to grow through cracks in the SSE causing a short, which is a safety issue. The inventive interfacial layer between the anode and the SSE may prevent or deter this. In at least some embodiments, the interfacial layer may be a porous polymer layer filled

ELECTRODE PLATE STACKING APPARATUS AND ELECTRODE PLATE STACKING METHOD USING SAME

NºPublicación:  US2025329772A1 23/10/2025
Solicitante: 
SAMSUNG SDI CO LTD [KR]
Samsung SDI Co., Ltd
US_2025329772_PA

Resumen de: US2025329772A1

Provided are an electrode plate stacking apparatus and an electrode plate stacking method using the same. A rotary supporting plate is rotatable about a first direction and allows a positive electrode plate to be bonded to a negative electrode plate having a surface coated with an adhesive to form an electrode plate assembly. A rotary pressing plate is spaced apart from the rotary supporting plate in a second direction perpendicular to the first direction, is rotatable about the first direction, and interferes with the rotary supporting plate to press the electrode plate assembly. A receiver is disposed below the rotary supporting plate in a third direction perpendicular to the first direction and the second direction and receives the electrode plate assembly freely falling in response to rotation of the rotary supporting plate.

ELECTROCHEMICAL DEVICE AND ELECTRONIC DEVICE

NºPublicación:  US2025329751A1 23/10/2025
Solicitante: 
NINGDE AMPEREX TECH LIMITED [CN]
Ningde Amperex Technology Limited
US_2025329751_PA

Resumen de: US2025329751A1

An electrode assembly includes a first electrode plate with a first current collector, a first conductive material layer provided with a first opening, and a second conductive material layer provided with a second opening. The first current collector includes a first surface and a second surface. The first surface includes a first region. The second surface includes a second region. When viewed from the first direction, the first region overlaps with the second region, and the first conductive plate is connected to the first region or the second region. The first opening includes first to third opening edges. The second opening includes fourth to sixth opening edges. The first, second, and third distances are the distances between the first-fourth, second-fifth, and third-sixth opening edges, respectively, the electrochemical device satisfies at least one of the following conditions: 0.2 mm≤first distance; 0.2 mm≤second distance; or 0.2 mm≤third distance.

ELECTRODE ASSEMBLY, BATTERY, AND ELECTRIC DEVICE

NºPublicación:  US2025329712A1 23/10/2025
Solicitante: 
NINGDE AMPEREX TECH LIMITED [CN]
Ningde Amperex Technology Limited
US_2025329712_PA

Resumen de: US2025329712A1

An electrode assembly includes a tab, a first insulating layer, and a second insulating layer. The first electrode plate includes a first current collector and first active material layers applied on two sides of the first current collector. The first active material layer is provided with a tab groove, and the tab groove is provided with a tab. At least one surface of the first active material layer is provided with a thinned region in communication with the tab groove. The thinned region includes a first depression apart from the tab groove in the first direction, and a second depression provided between the first depression and the tab groove. The first insulating layer is provided in the second depression. A projection of the second insulating layer in the first direction is located in the first depression.

BATTERY HEATING METHOD, BATTERY HEATING CIRCUIT, AND ELECTRIC DEVICE

NºPublicación:  US2025326328A1 23/10/2025
Solicitante: 
CONTEMPORARY AMPEREX TECH CO LIMITED [CN]
CONTEMPORARY AMPEREX TECHNOLOGY CO., LIMITED
US_2025326328_A1

Resumen de: US2025326328A1

This application relates to a battery heating method, a battery heating circuit, and an electric device. The method includes: acquiring a heating enable signal indicating that a motor is to heat a battery based on a heating circuit, and controlling switching states of switching transistors in a switch circuit in response to the heating enable signal, so as to generate a half-wave current in the motor to heat the battery, where a current waveform of each phase stator winding during the motor-based battery heating process is a half-wave current waveform, thereby increasing current harmonics in stator windings of the motor and dispersing vibration noise energy during the motor-based battery heating process. Thus, as compared to conventional technologies, the vibration noise during the motor-based battery heating process in the embodiments of this application is reduced, thereby alleviating the vibration noise issue during the motor-based battery heating process.

SYSTEM AND METHOD FOR DESIGNING AND CONTROLLING A DUAL ENERGY STORAGE SYSTEM

NºPublicación:  US2025326327A1 23/10/2025
Solicitante: 
ELECTRA VEHICLES INC [US]
Electra Vehicles, Inc
US_2025326327_PA

Resumen de: US2025326327A1

An electrical storage system comprises a first energy storage system and a second energy storage system having a lower electrical energy density and a higher rated electrical power output capability than the first energy storage system, at least one electrical power sensor configured to sense over a plurality of time intervals, electrical power usage information for a load electrically coupled to the first energy storage system and the second energy storage system, and at least one computer processor programmed to determine based, at least in part, on the sensed electrical power usage information and a power requirement of the load in a current time interval, charging/discharging parameters for each of the first energy storage system and the second energy storage system, and control charging/discharging of each of the first and second energy storage systems in accordance with the determined charging/discharging parameters during the current time interval.

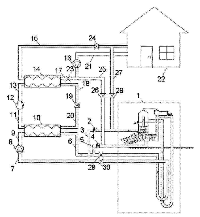
MULTIPLE BRANCH COOLANT SYSTEM

NºPublicación:  US2025326288A1 23/10/2025
Solicitante: 
GM GLOBAL TECH OPERATIONS LLC [US]
GM GLOBAL TECHNOLOGY OPERATIONS LLC
US_2025326288_PA

Resumen de: US2025326288A1

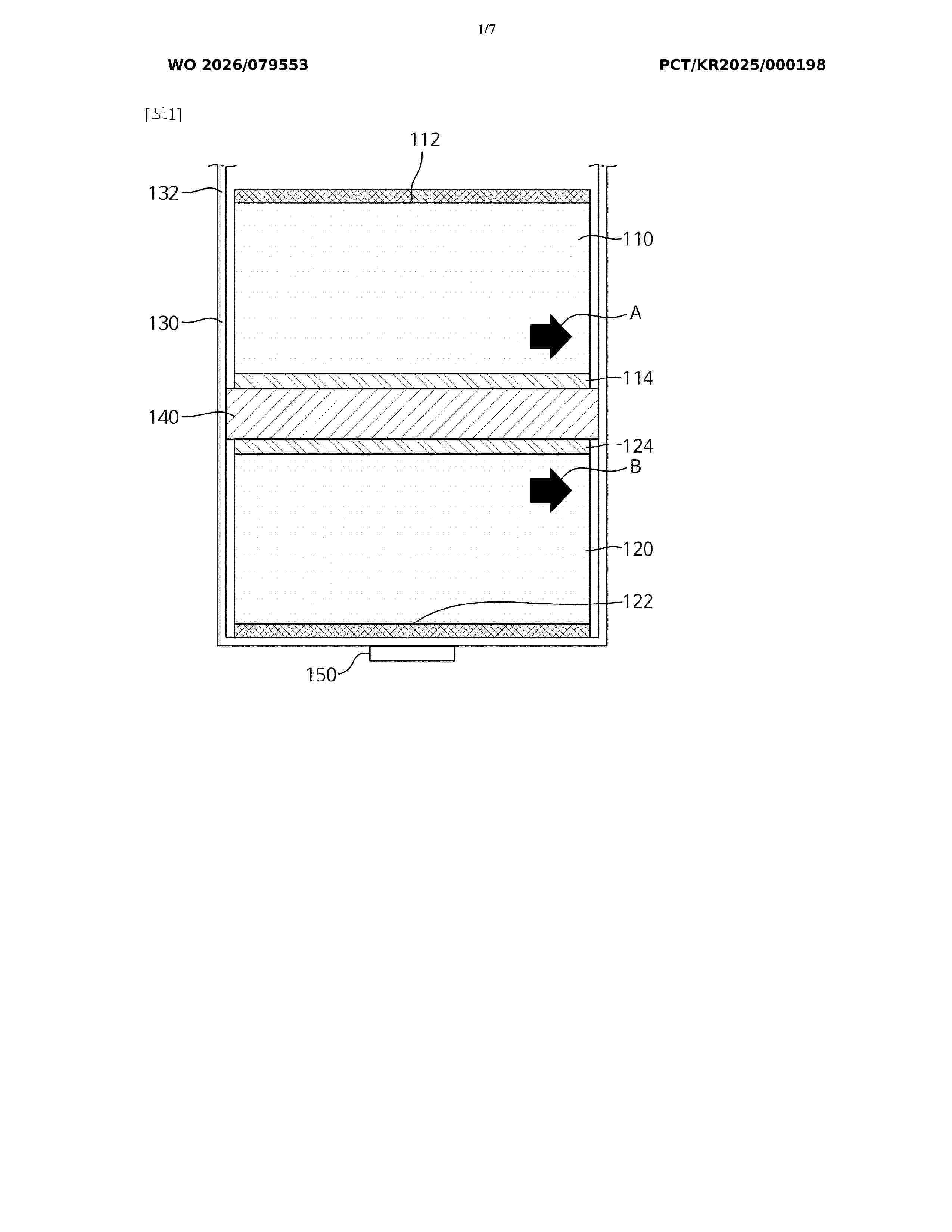
A cooling system for a multi-cell rechargeable energy storage system (RESS) having a plurality of battery cells arranged in individual battery modules includes a main coolant loop configured to circulate a coolant. The cooling system additionally includes a plurality of coolant branches arranged in parallel. Each coolant branch is configured to receive a portion of the coolant from the main coolant loop to remove thermal energy from one of the respective battery modules. The cooling system further includes at least one flow-valve configured to regulate and distribute across the plurality of coolant branches the coolant circulated through the main coolant loop. One-way valves may be used to control the flow of coolant out of respective coolant branches. A motor vehicle employing such a RESS and the cooling system is also included.

WELDING DETECTION APPARATUS AND WELDING DETECTION METHOD

NºPublicación:  US2025326046A1 23/10/2025
Solicitante: 
CONTEMPORARY AMPEREX TECH CO LIMITED [CN]
CONTEMPORARY AMPEREX TECHNOLOGY CO., LIMITED
US_2025326046_PA

Resumen de: US2025326046A1

A welding detection apparatus is used for detecting a weld seam between a case and a top cover of a battery, and includes: an image acquisition component configured to shoot the weld seam, the image acquisition component being located obliquely above an outer side of the weld seam and forming an included angle with a height direction of the battery; and a controller configured to obtain a protruding height of the weld seam relative to a reference surface area on an outer side wall of the case according to a first distance between the image acquisition component and the outer side wall of the case, a second distance between the image acquisition component and the weld seam, and the included angle, and compare the protruding height with a preset height threshold to determine whether the protruding height of the weld seam is qualified.

ELECTRIFIED VEHICLE AND DISPLAYING DEVICE

NºPublicación:  US2025329198A1 23/10/2025
Solicitante: 
TOYOTA JIDOSHA KK [JP]
TOYOTA JIDOSHA KABUSHIKI KAISHA
US_2025329198_PA

Resumen de: US2025329198A1

Electrified vehicle includes a processor, a display device, a battery, and a cooling/temperature raising device that adjusts a temperature of the battery according to a user's manipulation using power stored in the battery. The processor calculates a comparison index value relating to the storage amount of the battery between the case where the cooling/temperature raising device is operated and the case where the cooling/temperature raising device is not operated, and displays the calculated comparison index value on the display device. It is possible to notify the user of electrified vehicle of the power storage capacity of the battery when the cooling/temperature raising device that adjusts the temperature of the battery in response to the user's manipulation is operated by using the electric power stored in the battery that stores the electric power for traveling of electrified vehicle and when the cooling/temperature raising device is not operated.

METHODS FOR BATTERY MANAGEMENT SYSTEM (BMS) ADDRESS ALLOCATION IN UNINTERRUPTIBLE POWER SUPPLY (UPS) SYSTEMS AND UPS SYSTEMS BASED ON THE METHODS

NºPublicación:  US2025328480A1 23/10/2025
Solicitante: 
LIAN ZHENG ELECTRONICS SHENZHEN CO LTD [CN]
Lian Zheng Electronics (Shenzhen) Co., Ltd
US_2025328480_PA

Resumen de: US2025328480A1

Methods for BMS address allocation in a UPS system are provided. The method includes: S1: broadcasting an address allocation start instruction; S2: setting its output port to a second preset level and its address allocation flag as “uncompleted”, and setting, by the built-in BMS, its address allocation flag to “uncompleted”; S3: broadcasting, by the UPS, an address allocation instruction; S4: performing, by a BMS whose input port is at the first preset level and whose address allocation flag is uncompleted, address setting, and after the address setting is completed, setting its address allocation flag as “completed” and replying address information to the UPS; S5: receiving, by the UPS, the replied address information, and sending a port configuration instruction to the BMS, so that the BMS sets its output port to the first preset level; and S6: repeating steps S3 to S5 until all BMSs have completed address allocation.

BATTERY MANAGEMENT SYSTEM AND MONITORING DEVICES

NºPublicación:  US2025327869A1 23/10/2025
Solicitante: 
DUKOSI LTD [GB]
DUKOSI LIMITED
US_2025327869_PA

Resumen de: US2025327869A1

A monitoring device is provided. The monitoring device comprises one or more circuitry operable to obtain measurements of one or more pins of a battery system, the one or more circuitry comprising at least one circuit for monitoring current, which comprise: at least one other circuit for amplifying variance comprising at least one differential amplifier, one voltage reference in electrical connection with a first input of the differential amplifier; at least one transconductance means comprising at least one output in electrical connection with a second input of the differential amplifier and at least one input in electrical connection with an output of the differential amplifier; at least one current source in electrical connection with at least one output of the at least one transconductance means; and an output in electrical connection with at least one output of the at least one transconductance means.

APPARATUS AND METHOD FOR DIAGNOSING BATTERY

NºPublicación:  US2025327875A1 23/10/2025
Solicitante: 
LG ENERGY SOLUTION LTD [KR]
LG ENERGY SOLUTION, LTD
US_2025327875_PA

Resumen de: US2025327875A1

A battery diagnosing apparatus according to one embodiment of the present disclosure includes: a profile acquisition unit that acquires a battery profile representing a correspondence between a voltage and a capacity of a battery; and a control unit that divides a capacity section of the battery profile into a plurality of sections, derives a target value for one target index related to a differential voltage peak among a plurality of diagnosis indices set in advance, from each of the divided sections, compares a correspondence between the derived plurality of target values with a preset reference profile that represents a correspondence between a plurality of target indices, and diagnoses a state of the battery based on a result of the comparison.

BATTERY AND VEHICLE

NºPublicación:  US2025326285A1 23/10/2025
Solicitante: 
CONTEMPORARY AMPEREX TECH CO LIMITED [CN]
CONTEMPORARY AMPEREX TECHNOLOGY CO., LIMITED
US_2025326285_PA

Resumen de: US2025326285A1

Provided are a battery and a vehicle. The battery includes a battery cell and a housing. The battery cell is accommodated in the housing. The housing includes a first housing portion and two second housing portions located at two sides of the first housing portion in a first direction. The battery cell is disposed in each of the first housing portion and the two second housing portions. A recess is defined by the first housing portion and the two second housing portions together. The recess is a through recess in the first direction and opened towards a second direction. The battery is adapted to be disposed at a bottom of a vehicle. A vehicle-bottom longitudinal beam of the vehicle is adapted to pass through the recess in the first direction and to be detachably mounted in the recess in the second direction. The first direction intersects the second direction.

BATTERY SWAPPABLE VEHICLE AND BATTERY

NºPublicación:  US2025326325A1 23/10/2025
Solicitante: 
CONTEMPORARY AMPEREX TECH HONG KONG LIMITED [CN]
CONTEMPORARY AMPEREX TECHNOLOGY (HONG KONG) LIMITED
US_2025326325_PA

Resumen de: US2025326325A1

A battery swappable vehicle and a battery. The battery swappable vehicle includes a battery compartment, the battery compartment is arranged in the battery swappable vehicle, the battery compartment is configured to accommodate a plurality of batteries, and each of the batteries is capable of independently supplying power to the battery swappable vehicle.

METHOD AND SYSTEM FOR REDUCING THERMAL RUNAWAYS IN A BATTERY PACK

NºPublicación:  US2025325858A1 23/10/2025
Solicitante: 
AIRBUS OPERATIONS S L U [ES]
Airbus Operations S.L.U
US_2025325858_PA

Resumen de: US2025325858A1

A method for reducing thermal runaways in a battery pack includes detecting a temperature inside the battery pack, if the temperature detected is higher than a predetermined temperature, injecting air with nitrogen and oxygen, the oxygen being less than 10% in volume, inside the battery pack and removing oxygen from the inside of the battery pack. The system includes a temperature sensor, an inerting system for injecting air with nitrogen and oxygen, the oxygen being less than 10% in volume, inside the battery pack if a temperature detected by the temperature sensor is higher than a predetermined temperature, and an exit duct, through which oxygen is removed from the battery pack if the temperature detected by the temperature sensor is higher than a predetermined temperature.

OUTDOOR WHEEL-TYPE TOOL AND BATTERY PACK THEREOF

NºPublicación:  AU2024264446A1 23/10/2025
Solicitante: 
NANJING CHERVON INDUSTRY CO LTD
NANJING CHERVON INDUSTRY CO., LTD
AU_2024264446_PA

Resumen de: AU2024264446A1

An outdoor wheel-type tool and a battery pack thereof. The battery pack (100) comprises: a case (110); a plurality of battery cells (130); and a battery cell support (140), configured to support the battery cells (130), wherein a plurality of exhaust channels (151) are provided in the case (110), the extension direction of the exhaust channels (151) is substantially perpendicular to the extension direction of the battery cells (130), and the energy of the battery pack (100) is greater than or equal to 2 kW·h.

MODULAR MULTILEVEL CONVERTERS FOR BATTERY ENERGY STORAGE

NºPublicación:  AU2023437683A1 23/10/2025
Solicitante: 
FLUENCE ENERGY LLC
FLUENCE ENERGY, LLC
AU_2023437683_PA

Resumen de: AU2023437683A1

A battery energy storage system includes a plurality of battery cores. Each battery core of the battery energy storage system includes an array of battery cubes, and each battery core is configured to provide a first direct current power at a first voltage. The battery energy storage system further includes a plurality of direct-current-to-direct- current (DC-DC) converters. Each DC-DC converter of the battery energy storage system is configured to accept the first direct current power and each DC-DC converter is configured to provide a second direct current power at a second voltage. The battery energy storage system further includes a main modular multilevel converter (MMC). The MMC of the battery energy storage system is configured to accept the second direct current and to provide an alternating current at a third voltage.

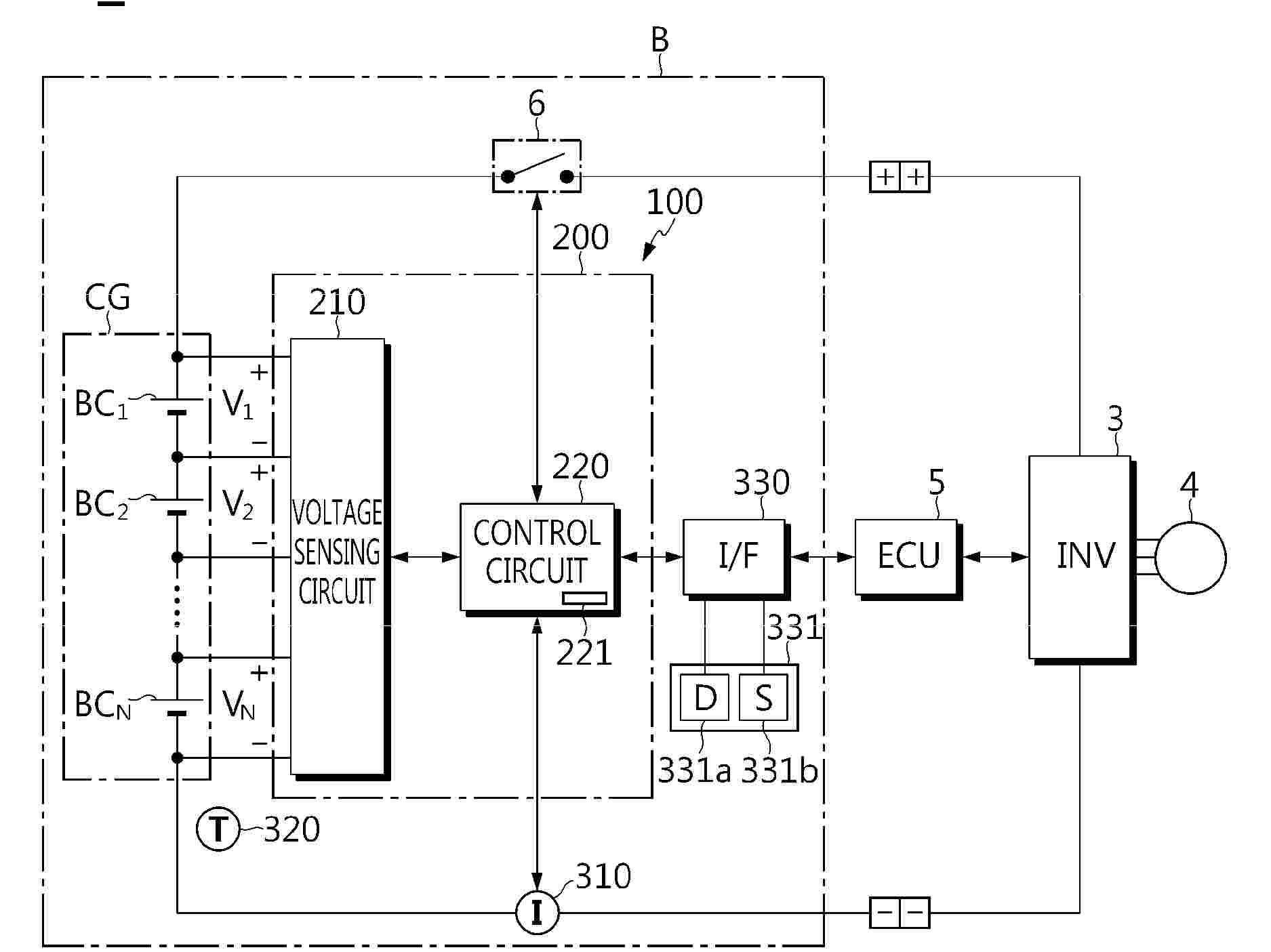
Battery Diagnosis Apparatus, Battery Diagnosis Method, Battery Pack, and Vehicle

NºPublicación:  US2025327867A1 23/10/2025
Solicitante: 
LG ENERGY SOLUTION LTD [KR]
LG Energy Solution, Ltd
US_2025327867_PA

Resumen de: US2025327867A1

A battery diagnosis apparatus including a voltage sensing circuit, a storage medium and a control circuit records first to Nth voltage time series data of first to Nth battery cells, selects a set of first voltages measured at a first time and a set of second voltages measured at a second time, determines a a first and second average position vectors, determines a difference between the first and second average position vectors as a diagnosis reference vector, for an ith battery cell determines a first and second diagnosis position vectors, determines a difference between the first and second diagnosis position vectors as an ith diagnosis vector, determines an ith diagnosis factor based on a magnitude of a cross product of the diagnosis reference vector and the ith diagnosis vector, and diagnoses the ith battery cell as exhibiting a voltage abnormality when the ith diagnosis factor exceeds a threshold value.

APPARATUS AND METHOD FOR DIAGNOSING BATTERY

Nº publicación: US2025327873A1 23/10/2025

Solicitante:

LG ENERGY SOLUTION LTD [KR]
LG ENERGY SOLUTION, LTD

US_2025327873_PA

Resumen de: US2025327873A1

An apparatus for diagnosing a battery according to an embodiment of the present disclosure may include a data obtaining unit configured to obtain a resistance value and a voltage value of a battery; a profile generating unit configured to generate a profile representing a correspondence relationship between the resistance value and the voltage value of the battery obtained by the data obtaining unit; and a control unit configured to set a criterion range in the profile received from the profile generating unit and diagnose whether an abnormality has occurred in the battery based on the result of comparing the resistance value of the battery and the criterion range.

traducir