Ministerio de Industria, Turismo y Comercio LogoMinisterior
 

Alerta

Resultados 1609 resultados
LastUpdate Última actualización 09/12/2025 [07:32:00]
pdfxls
Publicaciones de los últimos 15 días/Last 15 days publications (excluidas pubs. CN y JP /CN and JP pubs. excluded)
previousPage Resultados 75 a 100 de 1609 nextPage  

COATING, BATTERY, AND ELECTRICITY-CONSUMPTION DEVICE

NºPublicación:  WO2025246965A1 04/12/2025
Solicitante: 
XIAMEN HITHIUM ENERGY STORAGE TECH CO LTD [CN]
XIAMEN HITHIUM ENERGY STORAGE TECHNOLOGY CO., LTD
WO_2025246965_A1

Resumen de: WO2025246965A1

The present disclosure relates to the technical field of coatings, and specifically discloses a coating, a battery, and an electricity-consumption device. A total heat release of the coating in a first temperature range and a second temperature range ranges from 30 J/mg to 60 J/mg. The first temperature range is from 120°C to 220°C. The second temperature range is from 220°C to 270°C.

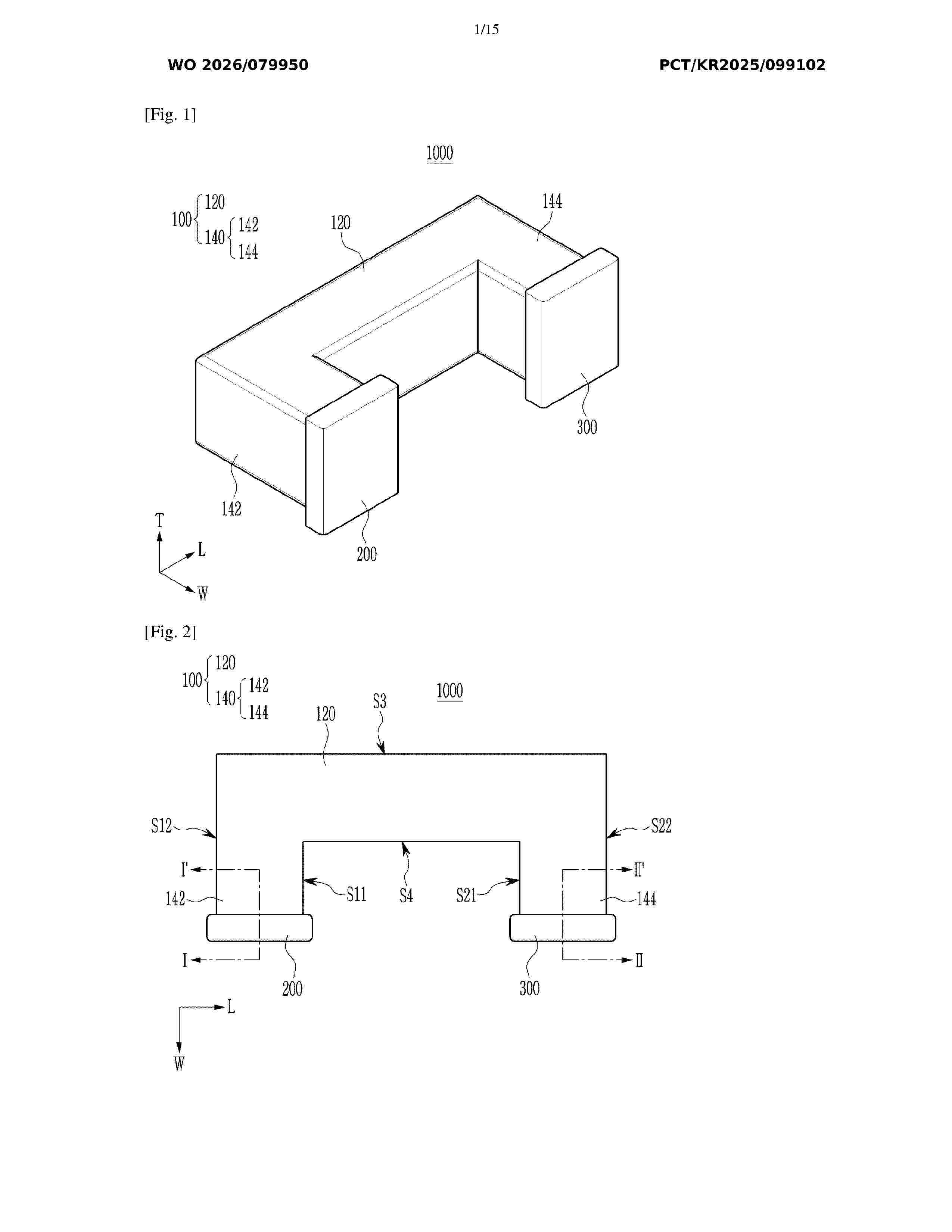
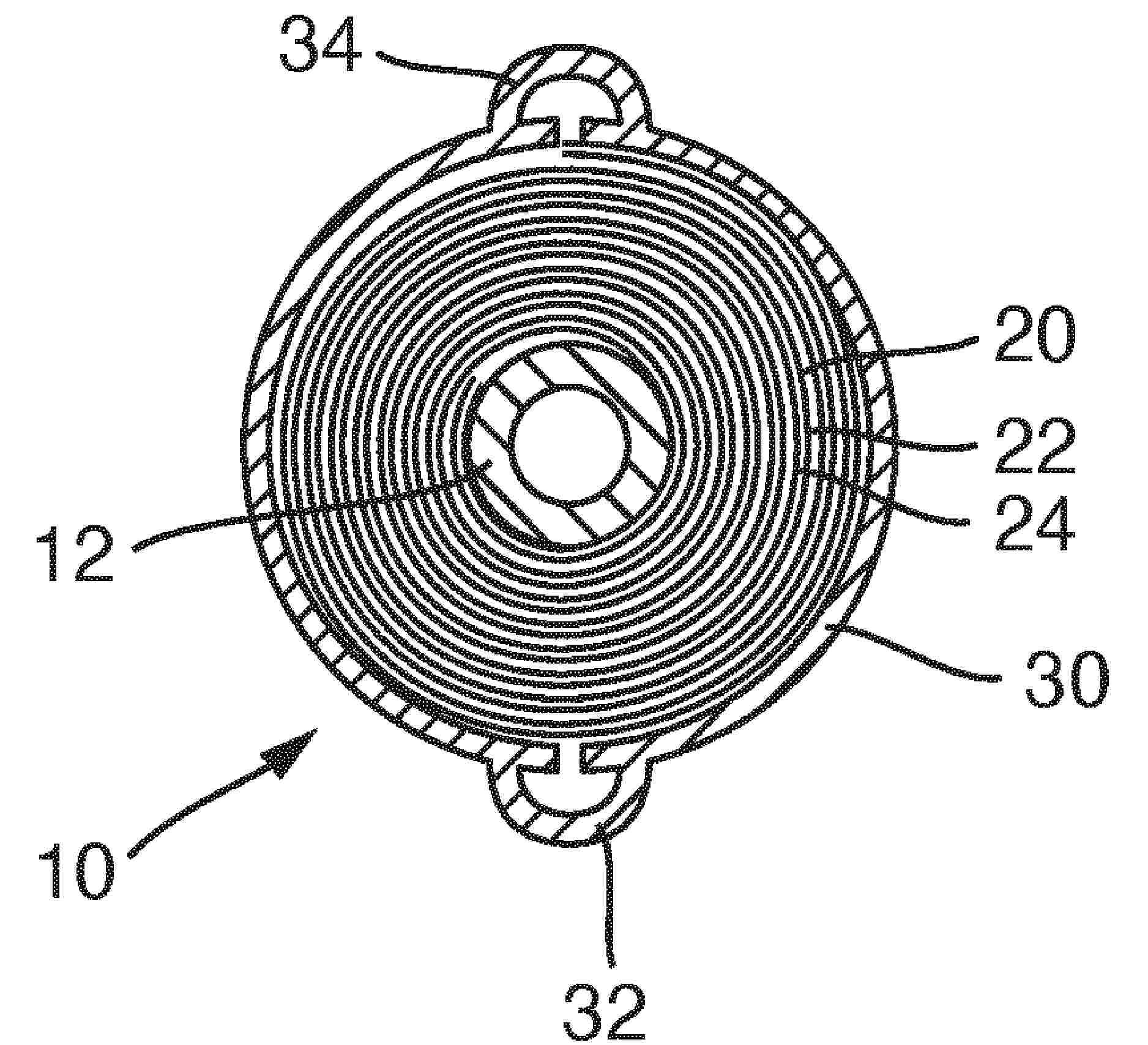
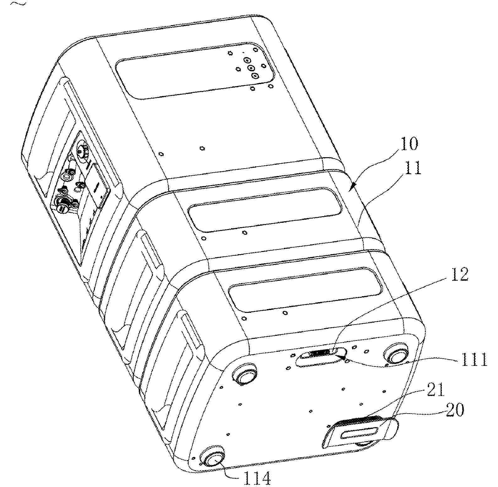
BATTERY AND BATTERY PACK

NºPublicación:  WO2025246198A1 04/12/2025
Solicitante: 
SUNWODA MOBILITY ENERGY TECH CO LTD [CN]
\u6B23\u65FA\u8FBE\u52A8\u529B\u79D1\u6280\u80A1\u4EFD\u6709\u9650\u516C\u53F8
WO_2025246198_PA

Resumen de: WO2025246198A1

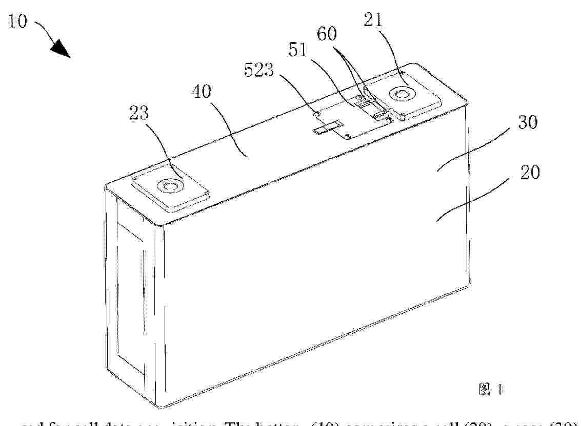
A battery (10), used for cell data acquisition. The battery (10) comprises a cell (20), a case (30), a positive terminal (21), a negative terminal (23), a top cover (40), a wireless BMS module (51), and an electrical connector; the cell (20) is arranged inside the case (30); the positive terminal (21) and the negative terminal (23) are both electrically connected to the cell (20); the top cover (40) is connected to the case (30); the positive terminal (21) and the negative terminal (23) are connected to the top cover (40); part of the positive terminal (21) and part of the negative terminal (23) are located outside the case (30); the potential of the top cover (40) is the same as that of the negative terminal (23); a negative electrode area of the wireless BMS module (51) is capable of being connected to the top cover (40) to implement signal connectivity; the electrical connector is connected to the positive terminal (21). Cell data acquisition can be implemented, the integration of the battery can be improved, the stability of cell data acquisition can be improved, and then the working efficiency of cell data acquisition can be improved.

SETTER PLATE FOR PREPARING CERAMIC SOLID-STATE ELECTROLYTE FILM

NºPublicación:  WO2025246003A1 04/12/2025
Solicitante: 
SHENZHEN INX TECH CO LTD [CN]
\u6DF1\u5733\u6B23\u754C\u80FD\u6E90\u79D1\u6280\u6709\u9650\u516C\u53F8
WO_2025246003_A1

Resumen de: WO2025246003A1

Disclosed is a setter plate for preparing a ceramic solid-state electrolyte film. The setter plate comprises a lithium-containing ceramic layer and a high-temperature-resistant ceramic layer. The lithium-containing ceramic layer and the high-temperature-resistant ceramic layer are tightly bonded together through sintering, and the setter plate has an essentially flat surface. Also disclosed are a method for preparing the setter plate and a method for preparing a planarized solid-state electrolyte film by using the setter plate. The present invention can improve the flatness and ionic conductivity of a solid-state electrolyte film when preparing the solid-state electrolyte film by using the setter plate, thereby obtaining a solid-state electrolyte film having a flat surface, dense structure, and high ionic conductivity.

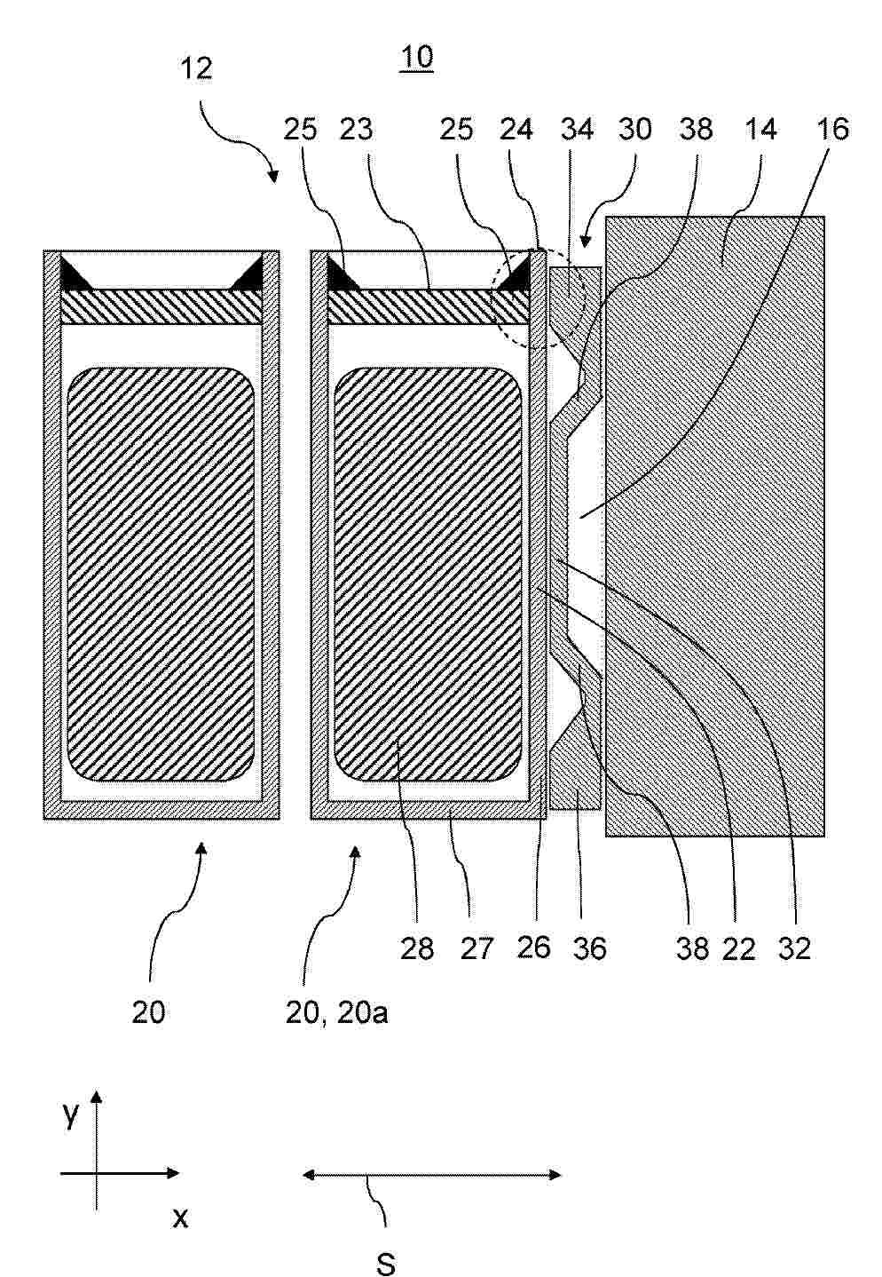
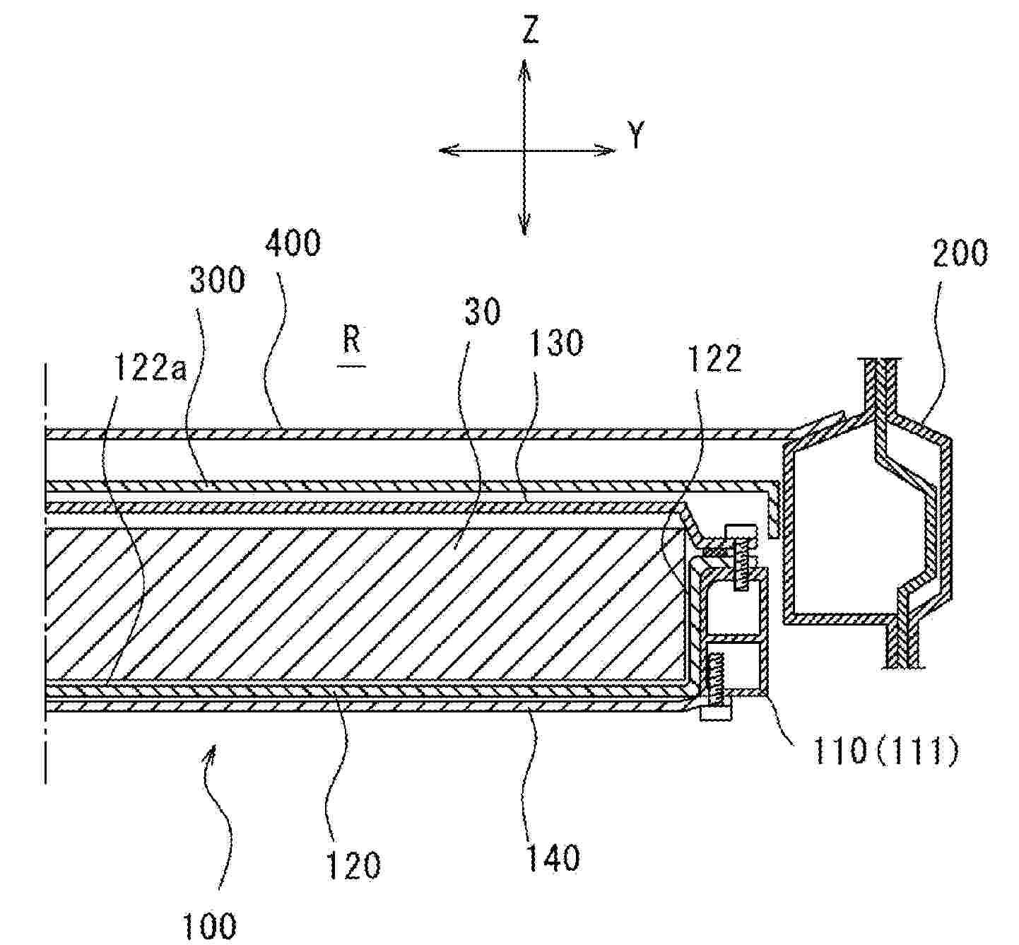
FEED-THROUGH MEMBER AND BATTERY PACK

NºPublicación:  WO2025246007A1 04/12/2025
Solicitante: 
EVE ENERGY STORAGE CO LTD [CN]
\u6B66\u6C49\u4EBF\u7EAC\u50A8\u80FD\u6709\u9650\u516C\u53F8
WO_2025246007_PA

Resumen de: WO2025246007A1

A feed-through member and a battery pack. The feed-through member is axially provided with a wiring through-hole for a wiring harness to pass through, and the wiring through-hole is sealed and filled with an adhesive. The feed-through member comprises a blocking part and a plug-in part. The blocking part is configured to be inserted into a feed-through hole of a casing of the battery pack. The blocking part protrudes on a first end of the plug-in part in the axial direction, and an end surface of the first end is provided with an adhesive-applied region arranged circumferentially around the blocking part. The adhesive-applied region is coated with an adhesive, so that the end surface of the first end is sealed and adhered to a wall plate of the casing having the feed-through hole. The battery pack comprises the feed-through member, the blocking part of the feed-through member being inserted into the feed-through hole of the casing of the battery pack, and the first end of the plug-in part being sealed and adhered to the wall plate of the casing having the feed-through hole by means of the adhesive in the adhesive-applied region, thereby achieving sealing installation of the feed-through member in the casing. Furthermore, the wiring through-hole is sealed and filled with an adhesive, thereby achieving sealed installation of the wiring harness in the feed-through member and improving the sealing performance and protection level of the battery pack.

SILICON-BASED MATERIAL, NEGATIVE ELECTRODE SHEET, SECONDARY BATTERY, AND DEVICE

NºPublicación:  WO2025246235A1 04/12/2025
Solicitante: 
NIO TECH ANHUI CO LTD [CN]
\u851A\u6765\u6C7D\u8F66\u79D1\u6280\uFF08\u5B89\u5FBD\uFF09\u6709\u9650\u516C\u53F8
WO_2025246235_A1

Resumen de: WO2025246235A1

A silicon-based material, comprising: SiOx, wherein x is 0.5 to 1.6; and a carbon layer covering the surface of SiOx. The silicon-based material satisfies the following conditions: 0.2≤S1≤1.5, and/or 0.02≤ISi/ID≤0.5, wherein S1 refers to a standard deviation value of an ID/IG value of the carbon layer, the ID/IG value refers to the area ratio of a peak D to a peak G, and ISi/ID refers to the area ratio of a peak Si to the peak D.

ELECTROCHEMICAL APPARATUS AND ELECTRIC DEVICE

NºPublicación:  WO2025245711A1 04/12/2025
Solicitante: 
NINGDE AMPEREX TECH LIMITED [CN]
\u5B81\u5FB7\u65B0\u80FD\u6E90\u79D1\u6280\u6709\u9650\u516C\u53F8
WO_2025245711_PA

Resumen de: WO2025245711A1

An electrochemical apparatus and an electric device. The electrochemical apparatus comprises a housing, an electrode assembly, a first adhesive member, and a second adhesive member, wherein a first side wall of the housing comprises an internal first face and an external second face arranged opposite each other in a first direction; the electrode assembly is arranged in the housing, and the electrode assembly comprises a first side face; and the first adhesive member comprises a first side part and a second side part opposite each other, the first side part comprises a first adhesive area adhered to the first face, and the second side part comprises a second adhesive area, a first non-adhesive area and a third adhesive area arranged in sequence in a second direction, the second adhesive area and the third adhesive area being adhered to the first side face. In the first direction, the projection of the first non-adhesive area overlaps with the projection of the first adhesive area, and the second face is adhered to an external structure by means of the second adhesive member, thereby facilitating a suppression of the impact on the corner positions of a housing, and also facilitating a reduction in the risk of damage to electrode sheets of an electrode assembly.

METHOD FOR MANUFACTURING LGPS-TYPE SOLID ELECTROLYTE

NºPublicación:  AU2024302032A1 04/12/2025
Solicitante: 
MITSUBISHI GAS CHEMICAL COMPANY INC
NATIONAL UNIV CORPORATION TOYOHASHI UNIV OF TECHNOLOGY
MITSUBISHI GAS CHEMICAL COMPANY, INC,
NATIONAL UNIVERSITY CORPORATION TOYOHASHI UNIVERSITY OF TECHNOLOGY
AU_2024302032_PA

Resumen de: TW202504142A

An embodiment provides a method for manufacturing a LGPS-type solid electrolyte, the method comprising: bringing a first solution, in which a first compound comprising counterions that are ions or ammonium ions of monovalent or a divalent metal atoms M1 that have a larger ionic radius than Li atoms is dissolved in a solvent, into contact with a cation exchange resin that comprises Li ions, to exchange the M1 ions or the ammonium ions contained in the first compound with Li ions, whereby a second solution in which a Li-containing compound is dissolved in the solvent is obtained; removing the solvent from the second solution to obtain a Li-containing crystal; mixing the Li-containing crystal with a Li3 PS4 crystal to obtain a precursor; and heat-treating the precursor, wherein the first compound comprises the M1 ions or the ammonium ions and an anion containing an S element and a Sn element.

PRODUCTION OF LITHIUM CHEMICALS AND METALLIC LITHIUM

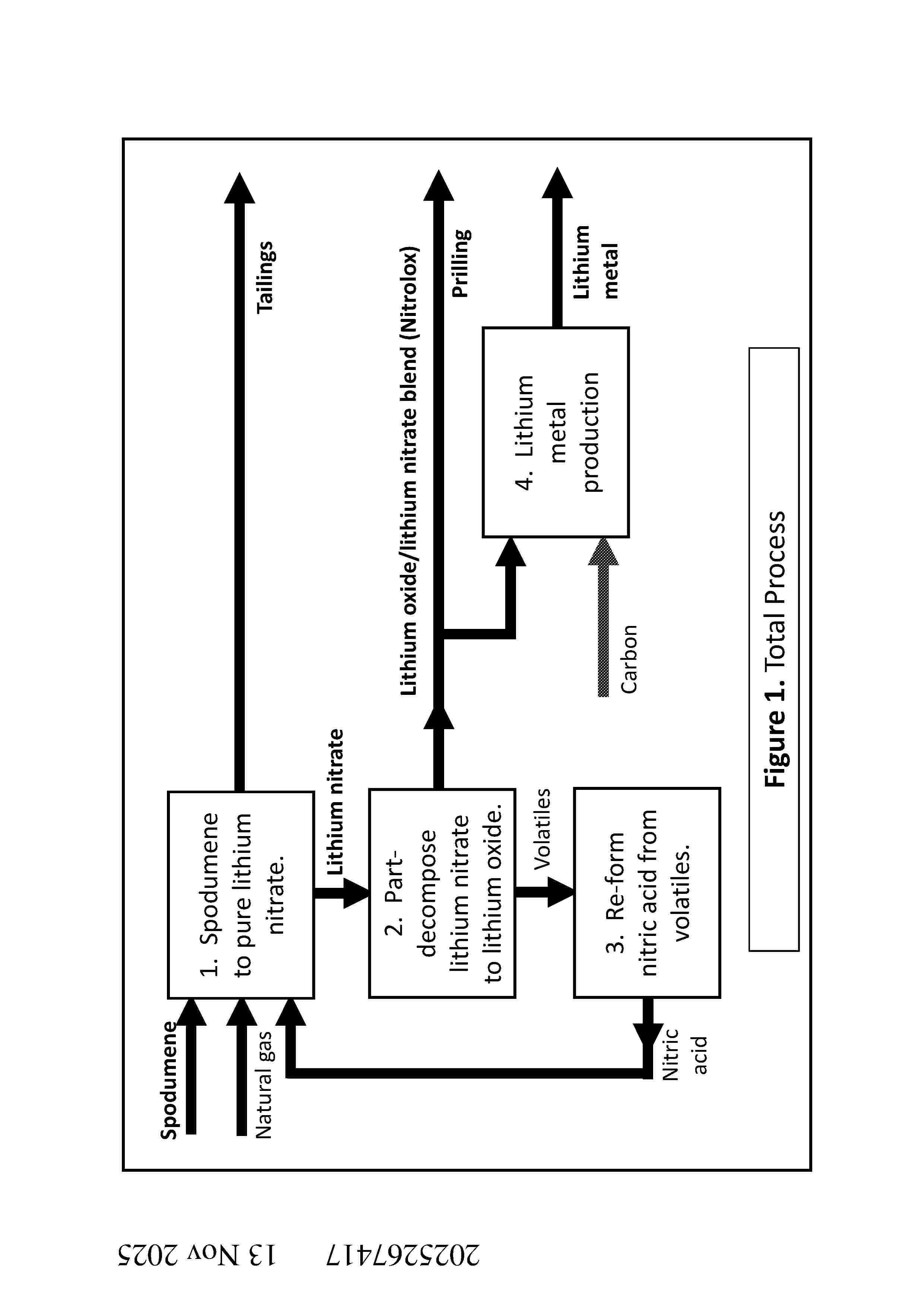
NºPublicación:  AU2025267417A1 04/12/2025
Solicitante: 
ICSIP PTY LTD
ICSIP Pty Ltd
AU_2025267417_A1

Resumen de: AU2025267417A1

22183417_1 (GHMatters) P106833.AU.4 A process and system are disclosed for producing lithium oxide from lithium nitrate. In the process and system, the lithium nitrate is thermally decomposed in a manner such that a fraction of the lithium nitrate forms lithium oxide, and such that a remaining fraction of 5 the lithium nitrate does not decompose to lithium oxide. The thermal decomposition may be terminated after a determined time period to ensure that there is a remaining fraction of lithium nitrate and to thereby produce a lithium oxide in lithium nitrate product. The lithium oxide in lithium nitrate product may have one or more transition-metal oxides, hydroxides, carbonates or nitrates added thereto to form a battery electrode. The lithium 10 oxide in lithium nitrate product may alternatively be subjected to carbothermal reduction to produce lithium metal. ov

CARD READING DEVICE AND TABLETOP GAME SYSTEM

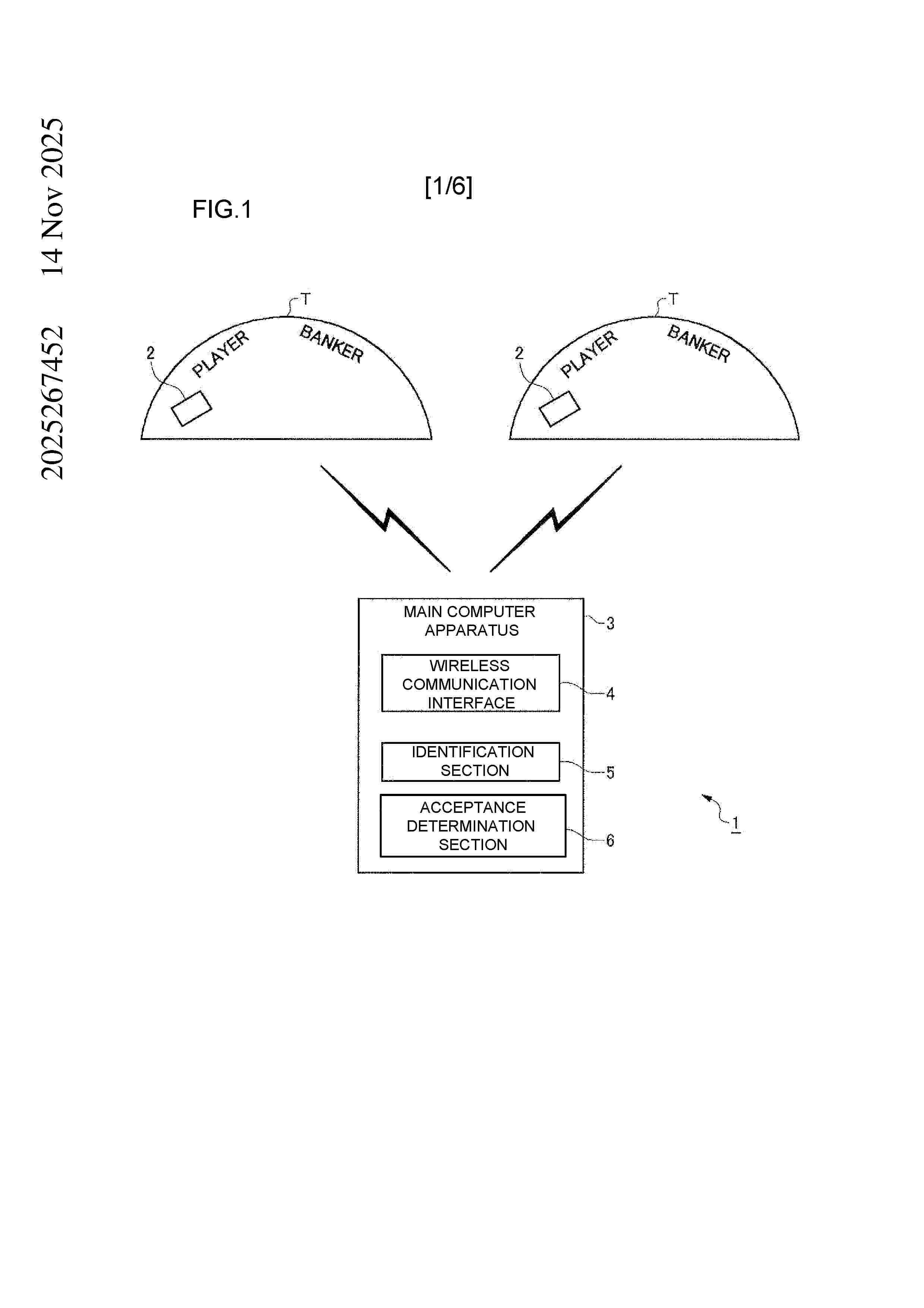
NºPublicación:  AU2025267452A1 04/12/2025
Solicitante: 
ANGEL GROUP CO LTD
Angel Group Co., Ltd
AU_2025267452_A1

Resumen de: AU2025267452A1

Abstract A tabletop game system comprises a card reading device (2), a wireless output part, and a main computer apparatus (3). The card reading device (2) comprises a card shoe part, a card reading part, a control part, a display part, and a main battery. The wireless output part wirelessly transmits the card information successively read by the card reading part and/or information on the game outcome determined by the control part to the main computer apparatus (3). The main computer apparatus (3) comprises an acceptance section (6) that selectively accepts the card information and/or the game outcome information transmitted from the card reading device (2). Abstract ov b s t r a c t o v

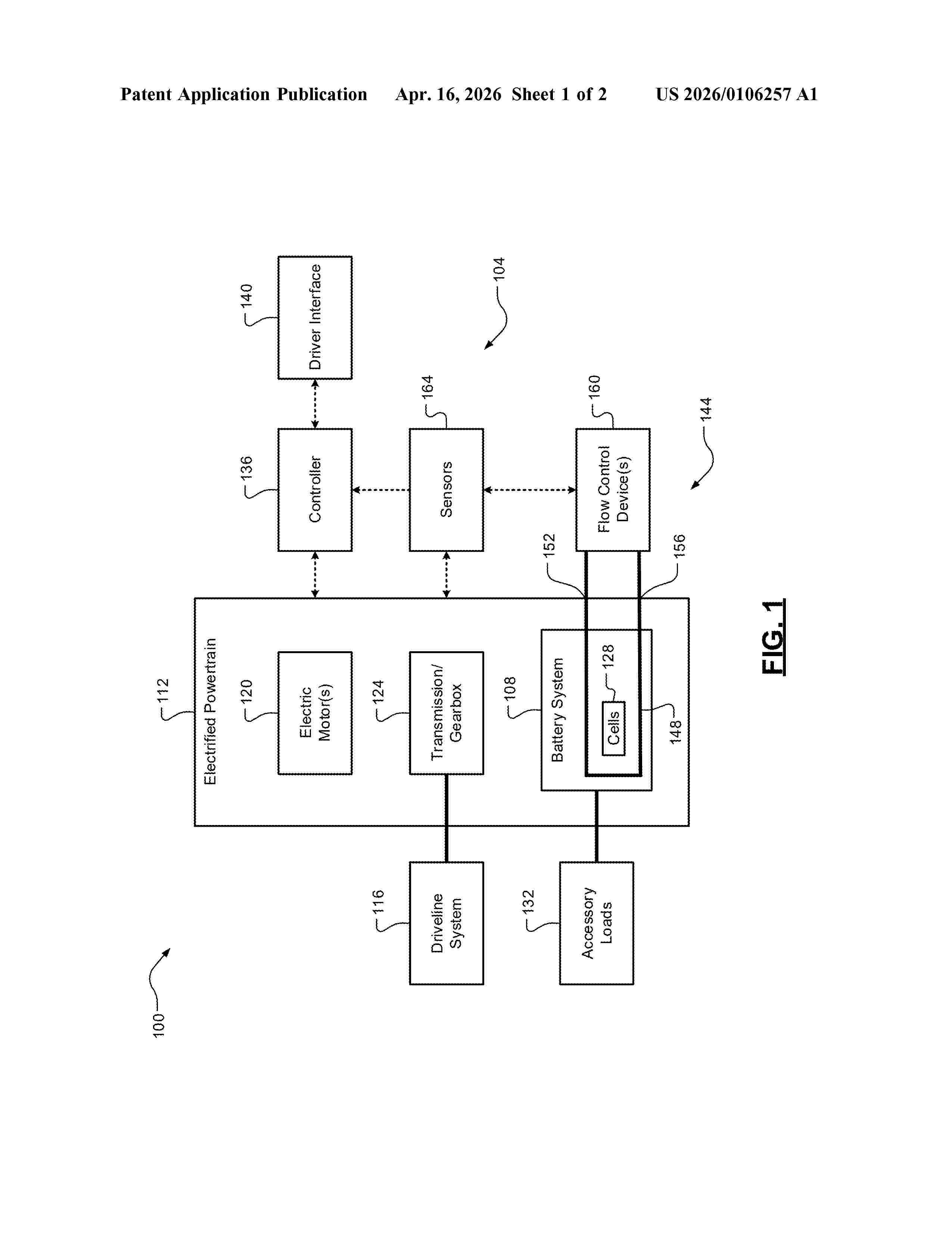
WIRING STRUCTURE, BATTERY PACK TRAY, BATTERY PACK AND VEHICLE

NºPublicación:  WO2025246982A1 04/12/2025
Solicitante: 
BYD COMPANY LTD [CN]
\u6BD4\u4E9A\u8FEA\u80A1\u4EFD\u6709\u9650\u516C\u53F8
WO_2025246982_PA

Resumen de: WO2025246982A1

The present application discloses a wiring structure, a battery pack tray, a battery pack and a vehicle. The wiring structure comprises: a longitudinal beam, wherein the longitudinal beam is arranged on a battery pack tray in the front-back direction of a vehicle, a wiring cavity is formed in the longitudinal beam, the wiring cavity is arranged in the length direction of the longitudinal beam and used for laying wires, and two ends of the longitudinal beam in the length direction are used for allowing the wires to enter and exit the wiring cavity. In the present application, a profile having two communicated ends is used as the longitudinal beam, and the wiring cavity is arranged in the longitudinal beam and is used for laying the wires, so that the structural strength is higher, the extrusion resistance and the impact resistance are better, and the safety of a battery pack structure is significantly improved.

HEATING SYSTEM FOR BATTERY PACK AND ELECTRIC APPARATUS

NºPublicación:  WO2025247001A1 04/12/2025
Solicitante: 
BYD COMPANY LTD [CN]
\u6BD4\u4E9A\u8FEA\u80A1\u4EFD\u6709\u9650\u516C\u53F8
WO_2025247001_PA

Resumen de: WO2025247001A1

A heating system for a battery pack and an electric apparatus. The heating system for the battery pack comprises a battery pack, an electric device, and a wire. The battery pack comprises a first battery cell group and a second battery cell group which are connected in series, the wire has a first end and a second end which are opposite, the first end of the wire is connected to a series-connected point between the first battery cell group and the second battery cell group, and the second end of the wire is connected to a neutral point of the electric device.

COMMUNICATION APPARATUS, COMMUNICATION SYSTEM, BATTERY PACK, POWER SYSTEM AND VEHICLE

NºPublicación:  WO2025246966A1 04/12/2025
Solicitante: 
BYD COMPANY LTD [CN]
\u6BD4\u4E9A\u8FEA\u80A1\u4EFD\u6709\u9650\u516C\u53F8
WO_2025246966_PA

Resumen de: WO2025246966A1

A vehicle, comprising a power system, which comprises a battery pack, wherein the battery pack comprises a communication apparatus. A communication system, comprising a communication apparatus. The communication apparatus comprises a sampling device, a first power line carrier communication device, a first power line and a second power line, wherein the first power line is used for connecting to a positive electrode of a cell assembly, and the second power line is used for connecting to a negative electrode of the cell assembly; two ends of the sampling device are used for collecting sampling information corresponding to the cell assembly; and two ends of the first power line carrier communication device are respectively connected to the first power line and the second power line, and the first power line carrier communication device is connected to the sampling device, and is used for transmitting the sampling information corresponding to the cell assembly.

BATTERY PACK AND ELECTRIC DEVICE

NºPublicación:  WO2025246776A1 04/12/2025
Solicitante: 
SUNWODA MOBILITY ENERGY TECH CO LTD [CN]
\u6B23\u65FA\u8FBE\u52A8\u529B\u79D1\u6280\u80A1\u4EFD\u6709\u9650\u516C\u53F8
WO_2025246776_PA

Resumen de: WO2025246776A1

Disclosed are a battery pack and an electric device. In the battery pack, a first flow guide cavity is provided inside a side wall; a third explosion-proof valve is provided on a case; a first tray is provided inside the case, and a second flow guide cavity is provided inside the first tray; a first battery module is arranged on the first tray, and a first explosion-proof valve is provided at the end of first battery cells facing the first tray; a second tray is provided on the side of the first battery module facing away from the first tray, and a third flow guide cavity is provided inside the second tray; and a second battery module is arranged on the second tray, and a second explosion-proof valve is provided at the end of second battery cells facing the second tray.

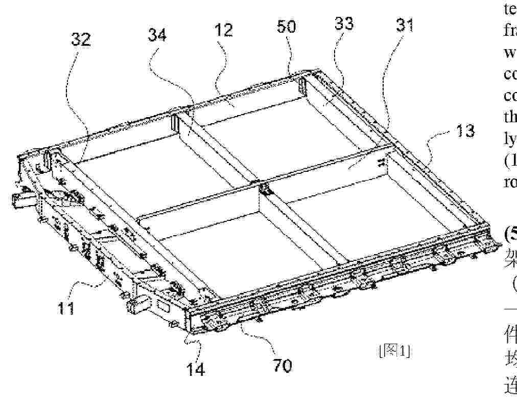
BATTERY PACK FRAME AND BATTERY PACK

NºPublicación:  WO2025246043A1 04/12/2025
Solicitante: 
EVE ENERGY CO LTD [CN]
\u60E0\u5DDE\u4EBF\u7EAC\u9502\u80FD\u80A1\u4EFD\u6709\u9650\u516C\u53F8
WO_2025246043_PA

Resumen de: WO2025246043A1

A battery pack frame and a battery pack. The battery pack frame comprises a front frame (11), a first connecting frame (12), a rear frame (13) and a second connecting frame (14), which are sequentially connected end to end, wherein the first connecting frame (12) and the second connecting frame (14) are configured to be fixedly connected to an external assembly; both the front frame (11) and the rear frame (13) are of an integrally stamping-formed structure; and both the first connecting frame (12) and the second connecting frame (14) are of an integrally rolling-formed structure.

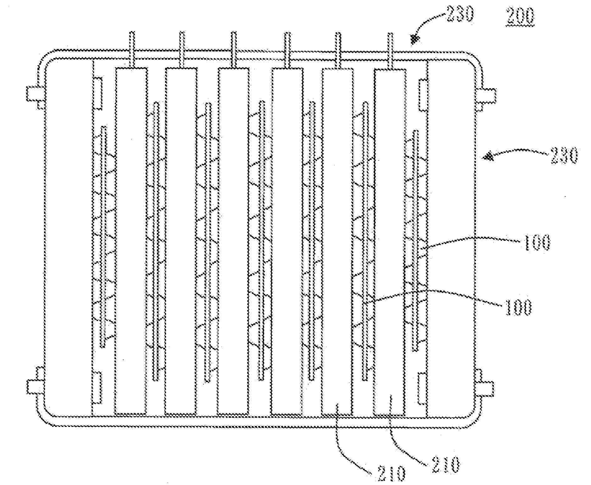
LOOP-TYPE THERMAL CONTROL AND MANAGEMENT SYSTEM FOR ENERGY STORAGE SYSTEM

NºPublicación:  WO2025246160A1 04/12/2025
Solicitante: 
LANZHOU JIAOTONG UNIV [CN]
\u5170\u5DDE\u4EA4\u901A\u5927\u5B66
WO_2025246160_PA

Resumen de: WO2025246160A1

The present invention relates to the technical field of energy storage systems. Disclosed is a loop-type thermal control and management system for an energy storage system. The loop-type thermal control and management system comprises a plurality of energy storage battery packs, a condensation tank, a gas-phase pipeline and a liquid-phase pipeline, wherein a condenser is provided in the condensation tank; a gas extraction apparatus is connected to the condensation tank; the liquid-phase pipeline is in communication with the condensation tank and the plurality of energy storage battery packs; the gas-phase pipeline is in communication with the condensation tank and the plurality of energy storage battery packs; the plurality of energy storage battery packs, the liquid-phase pipeline, the gas-phase pipeline and the condensation tank are in communication with one another to form a closed loop; and a liquid-phase circulation working medium in the condensation tank passes through the liquid-phase pipeline and enters the plurality of energy storage battery packs, where battery cells serve as evaporators, a gas-phase circulation working medium in the energy storage battery packs enters the condensation tank through the gas-phase pipeline, and the gas-phase circulation working medium in the condensation tank is condensed and liquefied by means of the condenser to form the liquid-phase circulation working medium; therefore, the temperature consistency management and control and the he

INTEGRATED DETECTION SPRINKLER HEAD

NºPublicación:  WO2025245993A1 04/12/2025
Solicitante: 
GUOANDA CO LTD [CN]
\u56FD\u5B89\u8FBE\u80A1\u4EFD\u6709\u9650\u516C\u53F8
WO_2025245993_PA

Resumen de: WO2025245993A1

Disclosed in the present invention is an integrated detection sprinkler head. A sprinkler head body and a detector are integrally arranged, and are sealingly connected to a battery case in a threaded manner and extend into the battery case. By means of the solution, in the present invention, a detection sensor and a circuit board are integrated on the sprinkler head, and there is no need to mount the sprinkler head and a detection device separately, nor to change an original battery case structure, such that the cost is lower; and the integrated sprinkler head is inserted via an originally reserved sprinkler-head mounting hole of the battery case so as to mount the integrated sprinkler head, or is removed via the originally reserved sprinkler-head mounting hole of the battery case so as to repair the integrated sprinkler head, without the need to open the battery case, thus making mounting, inspection and repair, and maintenance convenient.

CERAMIC SOLID-STATE ELECTROLYTE FILM FLATTENING METHOD

NºPublicación:  WO2025246002A1 04/12/2025
Solicitante: 
SHENZHEN INX TECH CO LTD [CN]
\u6DF1\u5733\u6B23\u754C\u80FD\u6E90\u79D1\u6280\u6709\u9650\u516C\u53F8
WO_2025246002_PA

Resumen de: WO2025246002A1

Disclosed in the present invention are a ceramic solid-state electrolyte film and a preparation method therefor. The preparation method comprises the following steps: (1) mixing a solid-state electrolyte blank with a fiberizable polymer, fiberizing the polymer, and uniformly mixing the fiberized polymer with the solid-state electrolyte blank; (2) carrying out hot pressing treatment on the mixture obtained in step (1) to a preset thickness to obtain a solid-state electrolyte green film; and (3) carrying out high-temperature sintering on the solid-state electrolyte green film obtained in step (2) to obtain a solid-state electrolyte film. The preparation method for the solid-state electrolyte thin film of the present invention involves simplified preparation process, and the prepared solid-state electrolyte film has high content of ceramic, compact structure and high ionic conductivity.

A RECHARGEABLE BATTERY PACK

NºPublicación:  AU2024303816A1 04/12/2025
Solicitante: 
FORTESCUE ZERO LTD
FORTESCUE ZERO LIMITED
AU_2024303816_PA

Resumen de: AU2024303816A1

A rechargeable battery pack comprising: a battery housing, at least two battery modules, each comprising a plurality of battery cells, the battery modules being located inside the housing, at least one closed loop channel within the housing that extends along a vertical direction from a region at or adjacent an upper end of the battery pack to a region at or adjacent to a lower end of the battery pack, the closed loop channel being partially filled with a phase change material which at a first temperature has a liquid form and lies towards the bottom of the channel and at a second higher temperature has a gaseous form and rises towards the top of the channel, a heat sink located above the battery modules and in contact with an upper portion of the closed loop channel.

Battery Cell Container And Interface Assembly For Same

NºPublicación:  AU2025203416A1 04/12/2025
Solicitante: 
WILCOX IND CORP
Wilcox Industries Corp
AU_2025203416_A1

Resumen de: AU2025203416A1

A battery pack receiver assembly for detachably securing a battery pack to a helmet mounted device comprises a frame comprising a first battery pack engaging feature for engaging the battery pack. An interface plate comprises a second battery pack engaging feature. The frame is slidably coupled to the interface plate and movable between battery pack retaining and releasing positions. A biasing member is configured to bias the frame toward the battery pack retaining position. The frame is manually movable to the battery pack releasing position by a user grasping the battery pack. The second battery pack engaging feature is configured to positively retain the battery pack when the frame is in the battery pack retaining position and disengage with the battery pack when the frame is in the battery pack releasing position. Preferably, the apparatus is configured to permit one-handed battery pack replacement without removing the device from the helmet. A battery pack receiver assembly for detachably securing a battery pack to a helmet mounted device comprises a frame comprising a first battery pack engaging feature for engaging the battery pack. An interface plate comprises a second battery pack engaging feature. The frame is slidably coupled to the interface plate and movable between battery pack retaining and releasing positions. A biasing member is configured to bias the frame toward the battery pack retaining position. The frame is manually movable to the battery pack releasing

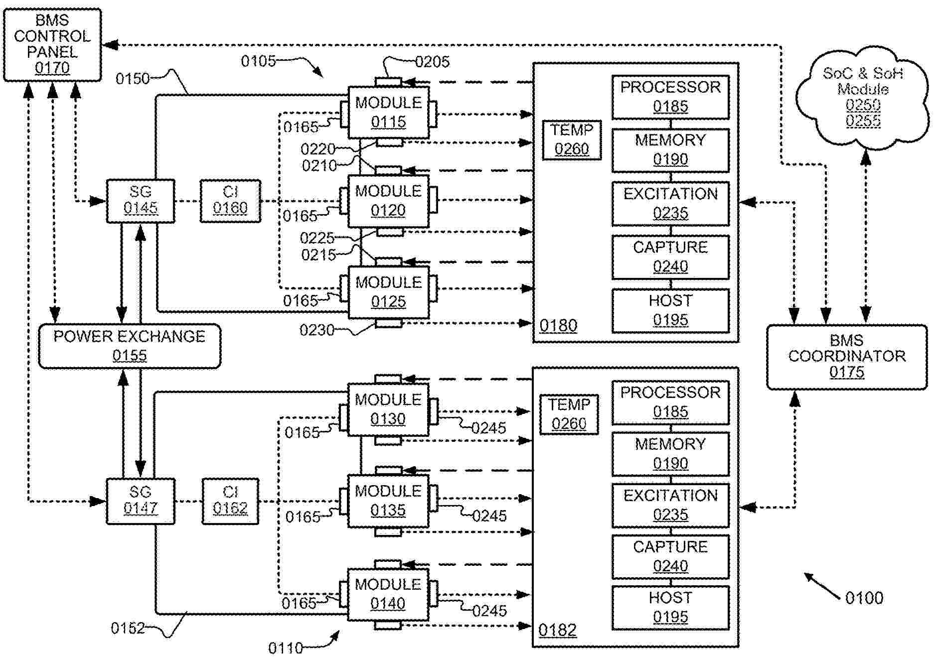
BATTERY MANAGEMENT SYSTEM AND ELECTRONIC DEVICE

NºPublicación:  AU2024287139A1 04/12/2025
Solicitante: 
EVE ENERGY CO LTD
EVE ENERGY CO., LTD
AU_2024287139_A1

Resumen de: AU2024287139A1

The present disclosure discloses a battery management system and an electronic device. The battery management system includes a master control module, a plurality of selection modules, and N slave control modules. The N slave control modules are coupled in sequence. The slave control module includes an input unit, an output unit and a communication unit. The input unit of the first slave control module is coupled to the master control module, the input unit of the mth slave control module is coupled to the output unit of the (m-1)th slave control module and the master control module through one of the selection modules. The communication units of the N slave control modules are respectively coupled to the master control module. The present disclosure discloses a battery management system and an electronic device. The battery management system includes a master control module, a plurality of selection modules, and N slave control modules. The N slave control modules are coupled in sequence. The slave control module includes an input unit, an output unit and a communication unit. The input unit of the first slave control module is coupled to the master control module, the input unit of the mth slave control module is coupled to the output unit of the (m-1)th slave control module and the master control module through one of the selection modules. The communication units of the N slave control modules are respectively coupled to the master control module. ec e c Electronic device

VACUUM CLEANER

NºPublicación:  AU2024282384A1 04/12/2025
Solicitante: 
LG ELECTRONICS INC
LG ELECTRONICS INC
AU_2024282384_PA

Resumen de: AU2024282384A1

The present invention relates to a vacuum cleaner comprising a battery, wherein the battery includes: protruding parts protruding from a battery body to one side thereof; and buttons each disposed on the protruding part so as to selectively fix the battery body to a battery accommodation part, and thus the battery can be formed such that operation of the buttons for separating a handle is simple and the buttons are compact without protruding to the outside.

BATTERY MODULE HAVING PRESSURE RELIEF AND EXPLOSION-PROOF FUNCTIONS, AND BATTERY BOX

NºPublicación:  WO2025246779A1 04/12/2025
Solicitante: 
ZHUHAI JIADE ELECTRIC ENERGY TECH CO LTD [CN]
\u73E0\u6D77\u5E02\u5609\u5FB7\u7535\u80FD\u79D1\u6280\u6709\u9650\u516C\u53F8
WO_2025246779_PA

Resumen de: WO2025246779A1

Disclosed are a battery module, which features compact installation and low production cost and also has pressure relief and explosion-proof functions, and a battery box. The battery module comprises a battery fixing module, and two ends of the battery fixing module are each sequentially provided with a temperature-resistant pressure relief module, a one-way valve heat dissipation plate, and an insulation wall. Multiple battery cells are arranged in an array within the battery fixing module. Each temperature-resistant pressure relief module is provided with multiple pressure relief chamber assemblies that are arranged in an array and located at end portions of the battery cells, and an end surface of the temperature-resistant pressure relief module is further provided with multiple crisscrossing pressure relief guide grooves. Each pressure relief chamber assembly comprises a pressure relief hole positioned at the end portion of a battery cell and valve-body stop blocks positioned at upper and lower ends of the pressure relief hole. The one-way valve heat dissipation plate is shape-matched to the temperature-resistant pressure relief module and is attached to end portions of the valve-body stop blocks. The one-way valve heat dissipation plate is provided with multiple one-way valve flaps that are folded along the vertical direction and are arranged in an array, and for each pressure relief hole, a one-way valve flap is adhered at each of the two sides between the two valve-bod

COVER PLATE ASSEMBLY, BATTERY AND ELECTRICAL DEVICE

NºPublicación:  WO2025246711A1 04/12/2025
Solicitante: 
BATTEROTECH CORPORATION LTD [CN]
\u4E0A\u6D77\u5170\u94A7\u65B0\u80FD\u6E90\u79D1\u6280\u6709\u9650\u516C\u53F8
WO_2025246711_PA

Resumen de: WO2025246711A1

The present application relates to the technical field of batteries, and provides a cover plate assembly, a battery, and an electrical device. The cover plate assembly comprises a cover plate and an electrode terminal. A mounting hole is provided in the center of the cover plate, the cover plate comprising a first insulating member. The electrode terminal comprises a terminal piece and a second insulating member, the second insulating member being arranged on a side of the terminal piece. The terminal piece at least partially passes through the mounting hole and is connected to the cover plate. The second insulating member is in surface contact with the first insulating member. The cover plate assembly provided in examples of the present application can reduce the possibility of mutual interference of different parts of a battery cover plate during assembly, and improve the assembly efficiency and assembly reliability of the battery cover plate.

METHOD FOR RECOVERING LITHIUM FROM SPENT LITHIUM IRON PHOSPHATE BATTERY

NºPublicación:  WO2025246954A1 04/12/2025
Solicitante: 
CHENZHOU HUI NENG ENERGY STORAGE MATERIALS ENGINEERING RES CENTER CO LTD [CN]
HUNAN ZHI YUAN NEW MAT CO LTD [CN]
\u90F4\u5DDE\u6C47\u80FD\u50A8\u80FD\u6750\u6599\u5DE5\u7A0B\u7814\u7A76\u4E2D\u5FC3\u6709\u9650\u8D23\u4EFB\u516C\u53F8,
\u6E56\u5357\u77E5\u5143\u65B0\u6750\u6599\u6709\u9650\u516C\u53F8
WO_2025246954_PA

Resumen de: WO2025246954A1

The present invention provides a method for recovering lithium from a spent lithium iron phosphate battery, comprising: subjecting the positive electrode black powder of the spent lithium iron phosphate battery to a roasting reaction in a roasting furnace filled with a protective gas, and simultaneously adjusting, on the basis of the mixture in the roasting furnace, the input flow rate of chlorine gas to control the temperature of the roasting reaction, wherein the temperature of the roasting reaction is 50-300 °C; subjecting the product of the roasting reaction to water leaching to obtain a solution of the product; subjecting the solution of the product to suction filtration to obtain a filtrate; and concentrating the filtrate by means of evaporation and then drying the residue to obtain a lithium chloride crystal. In the present invention, one-step roasting is carried out at a low temperature, and the temperature of the roasting reaction is controlled by adjusting the input flow rate of chlorine gas, so that the lithium element in the spent lithium iron phosphate battery can be converted into lithium chloride, which is soluble in water, and a lithium chloride crystal can be further prepared. The method has a simple process, high reaction efficiency, low energy consumption, and a lithium element recovery rate as high as 95%; the method has great industrial application value.

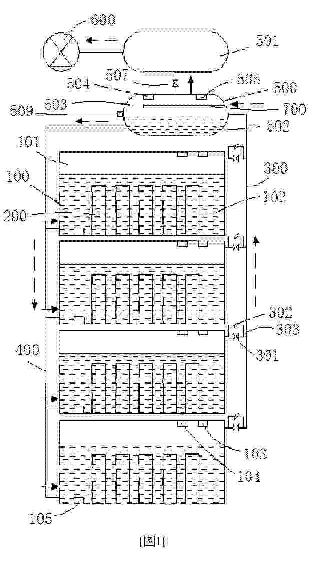
MATERIAL PREPARATION APPARATUS AND BATTERY PRODUCTION DEVICE

Nº publicación: WO2025245988A1 04/12/2025

Solicitante:

CONTEMPORARY AMPEREX TECH CO LIMITED [CN]
\u5B81\u5FB7\u65F6\u4EE3\u65B0\u80FD\u6E90\u79D1\u6280\u80A1\u4EFD\u6709\u9650\u516C\u53F8

WO_2025245988_PA

Resumen de: WO2025245988A1

A material preparation apparatus and a battery production device, the material preparation apparatus (100) comprising: a material storage tank (10), which is used for storing a target solvent; a metering assembly (20), which is used for receiving the target solvent and measuring the weight of the received target solvent; a connection pipe (30), which communicates between the material storage tank and the metering assembly; and an air inflation assembly (40), which communicates with the material storage tank and is used for introducing an inert gas into the material storage tank. The air inflation assembly comprises a first air inlet pipe (41), a first air outlet pipe (42), and first control valves (43). The first air inlet pipe and the first air outlet pipe are in communication with the material storage tank. The first control valves are arranged on the first air inlet pipe and the first air outlet pipe, respectively, and are used for controlling the first air inlet pipe or the first air outlet pipe to be opened or closed. The introduced inert gas can form sealing for the target solvent in the material storage tank, and can also form pneumatic transmission for the target solvent in the material storage tank, thus lowering the probability of solvent residue or solvent leakage occurring in the material storage tank or the connection pipe.

traducir