Ministerio de Industria, Turismo y Comercio LogoMinisterior
 

Alerta

Resultados 1111 resultados
LastUpdate Última actualización 27/01/2026 [07:19:00]
pdfxls
Publicaciones de los últimos 15 días/Last 15 days publications (excluidas pubs. CN y JP /CN and JP pubs. excluded)
previousPage Resultados 1100 a 1111 de 1111  

이차 전지

NºPublicación:  KR20260005976A 12/01/2026
Solicitante: 
테라와트테크놀로지가부시키가이샤
KR_20260005976_PA

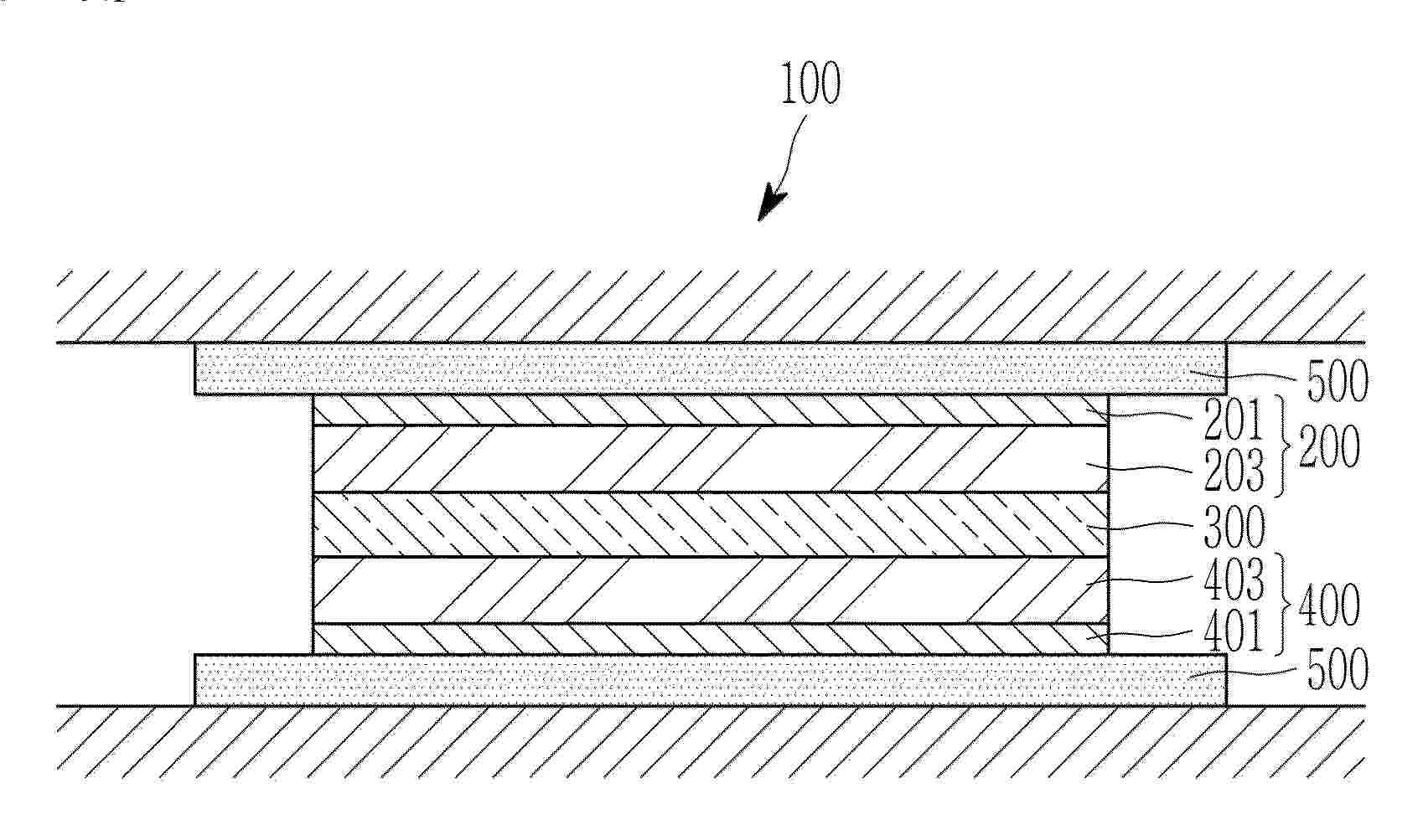
Resumen de: WO2024252474A1

Provided is a technique for improving the usefulness of a secondary battery. This secondary battery comprises: a positive electrode 10; a first separator 30A disposed on one surface side of the positive electrode 10; and a first negative electrode 20A disposed so as to be spaced away from the positive electrode 10 via the first separator 30A in the stacking direction, the first negative electrode 20A comprising a first current collector 22A, the first current collector 22A being configured by sandwiching a first resin layer 220A between a pair of first conductive layers 222A, and each of the pair of first conductive layers 222A having a thickness of 0.3 μm or more and less than 1.9 μm.

Preparation method of thick film electrode for secondary batteries

NºPublicación:  KR20260005618A 12/01/2026
Solicitante: 
한국화학연구원
KR_20260005618_PA

Resumen de: KR20260005618A

본 발명은 리튬 이차전지용 양극의 제조방법에 관한 것으로서, 탄소나노튜브 및 바인더의 일부를 유기용매에 분산시킨 분산액을 제조하는 단계; 상기 분산액에 나머지의 바인더를 혼합하여 혼합액을 얻는 단계; 상기 혼합액에 양극활물질, 활성화탄소 및 흑연을 순서대로 첨가하여 양극 슬러리를 제조하는 단계; 상기 양극 슬러리를 집전체 상에 도포하는 단계; 상기 도포된 슬러리를 열처리하는 단계;를 포함한다. 본 발명은 다른 측면에서 계면활성제로 개질된 탄소나노튜브 및 바인더의 일부를 유기용매에 분산시킨 분산액을 제조하는 단계; 상기 분산액에 나머지의 바인더를 혼합하여 혼합액을 얻는 단계; 상기 혼합액에 양극활물질, 활성화탄소 및 흑연을 순서대로 첨가하여 양극 슬러리를 제조하는 단계; 상기 양극 슬러리를 집전체 상에 도포하는 단계; 상기 도포된 슬러리를 열처리하는 단계;를 포함한다.

Battery monitoring apparatus

NºPublicación:  KR20260005531A 12/01/2026
Solicitante: 
엘지이노텍주식회사
KR_20260005531_PA

Resumen de: WO2026010021A1

A battery management device according to one embodiment of the present invention comprises a main substrate and a wireless communication module arranged on the main substrate, wherein the wireless communication module has an independent module including: a module substrate; a wireless communication unit arranged at the module substrate; and an antenna radiating wireless signals, the antenna being patterned on the module substrate and being arranged inside a battery pack so as to perform wireless communication with another battery management device.

CURRENT COLLECTOR FOR RECHARGEABLE LITHIUM BATTERY ELECTRODE CONTAINING THE SAME AND RECHARGEABLE LITHIUM BATTERY CONTAINING THE SAME

NºPublicación:  KR20260005643A 12/01/2026
Solicitante: 
삼성에스디아이주식회사
KR_20260005643_PA

Resumen de: US20260011750A1

Examples of the disclosure include a current collector for a rechargeable lithium battery, an electrode including the current collector, and a rechargeable lithium battery including the current collector. The current collector for a rechargeable lithium battery includes a first electrically conductive layer, a second electrically conductive layer, and a fiber-reinforcing layer located between the first electrically conductive layer and the second electrically conductive layer, the fiber-reinforcing layer including a reinforcing fiber and a polymer.

배터리 냉각/가열 장치

NºPublicación:  KR20260005981A 12/01/2026
Solicitante: 
가부시키가이샤티비케이
KR_20260005981_PA

Resumen de: WO2024252491A1

This battery cooling/heating device includes: a battery (BT); a heat conduction member (2) that is connected to the battery (BT) at one end and that can transfer heat; a thermoelectric element (3) that is connected to the other end of the heat conduction member (2) and transfers heat to and from the heat conduction member (2); temperature detection units (T) that detect the temperature of at least the battery (BT) and the heat conduction member (2); and a control unit (TCU) that switches the amount of current flowing to at least the thermoelectric element (3) and the polarity of the current in accordance with the temperatures detected by the temperature detection units (T). The thermoelectric element (3) has a heating surface having a high temperature and a cooling surface having a temperature lower than that of the heating surface which are formed by a current flowing through the thermoelectric element (3), and cools or heats the battery (BT).

COMPOSITE POSITIVE ACTIVE MATERIAL PREPARATION METHOD THEREOF POSITIVE ELECTRODE AND ALL-SOLID-STATE RECHARGEABLE BATTERIES

NºPublicación:  KR20260005642A 12/01/2026
Solicitante: 
삼성에스디아이주식회사
KR_20260005642_PA

Resumen de: WO2026010036A1

The present invention relates to a composite positive active material, a preparation method thereof, a positive electrode comprising same, and all-solid-state rechargeable batteries, the composite positive active material comprising: a core particle including a lithium transition metal-based composite oxide; and a first coating layer positioned on the surface of the core particle and including a composite solid electrolyte, wherein the composite solid electrolyte includes a first particle and a second coating layer positioned on the surface of the first particle and including a second particle, the first particle including a first solid electrolyte having an elastic modulus of less than 20 GPa, and the second particle including a second solid electrolyte having an elastic modulus of greater than or equal to 20 GPa.

SECONDARY BATTERY MANUFACTURING EQUIPMENT AND METHOD FOR MANUFACTURING SECONDARY BATTERY USING THE SAME

NºPublicación:  KR20260005558A 12/01/2026
Solicitante: 
주식회사엘지에너지솔루션
KR_20260005558_PA

Resumen de: KR20260005558A

예시적인 실시예들에 따르면, 이차 전지를 제조하는 설비가 제공된다. 상기 설비는, 재료를 고정하도록 구성되고 상기 재료의 제1 표면을 노출시키는 제1 개구를 포함하는 제1 지그 어셈블리; 상기 재료를 고정하도록 구성되고 상기 재료의 제2 표면을 노출시키는 제2 개구를 포함하는 제2 지그 어셈블리; 상기 제2 지그를 포함하는 이미지를 캡쳐하도록 구성된 검사 광학계; 및 상기 이미지에 기초하여 상기 제2 지그의 오염도를 결정하도록 구성된 프로세서를 포함한다.

SECONDARY BATTERY AND METHOD OF MANUFACTURING SAME

NºPublicación:  KR20260005620A 12/01/2026
Solicitante: 
삼성에스디아이주식회사
KR_20260005620_PA

Resumen de: US20260011834A1

A secondary battery includes an electrode assembly, a cylindrical case including a bottom portion, a side wall portion connected to the bottom portion, and an upper opening portion facing the bottom portion, the cylindrical case accommodating the electrode assembly, a cap assembly coupled to the upper opening portion, and a gasket between the cylindrical case and the cap assembly, the gasket including a cylindrical body portion, a first extension portion extending from the cylindrical body portion toward an interior of the cylindrical case, and a second extension portion extending obliquely downward from the first extension portion toward the bottom portion of the cylindrical case, the second extension portion including a lower surface, an inner surface, and an inclined portion extending between and obliquely with respect to the lower surface and the inner surface.

Lithium metal anodes methods of making the same and lithium secondary batteries comprising the same

NºPublicación:  KR20260005625A 12/01/2026
Solicitante: 
현대자동차주식회사기아주식회사
KR_20260005625_PA

Resumen de: US20260011721A1

An energy-dense lithium-metal negative electrode pairs a copper current collector with a lithium-metal layer and a carbon-rich protective coating. The coating suitably contains 70-97 wt % carbon and 3-30 wt % polymer binder, achieves 1.55-2.62 g cm−3 density, 11-17% porosity, and 1-10 μm thickness., with a binder-to-carbon ratio of 0.03-0.30. Up to 5 wt % of Ag, Mg, Zn, Si, Ge, Al, or In suitably can be added for better lithium affinity. In preferred aspects, rather than drying the slurry after roll-to-roll lamination, the method involves drying a carbon slurry that has been coated onto a protective substrate, and then roll-to-roll laminating the resulting dried carbon film onto the lithium layer.

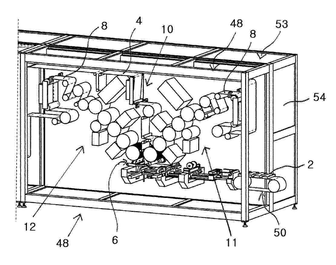
다수의 세그먼트와 하나의 재료 웨브를 포함하는 스택을 형성하기 위한 에너지 셀 제조 산업용 장치 및 방법

NºPublicación:  KR20260005968A 12/01/2026
Solicitante: 
쾨르버테크놀로지스게엠베하
KR_20260005968_PA

Resumen de: CN120936556A

Apparatus (1) for forming a stack (2) for use in the energy cell production industry, the stack comprising a plurality of segments (3) and a strip of material (4), the apparatus (1) being arranged to fold the strip of material (4) in a zigzag and to place the segments (3) on the strip of material (4) such that in the stack (2) the segments (3) are arranged within folds (5) of the strip of material (4), the apparatus (1) comprising the following components: a stacking table (6), forming a stack (2) thereon; a material strip feeding device (10) arranged to convey the material strip (4) to the stacking table (6); and a first and/or second segment feed device (11, 12), which are/is arranged to convey the segments (3) to the stacking table (6), respectively, the first and/or second segment feed device (11, 12) comprising at least one rotating body (21, 22), which is mounted so as to be rotatable about an axis of rotation, and which is arranged to convey the segments (3) by means of a rotational movement.

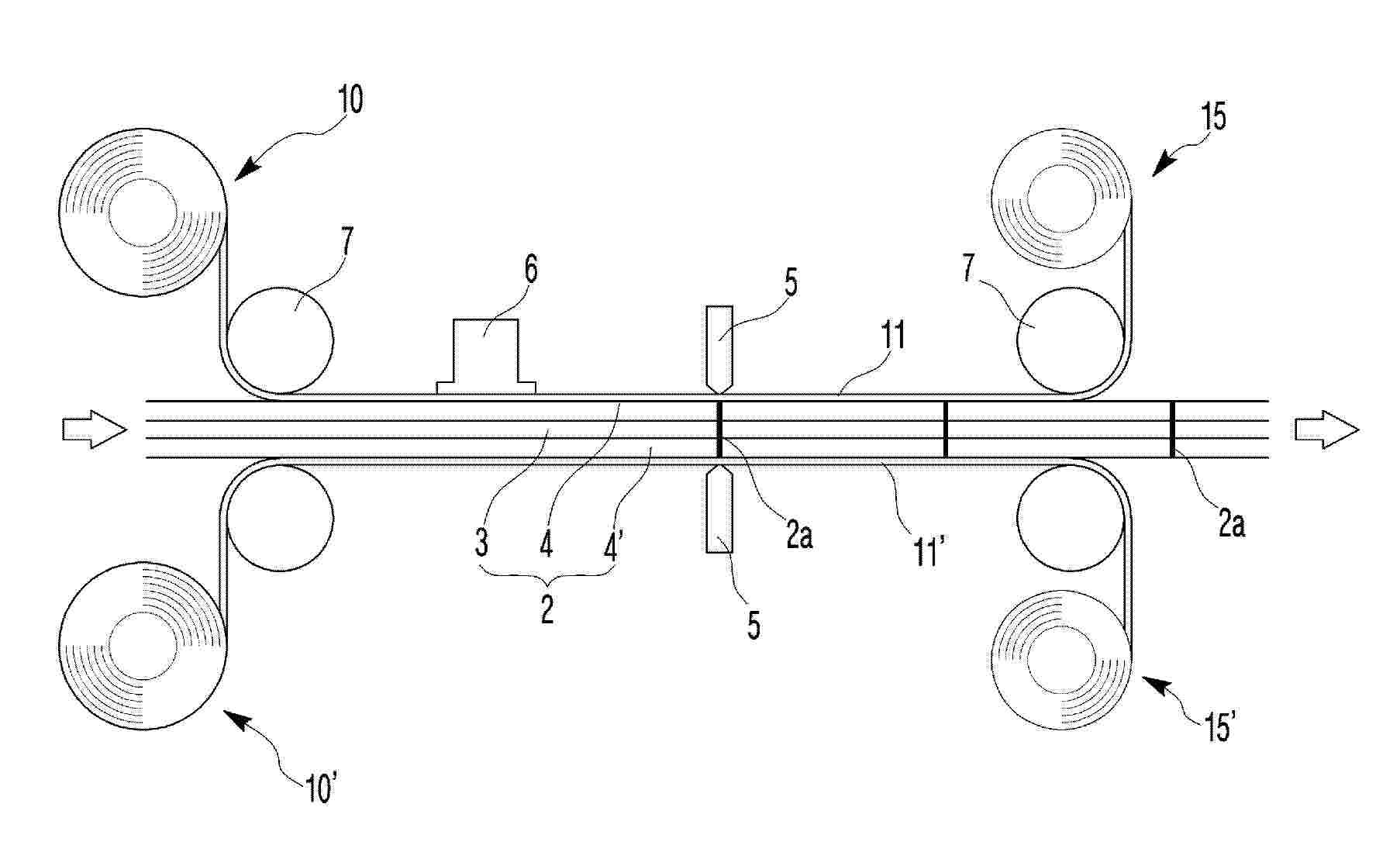
The recycle type release film for the separation film sealing of the pouch type battery and release film manufacturing method

Nº publicación: KR20260005553A 12/01/2026

Solicitante:

주식회사나담전자

KR_20260005553_PA

Resumen de: KR20260005553A

본 발명은 파우치형 배터리의 분리막 실링기에 사용되는 재사용 가능형 이형 필름 및 그 이형 필름 제조방법에 관한 것으로서, 좀더 상세하게는 전극(양극재와 음극재)(3)에 상,하 분리막(4)(4')이 적층된 전극 조립체(2)의 상,하로 상,하 이형 필름(11)(11')을 적층 공급하면서 고온 실링툴(5)에 의해 분리막을 실링한 후 상,하 이형 필름을 리와인딩하여 회수하되, 상기 상,하 이형 필름(11)(11')은 분리막이 맞닿는 내측면에 이형 코팅층(12)을 형성하고, 고온 실링툴(5)이 접촉되는 외측면에 표면 스크레치(13)를 형성하여 전극 조립체의 실링 과정 중에 열 변형이나 열 접착을 방지하면서 반복 사용이 가능하도록 하므로 이형 필름의 폐기량을 현격히 줄이도록 함은 물론 이형 필름의 소재 두께도 더 얇게 하면서 실링 가능하여 이형 필름의 사용량을 줄여 주므로 경제성, 환경성을 우수하게 제공하고, 상기 전극 조립체의 실링 과정 중에 분리막의 전사나 전이에 의한 불량 발생, 뒤틀림 변형 발생을 최소화하므로 배터리의 상품성 향상은 물론 배터리의 생산 수율을 향상시키므로 경제성 및 상품성을 크게 향상시키도록 하는데 그 특징이 있다.

traducir