Ministerio de Industria, Turismo y Comercio LogoMinisterior
 

Alerta

Resultados 1111 resultados
LastUpdate Última actualización 27/01/2026 [07:19:00]
pdfxls
Publicaciones de los últimos 15 días/Last 15 days publications (excluidas pubs. CN y JP /CN and JP pubs. excluded)
previousPage Resultados 1075 a 1100 de 1111 nextPage  

열전도 구조

NºPublicación:  KR20260006001A 12/01/2026
Solicitante: 
에누오케가부시키가이샤
KR_20260006001_PA

Resumen de: WO2025004923A1

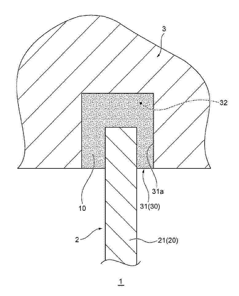
A heat conducting structure (1) comprises a soft heat conducting member (10) that is a soft member having thermal conductivity. The soft heat conducting member (10) is a member that is capable of maintaining the shape thereof. The soft heat conducting member (10) is filled between a heat dissipating member (2) and a receiving member (3).

Method and apparatus for heating a vehicle battery, electric vehicle, server and storage medium

NºPublicación:  PL452605A1 12/01/2026
Solicitante: 
SHENZHEN MINGTANG NEW ENERGY TECH CO LTD [CN]
Shenzhen Mingtang New Energy Technology Co., Ltd.
PL_452605_A1

Resumen de: CN118722346A

The invention relates to the field of electric vehicle control, and discloses a vehicle battery preheating method which comprises the following steps: acquiring the coming time of preset weather, and acquiring the vehicle using time of a user; the duration of the vehicle battery in a low-temperature state is determined according to the coming time of the preset weather and the vehicle using time, and the low-temperature state is the state that the temperature is lower than a preset temperature threshold value; and preheating the vehicle battery according to the duration of the vehicle battery in the low-temperature state. In the embodiment of the invention, by determining the duration of the vehicle battery in the low-temperature state, it is convenient to estimate whether the vehicle battery is frozen thoroughly before the vehicle is used next time, and the vehicle battery is preheated according to the duration of the vehicle battery in the low-temperature state, so that the vehicle battery can be effectively prevented from being frozen thoroughly when extremely cold weather comes. The invention further discloses a vehicle battery preheating device, an electric vehicle, a server and a computer readable storage medium.

Secondary battery

NºPublicación:  KR20260005476A 12/01/2026
Solicitante: 
삼성에스디아이주식회사
KR_20260005476_PA

Resumen de: US2025096378A1

The present disclosure relates to a secondary battery capable of additionally supplementing an electrolyte, and at least one problem to be solved is to provide a secondary battery capable of additionally supplementing the electrolyte. To this end, provided is a secondary battery comprising: an electrode assembly including a first electrode plate, a second electrode plate, and a separator; a case accommodating the electrode assembly; a cap plate sealing an upper opening of the case and having an injection hole that is a supply passage for electrolyte; and a safety valve installed on the cap plate, sealing the injection hole by a magnetic force and moving by external force to open the injection hole.

다양한 충전 및 방전 속도 하에서의 리튬-이온 배터리를 위한 고속 축약-차수 전기화학 모델

NºPublicación:  KR20260005954A 12/01/2026
Solicitante: 
더리젠츠오브더유니버시티오브미시건
KR_20260005954_PA

Resumen de: US2025007011A1

An electrical device can comprise: a battery including one or more electrochemical cells; a temperature sensor positioned in at least one of the electrochemical cells; a current sensor for measuring a current flowing from the battery; and a battery management system including a controller in electrical communication with the temperature sensor and the current sensor. The controller is configured to execute a program to: (i) calculate a terminal voltage of the battery using an electrochemical model that receives as inputs a temperature reading from the temperature sensor and the current flowing from the battery and outputs the terminal voltage of the battery, wherein the electrochemical model calculates the terminal voltage of the battery using a lithium-ion concentration distribution as a first polynomial function and an electrolyte potential distribution as a second polynomial function, and (ii) determine a state of the battery based on the terminal voltage.

BATTERY SEPARATOR AND BATTERY

NºPublicación:  KR20260005800A 12/01/2026
Solicitante: 
주식회사엘지화학
KR_20260005800_PA

Resumen de: WO2026010407A1

The present invention relates to a battery separator and a battery. A battery separator and a battery of the present invention comprise: a base layer; an outer layer positioned on one surface or both surfaces of the base layer and comprising a first binder, which is a fluorine-based binder, and a second binder, which is a vinyl-based binder; and an inner layer positioned between the base layer and an organic layer and comprising inorganic particles, wherein the ratio (P1:P2) of the content (P1) of the first binder of the separator to the content (P2) of the second binder of the separator can be adjusted.

Variable resistance structure electrode assembly including same and battery cell

NºPublicación:  KR20260005594A 12/01/2026
Solicitante: 
주식회사엘지에너지솔루션
KR_20260005594_PA

Resumen de: WO2026010308A1

According to exemplary embodiments, an electrode assembly is provided. The electrode assembly comprises: a positive electrode including a positive electrode current collector, a first positive electrode active material layer on the positive electrode current collector, and a second positive electrode active material layer spaced apart from the first positive electrode active material layer with the positive electrode current collector therebetween; a negative electrode including a negative electrode current collector, a first negative electrode active material layer on the negative electrode current collector, and a second negative electrode active material layer spaced apart from the first negative electrode active material layer with the negative electrode current collector therebetween; a separator between the positive electrode and the negative electrode; and a variable resistor structure in contact with the positive electrode and the negative electrode. The variable resistor structure includes a conductive foil and a variable resistor film on the conductive foil, and the variable resistor film includes a transition metal oxide.

BAND MEMBER BATTERY MODULE BATTERY PACK

NºPublicación:  KR20260005530A 12/01/2026
Solicitante: 
에스케이온주식회사
KR_20260005530_PA

Resumen de: US20260011850A1

A battery module includes a cell assembly including a plurality of battery cells, an end plate including a first end plate positioned on a front side of the cell assembly and a second end plate positioned on a back side of the cell assembly, and a band member surrounding the cell assembly and the end plate. The band member includes a first band region at least partially facing one side of the cell assembly, and a plurality of second band regions at least partially facing the other side of the cell assembly. A first distance between outer side surfaces of the first band region is shorter than a second distance between the plurality of second band regions.

MANUFACTURING METHOD FOR LITHIUM SECONDARY BATTERY AND LITHIUM SECONDARY BATTERY MANUFACTURED THEREFROM

NºPublicación:  KR20260005586A 12/01/2026
Solicitante: 
에스케이온주식회사
KR_20260005586_PA

Resumen de: KR20260005586A

본 개시는 리튬 이차 전지의 제조 방법 및 이로부터 제조된 리튬 이차 전지에 관한 것으로, 일 구현예에 따른 리튬 이차 전지의 제조 방법은 양극, 음극 및 분리막을 포함하는 전극조립체를 케이스에 수납하고 전해액을 주입하여 예비 전지를 준비하는 준비 단계; 상기 준비 단계에서 준비된 예비 전지를 제1 C-Rate로 제1 SOC(State of Charge)까지 충전하는 제1 활성화 단계; 및 상기 제1 활성화 단계를 거친 예비 전지를 제2 C-Rate로 제2 SOC까지 충전하는 제2 활성화 단계;를 포함하며, 상기 음극은 규소계 음극활물질을 포함하는 음극활물질을 포함하고, 상기 제2 C-Rate는 상기 제1 C-Rate보다 클 수 있다.

비수 전해질 이차 전지용 정극 활물질, 및 비수 전해질 이차 전지

NºPublicación:  KR20260005974A 12/01/2026
Solicitante: 
바스프에스이
KR_20260005974_PA

Resumen de: JP2024160882A

To provide a positive electrode active material capable of suppressing a thermal runway, and provide a non-aqueous electrolyte secondary battery using the same.SOLUTION: A positive electrode active material for a non-aqueous electrolyte secondary battery is expressed by LiLix(Ni1-y-z-wCoyMnzMw)1-xO2 (where M is one or more kinds of elements other than Li, Ni, Co, Mn and O, and satisfies -0.1≤x≤0.15, 0

BATTERY MOUDLE AND BATTERY PACK

NºPublicación:  KR20260005637A 12/01/2026
Solicitante: 
에스케이온주식회사
KR_20260005637_PA

Resumen de: US20260011864A1

According to the present disclosure, provided is a battery module including: a plurality of battery units respectively including a plurality of battery cells; a module housing accommodating the plurality of battery units; an upper cover covering an upper portion of the module housing and including at least one vent hole; and a barrier disposed between the plurality of battery units to prevent thermal propagation, the barrier including: a first barrier disposed between the plurality of battery units; and a second barrier extending from the first barrier in a first direction, a stacking direction of the plurality of battery cells.

BATTERY ASSEMBLY

NºPublicación:  KR20260005613A 12/01/2026
Solicitante: 
삼성에스디아이주식회사
KR_20260005613_PA

Resumen de: US20260011896A1

A battery assembly configured to prevent battery cells from igniting. A plurality of battery cells including a cap plate having a vent. A pouch is over the vent, and including a fire extinguishing agent. The vent includes a breakable portion configured to break in response to a rupture of the vent and a non-breakable portion configured to deform in response to the rupture of the vent. The pouch is configured to be opened by the deformation of the non-breakable portion of the vent to allow the fire extinguishing agent to be discharged toward the vent of each of the battery cells.

BATTERY AND ELECTRONIC DEVICE INCLUDING THE SAME

NºPublicación:  KR20260005714A 12/01/2026
Solicitante: 
삼성전자주식회사
KR_20260005714_PA

Resumen de: KR20260005714A

본 개시(disclosure)의 실시예들은 배터리 및 이를 포함하는 전자 장치에 관한 것으로, 양극(611), 음극(612), 및 상기 양극(611) 및 상기 음극(612) 사이에 배치되는 분리막(613)을 포함하는 복수의 전극 조립체(610)가 두께 방향으로 적층된 전극 스택(6101), 상기 전극 스택(6101)을 케이싱하는 케이스 영역, 및 상기 케이스 영역의 일측으로부터 연장되는 돌출 영역(512)을 포함하는 배터리 케이스(510), 상기 복수의 전극 조립체(610)로부터 상기 돌출 영역(512)으로 연장되는 복수의 기재 탭(620), 및 상기 돌출 영역(512)에서 상기 복수의 기재 탭(620)과 용접(710)되는 전극 탭(520)을 포함하고, 상기 돌출 영역(512)에서, 상기 전극 탭(520)의 일부분은 접힌 상태로 배치될 수 있다. 그 밖에 다양한 실시예들을 더 포함할 수 있다.

BATTERY MODULE AND BATTERY PACK AND VEHICLE

NºPublicación:  KR20260005630A 12/01/2026
Solicitante: 
주식회사엘지에너지솔루션
KR_20260005630_PA

Resumen de: KR20260005630A

배터리 모듈 및 배터리 팩 및 자동차가 개시된다. 본 발명의 일 실시예에 따른 배터리 모듈은, 복수의 배터리 셀; 복수의 배터리 셀이 수납되는 모듈 케이스; 및 모듈 케이스의 측면에 결합되고, 배출홀이 형성된 엔드 플레이트를 포함하며, 열적 이벤트 발생시 화염, 가스 또는 토출물이 엔드 플레이트의 배출홀을 통해 배출된다.

배터리, 배터리 조립체 및 전원 장비

NºPublicación:  KR20260005951A 12/01/2026
Solicitante: 
비와이디컴퍼니리미티드
KR_20260005951_A

Resumen de: WO2024244707A1

A battery, a battery module and a power device. The battery comprises a case, a cover plate and a current collector, wherein a cell accommodating cavity is formed in the case; an opening is formed at at least one end of the case; the cover plate is connected to the case and covers the opening; an explosion-proof valve is provided on the cover plate; the current collector is arranged in the cell accommodating cavity; and the current collector is spaced apart from at least part of the cover plate, so as to form a pressure relief cavity in communication with the explosion-proof valve.

POSITIVE ELECTRODE SLURRY COMPOSITION POSITIVE ELECTRODE AND LITHIUM SECONDARY BATTERY COMPRISING THE SAME

NºPublicación:  KR20260005769A 12/01/2026
Solicitante: 
주식회사엘지에너지솔루션
KR_20260005769_A

Resumen de: KR20260005769A

본 발명은 양극 슬러리 조성물, 양극 및 이를 포함하는 리튬 이차전지에 관한 것으로, 구체적으로 양극 활물질, 피막 형성 첨가제 및 용매를 포함하며, 상기 피막 형성 첨가제가 화학식 1로 표시되는 화합물인 것을 특징으로 하는 리튬 이차전지용 양극 슬러리 조성물, 리튬 이차전지용 양극 및 이를 포함하는 리튬 이차전지에 관한 것이다.

BATTERY AND METHOD OF MANUFACTURING SAME

NºPublicación:  KR20260005628A 12/01/2026
Solicitante: 
삼성에스디아이주식회사
KR_20260005628_PA

Resumen de: US20260011766A1

A battery includes an electrode assembly including a first electrode, a second electrode, and a separator wound between the first electrode and the second electrode, a cylindrical case including a bottom part, a sidewall connected to the bottom part, and an opening facing the bottom part and accommodating the electrode assembly, and a first cap assembly coupled to one end of the sidewall of the case to seal the opening, wherein the first cap assembly includes a cap plate, and each of the cap plate and the case includes an insulating material.

스택을 랩핑하기 위한 에너지 셀 생산 산업, 특히 배터리 셀 생산 산업용 장치 및 방법

NºPublicación:  KR20260005956A 12/01/2026
Solicitante: 
쾨르버테크놀로지스게엠베하
KR_20260005956_PA

Resumen de: CN120916967A

The invention relates to a device (10) for winding a stack (11) for the energy cell manufacturing industry, comprising a plurality of segments (12, 13) and a material web (14). The device (10) is designed to form a stack (11) having segments (12, 13) arranged in folds of a material web (14) and to be wound with the same material web (14). The invention further relates to a corresponding method.

전해질 조성물 및 전지

NºPublicación:  KR20260005934A 12/01/2026
Solicitante: 
스미또모가가꾸가부시키가이샤고쿠리츠다이가쿠호진교토다이가쿠
KR_20260005934_A

Resumen de: WO2024232341A1

The present disclosure provides an electrolyte composition which contains one or more organic solvents and a polymer that has the ability to conduct alkali metal ions, wherein the total donor number of the organic solvents contained in the electrolyte composition is 16.5 or more. (In the formula, n is the total number of organic solvents contained in the electrolyte composition and is 1 or more, DNi is the donor number of the i-th organic solvent, and fi is the mass fraction of the i-th organic solvent.)

COOLING APPARATUS AND BATTERY PACK INCLUDING THE SAME

NºPublicación:  KR20260005481A 12/01/2026
Solicitante: 
주식회사엘지에너지솔루션
KR_20260005481_PA

Resumen de: WO2026010347A1

A cooling device according to some embodiments of the present invention comprises: a heat sink including a plurality of cooling channels and a plurality of hollows; and a manifold coupled to the heat sink. The manifold includes a plurality of sub-flow paths positioned on a side close to the heat sink so as to correspond to the plurality of cooling channels, and a plurality of main flow paths on a side far from the heat sink. The plurality of sub-flow paths may branch from the plurality of main flow paths. Some embodiments of the present invention can quickly cool a battery. Accordingly, the stability of the battery can be improved, and the battery can be quickly charged.

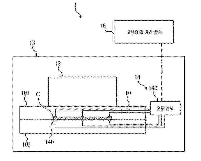
/ METHOD AND SYSTEM FOR CALCULATING HEAT GENERATION OF BATTERY DISCHARGING/CHARGING

NºPublicación:  KR20260005796A 12/01/2026
Solicitante: 
프로로지움테크놀로지코엘티디
KR_20260005796_PA

Resumen de: US20260009754A1

A method for calculating heat generation of battery discharging/charging includes the following steps: configuring a battery in a heat insulation component; discharging/charging the battery and measuring the temperature during the discharging/charging of the battery to obtain a measured temperature curve; obtaining an Nth-degree curve fitting equation of temperature-time gradient to temperature by curve fitting a cooling phase of the measured temperature curve; substituting the temperatures of the measured temperature curve into the Nth-degree curve fitting equation to obtain temperature compensation values and forming a compensated temperature curve according to the temperatures and the corresponding temperature compensation values; and, calculating the heat generation value of the battery according to the compensated temperature curve and a thermal conversion model of battery discharging/charging. The method is capable of obtaining the temperature curve of battery discharging/charging in a nearly adiabatic condition, to precisely calculate the heat generation value of battery discharging/charging.

리튬 이차 전지

NºPublicación:  KR20260005935A 12/01/2026
Solicitante: 
테라와트테크놀로지가부시키가이샤
KR_20260005935_PA

Resumen de: CN120836094A

Provided is a lithium secondary battery provided with: a laminate in which a plurality of positive electrodes and negative electrodes are laminated in a lamination direction via a separator, one of the positive electrodes and the negative electrodes including a first current collector configured by sandwiching a resin layer between a pair of conductive layers, the first current collector having a first end portion extending in a first direction different from the lamination direction; a first electrode tab electrically connected to the first end portion, the first electrode tab including: a first bonding trace formed by bonding with the first end portion; and a first insulating part which is arranged at an interval in the first direction from the first bonding trace and is covered with an insulating material. And a sealed container provided with a sealing part, the sealed container being configured such that, while sealing the laminated body inside the sealing part, the first insulating part of the first electrode tab is sandwiched in the sealing part, and a part of the first electrode tab is taken out to the outside of the sealed container.

POSITIVE ELECTRODE PREPARATION METHOD THEREOF AND ALL-SOLID-STATE RECHARGEABLE BATTERIES

NºPublicación:  KR20260005641A 12/01/2026
Solicitante: 
삼성에스디아이주식회사
KR_20260005641_PA

Resumen de: KR20260005641A

양극 집전체; 및 상기 양극 집전체 상에 위치하고, 양극 활물질, 고체 전해질 및 도전재를 포함하는 양극 활물질층;을 포함하고, 상기 양극 활물질층에서 입자 형태인 고체 전해질과 접촉하는 도전재의 비율이 5 면적% 이하인 양극과 그 제조 방법, 및 전고체 이차 전지에 관한 것이다.

SECONDARY BATTERY AND METHOD FOR MANUFACTURING SAME

NºPublicación:  KR20260005645A 12/01/2026
Solicitante: 
삼성에스디아이주식회사
KR_20260005645_PA

Resumen de: US20260011859A1

Provided are a secondary battery and a method of fabricating the same. The secondary battery and the method of fabricating the same are intended to prevent ignition of the secondary battery. The secondary battery may include an electrode assembly, a can accommodating the electrode assembly, a cap plate coupled to a first side of the can and having a vent hole, and a vent disposed to seal a peripheral portion of the vent hole and including an adhesive portion including an adhesive applied to a portion corresponding to a peripheral portion of the vent hole.

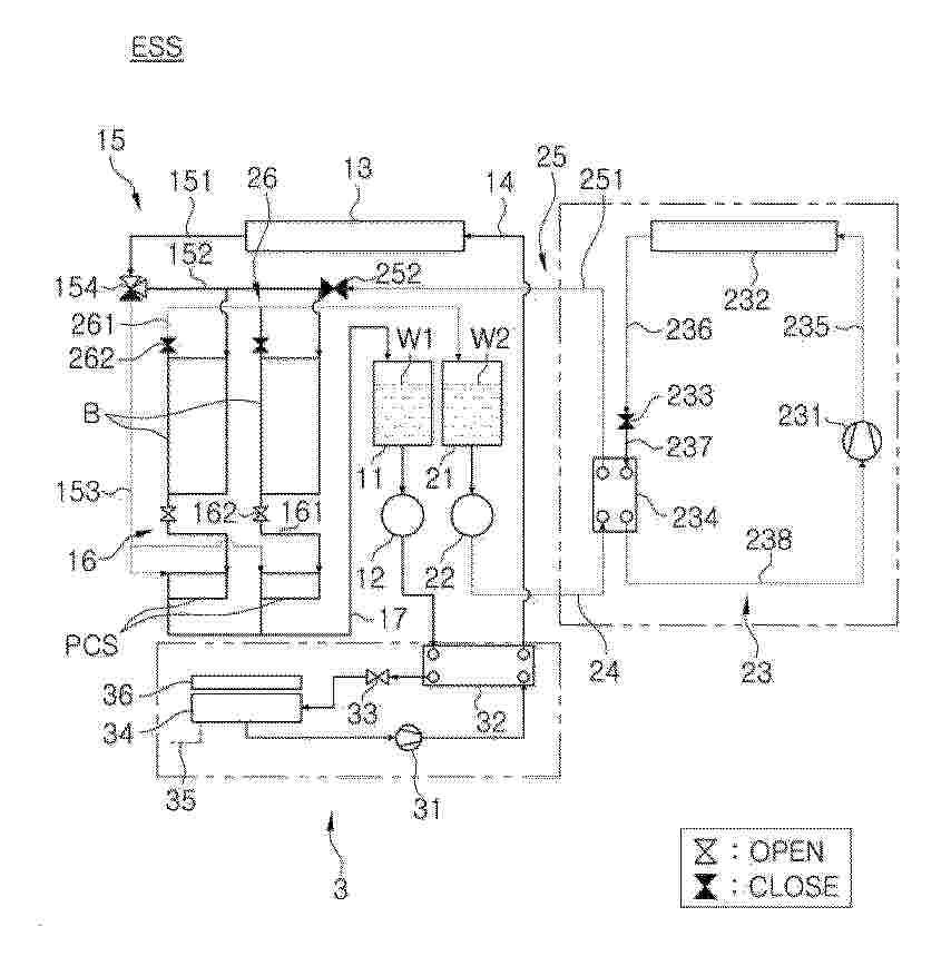
THERMAL MANAGEMENT SYSTEM FOR ENERGY STORAGE SYSTEM

NºPublicación:  KR20260005675A 12/01/2026
Solicitante: 
주식회사에스씨에스
KR_20260005675_PA

Resumen de: US20260013090A1

Disclosed is a thermal management system for an energy storage system capable of efficiently cooling a battery and a power conversion system with different management temperatures by selectively switching a cooling method according to an outdoor temperature of the energy storage system. A thermal management system for an energy storage system cools a battery and a power conversion system arranged inside the energy storage system by selectively switching a cooling method according to an outdoor temperature of the energy storage system, and includes a first cooling unit that cools the battery and the power conversion system with a first coolant cooled using outside air, and a second cooling unit that cools the battery with a second coolant cooled using a refrigerant.

Manufacturing device of all-solid-state battery and manufacturing method of all-solid-state battery using the same

Nº publicación: KR20260005499A 12/01/2026

Solicitante:

삼성에스디아이주식회사

KR_20260005499_PA

Resumen de: WO2026010018A1

The apparatus for manufacturing an all-solid-state batteries according to the present invention comprises: a gasket feed unit comprising a first rotating device; and an upper film removal unit comprising a second rotating device. The first rotating device unwinds gasket structures from a roll into a flat state, each gasket structure comprising a carrier film, a gasket thereon, and a protective film on the gasket. The second rotating device winds the protective film from a flat state into a roll.

traducir