Ministerio de Industria, Turismo y Comercio LogoMinisterior
 

Alerta

Resultados 1111 resultados
LastUpdate Última actualización 27/01/2026 [07:19:00]
pdfxls
Publicaciones de los últimos 15 días/Last 15 days publications (excluidas pubs. CN y JP /CN and JP pubs. excluded)
previousPage Resultados 1050 a 1075 de 1111 nextPage  

PRISMATIC BATTERY CELL, BATTERY MODULE PROVIDED WITH SUCH BATTERY CELL, AND CORRESPONDING BATTERY PACK

NºPublicación:  EP4679576A1 14/01/2026
Solicitante: 
FERRARI SPA [IT]
FERRARI S.p.A
EP_4679576_PA

Resumen de: EP4679576A1

A prismatic battery cell (20) has a shell (21) with an upper wall (22), from which at least one electrical connector (26) protrudes, a lower wall (23) and a perimetral wall (24); the battery cell (20) further has a safety valve (30) carried by the shell (21) and configured to vent, outwardly, gases possibly generated within the shell (21); the safety valve (30) is arranged in proximity to the lower wall (23) of the shell (21) so as to vent the gases into a cavity (14) defined by a lower area of a battery pack (1) where the battery cell (20) is installed.

END CAP ASSEMBLY, ENERGY STORAGE DEVICE AND ELECTRICITY-CONSUMPTION EQUIPMENT

NºPublicación:  EP4679583A1 14/01/2026
Solicitante: 
XIAMEN HITHIUM ENERGY STORAGE TECH CO LTD [CN]
Xiamen Hithium Energy Storage Technology Co., Ltd
EP_4679583_PA

Resumen de: EP4679583A1

The present application discloses an end cover assembly, an energy storage device and electricity-consumption equipment. The end cover assembly includes an end plate, a pole and a connecting member. The end plate has a first surface and a second surface disposed opposite to each other along a thickness direction thereof. The end plate further has a first pole hole penetrating the end plate. The pole has a first pole section and a second pole section. An outer circumferential surface of the first pole section is connected with the outer circumferential surface of the second pole section through an annular stepped surface. The first pole section is inserted into the first pole hole. The connecting member is located at a side where the annular stepped surface of the pole is located, and has a second pole hole coaxially arranged with the first pole hole.

AN ELECTRODE, AN ELECTRODE ASSEMBLY, AND A RECHARGEABLE BATTERY INCLUDING THE SAME

NºPublicación:  EP4679516A1 14/01/2026
Solicitante: 
SAMSUNG SDI CO LTD [KR]
SAMSUNG SDI CO., LTD
EP_4679516_PA

Resumen de: EP4679516A1

An electrode for a rechargeable battery may include a substrate, and an active material layer formed on the substrate. The substrate has a plurality of holes, where the holes have depths that become deeper from an edge of the substrate to a center of the substrate.

Battery safety system

NºPublicación:  GB2642490A 14/01/2026
Solicitante: 
ARTEMIS TECH LIMITED [GB]
Artemis Technologies Limited
GB_2642490_PA

Resumen de: GB2642490A

A system for improving the safety of a battery 300 comprises a first passive cooling system having a support structure and a cooling circuit that comprises a plurality of parallel cooling plates 364. The support structure comprises one or more chassis members 320A that define a plurality of enclosures for housing a plurality of battery modules and one or more thermal bridge members 320B that are in thermal communication with the chassis member(s) and cooling plates. Accordingly, thermal energy emitted by a battery module is removed by the first passive cooling system without propagating to neighbouring battery modules. The system preferably includes a second passive cooling system comprising a respective vent gate for each of the plurality of enclosures and an exhaust duct (figure 6), and may include a fire suppressant module and/or dry break couplings for providing fire suppressant material. The battery preferably comprises Li-ion cells and is used in a marine vessel (figure 1).

PACK HOUSING

NºPublicación:  EP4679598A1 14/01/2026
Solicitante: 
LG ENERGY SOLUTION LTD [KR]
LG ENERGY SOLUTION, LTD
EP_4679598_PA

Resumen de: EP4679598A1

Example embodiments provide a pack housing. The pack housing includes a plurality of plates coupled to each other, and side walls coupled to the plurality of plates and each including a plate part coupled to the plurality of plates, a side wall part perpendicular to the plate part, and a wing part spaced apart from the plate part with the side wall part between the wing part and the plate part, in which the plate part of each of the side walls includes a cavity, and each of the side walls includes an impact transfer structure horizontally overlapping the cavity of the plate part of each of the side walls.

FLUORINE-CONTAINING POLYMER, PREPARATION METHOD THEREFOR, POSITIVE ELECTRODE SHEET, SECONDARY BATTERY AND ELECTRIC DEVICE

NºPublicación:  EP4678666A1 14/01/2026
Solicitante: 
CONTEMPORARY AMPEREX TECHNOLOGY CO LTD [CN]
Contemporary Amperex Technology Co., Limited
EP_4678666_PA

Resumen de: EP4678666A1

This application provides a fluoropolymer, a preparation method therefor, a positive electrode plate, a secondary battery, and an electric device. The fluoropolymer comprises a structural unit derived from vinylidene fluoride and a structural unit derived from an unsaturated carboxylic acid monomer, wherein a weight average molecular weight of the fluoropolymer ranges from 5 million to 9 million, and optionally, from 5 million to 8 million.

BATTERY AND ELECTRIC DEVICE

NºPublicación:  EP4679592A1 14/01/2026
Solicitante: 
CONTEMPORARY AMPEREX TECHNOLOGY CO LTD [CN]
Contemporary Amperex Technology Co., Limited
EP_4679592_PA

Resumen de: EP4679592A1

The present application discloses a battery and an electric apparatus. The battery includes: a first battery cell assembly, the first battery cell assembly including at least one first battery cell, the first battery cell being internally provided with a first elastic buffer pad; a second battery cell assembly, the second battery cell assembly including at least two second battery cells, the at least two second battery cells being disposed on both sides of the first battery cell assembly along a thickness direction of the first battery cell assembly, where the thickness direction of the first battery cell assembly is consistent with a thickness direction of the first battery cell.

BATTERY CELL, BATTERY AND ELECTRIC DEVICE

NºPublicación:  EP4679597A1 14/01/2026
Solicitante: 
CONTEMPORARY AMPEREX TECHNOLOGY CO LTD [CN]
Contemporary Amperex Technology Co., Limited
EP_4679597_PA

Resumen de: EP4679597A1

The present application discloses a battery cell, a battery, and an electric apparatus. The battery cell includes: a housing; at least one electrode assembly, the electrode assembly being disposed within the housing; at least one elastic buffer pad, the elastic buffer pad including an elastic buffer layer and a support layer disposed on at least one side of the elastic buffer layer, the support layer being configured to support the elastic buffer layer; the elastic buffer pad being disposed between the electrode assembly and the housing, and/or between two adjacent electrode assemblies.

CYLINDRICAL BATTERY

NºPublicación:  EP4679615A1 14/01/2026
Solicitante: 
PANASONIC ENERGY CO LTD [JP]
Panasonic Energy Co., Ltd
EP_4679615_PA

Resumen de: EP4679615A1

A cylindrical battery (10) serving as an example of an embodiment comprises: an electrode body including a first electrode and a second electrode; an outer casing (16) having a bottomed cylindrical shape and accommodating the electrode body; and a sealing body (17) that closes an opening of the outer casing (16), the first electrode being electrically connected to the sealing body (17), and the second electrode being electrically connected to the outer casing (16). The cylindrical battery (10) further comprises: a first conductive member (30) bonded to a surface of the sealing body (17) outward of the battery; a second conductive member (40) bonded to an opening edge portion of the outer casing (16); and an insulating member (50) coupling the first conductive member (30) and the second conductive member (40).

ARRANGEMENT STRUCTURE OF SOLID ELECTROLYTE IN ALL-SOLID-STATE CELL, AND BATTERY

NºPublicación:  EP4679552A1 14/01/2026
Solicitante: 
UNIV TOHOKU [JP]
DOWA HOLDINGS CO LTD [JP]
Tohoku University,
Dowa Holdings Co., Ltd
EP_4679552_PA

Resumen de: EP4679552A1

Problem To provide an advantageous technique for further improving the charging voltage in an all-solid-state cell such as an all-solid-state lithium-ion secondary battery.Solution An arrangement structure of a solid electrolyte in an all-solid-state cell, including a first solid electrolyte that contains, as a main component, a crystalline phase containing Li, Al, and F and having a β-Li3AlF6 type structure or an amorphous phase containing Li, Al, and F within a range where x satisfies 2.0 or more and 5.0 or less in a composition formula LixAlF3+x, and including a second solid electrolyte that contains, as a main component, a sulfide or an oxide between a high-potential side electroconductive material and a low-potential side electroconductive material in an all-solid-state cell, and in which the first solid electrolyte is interposed between the high-potential side electroconductive material and the second solid electrolyte, and a contact portion between the high-potential side electroconductive material and the first solid electrolyte, and a contact portion between the first solid electrolyte and the second solid electrolyte are provided.

PROCESS FOR PREPARING A POWDER OF LITHIUM SULFIDE

NºPublicación:  EP4676877A1 14/01/2026
Solicitante: 
SPECIALTY OPERATIONS FRANCE [FR]
SPECIALTY OPERATIONS FRANCE
CN_121127437_A

Resumen de: WO2024188824A1

The present disclosure relates to a process for preparing a powder of lithium sulfide (Li2S powder) comprising the steps of: a) providing a powder of lithium hydroxide (LiOH powder A), or a powder of lithium carbonate (Li2CO3 powder A') presenting a residual water content below 5 wt %; b) reacting such LiOH powder A or Li2CO3 powder A' with H2S present in a reagent gas (RG1) to obtain Li2S powder, optionally carbon dioxide and water vapor; wherein reagent gas (RG1) comprises H2S, water in an amount ranging from 0.5 to 5.0 wt% of the total weight of the reagent gas and optionally an inert carrier. The present disclosure also relates to the powder of lithium sulfide obtained from such process and to the use of such Li2S powder to prepare a solid compound of formula (I): LiaPSbXc (I) wherein - X represents at least one halogen element; - a represents a number from 3.0 to 6.0; - b represents a number from 3.5 to 5.0; and - c represents a number from 0 to 3.0.

METHOD FOR MANUFACTURING A LGPS-TYPE SOLID SULFIDE ELECTROLYTE

NºPublicación:  EP4677663A1 14/01/2026
Solicitante: 
UMICORE NV [BE]
COMMISSARIAT ENERGIE ATOMIQUE [FR]
Umicore,
Commissariat \u00E0 l'Energie Atomique et aux Energies Alternatives
CN_120712663_PA

Resumen de: CN120712663A

The present invention relates to a method for manufacturing an LGPS-type solid sulfide electrolyte. The inventors of the present invention surprisingly found that the solid sulfide electrolyte can be obtained with high purity and short reaction time by heat treating a mixed set of precursors at this high temperature and pressure.

BATTERY ELECTRODE AND METHOD OF MAKING THE SAME

NºPublicación:  EP4677658A1 14/01/2026
Solicitante: 
SYENSQO SPECIALTY POLYMERS ITALY S P A [IT]
Syensqo Specialty Polymers Italy S.p.A
CN_121153127_A

Resumen de: WO2024184371A1

The present invention relates to an electrode composition comprising PTFE and at least one copolymer of maleic anhydride and di-isobutylene, to a method for its preparation and to its use for the manufacture of electrochemical cell components.

BATTERY ELECTRODE AND METHOD OF MAKING THE SAME

NºPublicación:  EP4677653A1 14/01/2026
Solicitante: 
SYENSQO SPECIALTY POLYMERS ITALY S P A [IT]
Syensqo Specialty Polymers Italy S.p.A
KR_20250156142_A

Resumen de: CN120814057A

The present invention relates to a binder for a positive electrode of a secondary battery, to a method for preparing said electrode and to the use of said electrode in a secondary battery. The present invention also relates to a secondary battery manufactured by combining the electrodes.

CATHODE ACTIVE MATERIALS WITH A CORE-SHELL STRUCTURE AND THEIR MANUFACTURE

NºPublicación:  EP4677657A1 14/01/2026
Solicitante: 
BASF SE [DE]
BASF SE
KR_20250160438_PA

Resumen de: CN120814068A

A cathode active material comprising (A) a core material according to the general formula Li1 + xTM1-xO2, where TM is a combination of Ni with at least two of Mn, Co and Al, and optionally at least one plurality of metals selected from the group consisting of Mg, Ti, Zr, Nb, Ta and W, and x is in the range of-0.05 to + 0.05, and where the nickel content is in the range of 80 to 99 mol-% of TM, and (B) particles of one or more cobalt compounds, wherein at least some of the cobalt is in the oxidation state of + III, (C) a shell comprising an oxide of at least one of B or W, and wherein the core material (A) is a polycrystalline material, the secondary particles of which consist of primary particles, and the particles (B) of the cobalt compound are enriched at the surface of said secondary particles.

SECONDARY BATTERY, BATTERY ASSEMBLY AND ELECTRONIC DEVICE

NºPublicación:  EP4679513A1 14/01/2026
Solicitante: 
AESC JAPAN LTD [JP]
AESC Japan Ltd
EP_4679513_PA

Resumen de: EP4679513A1

A secondary battery includes a negative electrode sheet (20), a positive electrode sheet (10), and a separator (122) located between the positive electrode sheet and the negative electrode sheet. The negative electrode sheet includes the negative active material layer (26) includes a negative straight region (24) and a negative thinned region (22) located at one end of the negative straight region in a first direction. The positive electrode sheet (10) includes the positive active material layer (16) includes a positive straight region (14) and a positive thinned region (12) located at one end of the positive straight region away from the first direction. In the first direction, the positive active material layer includes a protruding portion (162) that extends beyond the negative straight region. The protruding portion overlaps with an orthogonal projection of the negative thinned region in a second direction perpendicular to the first direction.

SECONDARY BATTERY

NºPublicación:  EP4679547A1 14/01/2026
Solicitante: 
SAMSUNG SDI CO LTD [KR]
SAMSUNG SDI CO., LTD
EP_4679547_PA

Resumen de: EP4679547A1

A secondary battery includes a case; and an electrode assembly and a conductive plate accommodated in the case, the electrode assembly includes a first electrode assembly part and a second electrode assembly part, a partition wall is between the first electrode assembly part and the second electrode assembly part, the conductive plate includes a first conductive plate on the electrode assembly and a second conductive plate under the electrode assembly, the first conductive plate includes a first conductive part and a second conductive part that are insulated by an insulating member, the first conductive part is electrically connected to the first electrode assembly part, the second conductive part is electrically connected to the second electrode assembly part, and the second conductive plate is electrically connected to the first electrode assembly part and the second electrode assembly part.

CARBON NANOTUBE DISPERSION COMPOSITION AND USE THEREOF

NºPublicación:  EP4679537A1 14/01/2026
Solicitante: 
ARTIENCE CO LTD [JP]
TOYOCOLOR CO LTD [JP]
artience Co., Ltd,
TOYOCOLOR CO., LTD
EP_4679537_PA

Resumen de: EP4679537A1

Provided are a carbon nanotube dispersion composition having high conductivity and good fluidity and storage stability and a non-aqueous electrolyte secondary battery having excellent rate characteristics and cycle characteristics by using an electrode composite material slurry and an electrode film using the composition. The carbon nanotube dispersion composition contains containing carbon nanotubes having an average outer diameter of 3 nm or less, a polymer component, and a solvent, in which the polymer component contains a polyvinylidene fluoride resin, which may have a substituent as a main component, and the carbon nanotube dispersion composition has a particle diameter D<sub>90</sub> at 90% volume accumulation in the particle size distribution measured by laser diffraction method of 2.0 µm or more and less than 20.0 µm, and a pH of 7.5 or higher.

VOLTAGE LEVEL TRANSLATOR AND BATTERY SYSTEM

NºPublicación:  EP4679775A1 14/01/2026
Solicitante: 
HELLA GMBH & CO KGAA [DE]
HELLA GmbH & Co. KGaA
EP_4679775_PA

Resumen de: EP4679775A1

The present invention relates to a voltage level translator device (100) for a data bus (19), comprising: a first data bus terminal (8), a first supply voltage terminal (6), a first reference voltage terminal (7), a second data bus terminal (11), a second supply voltage terminal (9) and a second reference voltage terminal (10), a first transceiver unit (14) comprising a transmit line terminal (14.4) and a receive line terminal (14.5), wherein the first transceiver unit (14) is powered via the first supply voltage terminal (6) and the first reference voltage terminal (7) and is connected to the first data bus terminal (8), a first galvanically isolated signal transmission unit (16) connected to the transmit line terminal (14.4) of the first transceiver unit (14), a second galvanically isolated signal transmission unit (17) connected to the receive line terminal (14.5) of the first transceiver unit (14), a second transceiver unit (15) comprising a transmit line terminal (15.4) and a receive line terminal (15.5), wherein the second transceiver unit (15) is powered via the second supply voltage terminal (9) and the second reference voltage terminal (10) and is connected to the second data bus terminal (11), and a translation unit (18) comprising a first transmit line terminal (18.3) connected to the first galvanically isolated signal transmission unit (16), a first receive line terminal (18.4) connected to the second galvanically isolated signal transmission unit (17), a second t

METHOD FOR DETERMINING A STATE OF HEALTH, SOH, OF AN ENERGY STORAGE MODULE, A CONTROL UNIT AND AN ARRANGEMENT

NºPublicación:  EP4679113A1 14/01/2026
Solicitante: 
HITACHI ENERGY LTD [CH]
Hitachi Energy Ltd
EP_4679113_PA

Resumen de: EP4679113A1

There is disclosed herein a method for determining SoH of an energy storage module (22) of an energy storage system (20) of an arrangement (1). The energy storage system is connected to an alternating current, AC, power grid (2) through a multilevel modular converter, MMC (10) of the arrangement. The method comprises controlling the MMC to generate a circulating current with a pulse pattern having different levels and that circulates through the energy storage modules, measuring a module voltage over and a module current through each energy storage module, determining an individual module resistance for each energy storage module based on the respective module voltage and the respective module current at the different levels in the pulse pattern, and determining a SoH for each energy storage module based on the individual module resistance. There is further disclosed herein a control unit (50) and an arrangement.

SECONDARY BATTERY AND METHOD FOR MANUFACTURING THE SAME

NºPublicación:  EP4679538A1 14/01/2026
Solicitante: 
SAMSUNG SDI CO LTD [KR]
SAMSUNG SDI CO., LTD
EP_4679538_PA

Resumen de: EP4679538A1

Disclosed is a secondary battery (100) and a method (800) for manufacturing the same. The secondary battery (100) includes an electrode assembly including a plurality of electrode plates, and a plurality of conductors (320, 420, 520, 720) joined to the electrode assembly, in which each of the plurality of electrode plates includes a portion with an active material (220) on both sides of a composite substrate (210), and a non-coated portion (310, 410, 510, 710) free of the active material (220), and where one end of each of the plurality of conductors (320, 420, 520, 720) is arranged between two adjacent non-coated portions (310, 410, 510, 710) of the plurality of electrode plates.

CATHODE ACTIVE MATERIAL, CATHODE, AND LITHIUM SECONDARY BATTERY

NºPublicación:  EP4679530A1 14/01/2026
Solicitante: 
LG CHEMICAL LTD [KR]
LG Chem, Ltd
EP_4679530_A1

Resumen de: EP4679530A1

The present invention relates to a positive electrode active material, and to a positive electrode active material capable of resolving both an issue of a typical secondary particle and an issue of a single particle, wherein the positive electrode active material includes a particle, such as a typical single particle, as a primary particle, and a secondary particle formed by aggregation of a plurality of primary particles, and may thus improve energy density through excellent density characteristics as well as cell characteristics, such as improved lifetime and reduced gas generation amount of a lithium secondary battery, and a positive electrode and a lithium secondary battery which include the same.

CATHODE ACTIVE MATERIAL, CATHODE, AND LITHIUM SECONDARY BATTERY

NºPublicación:  EP4679529A1 14/01/2026
Solicitante: 
LG CHEMICAL LTD [KR]
LG Chem, Ltd
EP_4679529_A1

Resumen de: EP4679529A1

The present invention relates to a positive electrode active material, and a positive electrode and a lithium secondary battery which include the same. The positive electrode active material can resolve both an issue of a typical secondary particle and an issue of a single particle, wherein the positive electrode active material includes a particle, such as a typical single particle, as a primary particle, and a secondary particle formed by aggregation of a plurality of primary particles, and may thus improve energy density through excellent density characteristics as well as cell characteristics, such as improved lifetime and reduced gas generation amount of a lithium secondary battery.

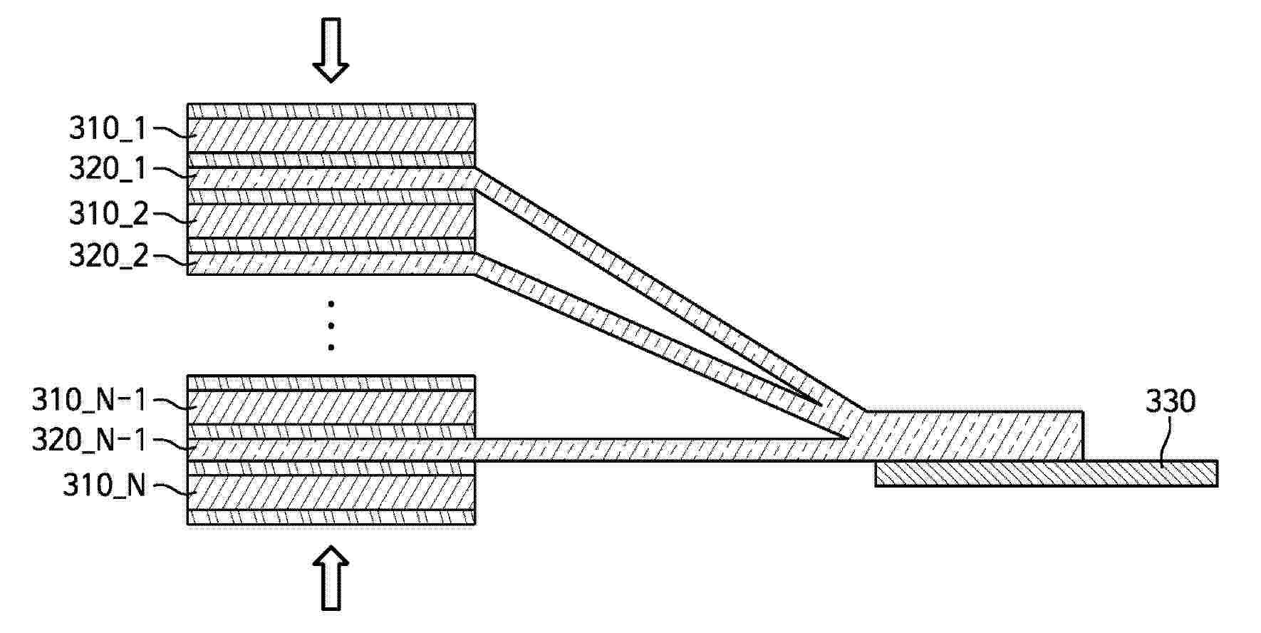
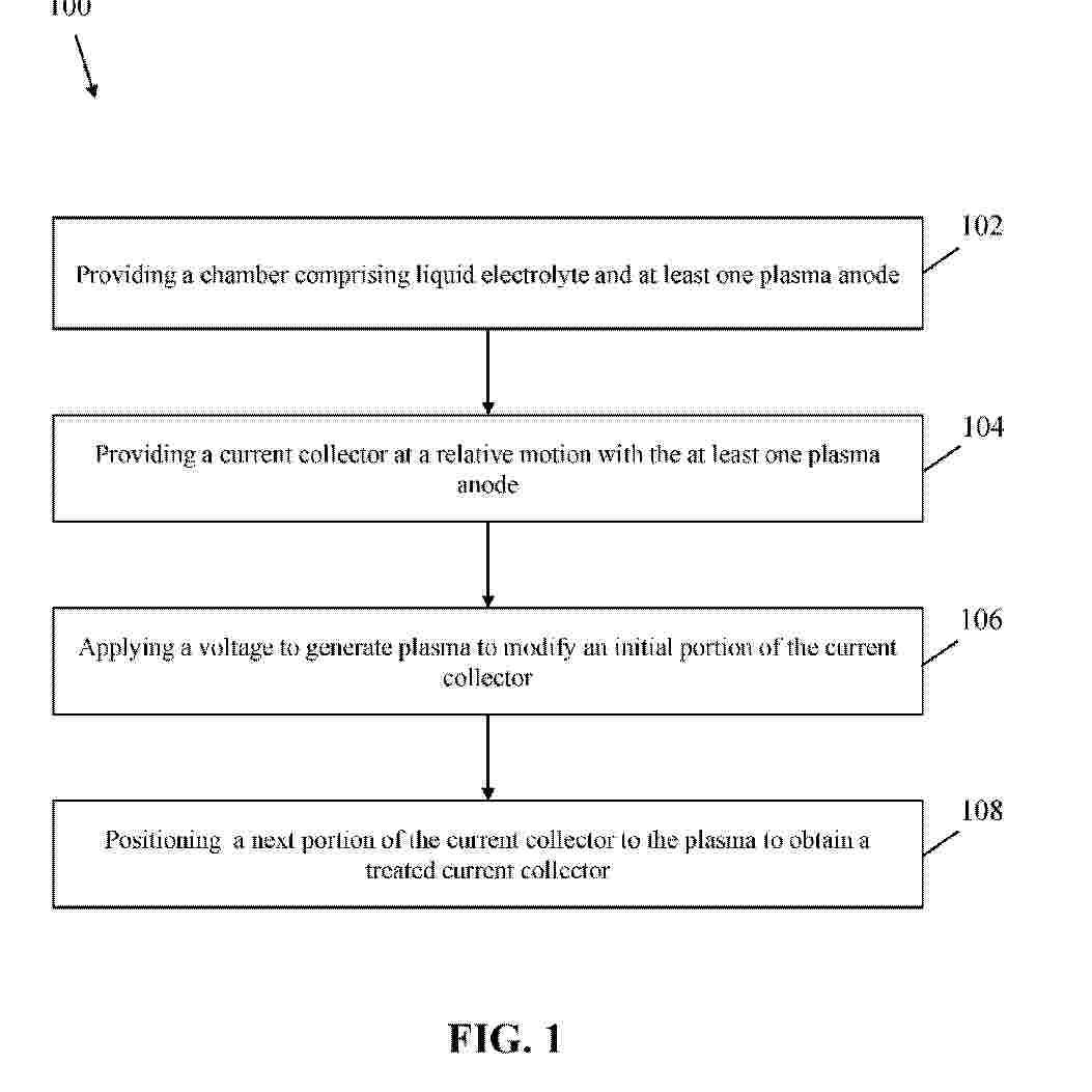
Un proceso de impresión por plasma para fabricar y producir electrodos de batería y mejorar los colectores de corriente

NºPublicación:  CO2025018324A2 13/01/2026
Solicitante: 
TEKRIWAL KRISHNAKANT [IN]
TEKRIWAL, Krishnakant
WO_2024241343_PA

Resumen de: WO2024241343A1

Embodiments of the present invention provide a binder-free electrode of an electrochemical device fabricated using a plasma printing process. The process (100) comprises depositing electroactive material over a current collector to form the electrode in a continuous, electrolytic plasma process. As the electroactive material is mechanically bonded to a surface of the current collector, the inventive process is chemistry agnostic, and a wide variety of materials may be deposited on the current collector. A solid- state battery fabricated using the above process is also disclosed.

BATTERY EXPLOSION-PROOF STRUCTURE AND BATTERY

Nº publicación: KR20260000073U 13/01/2026

Solicitante:

쉔젠백파워베터리컴퍼니리미티드

KR_20260000073_U

Resumen de: US20260011860A1

The present disclosure provides a battery explosion-proof structure and a battery, involving the technical field of batteries. The battery explosion-proof structure includes a housing body, a current collector, a sealing member, and an explosion-proof sheet. The housing body is provided with an opening; the current collector is arranged in the opening, and is connected to the housing body to define a mounting groove; the sealing member is arranged in the mounting groove, and the sealing member is arranged between the current collector and the housing body; the explosion-proof sheet is snapped into the mounting groove; a part of the explosion-proof sheet can abut against the current collector and the sealing member; and the explosion-proof sheet is provided with an explosion-proof part.

traducir