Ministerio de Industria, Turismo y Comercio LogoMinisterior
 

Alerta

Resultados 1111 resultados
LastUpdate Última actualización 27/01/2026 [07:19:00]
pdfxls
Publicaciones de los últimos 15 días/Last 15 days publications (excluidas pubs. CN y JP /CN and JP pubs. excluded)
previousPage Resultados 1025 a 1050 de 1111 nextPage  

TEMPERATURE MANAGEMENT FOR BATTERIES

NºPublicación:  EP4678466A1 14/01/2026
Solicitante: 
VOLVO TRUCK CORP [SE]
Volvo Truck Corporation
EP_4678466_PA

Resumen de: EP4678466A1

A computer system is disclosed for determining a target operating temperature for a battery, the computer system comprising processing circuitry configured to determine a first cost associated with a resistance of the battery, determine a second cost associated with a life expectancy of the battery, and determine a target operating temperature for the battery such that a sum of the first and second costs is below a threshold, wherein the first cost comprises a third cost associated with one or more of increasing a discharge power of the battery and decreasing a charging time of the battery. A computer-implemented method for determining a target operating temperature for a battery is also disclosed.

COOLING SYSTEM FOR COOLING VEHICLE COMPONENTS OF A BATTERY- ELECTRICALLY OPERATED VEHICLE, AND VEHICLE HAVING AT LEAST ONE SUCH COOLING SYSTEM

NºPublicación:  EP4678462A1 14/01/2026
Solicitante: 
VOSS AUTOMOTIVE GMBH [DE]
Voss Automotive GmbH
EP_4678462_PA

Resumen de: EP4678462A1

Bei einem Kühlsystem (1) zum Kühlen von Fahrzeugkomponenten, insbesondere eines Energiespeichers (30), eines batterieelektrisch betriebenen Fahrzeugs, wobei das Kühlsystem (1) zumindest einen ersten Kühlkreislauf (10) mit zumindest einem ersten Kühlmittel und zumindest einem zweiten Kühlkreislauf (20) mit zumindest einem zweiten Kühlmittel umfasst, und wobei das zumindest eine zweite Kühlmittel zum Temperieren von Hochvolt-Fahrzeugkomponenten ausgebildet ist, dient der zumindest eine zweite Kühlkreislauf (20) zum Temperieren zumindest zweier Fahrzeugkomponenten (30, 31, 32, 33, 34, 38), von denen eine der Energiespeicher (30) des batterieelektrisch betriebenen Fahrzeugs ist und/oder sind der zumindest eine erste Kühlkreislauf (10), der zumindest eine zweite Kühlkreislauf (20) und ein Kältemittelkreislauf (50) zum Wärmeaustausch miteinander gekoppelt oder verbunden.

SECONDARY BATTERY AND METHOD OF MANUFACTURING THE SAME

NºPublicación:  EP4679548A1 14/01/2026
Solicitante: 
SAMSUNG SDI CO LTD [KR]
SAMSUNG SDI CO., LTD
EP_4679548_PA

Resumen de: EP4679548A1

A secondary battery may include an electrode assembly including a first electrode, a second electrode, and a separator, a case accommodating the electrode assembly, and an insulating portion on an upper surface and a lower surface of the electrode assembly, the insulating portion insulating the case and the electrode assembly from each other.

POSITIVE ELECTRODES AND RECHARGEABLE LITHIUM BATTERIES INCLUDING THE SAME

NºPublicación:  EP4679514A1 14/01/2026
Solicitante: 
SAMSUNG SDI CO LTD [KR]
SAMSUNG SDI CO., LTD
EP_4679514_PA

Resumen de: EP4679514A1

A positive electrode includes a positive electrode current collector and a positive electrode active material layer located on the positive electrode current collector and including a positive electrode active material and a conductive material. The positive electrode active material includes a layered lithium nickel-manganese-based composite oxide. The positive electrode may derive a reduced amount of a required conductive material using only the information of the positive electrode active material, thereby realizing high capacity and low mixture resistance, thereby enabling the realization of a long cycle-life.

DIRECT RECYCLING METHOD, POWER BATTERY FOR VEHICLE, AND VEHICLE

NºPublicación:  EP4679533A1 14/01/2026
Solicitante: 
VOLVO CAR CORP [SE]
Volvo Car Corporation
EP_4679533_PA

Resumen de: EP4679533A1

The present application relates to a direct recycling method for lithium iron phosphate (LiFePO<sub>4</sub>), comprising: immersing a cathode strip of a spent battery into deionized water, the cathode strip comprising a current collector and a coating bonded to the current collector, the coating comprising LiFePO<sub>4</sub>; mechanically separating the LiFePO<sub>4</sub> in the coating from the current collector; drying and grinding the separated LiFePO<sub>4</sub> to obtain powder of the LiFePO<sub>4</sub>; stirring deionized water added with a lithium source and a pure sulfurous acid solution to form a mixture solution; stirring the mixture solution added with the powder of the LiFePO<sub>4</sub> to form a suspension; heating the suspension to 90 °C - 140 °C for 4 - 8 hours to allow the LiFePO<sub>4</sub> in the suspension to be regenerated by a hydrothermal reaction; washing and drying the regenerated LiFePO<sub>4</sub>; and calcining the regenerated LiFePO<sub>4</sub> under an atmosphere of inert gas.

BATTERY LIQUID COOLING SYSTEM AND BATTERY PACK

NºPublicación:  EP4679566A1 14/01/2026
Solicitante: 
EVE ENERGY CO LTD [CN]
Eve Energy Co., Ltd
EP_4679566_PA

Resumen de: EP4679566A1

Provided are a battery liquid cooling system and a battery pack. The system includes at least two liquid cooling flow path modules. All the liquid cooling flow path modules are sequentially arranged in a first direction (X). The liquid cooling flow path module includes multiple serpentine tubes (400) and multiple expanded-joint tubes (600). All the serpentine tubes (400) are disposed side by side at intervals in the first direction (X). The serpentine tubes (400) extend in a second direction (Y). A folded-back flow channel extending in a length direction of the serpentine tube (400) is disposed within the serpentine tube (400). A liquid inlet end of the serpentine tube (400) and a liquid outlet end of the serpentine tube (400) are respectively disposed at two ends of the folded-back flow channel and are located at the same end in the length direction of the serpentine tube (400). Every two adjacent serpentine tubes (400) communicate with each other through two expanded-joint tubes (600) in an expansion manner. A first expanded-joint tube (600) of the two expanded-joint tubes (600) is a liquid inlet tube (610), and a second expanded-joint tube (600) of the two expanded-joint tubes (600) is a liquid outlet tube (620). The liquid inlet tube (610) communicates with liquid inlet ends on the serpentine tubes (400), and the liquid outlet tube (620) communicates with liquid outlet ends on the serpentine tubes (400).

METHOD FOR MANUFACTURING SINTERED BODY, STRUCTURE, AND COMPOSITE STRUCTURE

NºPublicación:  EP4678616A1 14/01/2026
Solicitante: 
MURATA MANUFACTURING CO [JP]
Murata Manufacturing Co., Ltd
EP_4678616_A1

Resumen de: EP4678616A1

The present invention provides a method for manufacturing a sintered body, the method including heating a mixture that contains a plurality of particles of a metal oxide having a spinel-type structure, and a metal acetylacetonate under pressure at a temperature of a melting point or higher of the metal acetylacetonate and 600°C or lower, to form a sintered body that contains the metal oxide having the spinel-type structure. Further, the present invention provides a structure manufactured by the method, and a composite structure formed by joining the structure and a base material together with a joining layer.

BATTERY AND ELECTRIC DEVICE

NºPublicación:  EP4679599A1 14/01/2026
Solicitante: 
CONTEMPORARY AMPEREX TECHNOLOGY CO LTD [CN]
Contemporary Amperex Technology Co., Limited
EP_4679599_PA

Resumen de: EP4679599A1

The present application provides a battery and an electric device. The battery comprises a case, battery cells and a protection plate. The case has an accommodating cavity. The case comprises a top wall, the top wall is located on the upper side of the accommodating cavity in the vertical direction, and a flow channel for a heat exchange medium to flow is formed in the top wall. The battery cells are accommodated in the accommodating cavity. The protection plate is provided on the side of the top wall distant from the battery cells and is connected to the top wall. The protection plate can protect the top wall from the upper side, so as to reduce the impact force on the top wall applied from the upper side, thereby reducing deformation of the top wall, improving the uniformity of heat exchange, reducing the risk of heat exchange medium leakage, and improving the reliability of the battery.

SYSTEMS, APPARATUSES, AND METHODS FOR DETERMINING QUANTITIES OF MULTIPLE VAPORS USING A SINGLE SENSOR

NºPublicación:  EP4679070A1 14/01/2026
Solicitante: 
HONEYWELL INT INC [US]
Honeywell International Inc
EP_4679070_PA

Resumen de: EP4679070A1

Embodiments of the present disclosure provide systems, apparatuses, and methods for determining quantities of multiple vapors using a single sensor. In one embodiment, a method includes determining, by one or more processors an impedance of a sensing element; determining, by the one or more processors, a capacitance of the sensing element; and determining, by the one or more processors and based at least in part on (i) the impedance of the sensing element and (ii) the capacitance of the sensing element, (a) a quantity of a first vapor that has reacted with the sensing element and (b) a quantity of a second vapor that has reacted with the sensing element.

BATTERY CHARGING SYSTEM FOR CHARGING AN ENERGY STORAGE DEVICE BASED ON USAGE INFORMATION

NºPublicación:  EP4679668A1 14/01/2026
Solicitante: 
ILLINOIS TOOL WORKS [US]
Illinois Tool Works Inc
EP_4679668_PA

Resumen de: EP4679668A1

A battery charging system comprises power conversion circuitry configured to convert input power to charging power; communications circuitry configured to access usage information from a management system of an energy storage device, the usage information comprising a plurality of charging periods and a plurality of discharging periods of the energy storage device; and control circuitry configured to: predict an available charging period based on the usage information; determine a target state of charge of the energy storage device based on the usage information; determine a charging curve configured to charge the energy storage device to the target state of charge by an end time of the available charging period; and control the power conversion circuitry to charge the energy storage device using the charging curve.

METHOD AND SYSTEM FOR DESIGNING A BATTERY MODULE

NºPublicación:  EP4679561A1 14/01/2026
Solicitante: 
SAMSUNG SDI CO LTD [KR]
SAMSUNG SDI CO., LTD
EP_4679561_PA

Resumen de: EP4679561A1

The present disclosure relates to a method and system for designing a battery module. The method of designing an optimal battery module may include: receiving target design information about a target battery module that includes a target battery cell; predicting aging of the target battery cell based on the target design information by using a cell aging prediction model that correlates a design of a battery module including a battery cell and aging of the battery cell; and determining whether the target design information is feasible based on the target design information and the predicted aging of the target battery cell.

Battery cluster and energy storage

NºPublicación:  GB2642583A 14/01/2026
Solicitante: 
SUNGROW POWER SUPPLY CO LTD [CN]
Sungrow Power Supply Co., Ltd
GB_2642583_PA

Resumen de: GB2642583A

The present application provides a battery cluster and an energy storage system. The battery cluster, by means of an installation position provided for a battery pack in a fixing apparatus, can achieve the fixation of the battery pack; moreover, a fixing position is also provided for a cable in the fixing apparatus, and the cable is fixed to the corresponding fixing position, so that when the battery cluster is transported, the cable and the fixing apparatus can be packaged together for transportation, and the transportation cost is thus reduced.

SECONDARY BATTERY CHARGE AND DISCHARGE PIN AND PROBE FOR SECONDARY BATTERY CHARGE AND DISCHARGE TEST INCLUDING THE SAME

NºPublicación:  EP4679667A1 14/01/2026
Solicitante: 
SAMSUNG SDI CO LTD [KR]
SAMSUNG SDI CO., LTD
EP_4679667_PA

Resumen de: EP4679667A1

The present disclosure provides a secondary battery charge and discharge pin (120, 220, 420, 600, 800, 1020, 1312) and a probe for a secondary battery charge and discharge test including the same. A secondary battery charge and discharge pin (120, 220, 420, 600, 800, 1020, 1312) according to the present disclosure includes a head (122, 222, 422, 1100, 1314) configured to come into contact with a terminal of a secondary battery (112, 312, 512, 712, 912, 1012), and an insulating member (130, 230, 430, 630, 830, 930, 1030, 1130, 1230, 1316) configured to cover at least a part of the head (122, 222, 422, 1100, 1314).

COMPOSITE SEPARATOR AND SECONDARY BATTERY INCLUDING THE SAME

NºPublicación:  EP4679607A1 14/01/2026
Solicitante: 
SK INNOVATION CO LTD [KR]
SK IE TECH CO LTD [KR]
SK Innovation Co., Ltd,
SK ie technology Co., Ltd
EP_4679607_PA

Resumen de: EP4679607A1

Provided are a composite separator including: a porous substrate, and an adhesive layer which is provided on at least any one surface of the porous substrate and includes a core-shell type polymer fiber, and a secondary battery including the same.

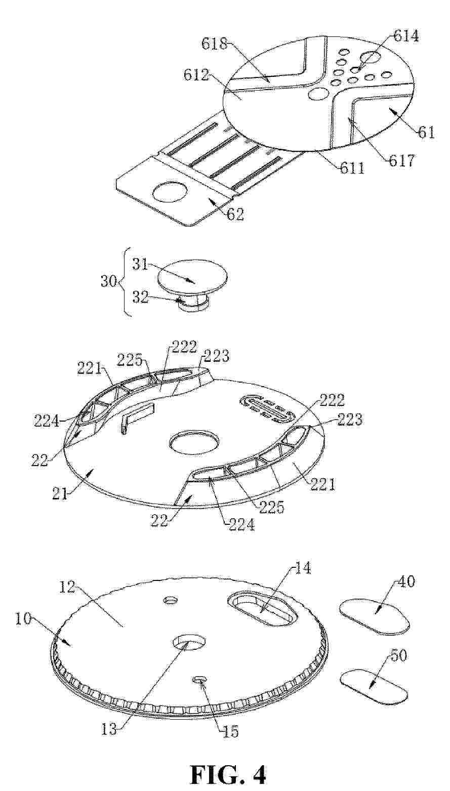
END COVER ASSEMBLY, ENERGY STORAGE APPARATUS, AND ELECTRICITY-CONSUMPTION DEVICE

NºPublicación:  EP4679622A1 14/01/2026
Solicitante: 
XIAMEN HITHIUM ENERGY STORAGE TECH CO LTD [CN]
Xiamen Hithium Energy Storage Technology Co., Ltd
EP_4679622_PA

Resumen de: EP4679622A1

An end cover assembly, an energy storage apparatus, and an electricity-consumption device are provided in the present disclosure. The end cover assembly includes an end cover (10), a lower plastic member (20), a terminal post (30), and a current-collector disk (60). The lower plastic member (20) includes a lower-plastic-member body (21) and a limiting protrusion portion (22). The limiting protrusion portion is implemented as two limiting protrusion portions that both protrude from the second surface. Each of the two limiting protrusion portions has a first sidewall surface (221), a second sidewall surface (222), and an end surface (223). The first sidewall surface is inclined. The second sidewall surface is inclined. The end surface is connected between the first sidewall surface and the second sidewall surface. Each of the two limiting protrusion portions defines a flow guiding groove (224). The current-collector disk (60) includes a connecting portion (62) and a disk body (61). In the thickness of the end cover assembly, the disk body (61) is positioned at one side of the two limiting protrusion portions (22) positioned facing away from the lower-plastic-member body (20). An orthographic projection of the disk body (61) on the second surface is positioned within the lower-plastic-member body (20). An orthographic projection of the end surface of each of the two limiting protrusion portions (22) on the second surface is positioned within the orthographic projection of the di

BATTERY PACK AND VEHICLE DEVICE INCLUDING SAME

NºPublicación:  EP4679558A1 14/01/2026
Solicitante: 
LG ENERGY SOLUTION LTD [KR]
LG Energy Solution, Ltd
EP_4679558_PA

Resumen de: EP4679558A1

A battery pack according to an embodiment of the present disclosure comprises: a plurality of battery cells; a pack frame to which the battery cells are directly mounted or the battery cells are mounted in the state of being housed in a module frame; a pack cover that covers the pack frame; and one or more frame members provided on the pack cover and containing cooling water or fire extinguishing water.

WELDING APPARATUS FOR CYLINDRICAL BATTERY HAVING WELDING ROD OVERLAP MEASURING UNIT

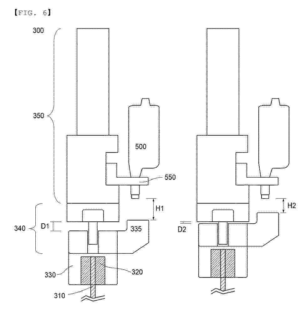
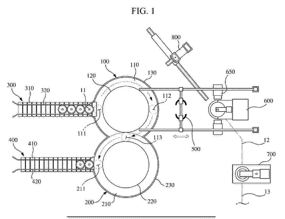
NºPublicación:  EP4678324A1 14/01/2026
Solicitante: 
LG ENERGY SOLUTION LTD [KR]
LG Energy Solution, Ltd
EP_4678324_PA

Resumen de: EP4678324A1

Disclosed is a welding apparatus including an upper welding unit including an upper welding rod, a first object to be joined located under the upper welding rod, a second object to be joined located under the first object to be joined, and a lower welding unit including a lower welding rod located under the second object to be joined, wherein the first object to be joined and the second object to be joined are welded to each other by resistance welding using the upper welding rod and the lower welding rod, and a displacement measurement unit configured to measure the displacement of a buffer portion provided on at least one of an upper end of the upper welding rod or a lower end of the lower welding rod by further pressing in the state in which the upper welding rod, the first object to be joined, the second object to be joined, and the lower welding rod face each other in tight contact with each other.

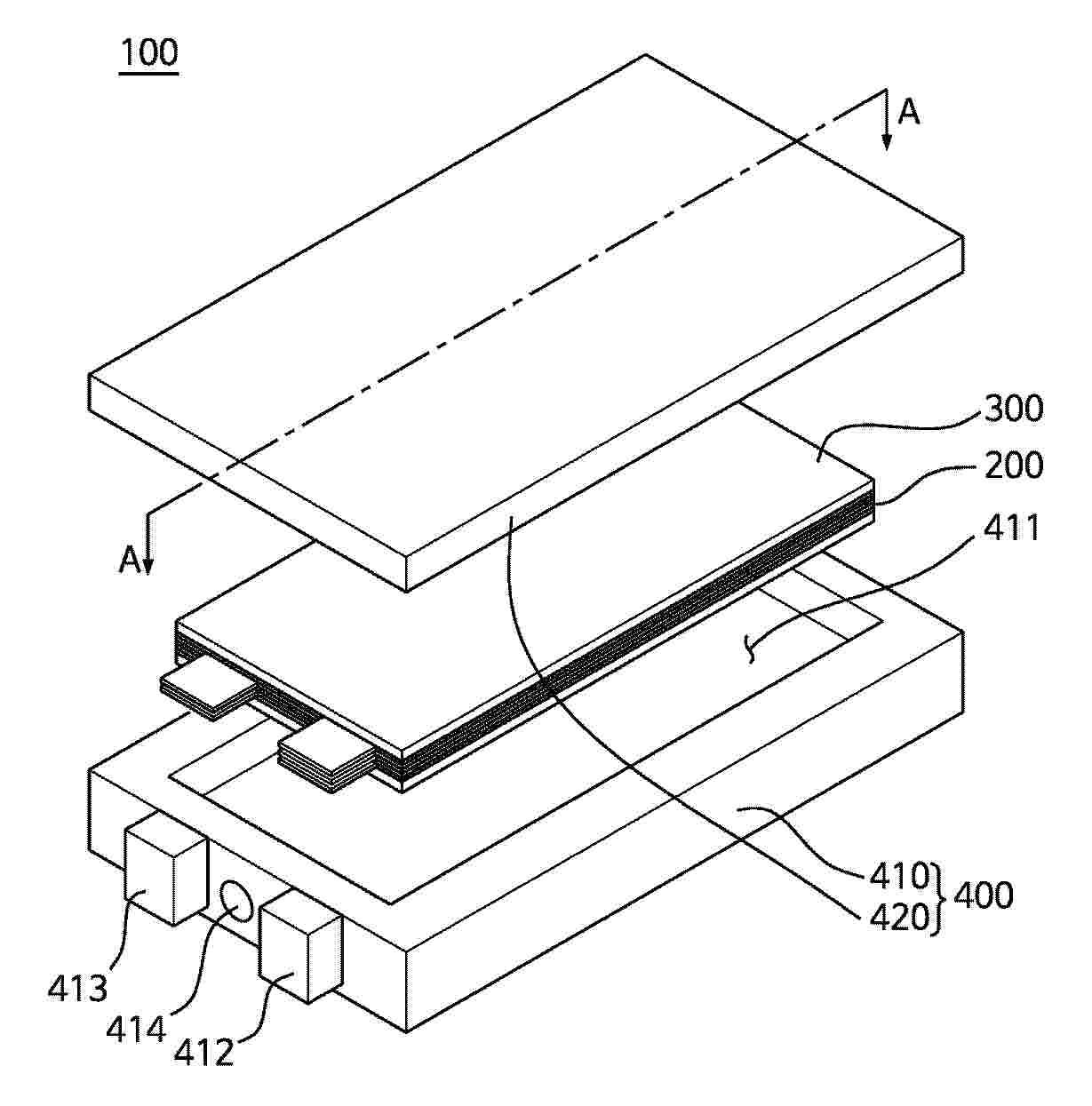
BATTERY MODULE, BATTERY PACK, AND VEHICLE INCLUDING SAME

NºPublicación:  EP4679569A1 14/01/2026
Solicitante: 
LG ENERGY SOLUTION LTD [KR]
LG Energy Solution, Ltd
EP_4679569_PA

Resumen de: EP4679569A1

Provided is a battery module capable of improving the cooling performance of battery cells by directly cooling the battery cells. A battery module of the present disclosure includes a cell module assembly including a plurality of battery cells; a module case that supports a bottom and side surfaces of the cell module assembly and opens a top of the cell module assembly; and a top cooling cover assembly that is coupled to the module case and covers the top of the cell module assembly to form a sealed structure and cools the battery cells from the top to the bottom thereof by directly spraying insulating oil.

GAS COLLECTION DEVICE

NºPublicación:  EP4679054A1 14/01/2026
Solicitante: 
LG ENERGY SOLUTION LTD [KR]
LG ENERGY SOLUTION, LTD
EP_4679054_PA

Resumen de: EP4679054A1

Disclosed is a gas collection device capable of precisely and stably transferring collected gases to be analyzed to a gas analysis module by automating the loading, unloading, punching, and the like of a plurality of batteries.

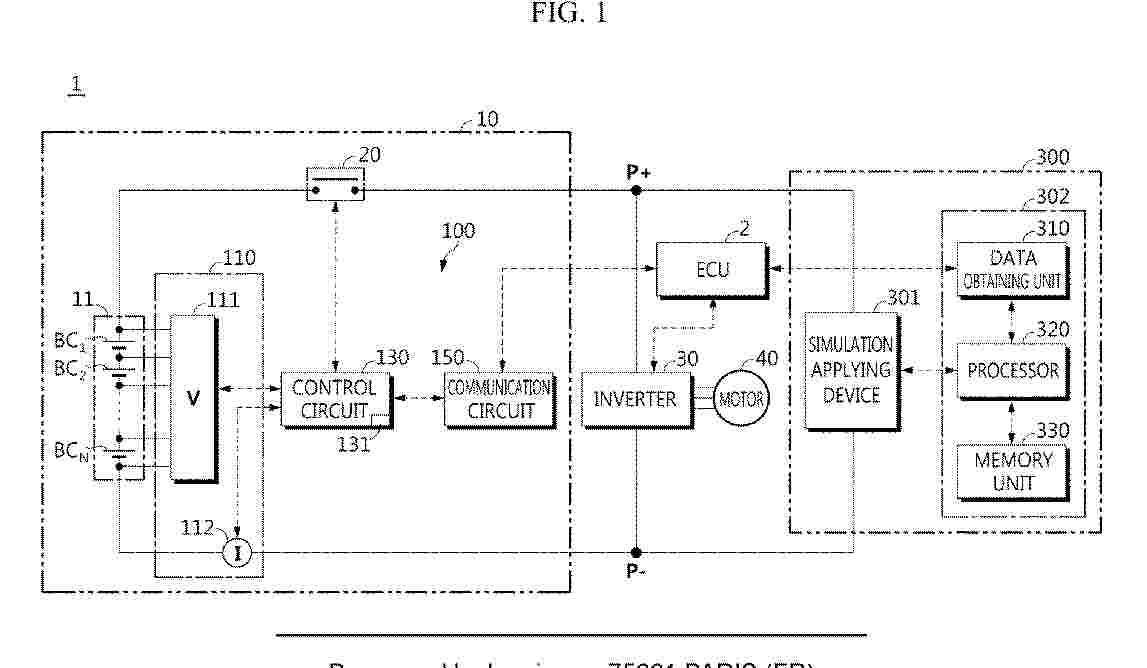
BATTERY DIAGNOSIS APPARATUS AND BATTERY DIAGNOSIS METHOD

NºPublicación:  EP4679116A1 14/01/2026
Solicitante: 
LG ENERGY SOLUTION LTD [KR]
LG Energy Solution, Ltd
EP_4679116_PA

Resumen de: EP4679116A1

Disclosed is a battery diagnosing apparatus and a battery diagnosing method. The battery diagnosing apparatus includes a data obtaining unit configured to obtain a first profile representing a capacity-voltage relationship of a battery cell containing an active material with a multi-phase characteristic, and a processor configured to generate a plurality of comparison profiles based on a plurality of electrode profiles included in an electrode profile map. The processor is configured to select, as a second profile, one comparison profile from the plurality of comparison profiles by comparing each of the plurality of comparison profiles with the first profile, and determine a negative electrode participation end point as a diagnostic factor representing a degradation state of the battery cell based on the second profile.

METHOD OF PRODUCING RECYCLED MATERIAL

NºPublicación:  EP4679563A1 14/01/2026
Solicitante: 
TOYOTA MOTOR CO LTD [JP]
TOYOTA JIDOSHA KABUSHIKI KAISHA
EP_4679563_PA

Resumen de: EP4679563A1

The present disclosure relates to a method of producing a recycled material. The method of producing a recycled material includes the following (a) and (b). (a) Preparing a battery material. (b) Generating carbon disulfide by causing carbon that is included in the battery material and sulfur to react with each other.

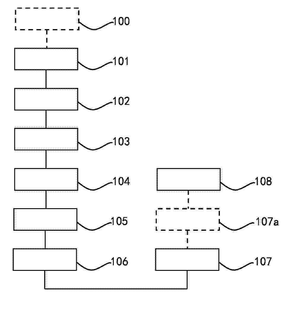
SEPARATION METHOD FOR ELECTRODE BODY

NºPublicación:  EP4679564A1 14/01/2026
Solicitante: 
PRIME PLANET ENERGY & SOLUTIONS INC [JP]
Prime Planet Energy & Solutions, Inc
EP_4679564_PA

Resumen de: EP4679564A1

A process of separating an electrode body 20 includes an immersing step S2 and an ultrasonic wave applying step S3. In the immersing step S2, the stacked electrode body 20 is immersed in a solution SL containing hydrofluoric acid. Thereafter, in the ultrasonic wave applying step S3, an ultrasonic wave is applied to the solution SL. In the ultrasonic wave applying step S3, the ultrasonic wave is applied in a state where a positive electrode tab 23 and a negative electrode tab 25 of the stacked electrode body 20 are gripped.

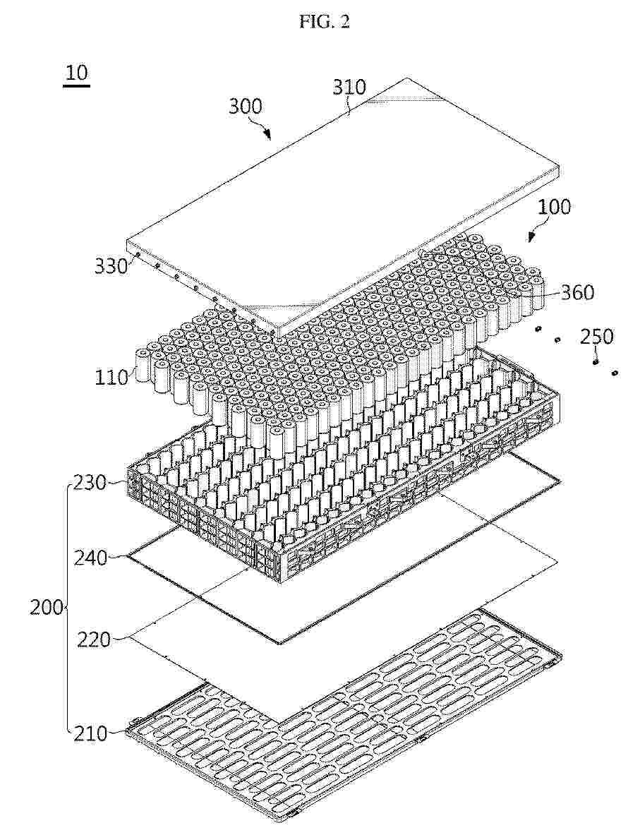
BATTERY PACK

NºPublicación:  EP4679618A1 14/01/2026
Solicitante: 
LG ENERGY SOLUTION LTD [KR]
LG Energy Solution, Ltd
EP_4679618_PA

Resumen de: EP4679618A1

A battery pack including first to third battery cell assemblies arranged in a first direction; fourth to sixth battery cell assemblies arranged in the first direction, the fourth to sixth battery cell assemblies being spaced apart from the first to third battery cell assemblies in a second direction that is perpendicular to the first direction; and first to fifth inter-bus bars, wherein the first inter-bus bar and the second inter-bus bar are spaced apart from each other in the second direction.

CURRENT COLLECTOR, SECONDARY BATTERY AND ELECTRONIC DEVICE

NºPublicación:  EP4679614A2 14/01/2026
Solicitante: 
AESC JAPAN LTD [JP]
AESC Japan Ltd
EP_4679614_PA

Resumen de: EP4679614A2

The present disclosure provides a current collector (150), configured to electrically connect an electrode assembly (120) and a terminal (140), and including: a terminal fixing part (10) and an electrode assembly connecting part (20) disposed around the terminal fixing part (10); and a first transition part (22), connected between the terminal fixing part (10) and the electrode assembly connecting part (20). The current collector (150) has an electrode assembly connecting side and a terminal connecting side distributed in opposite directions. The first transition part (22) and the terminal fixing part (10) respectively include a first surface (221) and a first end surface (101) located on the terminal connecting side, as well as a second surface (222) and a second end surface (102) located on the electrode assembly connecting side. The second surface (222) protrudes in a direction away from the terminal connecting side compared with the second end surface (102).

AMPHIPHILIC QUASI-SOLID-STATE POLYMER ELECTROLYTE AND PREPARATION METHOD THEREOF, AND LITHIUM-ION BATTERY

Nº publicación: EP4679526A1 14/01/2026

Solicitante:

JILIN DONGCHI NEW ENERGY TECH CO LTD [CN]
Jilin Dongchi New Energy Technology Co., Ltd

EP_4679526_PA

Resumen de: EP4679526A1

Provided is an amphiphilic quasi-solid-state polymer electrolyte and a preparation method thereof, and a lithium-ion battery, belonging to the technical field of lithium-ion batteries. A method for preparing the amphiphilic quasi-solid-state polymer electrolyte includes the following steps: (1) subjecting a lithium salt, an isocyanoacrylate, a fluorinated acrylate, a crosslinking agent, and a plasticizer to a first mixing to obtain a raw material premix; (2) subjecting the raw material premix obtained in step (1) and a thermal initiator to a second mixing to obtain a precursor solution; and (3) subjecting the precursor solution obtained in step (2) to thermal polymerization to obtain the amphiphilic quasi-solid-state polymer electrolyte. The amphiphilic quasi-solid-state polymer electrolyte prepared by the method exhibits high ionic conductivity and exceptional safety performance. The lithium-ion battery incorporating the amphiphilic quasi-solid-state polymer electrolyte demonstrates excellent cycling stability.

traducir