Ministerio de Industria, Turismo y Comercio LogoMinisterior
 

Alerta

Resultados 1111 resultados
LastUpdate Última actualización 27/01/2026 [07:19:00]
pdfxls
Publicaciones de los últimos 15 días/Last 15 days publications (excluidas pubs. CN y JP /CN and JP pubs. excluded)
previousPage Resultados 1000 a 1025 de 1111 nextPage  

CARBONACEOUS MATERIAL-COATED GRAPHITE PARTICLES, NEGATIVE ELECTRODE FOR LITHIUM ION SECONDARY BATTERIES, LITHIUM ION SECONDARY BATTERY, AND METHOD FOR PRODUCING CARBONACEOUS MATERIAL-COATED GRAPHITE PARTICLES

NºPublicación:  EP4678597A1 14/01/2026
Solicitante: 
JFE CHEMICAL CORP [JP]
JFE STEEL CORP [JP]
JFE Chemical Corporation,
JFE Steel Corporation
EP_4678597_A1

Resumen de: EP4678597A1

There is provided carbonaceous substance-coated graphite particles that exhibit an excellent cycle capacity maintaining characteristic when used as a negative electrode material for a lithium ion secondary battery. The carbonaceous substance-coated graphite particles include: graphite particles; and a carbonaceous substance covering at least part of surfaces of the graphite particles. An elastic modulus of the carbonaceous substance-coated graphite particles determined using a scanning probe microscope is not less than 10 GPa.

NEGATIVE ELECTRODE ACTIVE MATERIAL, NEGATIVE ELECTRODE SHEET, BATTERY, AND ELECTRIC DEVICE

NºPublicación:  EP4679525A1 14/01/2026
Solicitante: 
CONTEMPORARY AMPEREX TECHNOLOGY CO LTD [CN]
Contemporary Amperex Technology Co., Limited
EP_4679525_PA

Resumen de: EP4679525A1

The present application relates to a negative-electrode active material, a negative electrode plate, a battery and an electrical apparatus. The negative-electrode active material includes an artificial graphite particle and a carbon layer disposed on at least a portion of a surface of the artificial graphite particle, where a volume average particle size Dv50 of the negative-electrode active material satisfies: 3 µm ≤ Dv50 ≤ 7 µm; and a volume distribution particle size Dv1 of the negative-electrode active material satisfies: Dv1 ≤ 1.5 µm.

SECONDARY BATTERY

NºPublicación:  EP4679571A1 14/01/2026
Solicitante: 
SAMSUNG SDI CO LTD [KR]
SAMSUNG SDI CO., LTD
EP_4679571_PA

Resumen de: EP4679571A1

A secondary battery includes: an electrode assembly including a cathode, an anode, and a separator between the cathode and the anode; a case accommodating the electrode assembly in an internal space, and including a vent portion; a cap plate covering an upper portion of the case to seal the case; and an insulator between the electrode assembly and the case within the case. The vent portion is located at a side of the case opposite to the cap plate, and at least an area of the insulator overlapping with the vent portion includes a mesh area having a mesh shape.

ROLL MAP GENERATION SYSTEM AND METHOD FOR GENERATING ROLL MAP

NºPublicación:  EP4679512A1 14/01/2026
Solicitante: 
LG ENERGY SOLUTION LTD [KR]
LG Energy Solution, Ltd
EP_4679512_PA

Resumen de: EP4679512A1

A method for generating a roll map includes: cutting a cutting position of an electrode sheet that moves between an unwinder and a rewinder so as to provide a first lot; and identifying a correcting section of the electrode sheet. The correcting section is between the cutting position of the electrode sheet and a portion of the electrode sheet sensed by a sensing unit at the time the electrode sheet is cut.

CARBON MATERIAL?COATED GRAPHITE PARTICLES, LITHIUM ION SECONDARY BATTERY NEGATIVE ELECTRODE, LITHIUM ION SECONDARY BATTERY, AND PRODUCTION METHOD FOR CARBON MATERIAL?COATED GRAPHITE PARTICLES

NºPublicación:  EP4678596A1 14/01/2026
Solicitante: 
JFE CHEMICAL CORP [JP]
JFE STEEL CORP [JP]
JFE Chemical Corporation,
JFE Steel Corporation
EP_4678596_A1

Resumen de: EP4678596A1

There is provided carbonaceous substance-coated graphite particles that are excellent in all of output characteristic, fast charging characteristic, and cycle characteristic when used as a negative electrode material for a lithium ion secondary battery. The carbonaceous substance-coated graphite particles include graphite particles and a carbonaceous substance covering at least part of surfaces of the graphite particles. A mass reduction starting temperature when the carbonaceous substance-coated graphite particles are heated in a water vapor atmosphere is 800°C to 980°C, and a content of the carbonaceous substance is 0.1 to 15.0 parts by mass with respect to 100.0 parts by mass of the graphite particles.

COMPOSITION FOR NONAQUEOUS SECONDARY BATTERY POSITIVE ELECTRODES, SLURRY FOR NONAQUEOUS SECONDARY BATTERY POSITIVE ELECTRODES, POSITIVE ELECTRODE FOR NONAQUEOUS SECONDARY BATTERIES, AND NONAQUEOUS SECONDARY BATTERY

NºPublicación:  EP4679536A1 14/01/2026
Solicitante: 
ENEOS MAT CORPORATION [JP]
ENEOS Materials Corporation
EP_4679536_A1

Resumen de: EP4679536A1

Provided is a composition for a nonaqueous secondary battery positive electrode, which can reduce the occurrence of the corrosion of a positive electrode for a nonaqueous secondary battery through the prevention of an increase in pH of a slurry for a nonaqueous secondary battery positive electrode, and can improve the adhesiveness and charge-discharge durability characteristic of the positive electrode for a nonaqueous secondary battery.The composition for a nonaqueous secondary battery positive electrode according to the present invention includes: a polymer (A); at least one kind selected from a group consisting of a polyamine compound (B) and a boron-containing compound (C); and a liquid medium (E). When the total of repeating units in the polymer (A) is defined as 100 mass%, the polymer (A) contains 5 mass% to 75 mass% of a repeating unit (a1) derived from an aromatic vinyl compound, and 20 mass% to 90 mass% of a repeating unit (a2) derived from an unsaturated carboxylic acid ester.

CYLINDRICAL BATTERY

NºPublicación:  EP4679620A1 14/01/2026
Solicitante: 
PANASONIC ENERGY CO LTD [JP]
Panasonic Energy Co., Ltd
EP_4679620_PA

Resumen de: EP4679620A1

A cylindrical battery (10) comprises: an electrode body (14) in which a positive electrode (11) and a negative electrode (12) are wound with a separator (13) therebetween; an exterior can (20) in which the electrode body (14) is accommodated; a sealing body (19) which is mounted on a grooved part (28) that is formed along the circumferential direction of the exterior can (20) with a gasket (24) therebetween; and an upper insulation board (30) which is disposed between the grooved part (28) and the electrode body (14). The upper insulation board (30) has a body (31) which is mounted on the electrode body (14), and a folded part (32), the outer circumferential part of which is folded towards the body (31). The upper insulation board (30) is biased by the folded part (32) towards the electrode body (14).

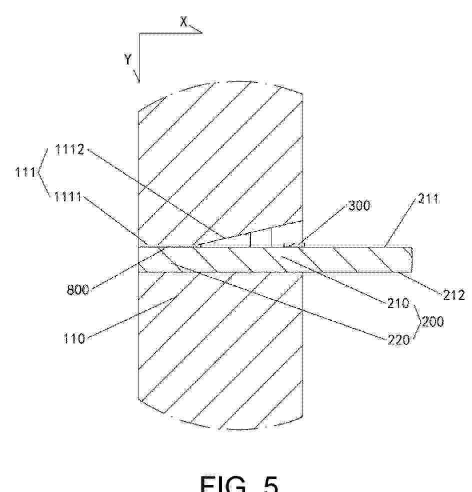
BATTERY MODULE AND BATTERY PACK

NºPublicación:  EP4679590A1 14/01/2026
Solicitante: 
AESC JAPAN LTD [JP]
AESC Japan Ltd
EP_4679590_PA

Resumen de: EP4679590A1

A battery module and a battery pack are provided. The battery module includes two end plate assemblies (100) spaced apart in a first direction and a middle plate (200) connected between the two end plate assemblies (100). The middle plate (200) includes a partition portion (210) and a connection portion (220) distributed in a straight line in the first direction and in a same plane. The middle plate (200) is inserted into and fitted with the corresponding end plate assembly (100) at least through the connection portion (220). At least one side plate surface of the partition portion (210) has a light shielding structure (300) protruding from a plate surface of the connection portion (220). The light shielding structure (300) is arranged on at least one side plate surface of the partition portion (210).

CONNECTOR AND BATTERY MODULE INCLUDING SAME

NºPublicación:  EP4679610A1 14/01/2026
Solicitante: 
LG ENERGY SOLUTION LTD [KR]
LG Energy Solution Ltd
EP_4679610_PA

Resumen de: EP4679610A1

The present invention relates to a connector and a battery module including the connector. The connector electrically connects members within a battery module to each other, the connector including one or more metals, and a dielectric. The dielectric has a dielectric constant (k) with an upper limit of 50 and a lower limit of 2.

BATTERY CELL AND ELECTRICAL DEVICE

NºPublicación:  EP4679540A1 14/01/2026
Solicitante: 
XIAMEN AMPACE TECH LIMITED [CN]
XIAMEN AMPACE TECHNOLOGY LIMITED
EP_4679540_PA

Resumen de: EP4679540A1

A battery cell includes an electrode assembly. Along a width direction of a positive electrode plate that is unwound, a first edge of a negative active material layer of a negative electrode plate and a second edge of a positive active material layer of the positive electrode plate are located on the same side of the electrode assembly. A distance between the first edge of one layer of the negative active material layer closest to a winding start end of the positive electrode plate, and the second edge of one layer of the positive active material layer closest to the winding start end of the positive electrode plate, is S<sub>1</sub>, and a distance between the first edge of one layer of the negative active material layer closest to a winding terminating end of the positive electrode plate, and the second edge of one layer of the positive active material layer closest to the winding terminating end of the positive electrode plate, is S<sub>0</sub>, S<sub>1</sub> < S<sub>0</sub>.

WIRELESS BATTERY MANAGEMENT SYSTEM, BATTERY PACK COMPRISING THE SAME, AND APPARATUS COMPRISING THE BATTERY PACK

NºPublicación:  EP4679562A1 14/01/2026
Solicitante: 
SK ON CO LTD [KR]
SK On Co., Ltd
EP_4679562_PA

Resumen de: EP4679562A1

Wireless battery management systems, battery packs, and apparatuses comprising the battery packs are disclosed. In an embodiment, a wireless battery management system may include a plurality of wireless electrochemical impedance spectroscopy (EIS) modules configured to connect to a respective battery module of a plurality of battery modules included in a battery pack and measure EIS of the respective battery module; and a first wireless battery management module configured to communicatively couple wirelessly with the plurality of wireless EIS modules, receive EIS measurement results wirelessly from the plurality of wireless EIS modules, and manage the plurality of battery modules based on the received EIS measurement results.

ELECTRODE ASSEMBLY, SECONDARY BATTERY INCLUDING SAME AND ELECTRODE ASSEMBLY INSPECTION METHOD

NºPublicación:  EP4679621A1 14/01/2026
Solicitante: 
SAMSUNG SDI CO LTD [KR]
SAMSUNG SDI CO., LTD
EP_4679621_PA

Resumen de: EP4679621A1

An electrode assembly includes a first electrode plate, including a first electrode non-coated portion spaced from opposite ends of the first electrode plate in a longitudinal direction and a substrate tab connected to one surface of the first electrode non-coated portion, a second electrode plate, including a second electrode non-coated portion spaced from opposite ends of the second electrode plate in the longitudinal direction and a substrate tab connected to one surface of the second electrode non-coated portion, a separator between the first electrode plate and the second electrode plate and a first insulating tape and a second insulating tape covering a part of the substrate tab of at least one of the first electrode plate and the second electrode plate. The first insulating tape and the second insulating tape have different colors from each other.

SODIUM SUPPLEMENT MATERIAL, PREPARATION METHOD THEREOF, POSITIVE ELETRODE PLATE AND SODIUM ION BATTERY

NºPublicación:  EP4679560A1 14/01/2026
Solicitante: 
HITHIUM TECH HK LTD [HK]
Hithium Tech HK Limited
EP_4679560_PA

Resumen de: EP4679560A1

The present disclosure provides a sodium supplement material, its preparation method, positive eletrode plate, and sodium-ion battery. The sodium supplement material includes a sodium supplement agent body and first particles exposed on the surface of the sodium supplement agent body. In any 300 nm × 200 nm region on the surface of the sodium supplement material, the number of first particles ranges from 2 to 20. The first particles include one or more conductive agent particles and one or more catalyst particles.

SYSTEMS AND METHODS RELATING TO AN ANALYTE SENSOR SYSTEM HAVING A BATTERY LOCATED WITHIN A DISPOSABLE BASE

NºPublicación:  EP4678101A2 14/01/2026
Solicitante: 
DEXCOM INC [US]
DexCom, Inc
EP_4678101_PA

Resumen de: EP4678101A2

An analyte sensor system is provided. The system comprises a base (1002, 2302-3902) configured to attach to a skin of a host. The base (1002, 2302-3902) comprises an analyte sensor configured to generate a sensor signal indicative of an analyte concentration level of the host; a battery; and a first plurality of contacts. The system further comprises a sensor electronics (2350-3950) module configured to releasably couple to the base. The sensor electronics (2350-3950) module comprises a second plurality of contacts (3454-3754), each configured to make electrical contact with a respective one of the first plurality of contacts when the sensor electronics (2350-3950) module is secured to the base (1002, 2302-3902) in any of a plurality of radial orientations; and a wireless transceiver configured to transmit a wireless signal based at least in part on the sensor signal.

E-CIGARETTE SYSTEM AND METHOD

NºPublicación:  EP4678047A2 14/01/2026
Solicitante: 
PHILIP MORRIS PRODUCTS SA [CH]
Philip Morris Products S.A
EP_4678047_PA

Resumen de: EP4678047A2

The present invention relates to a portable storage and carrying case for a personal vaporizer. The case comprises a main body, a movable holder, adapted to receive the personal vaporizer, a main power source, and electrical charging contacts, connected to the main power source. The main power source is located in the main body. The movable holder is adapted to guide electrical charging contacts of the personal vaporizer into accurate alignment with the electrical charging contacts of the portable storage and carrying case.

TRIPOD SYSTEM

NºPublicación:  EP4679601A2 14/01/2026
Solicitante: 
TECHTRONIC CORDLESS GP [US]
Techtronic Cordless GP
EP_4679601_PA

Resumen de: EP4679601A2

A tripod system (10, 2000) comprising a tripod (14, 2002) having a center column (30, 2006) having a first end (82, 2024) and a second end (86, 2026) opposite the first end (82, 2024), a plurality of legs (22, 2004) coupled to the center column (30, 2006), a battery receptacle (62, 2028) supported by the center column (30, 2006) or one of the plurality of legs (22, 2004), and a head (38, 338, 2074) supported by the center column (30, 2006); a battery pack (300, 2200, 2300) removably coupled to the battery receptacle (62, 2028); and an accessory device (200, 2400) removably coupled to the head (38, 338, 2074) such that the accessory device (200, 2400) is electrically powered by the battery pack (300, 2200, 2300) through the tripod (14, 2002), the accessory device (200, 2400) including an upper portion (204, 404, 504, 604) formed as a luminaire (228, 410, 510, 610), wherein the accessory device (200, 2400) is removable from the head (38, 338, 2074) and couplable directly to the battery pack (300, 2200, 2300), and wherein the head (38, 338, 2074) is pivotally coupled to the second end (86, 2026) of the center column (30, 2006).

SINGLE-CRYSTAL CATHODE MATERIAL AND PREPARING METHOD THEREOF

NºPublicación:  EP4678601A1 14/01/2026
Solicitante: 
GUIZHOU ZHENHUA E CHEM INC [CN]
GUIZHOU ZHENHUA E_CHEM CO LTD [CN]
GUIZHOU ZHENHUA YILONG E CHEM CO LTD [CN]
Guizhou Zhenhua E-CHEM Inc,
Guizhou Zhenhua E_CHEM Co., Ltd,
Guizhou Zhenhua Yilong E-CHEM Co., Ltd
EP_4678601_PA

Resumen de: EP4678601A1

The present application provides a single-crystal cathode material and preparing method thereof. The method involves mixing and ball milling a lithium source with a nickel-cobalt-manganese precursor and then performing a first sintering treatment to obtain the first main material, wherein sintering temperature is 650 to 950°C and sintering time is 15 to 30 hours. The first main material is then mixed and ball-milled with source A and performing a second sintering treatment to prepare the single-crystal cathode material, wherein sintering temperature is 650~ 950°C and sintering time is 5~15 hours. The present application uses a polycrystalline precursor to directly prepare a single-crystal cathode material without jet milling, making the process simple and cost-effective, and greatly enhancing the compatibility of the process.

ELECTROCHEMICAL DEVICE AND ELECTRONIC DEVICE CONTAINING SAME

NºPublicación:  EP4679519A2 14/01/2026
Solicitante: 
NINGDE AMPEREX TECHNOLOGY LTD [CN]
Ningde Amperex Technology Limited
EP_4679519_A2

Resumen de: EP4679519A2

An electrochemical device includes a positive electrode and an electrolytic solution. The positive electrode includes a positive current collector and a positive active material layer disposed on at least one surface of the positive current collector. The positive active material layer includes a positive active material. The positive active material contains an Mg element. Based on a total weight of the positive active material, a weight of the Mg element is X ppm, and 300 ≤ X ≤ 30000. The electrolytic solution contains carboxylate. Based on a total weight of the electrolytic solution, a weight percent of the carboxylate is Y%, and Y ≤ 60. The electrochemical device satisfies 5 ≤ X/Y ≤ 6000. The electrochemical device can effectively improve the high-temperature cycle performance and low-temperature discharge performance of the electrochemical device by controlling a relationship between the electrolytic solution and the positive active material.

ELECTROCHEMICAL DEVICE AND ELECTRONIC DEVICE CONTAINING SAME

NºPublicación:  EP4679520A2 14/01/2026
Solicitante: 
NINGDE AMPEREX TECHNOLOGY LTD [CN]
Ningde Amperex Technology Limited
EP_4679520_A2

Resumen de: EP4679520A2

An electrochemical device includes a positive electrode and an electrolytic solution. The positive electrode includes a positive current collector and a positive active material layer disposed on at least one surface of the positive current collector. The positive active material layer includes a positive active material. The positive active material contains an Mg element. Based on a total weight of the positive active material, a weight of the Mg element is X ppm, and 300 ≤ X ≤ 30000. The electrolytic solution contains carboxylate. Based on a total weight of the electrolytic solution, a weight percent of the carboxylate is Y%, and Y ≤ 60. The electrochemical device satisfies 5 ≤ X/Y ≤ 6000. The electrochemical device can effectively improve the high-temperature cycle performance and low-temperature discharge performance of the electrochemical device by controlling a relationship between the electrolytic solution and the positive active material.

BATTERY MODULE, BATTERY PACK COMPRISING SAME, AND VEHICLE

NºPublicación:  EP4679568A2 14/01/2026
Solicitante: 
LG ENERGY SOLUTION LTD [KR]
LG Energy Solution, Ltd
EP_4679568_PA

Resumen de: EP4679568A2

Provided is a battery module that prevents performance degradation due to a swelling phenomenon caused by charging and discharging and increases durability. The battery module includes a cell assembly comprising a plurality of battery cells stacked in a left-right direction; and a module housing configured to accommodate the cell assembly therein. The module housing includes an upper plate covering an upper portion of the cell assembly, a left plate covering a left portion of the cell assembly, a right plate covering a right portion of the cell assembly, and a lower plate covering a lower portion of the cell assembly, and at least one of the left plate and the right plate includes a support portion having a shape protruding toward the cell assembly from an inner surface facing the plurality of battery cells to pressurize at least a part of the cell assembly with a relatively small volume expansion.

BEADING DEVICE FOR CYLINDRICAL BATTERY ADDITIONALLY INCLUDING POSITION MEASUREMENT DEVICE

NºPublicación:  EP4679586A1 14/01/2026
Solicitante: 
LG ENERGY SOLUTION LTD [KR]
LG ENERGY SOLUTION, LTD
EP_4679586_PA

Resumen de: EP4679586A1

Disclosed is a beading apparatus for cylindrical batteries including: an individual beading unit including a beading knife configured to form a beading portion on a side surface of a cylindrical can; a backup roller configured to support the cylindrical can on the other side surface of the cylindrical can when the beading knife forms the beading portion on the cylindrical can; and an upper CFB having a bearing structure and a lower CFB having a bearing structure respectively disposed above and below; a cam structure on which the individual beading unit is provided, wherein the cam structure includes one or more wherein the cam structure includes one or more individual beading units disposed in a circle, and the cam structure is configured to rotate the individual beading unit about a circular central axis; and a position measurement unit configured to measure a position of at least one of the beading knife, the backup roller, the upper CFB, or the lower CFB. A beading method for cylindrical batteries using the same, a cylindrical can beaded using the beading apparatus for cylindrical batteries, a cylindrical battery including the same, and an electrical apparatus and transportation means including the same may be provided.

NEGATIVE ELECTRODE ACTIVE MATERIAL, AND PREPARATION METHOD THEREFOR AND USE THEREOF

NºPublicación:  EP4679522A1 14/01/2026
Solicitante: 
HUIZHOU LIWINON NEW ENERGY TECH CO LTD [CN]
Huizhou Liwinon New Energy Technology Co., Ltd
EP_4679522_A1

Resumen de: EP4679522A1

A negative electrode active material, and a preparation method therefor and a use thereof. The negative electrode active material comprises a graphite material, and the graphite material comprises first graphite and second graphite. Two types of graphite having a certain pressure-relief rebound rate are selected, and are combined with a Dn10 range controlled and a distribution width limited. A negative electrode sheet can have high particle packing density and compaction level, so that good electrical contact between negative electrode active materials and sufficient infiltration of an electrolyte can both be ensured, thereby prolonging high-temperature cycle life while considering charging capability and energy density.

POSITIVE ELECTRODE ACTIVE MATERIAL AND PREPARATION METHOD THEREFOR, POSITIVE ELECTRODE SHEET, BATTERY, AND ELECTRIC DEVICE

NºPublicación:  EP4679518A1 14/01/2026
Solicitante: 
BEIJING EASPRING MAT TECH CO LTD [CN]
Beijing Easpring Material Technology Co., Ltd
EP_4679518_A1

Resumen de: EP4679518A1

The present application relates to the technical field of lithium-ion battery, and particularly, to a cathode active material and a preparation method thereof, a positive electrode plate, a battery, and an electrical apparatus. An offset angle of a (104) diffraction peak of the cathode active material is αm. n is the number of charging cycles of a battery including the cathode active material, where n is an integer; m% is a percentage of a charging capacity to a total capacity of the battery at a n-th charging cycle of the battery; αm is a 20 value corresponding to the (104) diffraction peak in an XRD diffraction spectrum of the cathode active material when the percentage of the charging capacity to the total capacity of the battery is m% at the n-th charging cycle of the battery; αm satisfies: α<100>50 - α<100>0≤0.250°; and α<100>100 - α<100>0≤1.500°. The cathode active material can remain stable in multiple charging and discharging processes, and the battery containing the same has a long cycle life.

ELECTRODE CURRENT COLLECTOR, MANUFACTURING METHOD THEREOF, AND SECONDARY BATTERY ELECTRODE ASSEMBLY COMPRISING SAME

NºPublicación:  EP4679539A1 14/01/2026
Solicitante: 
LG ENERGY SOLUTION LTD [KR]
LG Energy Solution, Ltd
EP_4679539_PA

Resumen de: EP4679539A1

Disclosed are an electrode current collector including a first metal layer, a polymer resin layer provided on one surface of the first metal layer, and a second metal layer provided on one surface of the polymer resin layer, wherein the area of the polymer resin layer is less than the area of the first metal layer and less than the area of the second metal layer, a method of manufacturing the same, and a secondary battery electrode assembly including the same.

COMPOSITE NEGATIVE ELECTRODE SHEET, PREPARATION METHOD THEREFOR, AND LITHIUM ION BATTERY USING SAME

Nº publicación: EP4679517A1 14/01/2026

Solicitante:

EVE POWER CO LTD [CN]
Eve Power Co., Ltd

EP_4679517_PA

Resumen de: EP4679517A1

A composite negative electrode sheet, a preparation method thereof, and a lithium ion battery using the same are provided. The composite negative electrode sheet includes a current collector, an active coating and an insulation coating that are disposed in sequence. The insulation coating includes a polymer, an inorganic filler, and a fast ion conductor, the active coating includes a binder and an active material, and a solubility parameter difference between the polymer and the binder is expressed as |Δδ| that is greater than 0.5 (J/cm<3>)<1/2>.

traducir