Ministerio de Industria, Turismo y Comercio LogoMinisterior
 

Alerta

Resultados 1111 resultados
LastUpdate Última actualización 27/01/2026 [07:19:00]
pdfxls
Publicaciones de los últimos 15 días/Last 15 days publications (excluidas pubs. CN y JP /CN and JP pubs. excluded)
previousPage Resultados 975 a 1000 de 1111 nextPage  

PROCESS

NºPublicación:  EP4676878A1 14/01/2026
Solicitante: 
MEXICHEM UK LTD [GB]
Mexichem UK Limited
KR_20250156109_A

Resumen de: MX2025010639A

A process for the at least partial conversion of a bisfluorsulfonimide (HFSI) to a metal bisfluorsulfonimide (MHFSI), comprising: feeding a composition comprising a metai bicarbonate, a solvent and a composition comprising bisfluorsulfonimide into a reactor to form an admixture thereof; and allowing the metal bicarbonate and bisfluorsulfonimide to react together.

A TRAY AND A SYSTEM FOR HOUSING AT LEAST ONE BATTERY MODULE AND A METHOD FOR COOLING AT LEAST ONE BATTERY MODULE HOUSED IN A TRAY OF A SYSTEM

NºPublicación:  EP4677681A1 14/01/2026
Solicitante: 
SABIC GLOBAL TECHNOLOGIES BV [NL]
SABIC Global Technologies B.V
CN_120937175_A

Resumen de: WO2024213356A1

The present invention relates to a tray for housing at least one battery module, the tray comprising a bottom wall and side walls defining a receiving space for the at least one battery module, and at least one coolant inlet and at least one coolant outlet, wherein at least one of the side walls and/or the bottom wall comprises a plate shaped base part, and a first thermoplastic-based layer, preferably a polyolefin-based layer, particularly preferably a polyolefin-based film, attached to or positioned against the base part, and a second thermoplastic-based layer, preferably a polyolefin-based layer, particularly preferably a polyolefin-based film, bonded to the first layer, wherein at least one channel is provided between the first layer and the second layer for a flow of a coolant medium, wherein the channel is in connection with the at least one coolant inlet and with the at least one coolant outlet such that a coolant medium can flow through the channel, wherein the wall concerned is oriented in the tray such that the second layer faces the receiving space. The invention also relates to a system for housing at least one battery module and to a method for cooling at least one battery module housed in a tray of a system.

LID CLOSURE FOR A SECONDARY CELL

NºPublicación:  EP4679579A1 14/01/2026
Solicitante: 
NORTHVOLT AB [SE]
Northvolt AB
EP_4679579_PA

Resumen de: EP4679579A1

There is disclosed herein a cylindrical secondary cell (2000), comprising a cylindrical casing (234) housing an electrode assembly (232), and a lid (200) for closing an open end (234b) of the cylindrical casing (234). The lid (200) comprises a first region (201) extending in a first plane (204), a second region (202) surrounding the first region (201) and extending in a second plane (205) displaced in a first direction from the first plane (201), and a third region (203) surrounding the second region (202) and extending in a third plane (206) displaced in the first direction from the second plane (202). The first region (201) comprises an electrolyte filling hole (207), and the second region comprises a vent (208) configured to vent gases from the cylindrical casing (234). There is also disclosed herein a battery pack including such a cell, and a vehicle including such a battery pack.

VENT PLATE AND SECONDARY BATTERY CELL INCLUDING SAME

NºPublicación:  EP4679603A1 14/01/2026
Solicitante: 
SK ON CO LTD [KR]
SK On Co., Ltd
EP_4679603_PA

Resumen de: EP4679603A1

A secondary battery cell according to an embodiment of the present disclosure may include: a case forming an inner space and including an opening on at least one side thereof; an electrode assembly arranged in the inner space and having a negative electrode and a positive electrode alternately stacked with a separator therebetween; a cap plate arranged to cover the opening; and a vent portion that is opened when the inner space reaches a preset pressure range, and includes a base and a notch portion formed in the base, wherein the notch portion satisfies relational expression 1 with the base. 1.2<100*b*c/a<2.9 (a: Thickness of base, b: Width of notch portion, and c: Thickness of notch portion)

SECONDARY BATTERY

NºPublicación:  EP4679570A1 14/01/2026
Solicitante: 
SK ON CO LTD [KR]
SK On Co., Ltd
EP_4679570_PA

Resumen de: EP4679570A1

A secondary battery according to embodiments of the present disclosure comprises: a case; and a stack housed within the case, wherein the stack comprises: a plurality of electrode assemblies; and an insulating barrier structure disposed between the electrode assemblies. Accordingly, thermal transfer between the electrode assemblies is prevented, thereby improving the safety of the secondary battery.

POWER STORAGE DEVICE

NºPublicación:  EP4679605A1 14/01/2026
Solicitante: 
GS YUASA INT LTD [JP]
BLUE ENERGY CO LTD [JP]
GS Yuasa International Ltd,
Blue Energy Co., Ltd
EP_4679605_PA

Resumen de: EP4679605A1

Provided in this embodiment is an electric storage apparatus includes: a plurality of electric storage devices arranged in a first direction and each including a gas release valve directed in a second direction orthogonal to the first direction; a duct part disposed to overlap the gas release valve of each of the electric storage devices in the second direction; an adjacent member including a body located between each adjacent ones in the first direction of electric storage devices, and a locking piece extending from the body along the duct part in a direction away in the second direction from the body to lock the duct part; and an abutment part in abutment with the locking piece from an opposite side to the duct part in a third direction orthogonal to each of the first direction and the second direction.

POWER STORAGE DEVICE

NºPublicación:  EP4679604A1 14/01/2026
Solicitante: 
GS YUASA INT LTD [JP]
GS Yuasa International Ltd
EP_4679604_PA

Resumen de: EP4679604A1

An energy storage apparatus of an embodiment includes: a plurality of energy storage devices including a gas release valve and arranged in a predetermined direction; an elongated member; a sandwiched member sandwiched between the plurality of energy storage devices and the elongated member; and an adjacent member disposed between the energy storage devices. The adjacent member includes an adjacent member main body located between the energy storage devices, and a locking piece. The locking piece includes a locking piece main body extending from the adjacent member main body along the elongated member in a facing direction of the gas release valve and the elongated member, and a locking portion extending in an extending direction of the elongated member from a position spaced apart from the adjacent member main body in the locking piece main body, or a locking portion extending in a direction orthogonal to the facing direction and away from the elongated member.

POWER STORAGE DEVICE, BARRIER FILM, COVER UNIT, AND METHOD FOR PRODUCING COVER UNIT

NºPublicación:  EP4679588A1 14/01/2026
Solicitante: 
DAINIPPON PRINTING CO LTD [JP]
Dai Nippon Printing Co., Ltd
EP_4679588_PA

Resumen de: EP4679588A1

This power storage device is provided with: an electrode body; an outer package in which the electrode body is sealed; and a barrier film. The outer package comprises: an outer package film which enfolds the electrode body in such a manner that an opening is formed; and a cover member which is disposed at the position of the opening. The cover member has: a first surface that faces the electrode body; a second surface that is on the reverse side of the first surface; and a sealing surface that is connected to the first surface and the second surface. The barrier film is joined to the cover member so as to cover at least a part of the sealing surface.

POWER STORAGE DEVICE, COVER MEMBER, FIXING JIG, METHOD FOR PRODUCING POWER STORAGE DEVICE, AND TRANSPORT JIG

NºPublicación:  EP4679582A1 14/01/2026
Solicitante: 
DAINIPPON PRINTING CO LTD [JP]
Dai Nippon Printing Co., Ltd
EP_4679582_PA

Resumen de: EP4679582A1

This power storage device is provided with an electrode body and an outer package in which the electrode body is sealed. The outer package comprises an outer package film which enfolds the electrode body in such a manner that an opening is formed, and a cover member which is disposed at the position of the opening. The cover member has a first surface that faces the electrode body, a second surface that is on the reverse side of the first surface, and a projection that protrudes from the second surface.

METHOD FOR PRODUCING POWER STORAGE DEVICE, AND POWER STORAGE DEVICE

NºPublicación:  EP4679581A1 14/01/2026
Solicitante: 
DAINIPPON PRINTING CO LTD [JP]
Dai Nippon Printing Co., Ltd
EP_4679581_PA

Resumen de: EP4679581A1

Disclosed is a method for producing a power storage device that comprises an electrode body and an outer package in which the electrode body is sealed. The outer package comprises: an outer package film which enfolds the electrode body in such a manner that an opening is formed; a cover member which is disposed at the position of the opening; and a sealing part at which the cover member and the outer package film are joined to each other. This method for producing a power storage device comprises a sealing step in which the sealing part is formed using a sealing device, and the sealing step comprises a first sealing step in which the sealing part is formed, while moving one of the sealing device and the cover member relative to the other one.

A TRAY AND A SYSTEM FOR HOUSING A PLURALITY OF INDIVIDUAL BATTERY MODULES, AND A METHOD FOR COOLING A PLURALITY OF BATTERY MODULES HOUSED IN A TRAY OF SUCH A SYSTEM

NºPublicación:  EP4677680A1 14/01/2026
Solicitante: 
SABIC GLOBAL TECHNOLOGIES BV [NL]
SABIC Global Technologies B.V
CN_120937173_A

Resumen de: WO2024213355A1

The present invention relates to a tray for housing a plurality of individual battery modules, the tray comprising a bottom wall and side walls defining a receiving space for the plurality of individual battery modules, wherein the tray has one or more inner walls extending between opposite side walls and subdividing the receiving space in a plurality of individual battery module receiving chambers each bounded by a part of the bottom wall and by one or more side walls and/or inner wall or walls, and a coolant inlet and a coolant outlet, wherein at least one of the side walls and/or at least one of the one or more inner walls comprises a plate shaped base part made of a thermoplastic material and comprising a wall-channel for a flow of a coolant medium on at least one plate side of the base part, wherein the wall-channel is in connection with the coolant inlet and with the coolant outlet such that a coolant medium can flow through the wall-channel, and a thermoplastic-based layer bonded to the base part such that it covers and thereby closes off the wall-channel, wherein the wall concerned is oriented in the tray such that it faces one or more of the battery module receiving chambers with a plate side thereof having the layer bonded thereto, and wherein the bottom wall comprises a plate shaped base part made of a thermoplastic material and comprising a bottom-channel for a flow of a coolant medium on at least one plate side of the base part, wherein the bottom-channel is in c

A TRAY AND A SYSTEM FOR HOUSING A PLURALITY OF INDIVIDUAL BATTERY MODULES, AND A METHOD FOR COOLING A PLURALITY OF BATTERY MODULES HOUSED IN A TRAY OF SUCH A SYSTEM

NºPublicación:  EP4677679A1 14/01/2026
Solicitante: 
SABIC GLOBAL TECHNOLOGIES BV [NL]
SABIC Global Technologies B.V
CN_120937174_A

Resumen de: WO2024213354A1

The present invention relates to a tray for housing a plurality of individual battery modules, the tray comprising a bottom wall and side walls defining a receiving space for the plurality of individual battery modules, wherein the tray has one or more inner walls extending between opposite side walls and subdividing the receiving space in a plurality of individual battery module receiving chambers each bounded by a part of the bottom wall and by one or more side walls and/or inner wall or walls, and a coolant inlet and a coolant outlet, wherein at least one of the side walls and/or at least one of the one or more inner walls comprises a plate shaped base part made of a thermoplastic material and comprising a wall-channel for a flow of a coolant medium on at least one plate side of the base part, wherein the wall-channel is in connection with the coolant inlet and with the coolant outlet such that a coolant medium can flow through the wall-channel, and a thermoplastic-based layer bonded to the base part such that it covers and thereby closes off the wall-channel, wherein the wall concerned is oriented in the tray such that it faces one or more of the battery module receiving chambers with a plate side thereof having the layer bonded thereto. The invention also relates to a system including one or more of said trays and a cooling system as well as to a method for cooling a plurality of battery modules.

FRAME FOR VEHICLE BATTERY

NºPublicación:  EP4677672A1 14/01/2026
Solicitante: 
JAGUAR LAND ROVER LTD [GB]
Jaguar Land Rover Limited
WO_2024188929_PA

Resumen de: WO2024188929A1

Aspects of the present invention relate to a frame, a solid state cell, a battery subassembly, a battery module, a battery pack and a vehicle. The frame (300) is retaining at least one cell (210) of a vehicle battery. The frame (300) comprises: a first member (310) comprising a first joining portion (312) and a first clamping portion (314) and a second member (320) comprising a second joining portion (322) and a second clamping portion (324). The first member (310) and second member (320) are arranged to co-operate, in use, to retain a first cell (210) of the vehicle battery between the first clamping portion (314) and the second clamping portion (324) through a clamping force applied by securing the first joining portion (312) to the second joining portion (322). The first member (310) defines a first channel (316) through the first member for a flow of coolant.

ELECTRODE MATERIAL, ELECTRODE SLURRY, PRODUCTION METHOD FOR ELECTRODE MATERIAL, ELECTRODE, AND PRODUCTION METHOD FOR ELECTRODE

NºPublicación:  EP4679532A1 14/01/2026
Solicitante: 
UNIV SHINSHU [JP]
TORAY ENG CO LTD [JP]
SHINSHU UNIVERSITY,
Toray Engineering Co., Ltd
EP_4679532_PA

Resumen de: EP4679532A1

An electrode material 1 for a secondary battery, which is capable of suppressing a decrease in an electrode capacity and having excellent cycle characteristics, includes an electrode active material 10, and the entire surface or part of the surface of the electrode active material 10 is covered in a shell shape with a nonaqueous binder 20.

ADHESIVE-TAPE AFFIXING DEVICE AND WINDING APPARATUS

NºPublicación:  EP4679544A1 14/01/2026
Solicitante: 
WUXI LEAD INTELLIGENT EQUIPMENT CO LTD [CN]
Wuxi Lead Intelligent Equipment Co., Ltd
EP_4679544_PA

Resumen de: EP4679544A1

A winding apparatus includes a tape bonding device. The tape bonding device is arranged on a conveying path of a pole piece. The tape bonding device includes: a pulling-apart mechanism; a pole piece cutting mechanism and a tape bonding mechanism. The pole piece cutting mechanism is configured to cut the pole piece so that the pole piece is divided into a first pole piece and a second pole piece. The first pole piece and the second pole piece each has a first free end and a second free end that are oppositely arranged. The pulling-apart mechanism is configured to pull the first pole piece and/or the second pole piece so that a gap is formed between the first free end and the second free end in a conveying direction of the pole piece. The tape bonding mechanism includes a first tape feeding assembly, a tape bonding assembly and a first tape storing assembly.

METHOD FOR ASSESSING RECYCLING OF SECONDARY BATTERY ELECTRODE, PROGRAM FOR ASSESSING RECYCLING OF SECONDARY BATTERY ELECTRODE, AND DEVICE FOR ASSESSING RECYCLING OF SECONDARY BATTERY ELECTRODE

NºPublicación:  EP4679664A1 14/01/2026
Solicitante: 
MAXELL LTD [JP]
Maxell, Ltd
EP_4679664_PA

Resumen de: EP4679664A1

A method of determining the recyclability of an electrode of a secondary battery is provided that allows determining the degree of deterioration of an electrode to be recycled. A method of determining the recyclability of an electrode of a secondary battery is a method of determining the recyclability of an electrode of a secondary battery by determining the degree of deterioration of an electrode included in a secondary battery subject to determination, including: a threshold value estimation step (step S1) in which a threshold value Dth of electrolyte diffusion coefficient of the secondary battery subject to determination is estimated using a learned model and based on input data, the input data being data including some of the characteristic parameters of the secondary battery subject to determination; and a classification step (step S2) in which the threshold value Dth and a threshold value Dth0 of electrolyte diffusion coefficient of the secondary battery subject to determination or a secondary battery of the same type as the secondary battery subject to determination before deterioration are compared to classify the secondary battery subject to determination based on the difference between the threshold value Dth and the threshold value Dth0, ΔDth = Dth - Dth0.

RECYCLE DETERMINATION METHOD FOR ELECTRODE OF SECONDARY BATTERY AND RECYCLE DETERMINATION PROGRAM FOR ELECTRODE OF SECONDARY BATTERY

NºPublicación:  EP4679663A1 14/01/2026
Solicitante: 
MAXELL LTD [JP]
Maxell, Ltd
EP_4679663_PA

Resumen de: EP4679663A1

A method of determining the recyclability of an electrode of a secondary battery is provided that allows determining the degree of deterioration of an electrode to be recycled. The method of determining the recyclability of an electrode of a secondary battery includes: estimating characteristic parameters of the secondary battery subject to determination at the time of determination (step S1); obtaining the relationship between the electrolyte diffusion coefficient and the discharge capacity (step S2); based on the relationship between the electrolyte diffusion coefficient and the discharge capacity, determining a threshold value Dth of electrolyte diffusion coefficient (step S3); and comparing the threshold value Dth and a threshold value Dth0 of electrolyte diffusion coefficient before deterioration obtained in advance for the secondary battery subject to determination or a secondary battery of the same type as the secondary battery subject to determination, and, based on the difference between the threshold value Dth and the threshold value Dth0, ΔDth = Dth - Dth0, classifying the secondary battery subject to determination (step S4).

POWER STORAGE DEVICE, EXTERIOR FILM, AND METHOD FOR MANUFACTURING POWER STORAGE DEVICE

NºPublicación:  EP4679577A1 14/01/2026
Solicitante: 
DAINIPPON PRINTING CO LTD [JP]
Dai Nippon Printing Co., Ltd
EP_4679577_A1

Resumen de: EP4679577A1

This power storage device comprises an electrode assembly and an exterior body sealing the electrode assembly. The exterior body comprises an outer packaging film covering the electrode assembly so as to form an opening portion, and a lid body disposed at the opening portion. The outer packaging film has a first marking which is formed to correspond to at least a part of a corner portion of the lid body.

POWER STORAGE DEVICE, LID BODY, AND LID UNIT

NºPublicación:  EP4679580A1 14/01/2026
Solicitante: 
DAINIPPON PRINTING CO LTD [JP]
Dai Nippon Printing Co., Ltd
EP_4679580_PA

Resumen de: EP4679580A1

A power storage device according to the present invention comprises an electrode body and an exterior body that seals the electrode body. The exterior body includes: an exterior film that wraps around the electrode body such that an opening is formed; and a lid body that is placed on the opening. The electrode body includes a corner section at which an R surface is formed, the lid body includes a corner section at which an R surface is formed, and the absolute value of the difference between the radius of curvature of the corner section of the electrode body and the radius of curvature of the corner section of the lid body is 10 mm or less.

CONFIGURABLE BATTERY SYSTEM

NºPublicación:  EP4677715A1 14/01/2026
Solicitante: 
BLIXT TECH AB [SE]
BLIXT TECH AB
CN_120937207_PA

Resumen de: WO2024186252A1

Embodiments of invention relates to a configurable battery system (100) comprising: at least one port (110) for connecting the configurable battery system (100) to a power source (200) and/or a power consumer (300); and a set of battery modules (120) connected to each other via a set of conductive interfaces to form a set of interconnected battery modules, wherein a battery module (122) in the set of battery modules (120) comprises: a battery (170) connected between an input (132) and an output (134) of a conductive interface, a communication interface comprising an input (142) configured to receive one or more data bits (D1, D2) at a clock signal (C1 ) and an output (144) configured to output the one or more data bits (D1, D2) at a subsequent clock signal (C2); and wherein the battery module (122) is configured to operate in a first mode (M1 ) in which the battery (170) of the battery module (122) is connected in series with a battery (170') of a neighbouring battery module (122') or in a second mode (M2) in which the battery (170) of the battery module (122) is connected in a bypass state with the battery (170') of the neighbouring battery module (122') based on a value of the one or more data bits (D1, D2).

BATTERY SYSTEM AND USE THEREOF

NºPublicación:  EP4677677A1 14/01/2026
Solicitante: 
FRAUNHOFER GES FORSCHUNG [DE]
Fraunhofer-Gesellschaft zur F\u00F6rderung der angewandten Forschung e.V
DE_102023105963_PA

Resumen de: WO2024188821A1

The present invention relates to a battery system comprising a battery cell and a reversibly compressible body having a deformation sensor, and to the use of the compressible body in a battery system.

PROCESS FOR PREPARING PARTICLES OF SULFIDE SOLID MATERIAL

NºPublicación:  EP4676879A1 14/01/2026
Solicitante: 
SPECIALTY OPERATIONS FRANCE [FR]
SPECIALTY OPERATIONS FRANCE
CN_121175267_A

Resumen de: WO2024188825A1

The present disclosure relates to a process for preparing particles of sulfide solid material comprising at least Li, P, S and X elements, comprising the steps of: a) providing a powder of lithium sulfide (Li2S) having a D50-value ranging from 20 µm to 500 µm as measured by laser diffraction in para-xylene, a specific surface area equal or more than 5 m²/g as measured by nitrogen gas adsorption according to Brunauer-Emmet-Teller (BET) method, b) reacting Li2S powder of step a) with at least P2S5 and LiX, to obtain the Li, P, S and X containing sulfide solid material particles; wherein X is selected from the list consisting of F, Cl, I, Br, CN, NC, OCN, NCO, SCN, NCS and N3, or a combination thereof. It also relates to particles obtained by said process and their use for the preparation of an electrode, of an electrolyte layer of an electrode or of a separator.

REGENERATION DEVICE FOR REGENERATING USED FUEL OF FUEL CELL THAT USES METAL AS FUEL, REGENERATION METHOD, AND FUEL CELL COMPRISING REGENERATION DEVICE

NºPublicación:  EP4679572A1 14/01/2026
Solicitante: 
SOJITZ INSTITUTE OF INNOVATIVE TECH LTD [JP]
PUBLIC UNIV CORPORATION SUWA UNIV OF SCIENCE FOUNDATION [JP]
Sojitz Institute of Innovative Technologies, Ltd,
Public University Corporation Suwa University of Science Foundation
EP_4679572_PA

Resumen de: EP4679572A1

The present invention provides a fuel regeneration apparatus capable of preventing a short circuit due to an increase in the volume of metal. The present invention relates to a regeneration apparatus for regenerating fuel containing a metal oxide of a fuel cell using a metal as fuel, the apparatus comprising a container configured to be capable of accommodating the fuel containing the metal oxide, wherein the container comprises electrodes configured to be capable of applying a current to the fuel to reduce the metal oxide to a metal, and a crushing unit configured to be capable of mechanically crushing at least a part of the reduced metal generated on a surface of a negative electrode among the electrodes.

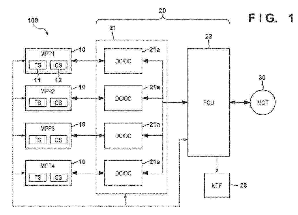
POWER CONTROL DEVICE, VEHICLE, AND POWER CONTROL METHOD

NºPublicación:  EP4679662A1 14/01/2026
Solicitante: 
HONDA MOTOR CO LTD [JP]
HONDA MOTOR CO., LTD
EP_4679662_PA

Resumen de: EP4679662A1

A power control device that controls transmission of power between a plurality of batteries connected in parallel and a load comprises: a power synthesis unit that synthesizes the power output from the plurality of batteries; and a power control unit that controls an output of the power from each of the plurality of batteries, and that also controls driving of the load with the power output from the power synthesis unit, wherein the power control unit determines a power value caused to be output from each of the plurality of batteries by performing: a setting process of setting a power limit value for limiting the output of the power for each of the plurality of batteries, based on temperature information of each of the plurality of batteries; and a distribution process of distributing a demand power value demanded for driving the load to the plurality of batteries so that a power value output from each of the plurality of batteries does not exceed the power limit value.

BATTERY REUSE ASSISTANCE DEVICE, BATTERY REUSE ASSISTANCE TERMINAL, AND BATTERY REUSE ASSISTANCE METHOD

Nº publicación: EP4679354A1 14/01/2026

Solicitante:

GS YUASA INT LTD [JP]
GS Yuasa International Ltd

EP_4679354_PA

Resumen de: EP4679354A1

A battery reuse assistance apparatus 2 is provided with: a simulator receiving portion 24 which receives a simulator for simulating a state of a battery; a data receiving portion 25 which receives operational history data at a predetermined point of time of the battery; an execution portion 26 which simulates the state of the battery by inputting the operational history data to the simulator; a storage portion 22 which stores the state which has been simulated as a battery state file at the predetermined point of time in association with the battery; and a provision portion 27 which provides, in response to a request or as an event, the battery state file or information based on the simulator, the battery state file, and supposed reuse operational data.

traducir