Ministerio de Industria, Turismo y Comercio LogoMinisterior
 

Alerta

Resultados 1111 resultados
LastUpdate Última actualización 26/01/2026 [07:08:00]
pdfxls
Publicaciones de los últimos 15 días/Last 15 days publications (excluidas pubs. CN y JP /CN and JP pubs. excluded)
previousPage Resultados 950 a 975 de 1111 nextPage  

ELECTRODES FOR BATTERIES

NºPublicación:  EP4677654A2 14/01/2026
Solicitante: 
NANORAMIC INC [US]
Nanoramic, Inc
KR_20250159685_PA

Resumen de: WO2024211042A2

Disclosed herein is a method comprising mixing a first polymer binder with carbonaceous conductive materials to produce a first blend; adding to the first blend a second polymer binder in a first solvent to produce a second blend; mixing the second blend; adding to the second blend a third polymer binder in a second solvent to produce a third blend; mixing the third blend; adding to the third blend an active material to form an active material composition; and mixing the active material composition.

LITHIUM-ION BATTERY MANAGEMENT SYSTEM (BMS) HAVING COMPACT HEAT SINKING ARRANGEMENT, LITHIUM-ION BATTERY HAVING BMS WITH COMPACT HEAT SINKING ARRANGEMENT, AND METHOD OF MAKING BMS WITH COMPACT HEAT SINKING ARRANGEMENT

NºPublicación:  EP4677685A1 14/01/2026
Solicitante: 
NOCO CO [US]
The Noco Company
GB_2642009_PA

Resumen de: GB2642009A

A battery management system (BMS) having a printed circuit board (PCB) with a diagonal arrangement for use in a Li-ion battery, a Li-ion battery having a battery management system (BMS) having a printed circuit board (PCB) with a diagonal arrangement, and a BMS having a printed circuit board with diagonal arrangement method.

LITHIUM SECONDARY BATTERY ELECTROLYTE AND LITHIUM SECONDARY BATTERY COMPRISING SAME

NºPublicación:  EP4679553A1 14/01/2026
Solicitante: 
SK ON CO LTD [KR]
SK On Co., Ltd
EP_4679553_PA

Resumen de: EP4679553A1

The present disclosure relates to a lithium secondary battery electrolyte comprising a phosphorofluoridate compound represented by chemical formula 1 and a lithium secondary battery comprising same. The lithium secondary battery comprising the electrolyte according to one embodiment produces an output that does not degrade even under high voltage, and has excellent lifespan characteristics, a high capacity recovery rate at high temperature, and excellent storage stability. In addition, the lithium secondary battery comprising the electrolyte according to one embodiment has excellent output characteristics resulting from reduced internal resistance of the battery, and exhibits excellent cycle characteristics and stability even when charged under high temperature and high voltage.

CARBON MATERIAL, NEGATIVE ELECTRODE, SECONDARY BATTERY, METHOD FOR MANUFACTURING CARBON MATERIAL, METHOD FOR MANUFACTURING NEGATIVE ELECTRODE, AND METHOD FOR MANUFACTURING SECONDARY BATTERY

NºPublicación:  EP4679534A1 14/01/2026
Solicitante: 
MITSUBISHI CHEM CORP [JP]
Mitsubishi Chemical Corporation
EP_4679534_A1

Resumen de: EP4679534A1

An object of the present invention is to provide: a carbon material that suppresses diffusion resistance of the secondary battery and improves rapid charging characteristics of the secondary battery when the carbon material is used in a negative electrode of the secondary battery; and a method for manufacturing the carbon material. The present invention relates to a carbon material containing graphite particles. The graphite particles are natural graphite coated with an amorphous carbonaceous substance. Moreover, in an electrode fabricated by adding a binder resin and a dispersion medium to the carbon material to form a slurry, applying the slurry to a metal current collector, drying the applied slurry to form an active material layer on the metal current collector, and then pressing the active material layer such that the active material layer has a density of 1.65 g/cm<sup>3</sup>, an orientation parameter intensity ratio I(002)/I(110) calculated from an intensity ratio of peaks corresponding to lattice planes (110) and (002), and I(002) and I(110) are obtained by a wide-angle X-ray diffraction measurement, is from 200 to 1200.

POWER STORAGE DEVICE

NºPublicación:  EP4679606A1 14/01/2026
Solicitante: 
GS YUASA INT LTD [JP]
GS Yuasa International Ltd
EP_4679606_PA

Resumen de: EP4679606A1

An energy storage apparatus according to the present embodiment includes a plurality of energy storage devices arranged in a first direction, the plurality of energy storage devices each including a gas release valve facing a second direction a pair of end members disposed on both sides of the plurality of energy storage devices in the first direction and a duct portion that overlaps the gas release valve in the second direction, and the duct portion includes a duct portion main body extending in the first direction a joint portion capable of releasing gas guided to one end of the duct portion main body in the first direction to an other member and an engaging portion that is disposed at the one end of the duct portion main body and engages with an end member.

METHOD OF PRODUCING RECYCLED MATERIAL

NºPublicación:  EP4679563A1 14/01/2026
Solicitante: 
TOYOTA MOTOR CO LTD [JP]
TOYOTA JIDOSHA KABUSHIKI KAISHA
EP_4679563_PA

Resumen de: EP4679563A1

The present disclosure relates to a method of producing a recycled material. The method of producing a recycled material includes the following (a) and (b). (a) Preparing a battery material. (b) Generating carbon disulfide by causing carbon that is included in the battery material and sulfur to react with each other.

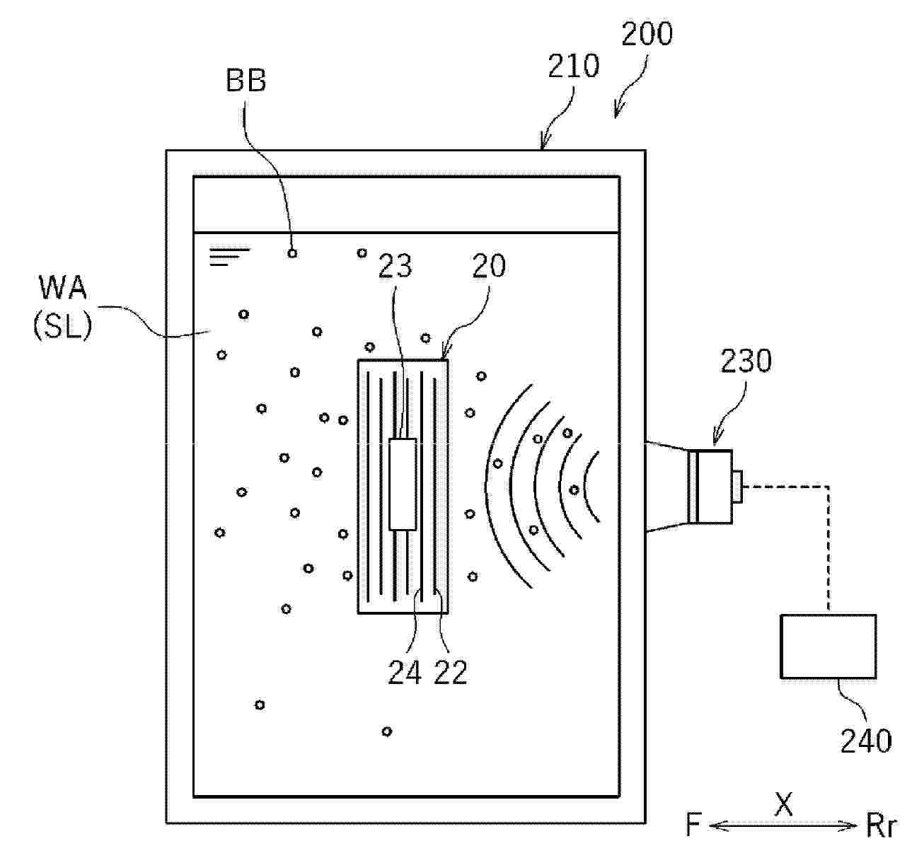
SEPARATION METHOD FOR ELECTRODE BODY

NºPublicación:  EP4679564A1 14/01/2026
Solicitante: 
PRIME PLANET ENERGY & SOLUTIONS INC [JP]
Prime Planet Energy & Solutions, Inc
EP_4679564_PA

Resumen de: EP4679564A1

A process of separating an electrode body 20 includes an immersing step S2 and an ultrasonic wave applying step S3. In the immersing step S2, the stacked electrode body 20 is immersed in a solution SL containing hydrofluoric acid. Thereafter, in the ultrasonic wave applying step S3, an ultrasonic wave is applied to the solution SL. In the ultrasonic wave applying step S3, the ultrasonic wave is applied in a state where a positive electrode tab 23 and a negative electrode tab 25 of the stacked electrode body 20 are gripped.

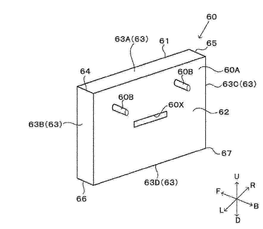
LID CLOSURE FOR A SECONDARY CELL

NºPublicación:  EP4679579A1 14/01/2026
Solicitante: 
NORTHVOLT AB [SE]
Northvolt AB
EP_4679579_PA

Resumen de: EP4679579A1

There is disclosed herein a cylindrical secondary cell (2000), comprising a cylindrical casing (234) housing an electrode assembly (232), and a lid (200) for closing an open end (234b) of the cylindrical casing (234). The lid (200) comprises a first region (201) extending in a first plane (204), a second region (202) surrounding the first region (201) and extending in a second plane (205) displaced in a first direction from the first plane (201), and a third region (203) surrounding the second region (202) and extending in a third plane (206) displaced in the first direction from the second plane (202). The first region (201) comprises an electrolyte filling hole (207), and the second region comprises a vent (208) configured to vent gases from the cylindrical casing (234). There is also disclosed herein a battery pack including such a cell, and a vehicle including such a battery pack.

SECONDARY BATTERY

NºPublicación:  EP4679570A1 14/01/2026
Solicitante: 
SK ON CO LTD [KR]
SK On Co., Ltd
EP_4679570_PA

Resumen de: EP4679570A1

A secondary battery according to embodiments of the present disclosure comprises: a case; and a stack housed within the case, wherein the stack comprises: a plurality of electrode assemblies; and an insulating barrier structure disposed between the electrode assemblies. Accordingly, thermal transfer between the electrode assemblies is prevented, thereby improving the safety of the secondary battery.

VENT PLATE AND SECONDARY BATTERY CELL INCLUDING SAME

NºPublicación:  EP4679603A1 14/01/2026
Solicitante: 
SK ON CO LTD [KR]
SK On Co., Ltd
EP_4679603_PA

Resumen de: EP4679603A1

A secondary battery cell according to an embodiment of the present disclosure may include: a case forming an inner space and including an opening on at least one side thereof; an electrode assembly arranged in the inner space and having a negative electrode and a positive electrode alternately stacked with a separator therebetween; a cap plate arranged to cover the opening; and a vent portion that is opened when the inner space reaches a preset pressure range, and includes a base and a notch portion formed in the base, wherein the notch portion satisfies relational expression 1 with the base. 1.2<100*b*c/a<2.9 (a: Thickness of base, b: Width of notch portion, and c: Thickness of notch portion)

POWER STORAGE DEVICE

NºPublicación:  EP4679604A1 14/01/2026
Solicitante: 
GS YUASA INT LTD [JP]
GS Yuasa International Ltd
EP_4679604_PA

Resumen de: EP4679604A1

An energy storage apparatus of an embodiment includes: a plurality of energy storage devices including a gas release valve and arranged in a predetermined direction; an elongated member; a sandwiched member sandwiched between the plurality of energy storage devices and the elongated member; and an adjacent member disposed between the energy storage devices. The adjacent member includes an adjacent member main body located between the energy storage devices, and a locking piece. The locking piece includes a locking piece main body extending from the adjacent member main body along the elongated member in a facing direction of the gas release valve and the elongated member, and a locking portion extending in an extending direction of the elongated member from a position spaced apart from the adjacent member main body in the locking piece main body, or a locking portion extending in a direction orthogonal to the facing direction and away from the elongated member.

POWER STORAGE DEVICE, BARRIER FILM, COVER UNIT, AND METHOD FOR PRODUCING COVER UNIT

NºPublicación:  EP4679588A1 14/01/2026
Solicitante: 
DAINIPPON PRINTING CO LTD [JP]
Dai Nippon Printing Co., Ltd
EP_4679588_PA

Resumen de: EP4679588A1

This power storage device is provided with: an electrode body; an outer package in which the electrode body is sealed; and a barrier film. The outer package comprises: an outer package film which enfolds the electrode body in such a manner that an opening is formed; and a cover member which is disposed at the position of the opening. The cover member has: a first surface that faces the electrode body; a second surface that is on the reverse side of the first surface; and a sealing surface that is connected to the first surface and the second surface. The barrier film is joined to the cover member so as to cover at least a part of the sealing surface.

POWER STORAGE DEVICE, COVER MEMBER, FIXING JIG, METHOD FOR PRODUCING POWER STORAGE DEVICE, AND TRANSPORT JIG

NºPublicación:  EP4679582A1 14/01/2026
Solicitante: 
DAINIPPON PRINTING CO LTD [JP]
Dai Nippon Printing Co., Ltd
EP_4679582_PA

Resumen de: EP4679582A1

This power storage device is provided with an electrode body and an outer package in which the electrode body is sealed. The outer package comprises an outer package film which enfolds the electrode body in such a manner that an opening is formed, and a cover member which is disposed at the position of the opening. The cover member has a first surface that faces the electrode body, a second surface that is on the reverse side of the first surface, and a projection that protrudes from the second surface.

METHOD FOR PRODUCING POWER STORAGE DEVICE, AND POWER STORAGE DEVICE

NºPublicación:  EP4679581A1 14/01/2026
Solicitante: 
DAINIPPON PRINTING CO LTD [JP]
Dai Nippon Printing Co., Ltd
EP_4679581_PA

Resumen de: EP4679581A1

Disclosed is a method for producing a power storage device that comprises an electrode body and an outer package in which the electrode body is sealed. The outer package comprises: an outer package film which enfolds the electrode body in such a manner that an opening is formed; a cover member which is disposed at the position of the opening; and a sealing part at which the cover member and the outer package film are joined to each other. This method for producing a power storage device comprises a sealing step in which the sealing part is formed using a sealing device, and the sealing step comprises a first sealing step in which the sealing part is formed, while moving one of the sealing device and the cover member relative to the other one.

POWER STORAGE DEVICE

NºPublicación:  EP4679605A1 14/01/2026
Solicitante: 
GS YUASA INT LTD [JP]
BLUE ENERGY CO LTD [JP]
GS Yuasa International Ltd,
Blue Energy Co., Ltd
EP_4679605_PA

Resumen de: EP4679605A1

Provided in this embodiment is an electric storage apparatus includes: a plurality of electric storage devices arranged in a first direction and each including a gas release valve directed in a second direction orthogonal to the first direction; a duct part disposed to overlap the gas release valve of each of the electric storage devices in the second direction; an adjacent member including a body located between each adjacent ones in the first direction of electric storage devices, and a locking piece extending from the body along the duct part in a direction away in the second direction from the body to lock the duct part; and an abutment part in abutment with the locking piece from an opposite side to the duct part in a third direction orthogonal to each of the first direction and the second direction.

CURRENT COLLECTOR, SECONDARY BATTERY AND ELECTRONIC DEVICE

NºPublicación:  EP4679614A2 14/01/2026
Solicitante: 
AESC JAPAN LTD [JP]
AESC Japan Ltd
EP_4679614_PA

Resumen de: EP4679614A2

The present disclosure provides a current collector (150), configured to electrically connect an electrode assembly (120) and a terminal (140), and including: a terminal fixing part (10) and an electrode assembly connecting part (20) disposed around the terminal fixing part (10); and a first transition part (22), connected between the terminal fixing part (10) and the electrode assembly connecting part (20). The current collector (150) has an electrode assembly connecting side and a terminal connecting side distributed in opposite directions. The first transition part (22) and the terminal fixing part (10) respectively include a first surface (221) and a first end surface (101) located on the terminal connecting side, as well as a second surface (222) and a second end surface (102) located on the electrode assembly connecting side. The second surface (222) protrudes in a direction away from the terminal connecting side compared with the second end surface (102).

BATTERY PACK

NºPublicación:  EP4679618A1 14/01/2026
Solicitante: 
LG ENERGY SOLUTION LTD [KR]
LG Energy Solution, Ltd
EP_4679618_PA

Resumen de: EP4679618A1

A battery pack including first to third battery cell assemblies arranged in a first direction; fourth to sixth battery cell assemblies arranged in the first direction, the fourth to sixth battery cell assemblies being spaced apart from the first to third battery cell assemblies in a second direction that is perpendicular to the first direction; and first to fifth inter-bus bars, wherein the first inter-bus bar and the second inter-bus bar are spaced apart from each other in the second direction.

ELECTRODE MATERIAL, ELECTRODE SLURRY, PRODUCTION METHOD FOR ELECTRODE MATERIAL, ELECTRODE, AND PRODUCTION METHOD FOR ELECTRODE

NºPublicación:  EP4679532A1 14/01/2026
Solicitante: 
UNIV SHINSHU [JP]
TORAY ENG CO LTD [JP]
SHINSHU UNIVERSITY,
Toray Engineering Co., Ltd
EP_4679532_PA

Resumen de: EP4679532A1

An electrode material 1 for a secondary battery, which is capable of suppressing a decrease in an electrode capacity and having excellent cycle characteristics, includes an electrode active material 10, and the entire surface or part of the surface of the electrode active material 10 is covered in a shell shape with a nonaqueous binder 20.

ADHESIVE-TAPE AFFIXING DEVICE AND WINDING APPARATUS

NºPublicación:  EP4679544A1 14/01/2026
Solicitante: 
WUXI LEAD INTELLIGENT EQUIPMENT CO LTD [CN]
Wuxi Lead Intelligent Equipment Co., Ltd
EP_4679544_PA

Resumen de: EP4679544A1

A winding apparatus includes a tape bonding device. The tape bonding device is arranged on a conveying path of a pole piece. The tape bonding device includes: a pulling-apart mechanism; a pole piece cutting mechanism and a tape bonding mechanism. The pole piece cutting mechanism is configured to cut the pole piece so that the pole piece is divided into a first pole piece and a second pole piece. The first pole piece and the second pole piece each has a first free end and a second free end that are oppositely arranged. The pulling-apart mechanism is configured to pull the first pole piece and/or the second pole piece so that a gap is formed between the first free end and the second free end in a conveying direction of the pole piece. The tape bonding mechanism includes a first tape feeding assembly, a tape bonding assembly and a first tape storing assembly.

METHOD FOR ASSESSING RECYCLING OF SECONDARY BATTERY ELECTRODE, PROGRAM FOR ASSESSING RECYCLING OF SECONDARY BATTERY ELECTRODE, AND DEVICE FOR ASSESSING RECYCLING OF SECONDARY BATTERY ELECTRODE

NºPublicación:  EP4679664A1 14/01/2026
Solicitante: 
MAXELL LTD [JP]
Maxell, Ltd
EP_4679664_PA

Resumen de: EP4679664A1

A method of determining the recyclability of an electrode of a secondary battery is provided that allows determining the degree of deterioration of an electrode to be recycled. A method of determining the recyclability of an electrode of a secondary battery is a method of determining the recyclability of an electrode of a secondary battery by determining the degree of deterioration of an electrode included in a secondary battery subject to determination, including: a threshold value estimation step (step S1) in which a threshold value Dth of electrolyte diffusion coefficient of the secondary battery subject to determination is estimated using a learned model and based on input data, the input data being data including some of the characteristic parameters of the secondary battery subject to determination; and a classification step (step S2) in which the threshold value Dth and a threshold value Dth0 of electrolyte diffusion coefficient of the secondary battery subject to determination or a secondary battery of the same type as the secondary battery subject to determination before deterioration are compared to classify the secondary battery subject to determination based on the difference between the threshold value Dth and the threshold value Dth0, ΔDth = Dth - Dth0.

RECYCLE DETERMINATION METHOD FOR ELECTRODE OF SECONDARY BATTERY AND RECYCLE DETERMINATION PROGRAM FOR ELECTRODE OF SECONDARY BATTERY

NºPublicación:  EP4679663A1 14/01/2026
Solicitante: 
MAXELL LTD [JP]
Maxell, Ltd
EP_4679663_PA

Resumen de: EP4679663A1

A method of determining the recyclability of an electrode of a secondary battery is provided that allows determining the degree of deterioration of an electrode to be recycled. The method of determining the recyclability of an electrode of a secondary battery includes: estimating characteristic parameters of the secondary battery subject to determination at the time of determination (step S1); obtaining the relationship between the electrolyte diffusion coefficient and the discharge capacity (step S2); based on the relationship between the electrolyte diffusion coefficient and the discharge capacity, determining a threshold value Dth of electrolyte diffusion coefficient (step S3); and comparing the threshold value Dth and a threshold value Dth0 of electrolyte diffusion coefficient before deterioration obtained in advance for the secondary battery subject to determination or a secondary battery of the same type as the secondary battery subject to determination, and, based on the difference between the threshold value Dth and the threshold value Dth0, ΔDth = Dth - Dth0, classifying the secondary battery subject to determination (step S4).

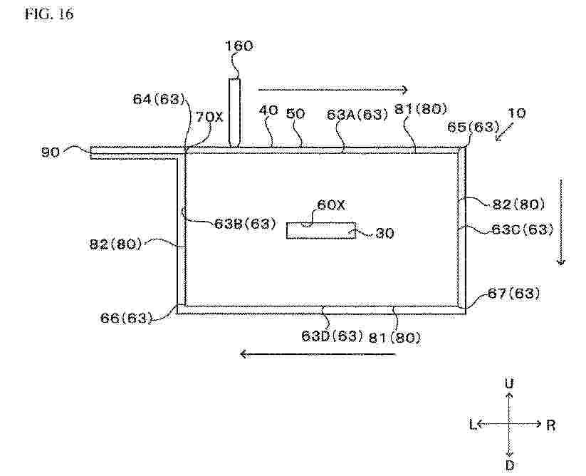
POWER STORAGE DEVICE, EXTERIOR FILM, AND METHOD FOR MANUFACTURING POWER STORAGE DEVICE

NºPublicación:  EP4679577A1 14/01/2026
Solicitante: 
DAINIPPON PRINTING CO LTD [JP]
Dai Nippon Printing Co., Ltd
EP_4679577_A1

Resumen de: EP4679577A1

This power storage device comprises an electrode assembly and an exterior body sealing the electrode assembly. The exterior body comprises an outer packaging film covering the electrode assembly so as to form an opening portion, and a lid body disposed at the opening portion. The outer packaging film has a first marking which is formed to correspond to at least a part of a corner portion of the lid body.

POWER STORAGE DEVICE, LID BODY, AND LID UNIT

NºPublicación:  EP4679580A1 14/01/2026
Solicitante: 
DAINIPPON PRINTING CO LTD [JP]
Dai Nippon Printing Co., Ltd
EP_4679580_PA

Resumen de: EP4679580A1

A power storage device according to the present invention comprises an electrode body and an exterior body that seals the electrode body. The exterior body includes: an exterior film that wraps around the electrode body such that an opening is formed; and a lid body that is placed on the opening. The electrode body includes a corner section at which an R surface is formed, the lid body includes a corner section at which an R surface is formed, and the absolute value of the difference between the radius of curvature of the corner section of the electrode body and the radius of curvature of the corner section of the lid body is 10 mm or less.

SINGLE-CRYSTAL CATHODE MATERIAL AND PREPARING METHOD THEREOF

NºPublicación:  EP4678601A1 14/01/2026
Solicitante: 
GUIZHOU ZHENHUA E CHEM INC [CN]
GUIZHOU ZHENHUA E_CHEM CO LTD [CN]
GUIZHOU ZHENHUA YILONG E CHEM CO LTD [CN]
Guizhou Zhenhua E-CHEM Inc,
Guizhou Zhenhua E_CHEM Co., Ltd,
Guizhou Zhenhua Yilong E-CHEM Co., Ltd
EP_4678601_PA

Resumen de: EP4678601A1

The present application provides a single-crystal cathode material and preparing method thereof. The method involves mixing and ball milling a lithium source with a nickel-cobalt-manganese precursor and then performing a first sintering treatment to obtain the first main material, wherein sintering temperature is 650 to 950°C and sintering time is 15 to 30 hours. The first main material is then mixed and ball-milled with source A and performing a second sintering treatment to prepare the single-crystal cathode material, wherein sintering temperature is 650~ 950°C and sintering time is 5~15 hours. The present application uses a polycrystalline precursor to directly prepare a single-crystal cathode material without jet milling, making the process simple and cost-effective, and greatly enhancing the compatibility of the process.

NEGATIVE ELECTRODE ACTIVE MATERIAL, NEGATIVE ELECTRODE SHEET, BATTERY, AND ELECTRIC DEVICE

Nº publicación: EP4679525A1 14/01/2026

Solicitante:

CONTEMPORARY AMPEREX TECHNOLOGY CO LTD [CN]
Contemporary Amperex Technology Co., Limited

EP_4679525_PA

Resumen de: EP4679525A1

The present application relates to a negative-electrode active material, a negative electrode plate, a battery and an electrical apparatus. The negative-electrode active material includes an artificial graphite particle and a carbon layer disposed on at least a portion of a surface of the artificial graphite particle, where a volume average particle size Dv50 of the negative-electrode active material satisfies: 3 µm ≤ Dv50 ≤ 7 µm; and a volume distribution particle size Dv1 of the negative-electrode active material satisfies: Dv1 ≤ 1.5 µm.

traducir