Ministerio de Industria, Turismo y Comercio LogoMinisterior
 

Alerta

Resultados 1580 resultados
LastUpdate Última actualización 25/10/2025 [07:22:00]
pdfxls
Publicaciones de los últimos 15 días/Last 15 days publications (excluidas pubs. CN y JP /CN and JP pubs. excluded)
previousPage Resultados 50 a 75 de 1580 nextPage  

BATTERIEKÜHLUNG

NºPublicación:  DE102024117376A1 23/10/2025
Solicitante: 
GM GLOBAL TECH OPERATIONS LLC [US]
GM GLOBAL TECHNOLOGY OPERATIONS LLC

Resumen de: DE102024117376A1

Ein Batteriekühlsystem, ein Verfahren zum Kühlen einer Batteriezelle und ein mit einem Batteriekühlsystem ausgestattetes Fahrzeug werden bereitgestellt. Ein Batteriekühlsystem umfasst eine starre Platte mit einer Oberfläche, die mit Kanälen ausgebildet ist; einen flexiblen Film, der die Oberfläche berührt und die Kanäle umschließt; Batteriezellen; und ein Kühlfluid, das sich in den Kanälen befindet, wobei der Druck des Kühlfluids den flexiblen Film in Kontakt mit den Batteriezellen drückt.

Energiespeicher mit einem Trennelement-Schutz

NºPublicación:  DE102024110844A1 23/10/2025
Solicitante: 
BAYERISCHE MOTOREN WERKE AG [DE]
Bayerische Motoren Werke Aktiengesellschaft

Resumen de: DE102024110844A1

Es wird ein elektrischer Energiespeicher beschrieben, der ein Gehäuse umfasst. Der Energiespeicher umfasst ferner eine erste Speicherzelle und eine zweite Speicherzelle, die nebeneinander in dem Gehäuse angeordnet sind, sodass zwischen der ersten Speicherzelle und der zweiten Speicherzelle ein Zwischenraum gebildet wird, der mit einer Füllmasse befüllt ist. Des Weiteren umfasst der Energiespeicher ein Zellkontaktiersystem, das einen Kontaktpunkt der ersten Speicherzelle über eine Verbindungsleitung elektrisch leitend mit einem Kontaktpunkt der zweiten Speicherzelle verbindet. Außerdem umfasst der Energiespeicher ein Trennelement, das ausgebildet ist, die Verbindungsleitung bei Einwirkung von thermischer Energie auf das Trennelement zu unterbrechen, und einen Trennelement-Schutz, der das Trennelement umschließt, wobei der Trennelement-Schutz ein Schutz-Material umfasst, das eine höhere Schmelztemperatur aufweist als die Füllmasse.

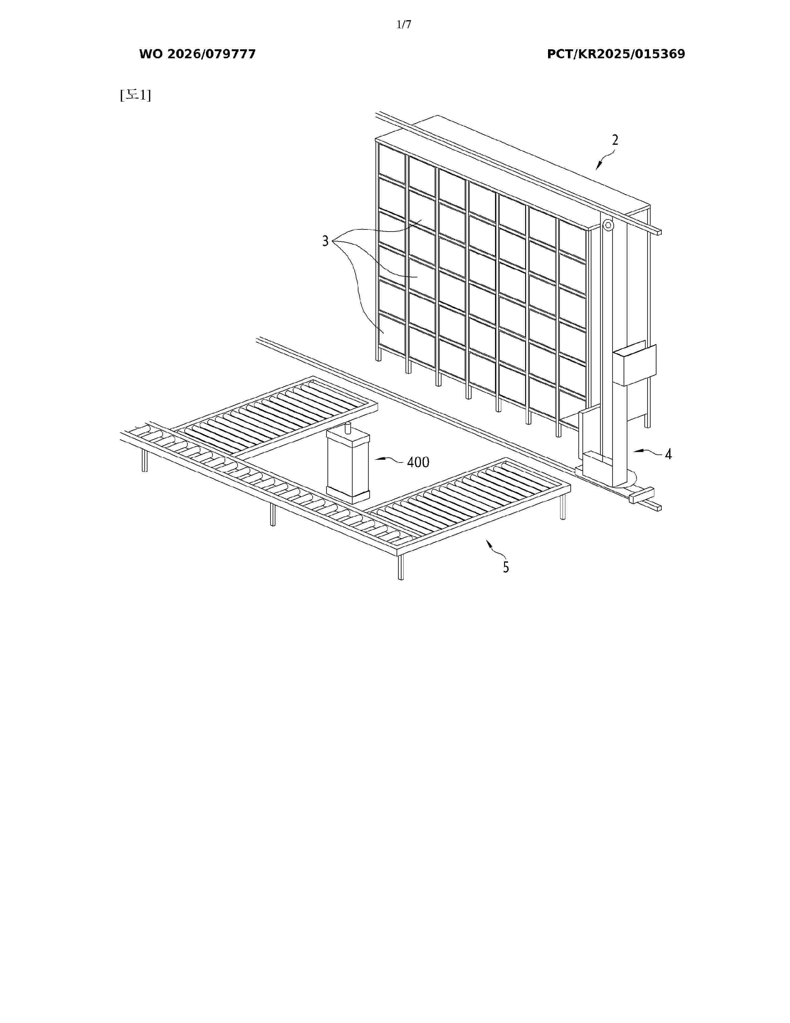
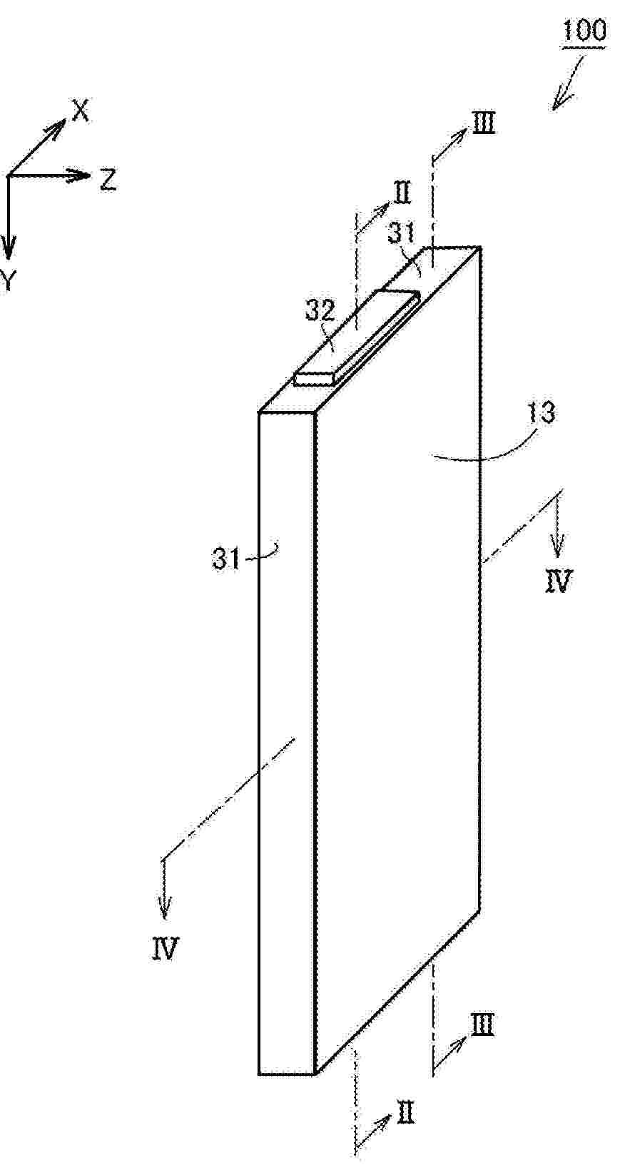
ELEKTRISCHE SPEICHERVORRICHTUNG UND FAHRZEUGMONTAGESTRUKTUR EINER ELEKTRISCHEN SPEICHERVORRICHTUNG

NºPublicación:  DE102025113483A1 23/10/2025
Solicitante: 
TOYOTA MOTOR CO LTD [JP]
TOYOTA JIDOSHA KABUSHIKI KAISHA
DE_102025113483_PA

Resumen de: DE102025113483A1

Eine elektrische Speichervorrichtung, die in der Lage ist, selbst bei Verwendung eines gemeinsamen Gehäuses die Anzahl der Kondensationsereignisse im Gehäuse zu reduzieren, wird bereitgestellt. Eine elektrische Speichervorrichtung (1) gemäß einem Aspekt der vorliegenden Offenbarung umfasst: Batteriemodule (2), von denen jedes eine Vielzahl von Batteriezellen (10) umfasst; und ein Gehäuse (3), das so aufgebaut ist, dass es die Batteriemodule (2) aufnimmt, wobei die elektrische Speichervorrichtung umfasst: Verstärkungselemente (4), die zwischen den Batteriemodulen (2) angeordnet sind; und Füllelemente (5), die zwischen dem Gehäuse (3) und jedem der Batteriemodule (2) angeordnet sind. Jedes der Verstärkungselemente (4) umfasst einen Vorsprung (4a), der so aufgebaut ist, dass er von einem Endteil jedes der Batteriemodule (2) in Richtung einer Außenseite der elektrischen Speichervorrichtung (1) vorsteht. Die Füllelemente (5) überlappen die entsprechenden Vorsprünge (4a) der Verstärkungselemente (4).

COOLANT CIRCUIT WITH A VALVE DEVICE FOR A PROPORTIONAL COOLANT VOLUME DISTRIBUTION AND MOTOR VEHICLE WITH A COOLANT CIRCUIT OF THIS TYPE

NºPublicación:  WO2025219307A1 23/10/2025
Solicitante: 
AUDI AG [DE]
AUDI AG
WO_2025219307_PA

Resumen de: WO2025219307A1

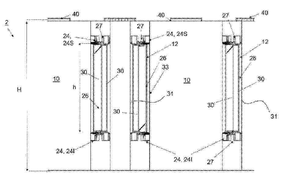
The invention relates to a coolant circuit (10) for an at least partially electrically driven motor vehicle (200), comprising a battery circuit (12) which is designed to cool at least one energy store (14) of the motor vehicle (200); a component circuit (16) which is designed to cool at least one electric drive (18) of the motor vehicle (200); a first heat exchanger (20), in particular a low-temperature cooler, around which ambient air (UL) flows; a first valve device (22) which is designed to conduct coolant from the first heat exchanger (20) to the battery circuit (12) and/or the component circuit (16); at least one coolant pump (24) which is assigned to the battery circuit (12); a second heat exchanger (26), in particular a chiller, which is thermally operatively connected to the battery circuit (12) and through which a refrigerant can flow, wherein the second heat exchanger (26) is arranged in the battery circuit (12) downstream of the energy store (14). According to the invention, a second valve device (32) is arranged in the battery circuit (12) between the energy store (14) and the second heat exchanger (26), the second valve device being designed to conduct a coolant volume flow downstream of the energy store (14) proportionally to the second heat exchanger (26) and to the coolant pump (24). The invention further relates to a motor vehicle (200) having a coolant circuit (10) of this type and to a valve device (32).

METHOD FOR REMOVING IMPURITIES AND METHOD FOR RECOVERING METALS

NºPublicación:  WO2025220452A1 23/10/2025
Solicitante: 
JX METALS CIRCULAR SOLUTIONS CO LTD [JP]
JX METALS CIRCULAR SOLUTIONS CO., LTD
WO_2025220452_PA

Resumen de: WO2025220452A1

Provided are a method for removing impurities that can effectively remove impurities from a lithium containing solution before electrodialysis, and a method for recovering metals. A method for removing impurities by removing at least a part of the impurities from a lithium containing solution that contains lithium ions and impurity metal ions derived from lithium ion battery waste, the method including: an impurity removal step of, before subjecting the lithium containing solution to electrodialysis, adding a pH adjusting agent comprising a lithium hydroxide solution to the lithium containing solution to increase a pH of the lithium containing solution, thereby depositing and separating the impurities.

COMPUTER-IMPLEMENTED METHOD FOR MANAGING A PLURALITY OF THIRD PARTY ASSETS OF A VIRTUAL POWER PLANT

NºPublicación:  WO2025219639A1 23/10/2025
Solicitante: 
ELISA OYJ [FI]
ELISA OYJ
WO_2025219639_PA

Resumen de: WO2025219639A1

According to an embodiment, a computer-implemented method (100) for managing a plurality of third party assets of a virtual power plant for power grid frequency balancing comprises: obtaining (101) at least one operating parameter of each asset in the plurality of third party assets; obtaining (102) an operating profile of each asset in the plurality of third party assets, wherein the operating profile of each asset indicates how the at least one energy storage unit, the at least one power source, and the at least one asset load are operated; determining (103) an activation preference of each asset in the plurality of third party assets based at least on the at least one operating parameter of each asset and the operating profile of each asset; forming (104) at least one activation priority list based at least on the activation preference of each asset in the plurality of third party assets; and activating (105) the plurality of third party assets for power grid frequency balancing according to the at least one activation priority list.

Stapelelektrodenbaugruppe und Energiespeichermodul

NºPublicación:  DE102025111208A1 23/10/2025
Solicitante: 
TOYOTA MOTOR CO LTD [JP]
TOYOTA JIDOSHA KABUSHIKI KAISHA

Resumen de: DE102025111208A1

Eine Stapelelektrodenbaugruppe (100, 100A) erstreckt sich in eine zweite Richtung senkrecht zu einer ersten Richtung, die eine Schichtungsrichtung der einzelnen Elektroden (110, 120, 110A, 120A) und Separatoren (130) ist. Die erste und die zweite Oberfläche (1111, 1211, 1112, 1212) einer Metallfolie (111, 121) der Elektrode (110, 120, 110A, 120A) haben jeweils einen mit Aktivmaterial beschichteten Bereich (P111, P112, P121, P122) und einen nicht mit Aktivmaterial beschichteten Bereich (Q111, Q112, Q121, Q122), die sich in die zweite Richtung erstrecken. Der nicht mit Aktivmaterial beschichtete Bereich (Q112, Q122) der zweiten Oberfläche (1112, 1212) ist auf der Rückseite des nicht mit Aktivmaterial beschichteten Bereichs (Q111, Q121) der ersten Oberfläche (1111, 1211) angeordnet. Der nicht mit Aktivmaterial beschichtete Bereich (Q112, Q122) der zweiten Oberfläche (1112, 1212) umfasst einen ersten Harz-Anordnungsbereich (Q112a, Q122a, Q112b, Q122b), in dem ein Harz (115, 125, 115A, 125A) angeordnet ist und der sich auf einer Seite des mit Aktivmaterial beschichteten Bereich (P112, P122) der zweiten Oberfläche (1112, 1212) befindet. Die Räume (S1, S2, S3, S3') sind in einer dritten Richtung senkrecht zu den ersten und zweiten Richtungen zwischen dem Separator (130) und Endabschnitten (E112a, E112b, E122a, E122b) und auf der Seite des ersten Harz-Anordnungsbereichs (Q112a, Q122a, Q112b, Q122b) des nicht mit Aktivmaterial beschichteten Bereichs (Q112, Q122) der zweiten Obe

Wärmeübertragungskomponente mit einstellbarer Wärmeleitfähigkeit und Wärmeübertragungsanordnung

NºPublicación:  DE102024111045A1 23/10/2025
Solicitante: 
DEUTSCH ZENTR LUFT & RAUMFAHRT [DE]
Deutsches Zentrum f\u00FCr Luft- und Raumfahrt e.V

Resumen de: DE102024111045A1

Die Erfindung bezieht sich auf eine Wärmeübertragungskomponente (10) mit einstellbarer Wärmeleitfähigkeit, mit einem Wärmeübertragungsraum (14) umfassend ein Wärmeübertragungsvolumen (16) und eine das Wärmeübertragungsvolumen (16) gasdicht einfassende Außenhülle (18), wobei dem Wärmeübertragungsraum (14) eine Einstellanordnung (20) zugeordnet ist, mittels welcher die Wärmeleitfähigkeit des Wärmeübertragungsvolumens (16) steuerbar und/oder regelbar ist, die Einstellanordnung (20) umfassend- eine Reaktionseinheit (21) mit einem separaten Gehäuse (26) und einem darin angeordneten Reaktionsmaterial (22), welches ein reversibles Gas-Feststoff-Reaktionssystem mit einem Gas bildet, und- eine Temperiereinrichtung (24) zur Temperierung des Reaktionsmaterials (22), wobei das Gehäuse (26) mit dem Reaktionsmaterial (22) separat innerhalb der Außenhülle (18) angeordnet ist. Eine besonders langlebige Wärmeübertragungskomponente (10) kann dadurch bereitgestellt werden, dass die Temperiereinrichtung (24) mit dem Reaktionsmaterial (22) in thermischem Kontakt stehend außerhalb der Außenhülle (18) angeordnet ist.

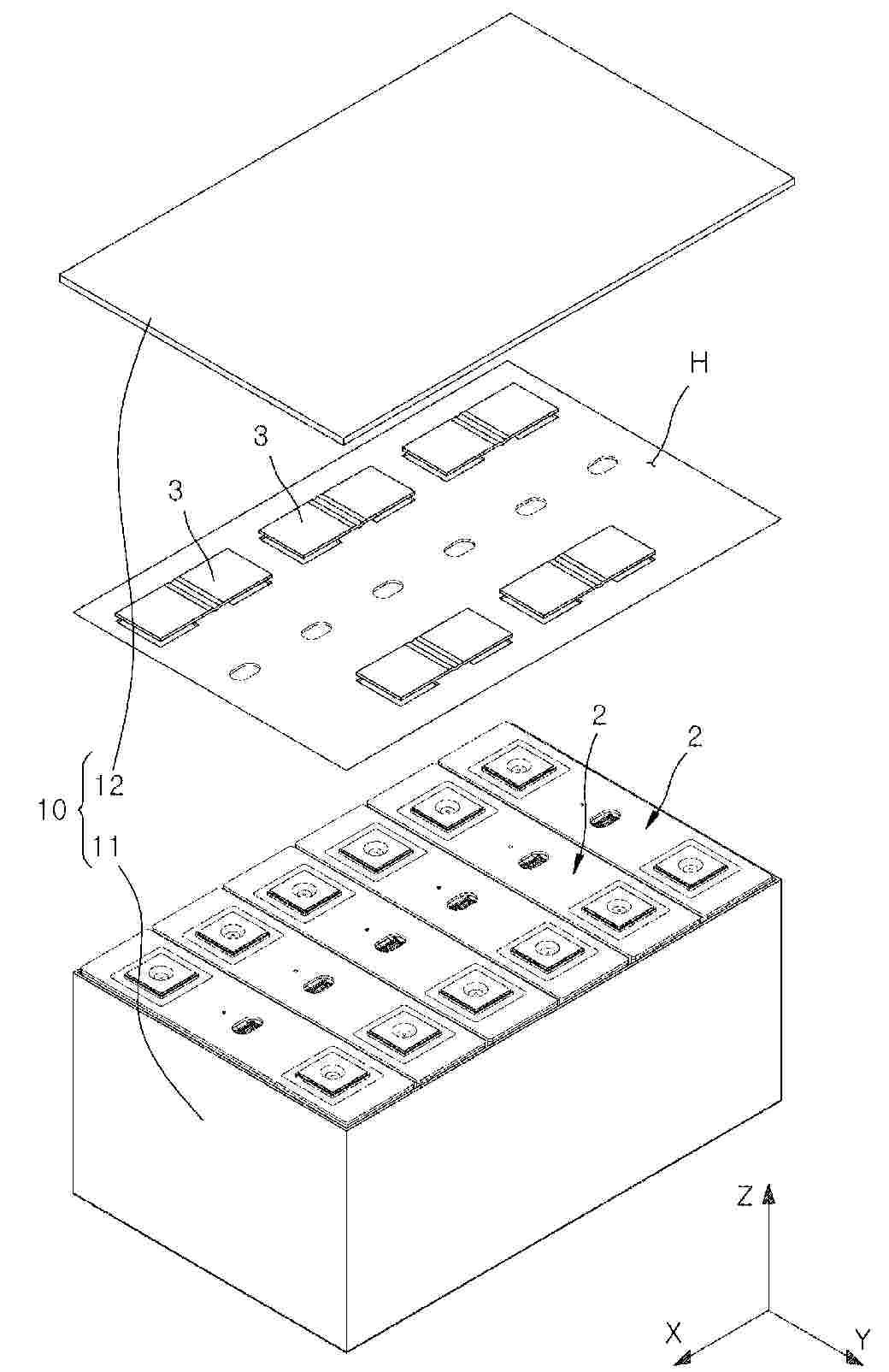
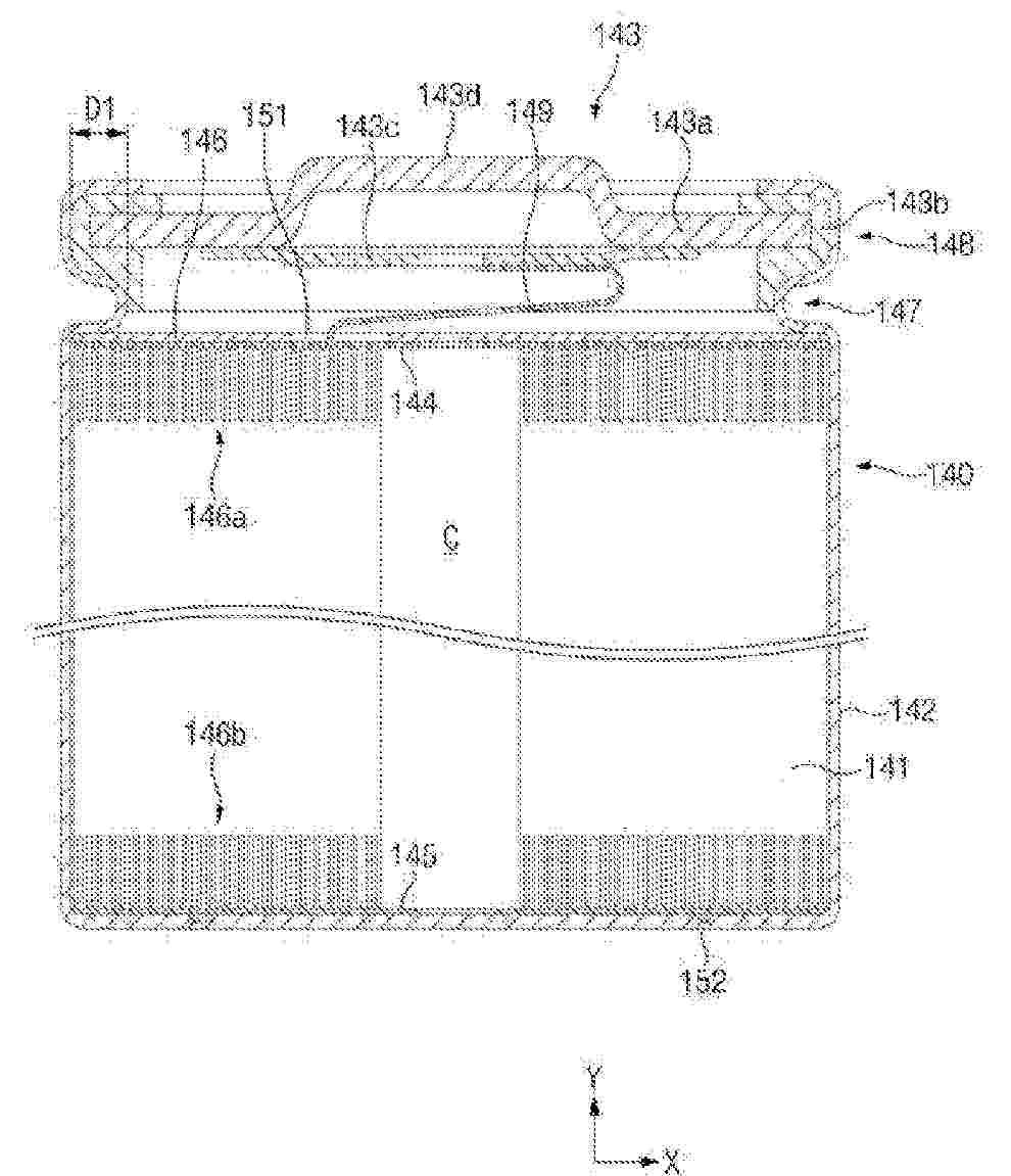
Energiespeichervorrichtung

NºPublicación:  DE102025109844A1 23/10/2025
Solicitante: 
TOYOTA MOTOR CO LTD [JP]
TOYOTA JIDOSHA KABUSHIKI KAISHA

Resumen de: DE102025109844A1

In einer Energiespeichervorrichtung ist eine Vielzahl von Zellen (100) in einer ersten Richtung (D1) angeordnet. Eine Vielzahl von Pufferabschnitte (200) sind auf der Vielzahl von Zellen (100) angeordnet. Jede der eine Vielzahl von Zellen (100) umfasst einen oberen Oberflächenabschnitt (101), der nach oben weist. Der obere Oberflächenabschnitt (101) umfasst eine erste Endkante (102) und eine zweite Endkante (103). Die erste Endkante (102) und die zweite Endkante (103) erstrecken sich entlang einer zweiten Richtung (D2), wobei die zweite Richtung (D2) eine Richtung entlang der horizontalen Richtung und orthogonal zur ersten Richtung (D1) ist. Die Vielzahl von Pufferabschnitten (200) ist voneinander beabstandet auf den oberen Oberflächenabschnitten (101) der Vielzahl von Zellen (100) angeordnet, und mindestens einer von der Vielzahl von Pufferabschnitten (200) ist an mindestens einer von der ersten Endkante (102) und der zweiten Endkante (103) jeder der Vielzahl von Zellen (100) angeordnet.

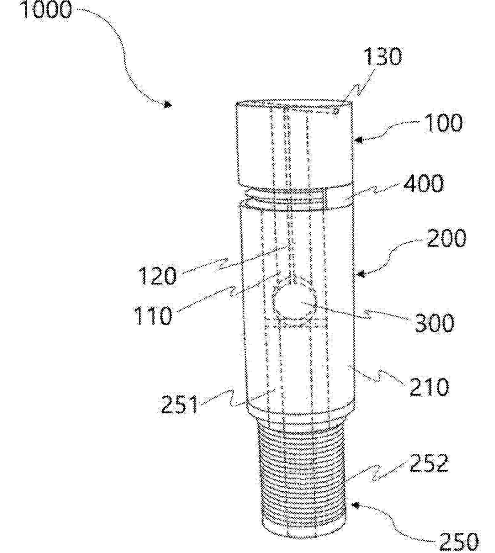
TEMPERATURE-CONTROL COMPONENT AND TEMPERATURE-CONTROL ASSEMBLY FOR A RECHARGEABLE BATTERY, USE OF A TEMPERATURE-CONTROL COMPONENT, AND METHOD FOR INTRODUCING A TEMPERATURE-CONTROL COMPONENT INTO A BATTERY

NºPublicación:  WO2025219124A1 23/10/2025
Solicitante: 
WITZENMANN GMBH [DE]
WITZENMANN GMBH
WO_2025219124_PA

Resumen de: WO2025219124A1

The invention relates to a temperature-control component (1) for controlling the temperature of rechargeable batteries or modules (2) and/or battery cells for receiving, storing, and outputting electrical energy. An outer casing of the temperature-control component (1) is formed substantially from two planar contact elements (3) which are directly or indirectly connected to one another peripherally at the edges and enclose at least one fluid-conducting cavity (9) between one another and at least one of which consists of a metal plate or a planar shaped part made of metal, said metal plate or planar shaped part having a material thickness which is selected, relative to the planar extent thereof or relative to the extent and shape of the fluid-conducting cavity (9), such that the outer casing of the temperature-control component (1) can be deformed by applying negative pressure or positive pressure to the fluid-conducting cavity (9) and subsequently substantially returns to its original shape by virtue of the elastic restoring force thereof. The invention also relates to temperature-control assemblies having a plurality of temperature-control components (1) and to a method for introducing temperature-control components, wherein the overall height (11) of the temperature-control components (1) is reduced under the effect of negative pressure in order to introduce the temperature-control components into gaps between the modules (2) of the battery, and the temperature-control comp

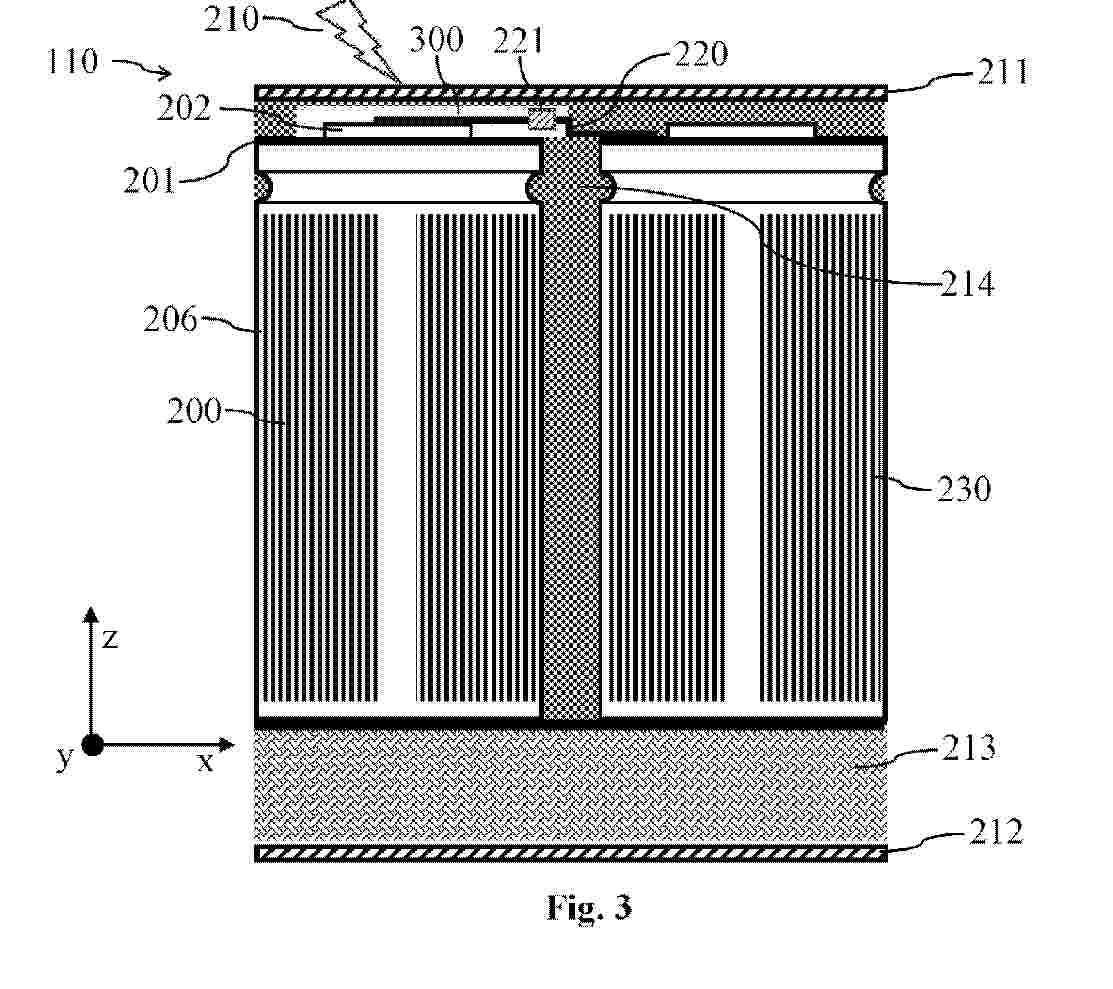
Kfz-Hochvoltbatterie

NºPublicación:  DE102024111125A1 23/10/2025
Solicitante: 
PORSCHE AG [DE]
Dr. Ing. h.c. F. Porsche Aktiengesellschaft

Resumen de: DE102024111125A1

Die Erfindung bezieht sich auf eine Kfz-Hochvoltbatterie (100) mit einem Batteriegehäuse (20) und einer Vielzahl darin angeordneter identischer Batterie-Rundzellen (10), die durch einen die Zwischenräume zwischen den Batterie-Rundzellen (10) ausfüllenden Vergussmassen-Körper (30) zueinander beabstandet und parallel zueinander in einer einzigen Zellenebene (xy10) gehalten sind, wobei der elektrisch isolierende Vergussmassen-Körper (30) aus einem Material besteht, das eine Umwandlungstemperatur (Tv) von weniger als 300 °C hat, oberhalb der das Material mechanisch instabil ist,wobei in den Zwischenräumen zwischen den Batterie-Rundzellen (10) mehrere separate und temperaturbeständige Abstandshalter (40, 40', 40'', 40'''; 50) vorgesehen sind, die eine Umwandlungstemperatur (Ta) von mehr als 300 °C haben, unterhalb der sie mechanisch stabil sind, und die jeweils mehrere Batterie-Rundzellen (10) beabstandet zueinander halten, wenn der Vergussmassen-Körper (30) mechanisch instabil ist.

ENERGIESPEICHERVORRICHTUNG

NºPublicación:  DE102025111747A1 23/10/2025
Solicitante: 
TOYOTA MOTOR CO LTD [JP]
TOYOTA JIDOSHA KABUSHIKI KAISHA
DE_102025111747_PA

Resumen de: DE102025111747A1

Eine Energiespeichervorrichtung (10) ist an einem Fahrzeug (1) montierbar und umfasst Folgendes: eine Vielzahl von Zellen (100); einen Pufferabschnitt (200); und einen oberen Plattenabschnitt (310). Die Vielzahl von Zellen (100) ist in einer ersten Richtung (D1) angeordnet, wobei die erste Richtung (D1) eine Richtung entlang einer horizontalen Richtung ist. Der Pufferabschnitt (200) ist mit einem oberen Abschnitt (101) jeder der Vielzahl von Zellen (100) verbunden. Der Pufferabschnitt (200) erstreckt sich in der ersten Richtung (D1). Der obere Plattenabschnitt (310) ist über dem Pufferabschnitt (200) angeordnet. Der obere Plattenabschnitt (310) ist mit dem Pufferabschnitt (200) verbunden. Der Pufferabschnitt (200) ist in einer Höhenrichtung (Z) trennbar, wenn eine Zugspannung in der Höhenrichtung (Z) auftritt. Der Pufferabschnitt (200) umfasst einen Startpunktabschnitt (201). Der Startpunktabschnitt (201) dient als Startpunkt der Trennung des Pufferabschnitts (200) an einer Endkante (202) in der ersten Richtung (D1).

ANODENAKTIVMATERIAL FÜR EINE SEKUNDÄRBATTERIE

NºPublicación:  DE102025115358A1 23/10/2025
Solicitante: 
UNIV YONSEI IACF [KR]
SK ON CO LTD [KR]
INDUSTRY-ACADEMIC COOPERATION FOUNDATION, YONSEI UNIVERSITY,
SK ON CO., LTD

Resumen de: DE102025115358A1

Ein Anodenaktivmaterial für eine Sekundärbatterie gemäß der vorliegenden Offenbarung beinhaltet ein Verbundpartikel, das einen Kern beinhaltet, der Silizium und Metallnanopartikel enthält, die auf einer Außenfläche des Kerns angeordnet sind. Ein Verhältnis des Volumens der Metallnanopartikel zu dem Volumen des Kerns ist größer als 0,22 und 0,4 oder weniger.

Batterieüberwachungsvorrichtung

NºPublicación:  DE102024132470A1 23/10/2025
Solicitante: 
TOYOTA MOTOR CO LTD [JP]
TOYOTA JIDOSHA KABUSHIKI KAISHA

Resumen de: DE102024132470A1

Eine Batterieüberwachungsvorrichtung überwacht eine zusammengesetzte Batterie, in welcher Sätze aus einer Mehrzahl von parallel zueinander geschalteter Batteriezellen in Reihe zueinander geschaltet sind, wobei die Batterieüberwachungsvorrichtung eine Erlangungseinheit, welche derart konfiguriert ist, dass diese eine Spannung der Batteriezelle erlangt, einen Controller, welcher derart konfiguriert ist, dass dieser einen oberen Grenzwert eines durch die Batteriezelle fließenden Stroms steuert, und eine Erfassungseinheit, welche derart konfiguriert ist, dass diese in einem Fall, in dem der obere Grenzwert höher als ein vorbestimmter Wert ist, eine Unterbrechung in der zusammengesetzten Batterie gemäß einem Vergleichsergebnis zwischen der durch die Erlangungseinheit erlangten Spannung und einem ersten Schwellenwert erfasst, umfasst, wobei der Controller derart konfiguriert ist, dass dieser den oberen Grenzwert derart steuert, dass der obere Grenzwert gleich oder kleiner als der vorbestimmte Wert ist, wenn die Erfassungseinheit die Unterbrechung in der zusammengesetzten Batterie erfasst.

A METHOD FOR REAL-TIME ESTIMATION OF BATTERY ANODE POTENTIAL

NºPublicación:  WO2025218363A1 23/10/2025
Solicitante: 
ZHEJIANG GEELY HOLDING GROUP CO LTD [CN]
NINGBO GEELY AUTOMOBILE RES & DEVELOPMENT CO LTD [CN]
ZHEJIANG GEELY HOLDING GROUP CO., LTD,
NINGBO GEELY AUTOMOBILE RESEARCH & DEVELOPMENT CO., LTD
WO_2025218363_PA

Resumen de: WO2025218363A1

A method for real-time estimation of an anode potential of a battery (20) in connection with a battery charging event, comprising: obtaining at least one quantified State of Health SoH indicator of the battery (20) as output from a first machine-learning system (14); and feeding the obtained at least one quantified SoH indicator, together with battery charging data associated with the charging event, as input to a second machine-learning system (15), which provides an estimate of the anode potential of the battery (20) as output.

ENERGY STORE HAVING A SEPARATING-ELEMENT PROTECTOR

NºPublicación:  WO2025218851A1 23/10/2025
Solicitante: 
BAYERISCHE MOTOREN WERKE AG [DE]
BAYERISCHE MOTOREN WERKE AKTIENGESELLSCHAFT
WO_2025218851_PA

Resumen de: WO2025218851A1

The invention relates to an electrical energy store which comprises a housing. The energy store also comprises a first storage cell and a second storage cell which are arranged one next to the other in the housing such that an intermediate space is formed between the first storage cell and the second storage cell, which space is filled with a filling compound. Furthermore, the energy store comprises a cell contacting system which electrically conductively connects a contact point of the first storage cell to a contact point of the second storage cell via a connecting line. In addition, the energy store comprises a separating element which is designed to interrupt the connecting line when thermal energy acts on the separating element, and a separating-element protector which surrounds the separating element, wherein the separating-element protector comprises a protective material which has a higher melting temperature than the filling compound.

POSITIVE ELECTRODE MATERIAL AND PREPARATION METHOD THEREFOR, POSITIVE ELECTRODE SHEET AND SECONDARY BATTERY

NºPublicación:  WO2025218152A1 23/10/2025
Solicitante: 
TIANJIN B & M SCIENCE AND TECH CO LTD [CN]
\u5929\u6D25\u5DF4\u83AB\u79D1\u6280\u6709\u9650\u8D23\u4EFB\u516C\u53F8
WO_2025218152_PA

Resumen de: WO2025218152A1

A positive electrode material and a preparation method therefor, a positive electrode sheet and a secondary battery. The positive electrode material comprises a first lithium nickel oxide material, the first lithium nickel oxide material comprises polycrystalline particles, the porosity in each polycrystalline particle is denoted as d, and 2%≤d≤15%; in any CP profile of the polycrystalline particle, the distance between two adjacent pore edges in the polycrystalline particle is 10-100 nm. Therefore, the cracking proportion of the positive electrode material during electrode sheet processing can be reduced, the initial stress and the stress accumulation on newly formed surfaces caused by cracking during cycling are significantly reduced, and the particle toughness and the particle strength are improved; moreover, enough support can be provided for a rigid structure of the material, and collapse and breakage of material particles are reduced, so that the stability of both the bulk phase and the surface is improved from the material level, and the long-term cycle performance and the safety performance of the material are improved.

POSITIVE ELECTRODE ACTIVE MATERIAL FOR RECHARGEABLE LITHIUM BATTERY, POSITIVE ELECTRODE CONTAINING THE SAME, AND RECHARGEABLE LITHIUM BATTERY INCLUDING THE SAME

NºPublicación:  US2025329729A1 23/10/2025
Solicitante: 
SAMSUNG SDI CO LTD [KR]
SAMSUNG SDI CO., LTD
US_2025329729_PA

Resumen de: US2025329729A1

A positive electrode active material, a method of preparing the positive electrode active material, a positive electrode including the positive electrode active material, and a rechargeable lithium battery including the positive electrode are disclosed. The positive electrode active material may include a first particle containing a compound represented by Formula 1 and having a first average particle diameter, wherein, in Formula 1, 1

POSITIVE ELECTRODE PLATE AND TREATMENT METHOD THEREOF, BATTERY, AND ELECTRIC DEVICE

NºPublicación:  US2025329709A1 23/10/2025
Solicitante: 
CONTEMPORARY AMPEREX TECH CO LIMITED [CN]
CONTEMPORARY AMPEREX TECHNOLOGY CO., LIMITED
US_2025329709_A1

Resumen de: US2025329709A1

A positive electrode plate and a treatment method thereof, a battery, and an electric device are provided. The treatment method of the positive electrode plate includes: performing combustion treatment on a designated portion of the positive electrode plate, where the designated portion includes at least part of a surface of a positive electrode active material layer of the positive electrode plate. In the treatment method of the positive electrode plate, performing combustion treatment on the surface of the positive electrode plate enables flame to ablate and reduce a floating binder, helping to alleviate blockage of pores by the floating binder, thereby effectively improving electrolyte infiltration of the positive electrode plate.

Lithium Secondary Battery

NºPublicación:  US2025329725A1 23/10/2025
Solicitante: 
LG ENERGY SOLUTION LTD [KR]
LG Energy Solution, Ltd
US_2025329725_PA

Resumen de: US2025329725A1

A lithium secondary battery including: an electrode assembly in which a positive electrode plate, a negative electrode plate, and a separator interposed between the positive electrode plate and the negative electrode plate are wound in one direction; a battery can accommodating the electrode assembly; an electrolyte injected into the battery can; and a sealing body sealing an open end of the battery can, wherein each of the positive electrode plate and the negative electrode plate includes a non-coated portion in which an active material layer is not formed, and at least a part of the non-coated portion of the positive electrode plate or the negative electrode plate defines an electrode tab, and wherein a volume occupied by the electrolyte is 101% by volume or more and 119% or less based on the total pore volume of the positive electrode plate, the negative electrode plate, and the separator.

ELECTRODE ASSEMBLY, BATTERY, AND ELECTRIC DEVICE

NºPublicación:  US2025329712A1 23/10/2025
Solicitante: 
NINGDE AMPEREX TECH LIMITED [CN]
Ningde Amperex Technology Limited
US_2025329712_PA

Resumen de: US2025329712A1

An electrode assembly includes a tab, a first insulating layer, and a second insulating layer. The first electrode plate includes a first current collector and first active material layers applied on two sides of the first current collector. The first active material layer is provided with a tab groove, and the tab groove is provided with a tab. At least one surface of the first active material layer is provided with a thinned region in communication with the tab groove. The thinned region includes a first depression apart from the tab groove in the first direction, and a second depression provided between the first depression and the tab groove. The first insulating layer is provided in the second depression. A projection of the second insulating layer in the first direction is located in the first depression.

Solid State Batteries, SSE Batteries, Lithium Metal Batteries with Solid State Electrolytes, HSSE, Separators, and/or Coatings, and/or Related Methods

NºPublicación:  US2025329778A1 23/10/2025
Solicitante: 
CELGARD LLC [US]
CELGARD, LLC
US_2025329778_PA

Resumen de: US2025329778A1

The problems or issues faced by typical larger SSE batteries are solved by providing an interface or interfacial layer at least between the anode, which comprises Li or Na, and the solid state electrolyte (SSE). In some other embodiments, an interfacial layer may be provided between the anode, which comprises Li or Na, and the SSE, and an interface or interfacial layer may also be provided between the cathode and the SSE. In at least selected embodiments, aspects or objects, the interfacial layer may act as a shock absorber between a SSE (e.g., a sulfide glass SSE) and an anode material that is soft compared to the SSE (e.g., Li metal). In other embodiments, the interfacial layer may act as a shock absorber between the SSE and a cathode material that is softer than the SSE. In at least certain embodiments, the interfacial layer may improve ionic conductance between the anode and the SSE and/or the SSE and the cathode. In at least certain selected embodiments, the interfacial layer may prevent or deter lithium deposition and dendrite growth at the interface between the anode and the SSE. Interface defects at the interface between the anode and the SSE may allow lithium deposition and dendrite growth. The dendrites may continue to grow through cracks in the SSE causing a short, which is a safety issue. The inventive interfacial layer between the anode and the SSE may prevent or deter this. In at least some embodiments, the interfacial layer may be a porous polymer layer filled

ELECTRODE PLATE STACKING APPARATUS AND ELECTRODE PLATE STACKING METHOD USING SAME

NºPublicación:  US2025329772A1 23/10/2025
Solicitante: 
SAMSUNG SDI CO LTD [KR]
Samsung SDI Co., Ltd
US_2025329772_PA

Resumen de: US2025329772A1

Provided are an electrode plate stacking apparatus and an electrode plate stacking method using the same. A rotary supporting plate is rotatable about a first direction and allows a positive electrode plate to be bonded to a negative electrode plate having a surface coated with an adhesive to form an electrode plate assembly. A rotary pressing plate is spaced apart from the rotary supporting plate in a second direction perpendicular to the first direction, is rotatable about the first direction, and interferes with the rotary supporting plate to press the electrode plate assembly. A receiver is disposed below the rotary supporting plate in a third direction perpendicular to the first direction and the second direction and receives the electrode plate assembly freely falling in response to rotation of the rotary supporting plate.

BATTERY PROCESSING DEVICE

NºPublicación:  WO2025218337A1 23/10/2025
Solicitante: 
BYD COMPANY LTD [CN]
\u6BD4\u4E9A\u8FEA\u80A1\u4EFD\u6709\u9650\u516C\u53F8
WO_2025218337_PA

Resumen de: WO2025218337A1

The present application relates to the technical field of battery assembly, and discloses a battery processing device. The battery processing device comprises a conveying mechanism, securing pressing mechanisms, and first rails. The conveying mechanism is used for conveying a cover plate and a battery cell; for each securing pressing mechanism, the securing pressing mechanism is located on the conveying mechanism and moves in a first direction along with the conveying mechanism, and the securing pressing mechanism is used for fixing the cover plate to the battery cell; for each first rail, the securing pressing mechanism is located on the side of the first rail facing the conveying mechanism, the securing pressing mechanism slides on the first rail, at least part of the first rail is inclined toward the conveying mechanism in the first direction, and at least part of the first rail is used for pushing the securing pressing mechanism to move toward the conveying mechanism. According to the battery processing device provided in the present application, by means of the cooperation effect of the securing pressing mechanism and the first rail, complex operations during securing the cover plate can be reduced, thereby improving the securing strength of the cover plate.

SECONDARY BATTERY AND DEVICE

Nº publicación: WO2025218178A1 23/10/2025

Solicitante:

NIO TECH ANHUI CO LTD [CN]
\u851A\u6765\u6C7D\u8F66\u79D1\u6280\uFF08\u5B89\u5FBD\uFF09\u6709\u9650\u516C\u53F8

WO_2025218178_PA

Resumen de: WO2025218178A1

The present application relates to a secondary battery and a device. The secondary battery of the present application comprises a positive electrode sheet, a negative electrode sheet, and an electrolytic solution; the electrolytic solution comprises a nitrogen-containing additive and a silicon-containing and phosphorus-containing additive; the negative electrode sheet comprises a negative electrode active material layer and a solid electrolyte interface film located on the surface of the negative electrode active material layer; by testing at a sputtering etching time of 0 seconds by using an X-ray photoelectron spectrometer, the mass percentage content of a nitrogen element in the solid electrolyte interface film is a%, the mass percentage content of a silicon element in the solid electrolyte interface film is b%, and the mass percentage content of a phosphorus element in the solid electrolyte interface film is c%, wherein 5.5≤0.25a+b+0.5c≤10. Thus, the secondary battery of the present application has excellent cycle performance, fast charge performance and rate performance.

traducir