Ministerio de Industria, Turismo y Comercio LogoMinisterior
 

Alerta

Resultados 1111 resultados
LastUpdate Última actualización 26/01/2026 [07:08:00]
pdfxls
Publicaciones de los últimos 15 días/Last 15 days publications (excluidas pubs. CN y JP /CN and JP pubs. excluded)
previousPage Resultados 925 a 950 de 1111 nextPage  

BATTERY CELL, BATTERY AND ELECTRIC DEVICE

NºPublicación:  EP4679597A1 14/01/2026
Solicitante: 
CONTEMPORARY AMPEREX TECHNOLOGY CO LTD [CN]
Contemporary Amperex Technology Co., Limited
EP_4679597_PA

Resumen de: EP4679597A1

The present application discloses a battery cell, a battery, and an electric apparatus. The battery cell includes: a housing; at least one electrode assembly, the electrode assembly being disposed within the housing; at least one elastic buffer pad, the elastic buffer pad including an elastic buffer layer and a support layer disposed on at least one side of the elastic buffer layer, the support layer being configured to support the elastic buffer layer; the elastic buffer pad being disposed between the electrode assembly and the housing, and/or between two adjacent electrode assemblies.

CYLINDRICAL BATTERY

NºPublicación:  EP4679615A1 14/01/2026
Solicitante: 
PANASONIC ENERGY CO LTD [JP]
Panasonic Energy Co., Ltd
EP_4679615_PA

Resumen de: EP4679615A1

A cylindrical battery (10) serving as an example of an embodiment comprises: an electrode body including a first electrode and a second electrode; an outer casing (16) having a bottomed cylindrical shape and accommodating the electrode body; and a sealing body (17) that closes an opening of the outer casing (16), the first electrode being electrically connected to the sealing body (17), and the second electrode being electrically connected to the outer casing (16). The cylindrical battery (10) further comprises: a first conductive member (30) bonded to a surface of the sealing body (17) outward of the battery; a second conductive member (40) bonded to an opening edge portion of the outer casing (16); and an insulating member (50) coupling the first conductive member (30) and the second conductive member (40).

ARRANGEMENT STRUCTURE OF SOLID ELECTROLYTE IN ALL-SOLID-STATE CELL, AND BATTERY

NºPublicación:  EP4679552A1 14/01/2026
Solicitante: 
UNIV TOHOKU [JP]
DOWA HOLDINGS CO LTD [JP]
Tohoku University,
Dowa Holdings Co., Ltd
EP_4679552_PA

Resumen de: EP4679552A1

Problem To provide an advantageous technique for further improving the charging voltage in an all-solid-state cell such as an all-solid-state lithium-ion secondary battery.Solution An arrangement structure of a solid electrolyte in an all-solid-state cell, including a first solid electrolyte that contains, as a main component, a crystalline phase containing Li, Al, and F and having a β-Li3AlF6 type structure or an amorphous phase containing Li, Al, and F within a range where x satisfies 2.0 or more and 5.0 or less in a composition formula LixAlF3+x, and including a second solid electrolyte that contains, as a main component, a sulfide or an oxide between a high-potential side electroconductive material and a low-potential side electroconductive material in an all-solid-state cell, and in which the first solid electrolyte is interposed between the high-potential side electroconductive material and the second solid electrolyte, and a contact portion between the high-potential side electroconductive material and the first solid electrolyte, and a contact portion between the first solid electrolyte and the second solid electrolyte are provided.

Battery safety system

NºPublicación:  GB2642490A 14/01/2026
Solicitante: 
ARTEMIS TECH LIMITED [GB]
Artemis Technologies Limited
GB_2642490_PA

Resumen de: GB2642490A

A system for improving the safety of a battery 300 comprises a first passive cooling system having a support structure and a cooling circuit that comprises a plurality of parallel cooling plates 364. The support structure comprises one or more chassis members 320A that define a plurality of enclosures for housing a plurality of battery modules and one or more thermal bridge members 320B that are in thermal communication with the chassis member(s) and cooling plates. Accordingly, thermal energy emitted by a battery module is removed by the first passive cooling system without propagating to neighbouring battery modules. The system preferably includes a second passive cooling system comprising a respective vent gate for each of the plurality of enclosures and an exhaust duct (figure 6), and may include a fire suppressant module and/or dry break couplings for providing fire suppressant material. The battery preferably comprises Li-ion cells and is used in a marine vessel (figure 1).

SECONDARY BATTERY, BATTERY ASSEMBLY AND ELECTRONIC DEVICE

NºPublicación:  EP4679513A1 14/01/2026
Solicitante: 
AESC JAPAN LTD [JP]
AESC Japan Ltd
EP_4679513_PA

Resumen de: EP4679513A1

A secondary battery includes a negative electrode sheet (20), a positive electrode sheet (10), and a separator (122) located between the positive electrode sheet and the negative electrode sheet. The negative electrode sheet includes the negative active material layer (26) includes a negative straight region (24) and a negative thinned region (22) located at one end of the negative straight region in a first direction. The positive electrode sheet (10) includes the positive active material layer (16) includes a positive straight region (14) and a positive thinned region (12) located at one end of the positive straight region away from the first direction. In the first direction, the positive active material layer includes a protruding portion (162) that extends beyond the negative straight region. The protruding portion overlaps with an orthogonal projection of the negative thinned region in a second direction perpendicular to the first direction.

SECONDARY BATTERY

NºPublicación:  EP4679547A1 14/01/2026
Solicitante: 
SAMSUNG SDI CO LTD [KR]
SAMSUNG SDI CO., LTD
EP_4679547_PA

Resumen de: EP4679547A1

A secondary battery includes a case; and an electrode assembly and a conductive plate accommodated in the case, the electrode assembly includes a first electrode assembly part and a second electrode assembly part, a partition wall is between the first electrode assembly part and the second electrode assembly part, the conductive plate includes a first conductive plate on the electrode assembly and a second conductive plate under the electrode assembly, the first conductive plate includes a first conductive part and a second conductive part that are insulated by an insulating member, the first conductive part is electrically connected to the first electrode assembly part, the second conductive part is electrically connected to the second electrode assembly part, and the second conductive plate is electrically connected to the first electrode assembly part and the second electrode assembly part.

CARBON NANOTUBE DISPERSION COMPOSITION AND USE THEREOF

NºPublicación:  EP4679537A1 14/01/2026
Solicitante: 
ARTIENCE CO LTD [JP]
TOYOCOLOR CO LTD [JP]
artience Co., Ltd,
TOYOCOLOR CO., LTD
EP_4679537_PA

Resumen de: EP4679537A1

Provided are a carbon nanotube dispersion composition having high conductivity and good fluidity and storage stability and a non-aqueous electrolyte secondary battery having excellent rate characteristics and cycle characteristics by using an electrode composite material slurry and an electrode film using the composition. The carbon nanotube dispersion composition contains containing carbon nanotubes having an average outer diameter of 3 nm or less, a polymer component, and a solvent, in which the polymer component contains a polyvinylidene fluoride resin, which may have a substituent as a main component, and the carbon nanotube dispersion composition has a particle diameter D<sub>90</sub> at 90% volume accumulation in the particle size distribution measured by laser diffraction method of 2.0 µm or more and less than 20.0 µm, and a pH of 7.5 or higher.

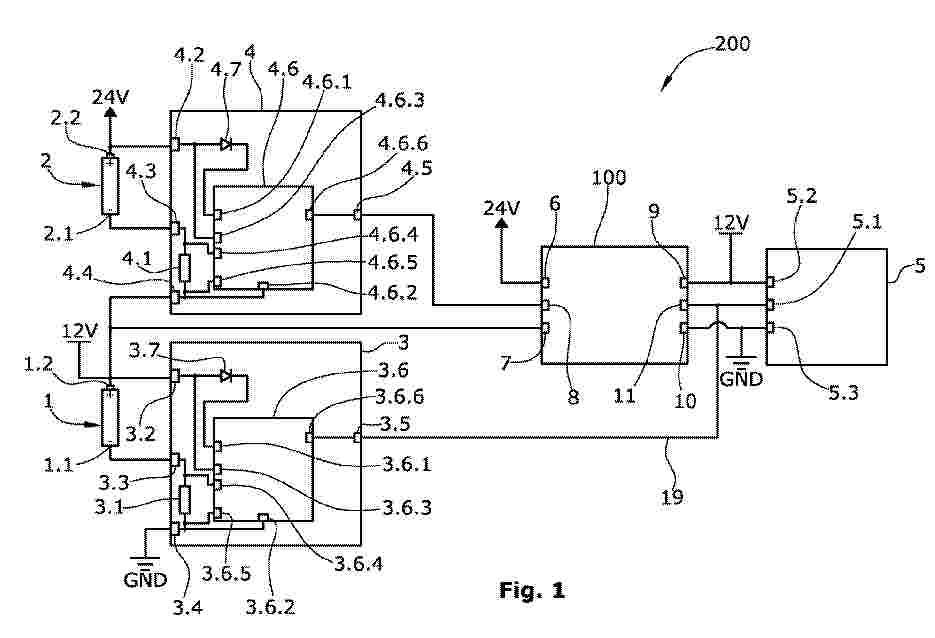
VOLTAGE LEVEL TRANSLATOR AND BATTERY SYSTEM

NºPublicación:  EP4679775A1 14/01/2026
Solicitante: 
HELLA GMBH & CO KGAA [DE]
HELLA GmbH & Co. KGaA
EP_4679775_PA

Resumen de: EP4679775A1

The present invention relates to a voltage level translator device (100) for a data bus (19), comprising: a first data bus terminal (8), a first supply voltage terminal (6), a first reference voltage terminal (7), a second data bus terminal (11), a second supply voltage terminal (9) and a second reference voltage terminal (10), a first transceiver unit (14) comprising a transmit line terminal (14.4) and a receive line terminal (14.5), wherein the first transceiver unit (14) is powered via the first supply voltage terminal (6) and the first reference voltage terminal (7) and is connected to the first data bus terminal (8), a first galvanically isolated signal transmission unit (16) connected to the transmit line terminal (14.4) of the first transceiver unit (14), a second galvanically isolated signal transmission unit (17) connected to the receive line terminal (14.5) of the first transceiver unit (14), a second transceiver unit (15) comprising a transmit line terminal (15.4) and a receive line terminal (15.5), wherein the second transceiver unit (15) is powered via the second supply voltage terminal (9) and the second reference voltage terminal (10) and is connected to the second data bus terminal (11), and a translation unit (18) comprising a first transmit line terminal (18.3) connected to the first galvanically isolated signal transmission unit (16), a first receive line terminal (18.4) connected to the second galvanically isolated signal transmission unit (17), a second t

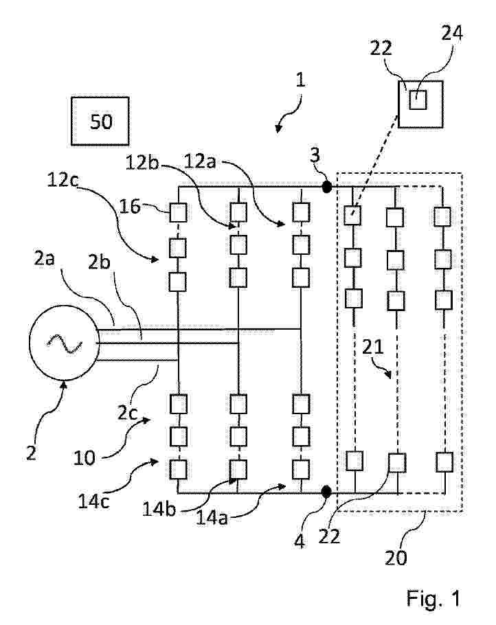
METHOD FOR DETERMINING A STATE OF HEALTH, SOH, OF AN ENERGY STORAGE MODULE, A CONTROL UNIT AND AN ARRANGEMENT

NºPublicación:  EP4679113A1 14/01/2026
Solicitante: 
HITACHI ENERGY LTD [CH]
Hitachi Energy Ltd
EP_4679113_PA

Resumen de: EP4679113A1

There is disclosed herein a method for determining SoH of an energy storage module (22) of an energy storage system (20) of an arrangement (1). The energy storage system is connected to an alternating current, AC, power grid (2) through a multilevel modular converter, MMC (10) of the arrangement. The method comprises controlling the MMC to generate a circulating current with a pulse pattern having different levels and that circulates through the energy storage modules, measuring a module voltage over and a module current through each energy storage module, determining an individual module resistance for each energy storage module based on the respective module voltage and the respective module current at the different levels in the pulse pattern, and determining a SoH for each energy storage module based on the individual module resistance. There is further disclosed herein a control unit (50) and an arrangement.

A TRAY AND A SYSTEM FOR HOUSING A PLURALITY OF INDIVIDUAL BATTERY MODULES, AND A METHOD FOR COOLING A PLURALITY OF BATTERY MODULES HOUSED IN A TRAY OF SUCH A SYSTEM

NºPublicación:  EP4677680A1 14/01/2026
Solicitante: 
SABIC GLOBAL TECHNOLOGIES BV [NL]
SABIC Global Technologies B.V
CN_120937173_A

Resumen de: WO2024213355A1

The present invention relates to a tray for housing a plurality of individual battery modules, the tray comprising a bottom wall and side walls defining a receiving space for the plurality of individual battery modules, wherein the tray has one or more inner walls extending between opposite side walls and subdividing the receiving space in a plurality of individual battery module receiving chambers each bounded by a part of the bottom wall and by one or more side walls and/or inner wall or walls, and a coolant inlet and a coolant outlet, wherein at least one of the side walls and/or at least one of the one or more inner walls comprises a plate shaped base part made of a thermoplastic material and comprising a wall-channel for a flow of a coolant medium on at least one plate side of the base part, wherein the wall-channel is in connection with the coolant inlet and with the coolant outlet such that a coolant medium can flow through the wall-channel, and a thermoplastic-based layer bonded to the base part such that it covers and thereby closes off the wall-channel, wherein the wall concerned is oriented in the tray such that it faces one or more of the battery module receiving chambers with a plate side thereof having the layer bonded thereto, and wherein the bottom wall comprises a plate shaped base part made of a thermoplastic material and comprising a bottom-channel for a flow of a coolant medium on at least one plate side of the base part, wherein the bottom-channel is in c

A TRAY AND A SYSTEM FOR HOUSING A PLURALITY OF INDIVIDUAL BATTERY MODULES, AND A METHOD FOR COOLING A PLURALITY OF BATTERY MODULES HOUSED IN A TRAY OF SUCH A SYSTEM

NºPublicación:  EP4677679A1 14/01/2026
Solicitante: 
SABIC GLOBAL TECHNOLOGIES BV [NL]
SABIC Global Technologies B.V
CN_120937174_A

Resumen de: WO2024213354A1

The present invention relates to a tray for housing a plurality of individual battery modules, the tray comprising a bottom wall and side walls defining a receiving space for the plurality of individual battery modules, wherein the tray has one or more inner walls extending between opposite side walls and subdividing the receiving space in a plurality of individual battery module receiving chambers each bounded by a part of the bottom wall and by one or more side walls and/or inner wall or walls, and a coolant inlet and a coolant outlet, wherein at least one of the side walls and/or at least one of the one or more inner walls comprises a plate shaped base part made of a thermoplastic material and comprising a wall-channel for a flow of a coolant medium on at least one plate side of the base part, wherein the wall-channel is in connection with the coolant inlet and with the coolant outlet such that a coolant medium can flow through the wall-channel, and a thermoplastic-based layer bonded to the base part such that it covers and thereby closes off the wall-channel, wherein the wall concerned is oriented in the tray such that it faces one or more of the battery module receiving chambers with a plate side thereof having the layer bonded thereto. The invention also relates to a system including one or more of said trays and a cooling system as well as to a method for cooling a plurality of battery modules.

FRAME FOR VEHICLE BATTERY

NºPublicación:  EP4677672A1 14/01/2026
Solicitante: 
JAGUAR LAND ROVER LTD [GB]
Jaguar Land Rover Limited
WO_2024188929_PA

Resumen de: WO2024188929A1

Aspects of the present invention relate to a frame, a solid state cell, a battery subassembly, a battery module, a battery pack and a vehicle. The frame (300) is retaining at least one cell (210) of a vehicle battery. The frame (300) comprises: a first member (310) comprising a first joining portion (312) and a first clamping portion (314) and a second member (320) comprising a second joining portion (322) and a second clamping portion (324). The first member (310) and second member (320) are arranged to co-operate, in use, to retain a first cell (210) of the vehicle battery between the first clamping portion (314) and the second clamping portion (324) through a clamping force applied by securing the first joining portion (312) to the second joining portion (322). The first member (310) defines a first channel (316) through the first member for a flow of coolant.

CONFIGURABLE BATTERY SYSTEM

NºPublicación:  EP4677715A1 14/01/2026
Solicitante: 
BLIXT TECH AB [SE]
BLIXT TECH AB
CN_120937207_PA

Resumen de: WO2024186252A1

Embodiments of invention relates to a configurable battery system (100) comprising: at least one port (110) for connecting the configurable battery system (100) to a power source (200) and/or a power consumer (300); and a set of battery modules (120) connected to each other via a set of conductive interfaces to form a set of interconnected battery modules, wherein a battery module (122) in the set of battery modules (120) comprises: a battery (170) connected between an input (132) and an output (134) of a conductive interface, a communication interface comprising an input (142) configured to receive one or more data bits (D1, D2) at a clock signal (C1 ) and an output (144) configured to output the one or more data bits (D1, D2) at a subsequent clock signal (C2); and wherein the battery module (122) is configured to operate in a first mode (M1 ) in which the battery (170) of the battery module (122) is connected in series with a battery (170') of a neighbouring battery module (122') or in a second mode (M2) in which the battery (170) of the battery module (122) is connected in a bypass state with the battery (170') of the neighbouring battery module (122') based on a value of the one or more data bits (D1, D2).

BATTERY SYSTEM AND USE THEREOF

NºPublicación:  EP4677677A1 14/01/2026
Solicitante: 
FRAUNHOFER GES FORSCHUNG [DE]
Fraunhofer-Gesellschaft zur F\u00F6rderung der angewandten Forschung e.V
DE_102023105963_PA

Resumen de: WO2024188821A1

The present invention relates to a battery system comprising a battery cell and a reversibly compressible body having a deformation sensor, and to the use of the compressible body in a battery system.

PROCESS FOR PREPARING PARTICLES OF SULFIDE SOLID MATERIAL

NºPublicación:  EP4676879A1 14/01/2026
Solicitante: 
SPECIALTY OPERATIONS FRANCE [FR]
SPECIALTY OPERATIONS FRANCE
CN_121175267_A

Resumen de: WO2024188825A1

The present disclosure relates to a process for preparing particles of sulfide solid material comprising at least Li, P, S and X elements, comprising the steps of: a) providing a powder of lithium sulfide (Li2S) having a D50-value ranging from 20 µm to 500 µm as measured by laser diffraction in para-xylene, a specific surface area equal or more than 5 m²/g as measured by nitrogen gas adsorption according to Brunauer-Emmet-Teller (BET) method, b) reacting Li2S powder of step a) with at least P2S5 and LiX, to obtain the Li, P, S and X containing sulfide solid material particles; wherein X is selected from the list consisting of F, Cl, I, Br, CN, NC, OCN, NCO, SCN, NCS and N3, or a combination thereof. It also relates to particles obtained by said process and their use for the preparation of an electrode, of an electrolyte layer of an electrode or of a separator.

PROCESS FOR PREPARING A POWDER OF LITHIUM SULFIDE

NºPublicación:  EP4676877A1 14/01/2026
Solicitante: 
SPECIALTY OPERATIONS FRANCE [FR]
SPECIALTY OPERATIONS FRANCE
CN_121127437_A

Resumen de: WO2024188824A1

The present disclosure relates to a process for preparing a powder of lithium sulfide (Li2S powder) comprising the steps of: a) providing a powder of lithium hydroxide (LiOH powder A), or a powder of lithium carbonate (Li2CO3 powder A') presenting a residual water content below 5 wt %; b) reacting such LiOH powder A or Li2CO3 powder A' with H2S present in a reagent gas (RG1) to obtain Li2S powder, optionally carbon dioxide and water vapor; wherein reagent gas (RG1) comprises H2S, water in an amount ranging from 0.5 to 5.0 wt% of the total weight of the reagent gas and optionally an inert carrier. The present disclosure also relates to the powder of lithium sulfide obtained from such process and to the use of such Li2S powder to prepare a solid compound of formula (I): LiaPSbXc (I) wherein - X represents at least one halogen element; - a represents a number from 3.0 to 6.0; - b represents a number from 3.5 to 5.0; and - c represents a number from 0 to 3.0.

METHOD FOR MANUFACTURING A LGPS-TYPE SOLID SULFIDE ELECTROLYTE

NºPublicación:  EP4677663A1 14/01/2026
Solicitante: 
UMICORE NV [BE]
COMMISSARIAT ENERGIE ATOMIQUE [FR]
Umicore,
Commissariat \u00E0 l'Energie Atomique et aux Energies Alternatives
CN_120712663_PA

Resumen de: CN120712663A

The present invention relates to a method for manufacturing an LGPS-type solid sulfide electrolyte. The inventors of the present invention surprisingly found that the solid sulfide electrolyte can be obtained with high purity and short reaction time by heat treating a mixed set of precursors at this high temperature and pressure.

BATTERY ELECTRODE AND METHOD OF MAKING THE SAME

NºPublicación:  EP4677658A1 14/01/2026
Solicitante: 
SYENSQO SPECIALTY POLYMERS ITALY S P A [IT]
Syensqo Specialty Polymers Italy S.p.A
CN_121153127_A

Resumen de: WO2024184371A1

The present invention relates to an electrode composition comprising PTFE and at least one copolymer of maleic anhydride and di-isobutylene, to a method for its preparation and to its use for the manufacture of electrochemical cell components.

BATTERY ELECTRODE AND METHOD OF MAKING THE SAME

NºPublicación:  EP4677653A1 14/01/2026
Solicitante: 
SYENSQO SPECIALTY POLYMERS ITALY S P A [IT]
Syensqo Specialty Polymers Italy S.p.A
KR_20250156142_A

Resumen de: CN120814057A

The present invention relates to a binder for a positive electrode of a secondary battery, to a method for preparing said electrode and to the use of said electrode in a secondary battery. The present invention also relates to a secondary battery manufactured by combining the electrodes.

CATHODE ACTIVE MATERIALS WITH A CORE-SHELL STRUCTURE AND THEIR MANUFACTURE

NºPublicación:  EP4677657A1 14/01/2026
Solicitante: 
BASF SE [DE]
BASF SE
KR_20250160438_PA

Resumen de: CN120814068A

A cathode active material comprising (A) a core material according to the general formula Li1 + xTM1-xO2, where TM is a combination of Ni with at least two of Mn, Co and Al, and optionally at least one plurality of metals selected from the group consisting of Mg, Ti, Zr, Nb, Ta and W, and x is in the range of-0.05 to + 0.05, and where the nickel content is in the range of 80 to 99 mol-% of TM, and (B) particles of one or more cobalt compounds, wherein at least some of the cobalt is in the oxidation state of + III, (C) a shell comprising an oxide of at least one of B or W, and wherein the core material (A) is a polycrystalline material, the secondary particles of which consist of primary particles, and the particles (B) of the cobalt compound are enriched at the surface of said secondary particles.

AN APPARATUS AND METHOD TO PROVIDE POWER TO ELECTRONIC LOADS AND FOR CHARGING ENERGY STORAGE DEVICES

NºPublicación:  EP4677716A1 14/01/2026
Solicitante: 
ZERO ERROR SYSTEMS PTE LTD [SG]
Zero-Error Systems Pte. Ltd
CN_120858503_PA

Resumen de: CN120858503A

An apparatus and method for charging by a charging circuit having a first terminal connected to an energy source, a second terminal connected to an electronic load, a third terminal connected to an energy storage device, an inductor, and a controller. The method includes generating, by the controller, a control signal related to the output voltage to regulate a current in the inductor, where the control signal has an enable signal portion and a disable signal portion. During the enable signal portion, the first terminal is coupled to the second terminal, to the third terminal, or to both the second terminal and the third terminal via the inductor. And decouple the first terminal from the second terminal and the third terminal during the disabling signal portion.

PROCESS

NºPublicación:  EP4676878A1 14/01/2026
Solicitante: 
MEXICHEM UK LTD [GB]
Mexichem UK Limited
KR_20250156109_A

Resumen de: MX2025010639A

A process for the at least partial conversion of a bisfluorsulfonimide (HFSI) to a metal bisfluorsulfonimide (MHFSI), comprising: feeding a composition comprising a metai bicarbonate, a solvent and a composition comprising bisfluorsulfonimide into a reactor to form an admixture thereof; and allowing the metal bicarbonate and bisfluorsulfonimide to react together.

A TRAY AND A SYSTEM FOR HOUSING AT LEAST ONE BATTERY MODULE AND A METHOD FOR COOLING AT LEAST ONE BATTERY MODULE HOUSED IN A TRAY OF A SYSTEM

NºPublicación:  EP4677681A1 14/01/2026
Solicitante: 
SABIC GLOBAL TECHNOLOGIES BV [NL]
SABIC Global Technologies B.V
CN_120937175_A

Resumen de: WO2024213356A1

The present invention relates to a tray for housing at least one battery module, the tray comprising a bottom wall and side walls defining a receiving space for the at least one battery module, and at least one coolant inlet and at least one coolant outlet, wherein at least one of the side walls and/or the bottom wall comprises a plate shaped base part, and a first thermoplastic-based layer, preferably a polyolefin-based layer, particularly preferably a polyolefin-based film, attached to or positioned against the base part, and a second thermoplastic-based layer, preferably a polyolefin-based layer, particularly preferably a polyolefin-based film, bonded to the first layer, wherein at least one channel is provided between the first layer and the second layer for a flow of a coolant medium, wherein the channel is in connection with the at least one coolant inlet and with the at least one coolant outlet such that a coolant medium can flow through the channel, wherein the wall concerned is oriented in the tray such that the second layer faces the receiving space. The invention also relates to a system for housing at least one battery module and to a method for cooling at least one battery module housed in a tray of a system.

BATTERY CELL, BATTERY AND ELECTRIC DEVICE

NºPublicación:  EP4679608A1 14/01/2026
Solicitante: 
CONTEMPORARY AMPEREX TECHNOLOGY CO LTD [CN]
Contemporary Amperex Technology Co., Limited
EP_4679608_PA

Resumen de: EP4679608A1

The present application discloses a battery cell, a battery, and an electric apparatus. The battery cell includes a housing, an electrode assembly, and an insulator. The housing has a mounting cavity; the electrode assembly is disposed in the mounting cavity; the insulator includes a buffer body and an insulating body that are disposed in the mounting cavity, the insulating body enveloping the electrode assembly, and the buffer body being located between the electrode assembly and the housing; and the buffer body and the insulating body are connected to form an integral structure. This integral structure can be directly assembled with the electrode assembly to achieve envelopment of the electrode assembly, which eliminates the step of separately assembling the buffer body, reduces the number of assembly steps and the number of assembled components, and facilitates the improvement of assembly efficiency of the battery cell. Additionally, fewer assembly steps facilitate automated production, enhancing the production efficiency of the battery cell.

DEVICE, TRANSPORT UNIT AND METHOD FOR TRANSPORTING LIMP ELEMENTS

Nº publicación: EP4678575A1 14/01/2026

Solicitante:

GROB GMBH & CO KG [DE]
Grob-Werke GmbH & Co. KG

EP_4678575_PA

Resumen de: EP4678575A1

Die vorliegende Erfindung betrifft eine Vorrichtung (1), eine Transporteinheit (43) sowie ein Verfahren (50) zum Transportieren von biegeschlaffen Elementen (48), insbesondere für die Herstellung einer Batterie- und/oder Brennstoffzelle. Die Vorrichtung (1) umfasst eine Transporteinrichtung (2) zum Transportieren eines biegeschlaffen Elements (48) von einem ersten Bereich (A) zu einem zweiten Bereich (B), eine Führungsplatte (3) zur Führung der Transporteinrichtung (2), eine Antriebseinheit (4) zum Bewegen der Transporteinrichtung (2), eine Hubeinrichtung (5) zur Kopplung der Antriebseinheit (4) und der Transporteinrichtung (2), und einen Montagerahmen (6), wobei die Führungsplatte (3) einen plattenartigen Hauptkörper (13), eine in sich geschlossene Führungskontur (14) und eine Durchgangsöffnung (15) aufweist; die Transporteinrichtung (2) mittels der Führungskontur (14) geführt ist; die Antriebseinheit (4) eine Antriebswelle (16) aufweist, die sich in der ersten Richtung (X) erstreckt, und axial fest in der Durchgangsöffnung (15) der Führungsplatte (4) aufgenommen ist; und die Hubeinrichtung (5) die Transporteinrichtung (2) und die Antriebseinheit (4) drehmomentübertragend miteinander koppelt und dazu eingerichtet ist, einen Abstand zwischen der Antriebswelle (16) und der Transporteinrichtung (2) in einer zweiten Richtung (Z) positionsabhängig anzupassen.

traducir